Documente online.
Zona de administrare documente. Fisierele tale
Am uitat parola x Creaza cont nou
 HomeExploreaza
upload
Upload




Conceptia elaborarii bilanturilor energetice

tehnica mecanica



Conceptia elaborarii bilanturilor energetice


Alimentarea cu energie a consumatorilor, la un īnalt nivel calitativ si de siguranta, precum si gospodarirea rationala si eficienta a bazei energetice presupune, pe de o parte, cunoasterea corecta a performantelor tehnico-economice ale tuturor partilor componente ale īntregului lant energetic, de la producator la consumator, iar pe de alta parte, asigurarea conditiilor optime, din punct de vedere energetic, pentru functionarea acestora.



Principalul mijloc care sta la īndemāna specialistilor pentru realizarea acestor obiective importante īl constituie bilantul energetic, care permite efectuarea atāt a analizelor cantitative, cīt si a celor calitative asupra modului de utilizare a combustibilului si a tuturor formelor de energie īn cadrul limitelor unui sistem determinat. Acest cadru limita poarta denumirea si de contur, el reprezentānd practic suprafata īnchisa care include limitele fata de care se considera intrarile si iesirile de energie. Prin urmare, conturul unui bilant energetic poate coincide cu conturul fizic al unui utilaj, al unei instalatii sau al unui ansamblu complex, care īn cele ce urmeaza va fi mentionat ca sistem.


1.1. Scopul īntocmirii si analizei bilanturilor energetice


Elaborarea si analiza bilanturilor energetice este reglementata prin lege si trebuie sa se transforme īntr-o activitate sistematica care are drept scop reducerea consumurilor de combustibil si energie prin ridicarea continua a performantelor energetice ale tuturor instalatiilor, sporirea eficientei īntregii activitati energo-tehnologice.

Elaborarea si analiza bilanturilor energetice constituie cel mai eficient mijloc de stabilire a masurilor tehnic organizatorice menite sa conduca la cresterea efectului util al energiei introduse īntr-un sistem, la diminuarea consumurilor specifice de energie pe produs.

Modelele matematice pentru realizarea bilanturilor energetice au la baza principiul conservarii energiei. Īn acest sens, se defineste multimea marimilor de intrare, se calculeaza pierderile din conturul de bilant, pe categorii de procese, se stabilesc valorile randamentelor si se constituie setul marimilor de iesire.

Īn functie de scopul urmarit, bilanturile energetice se īntocmesc īn patru faze distincte ale unui sistem si anume:

la proiectarea unui sistem nou sau modernizarea unui sistem existent,

la omologarea si receptionarea partilor componente ale unui sistem,

tehnico-functionali ai unui sistem īn procesul exploatarii,

la īntocmirea planurilor curente si de perspectiva privind economisirea si folosirea rationala a energiei.

Īn primul caz, prin elaborarea bilanturilor energetice se urmareste: alegerea celor mai rationali purtatori de energie, stabilirea schemelor optime de alimentare cu energie, determinarea necesarului de resurse energetice cu luarea īn considerare a folosirii cāt mai eficiente a resurselor energetice secundare, predeterminarea consumurilor specifice de energie ale fiecarui agregat care intra īn componenta sistemului, precum si pe unitatea de produs.

Īn cazul omologarii sau receptionarii instalatiilor, bilanturile energetice au drept scop stabilirea indicatorilor de consum energetic, a randamentelor si a performantelor tehnico-functionale īn raport cu cele din proiect sau contractate.

Elaborarea bilanturilor energetice pentru sistemele īn functiune se face īn scopul ridicarii calitatii exploatarii, a stabilirii stucturii consumului util si a pierderilor de energie, īn vederea sporirii randamentelor, recuperarii eficiente a resurselor energetice secundare, atingerii parametrilor optimi din punct de vedere energo-tehnologic. Pe aceasta baza, se pot preciza normele de consum specific de combustibil, energie electrica si termica.

Fundamentarea consum 616j92g ului de energie, īn planurile anuale si de perspectiva, ale oricarui sistem energetic are la baza masuratorile, calculele si concluziile bilanturilor energetice care trebuie sa tina seama de toate modificarile aduse instalatiei sau tehnologiilor de fabricatie folosite sau preconizate.


1.2. Clasificarea bilanturilor energetice


Bilanturile energetice se pot clasifica īn functie de urmatoarele criterii:

1. Forma energiilor participante īn proces determina gruparea bilanturilor energetice īn doua mari categorii:

Bilanturi energetice atunci cīnd īn procesul analizat participa numai energii ordonate, ca de exemplu īn cazul bilanturilor electrice. Bilanturile energetice, avānd un caracter exclusiv cantitativ, nu permit obtinerea unor concluzii concrete īn cazul energiilor neordonate.

Bilanturi exergetice recomandate pentru sistemele īn care participa energii neordonate.


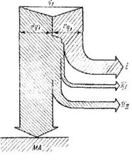
Bilanturile exergetice exprima atāt primul principiu al termodinamicii (deoarece suma dintre exergie si anergie este constanta), cāt si al doilea principiu al termodinamicii, deoarece fiecarei ireversibilitati īi corespunde o anumita reducere a exergiei, cu marirea corespunzatoare aanergiei. Īn figura 1.1 sīnt prezentate, pentru comparatie, fluxurile de energie īn cazul bilantului energetic (a), scris sub forma


,



īn care reprezinta energia introdusa īn sistem, īn W; - energia utila, īn W; - pierderile de energie, īn W. Nu se pot evidentia pierderile reale ale sistemului analizat, iar randamentul de utilizare a energiei introduse, este influentat īn mod artificial de acea parte a energiei care are capacitate nula de transformare si care, prin urmare, nici īn conditii ideale de desfasurare a procesului, nu se poate transforma īntr-o alta forma de energie. Prin aceasta, randamentul energetic, astfel definit nu permite stabilirea masurii reale īn care procesul analizat se departeaza de conditiile optime.

a

b

Fig. 1.1. Diagrame de bilant: a. - bilant energetic; b - bilant exergie-anergie.


Īn cel de-al doilea caz, bilantul exergie-anergie poate fi scris sub forma:



īn care reprezinta exergia introdusa īn sistem, īn W; - exergia utila, īn W; - suma pierderilor de exergie īn procesul analizat, īn W; - anergia introdusa īn sistem si care, īn cadrul procesului analizat, nu sufera nici o transformare, īn W.

Īn acest mod, bilanturile exergie-anergie permit analiza proceselor sau a instalatiilor īn care acestea au loc, cu luarea īn considerare atāt a cantitatilor de energie care intervin, cāt si a capacitatii de transformare a acestora. Astfel, sunt evidentiate, īn mod clar si precis, pierderile reale, cauzele si locurile din instalatiile īn care se produc aceste pierderi, scotānd din sfera preocuparilor energiile cu capacitate nula de transformare.

Este posibila si īntocmirea bilantului īn care sa nu apara anergia introdusa īn sistem; acesta este bilantul de energie, īn care nu apar decīt exergiile introduse īn sistem, exergiile evacuate si pierderile de exergie (fig. 1.2).

Fig.1.2. Bilant exergetic.


2. Tipul purtatorului de energie grupeaza bilanturile energetice īn urmatoarele categorii (prin purtator de energie se īntelege totalitatea fluxurilor materiale care, īn urma unor transformari de stare, pot acumula, transmite sau ceda energie);

bilanturi electrice īn cazul īn care, īn sistemul analizat, intra numai energie electrica;

bilanturi termice īn cazul īn care, īn sistemul analizat, intra ca purtatori de energie aburul, apa calda sau fierbinte;

bilanturi de combustibil īn cazul īn care, īn sistemul analizat, intra ca purtatori de energie combustibili de toate formele sau gazele calde;

bilanturi de aer comprimat īn cazul īn care, īn sistemul analizat, intra ca purtator de energie aerul comprimat.

3. Numarul formelor sau purtatorilor de energie, care participa īn procesul analizat, permite gruparea bilanturilor energetice īn:

bilanturi simple īn cazul īn care bilantul se refera la o singura forma sau un singur purtator de energie. Acest tip de bilant īsi propune sa evidentieze modul de utilizare a unei singure forme de energie care intra īn contur. Din aceasta categorie fac parte bilantul de combustibil, de energie termica, energie electrica etc;

bilanturi complexe īn cazul īn care, ele se refera la doua sau mai multe forme de energie. De mentionat ca, bilantul care se refera atāt la combustibilul, cāt si la energia termica intrata īn contur, poarta denumirea de bilant termoenergetic, iar cel care se refera la toate formele de energie intrate īn sistem se numeste bilant energetic total.

Īn cazul bilanturilor energetice complexe, este necesara exprimarea tuturor formelor sau purtatorilor de energie īntr-o singura unitate de masura si anume īn aceea specifica formei de energie cu ponderea cea mai mare īn sistemul analizat. Īn tabela 1.1. se prezinta coeficientii de transformare a unitatilor de masura a energiei.

Tabela 1.1.

Coeficientii de transformare a unitatilor de masura


Unitatea de masura care se transforma


Coeficienti de multiplicare pentru transformarea īn:

kcal

kWh

kg c.c.

J

kgf m

CP h

1kcal







1kWh







1kg cc.









1J







1kgfm







1CP h







4. Continutul, metoda si momentul elaborarii clasifica bilanturile energetice īn doua grupe mari:

Bilanturi de proiect efectuate, fie cu prilejul proiectarii unor obiective noi, fie la modernizarea sau reconstruirea unor obiective existente. Aceste bilanturi se īntocmesc pe cale analitica, pe baza performantelor tehnico-functionale garantate de furnizori, pentru fiecare utilaj, agregat, instalatie care intra īn componenta sistemului proiectat. Avānd caracterul de bilant preliminat, el trebuie sa fie realizat īn ipoteza adoptarii solutiilor optime, corespunzatoare conditiilor tehnico-economice cele mai avansate pe plan mondial.

Bilanturi pentru instalatii existente Īn aceasta categorie pot fi incluse urmatoarele tipuri de bilanturi energetice:

bilanturi energetice reale prin care se īntelege relevarea, prin intermediul masuratorilor si a calculelor analitice a situatiei energetice existente īntr-un sistem, la un moment dat. Bilantul real, pe lānga faptul ca reflecta nivelul tehnic al exploatarii sistemului, constituie baza tehnico-economica de fundamentare a masurilor tehnice si organizatorice menite sa conduca la ridicarea performantelor energetice ale sistemului analizat, prin reducerea pierderilor si o cāt mai eficienta folosire a tuturor formelor de energie;

bilanturile energetice optime sunt bilanturile unui sistem analizat, īn ipoteza ca acesta ar fi adus īn conditii optime energetice de functionare, prin aplicarea tuturor masurilor tehnice si organizatorice pe care stiinta le pune la īndemāna, īntr-un moment dat.

Deoarece cunostintele tehnico-stiintifice evolueaza destul de rapid de la o etapa la alta, conditiile optime energetice de functionare a unui sistem īnregistreaza mutatii continui, ceea ce impune determinarea periodica a bilanturilor energetice optime. Compararea acestora cu bilanturile energetice reale indica, pe de o parte, decalajul existent, la un moment dat, īntre functionarea reala si functionarea īn conditii optime, iar pe de alta parte, marimea eforturilor necesare pentru realizarea acesteia.

bilanturile energetice normate se calculeaza pe baza performantelor energetice ale sistemului analizat, preconizate a fi atinse de acesta īntr-o perioada determinata de timp, de obicei un an, prin aplicarea unei īntregi game de masuri tehnice si organizatorice, stabilite pe baza concluziilor rezultate din bilanturile reale. Bilantul energetic normat tinde īn timp catre bilantul energetic optim.

Caracterul procesului de productie care intra īn componenta sistemului analizat permite clasificarea bilanturilor īn doua grupe caracteristice si anume:

bilanturi energetice de baza efectuate pentru acele parti constituente ale sistemului care determina productia de baza realizata īn cadrul acestuia;

bilanturi energetice secundare efectuate pentru componentele auxiliare ale sistemului, care deservesc īntr-o forma sau alta procesul de baza.

Dupa elaborarea separata a acestor doua tipuri de bilanturi, este indicat sa se faca o sinteza a lor, daca situatia reala a sistemului permite acest lucru.

6. Continutul intern al conturului, respectiv sfera de cuprindere, permite clasificarea bilanturilor energetice īn bilanturi pe agregate, instalatii, sectii de productie, īntreprinderi, platforme industriale, ramuri industriale si bilanturi la nivelul economiei nationale. De obicei, īntocmirea bilanturilor īncepe cu elementele componente ale sistemului analizat, deci de la simplu la complex.

7. Gradul de īncarcare (sarcina) a sistemului analizat constituie un criteriu de grupare a bilanturilor energetice īn bilanturi elaborate la sarcini caracteristice (maxime, nominale, minime) si la sarcini partiale semnificative procesului respectiv. Acest procedeu permite evidentierea variatiei consumurilor de energie si a randamentelor cu gradul de īncarcare a agregatelor, instalatiilor etc. care intra īn componenta sistemului.

Perioada pentru care se elaboreaza bilantul determina clasificarea bilanturilor energetice īn bilanturi orare, bilanturi pe o perioada calendaristica oarecare (schimb, zi, decada, luna, trimestru, an) bilanturi pe ciclu de functionare si bilanturi pe unitatea de produs realizat īntr-un anumit timp. Dintre aceste tipuri de bilanturi, normativele prevad ca obligatorii bilanturile orare si anuale.

Bilanturile pe ciclu de productie se elaboreaza, de obicei, īn cazul proceselor ciclice, la care celelalte tipuri de bilanturi nu permit evaluarea corecta a eficientei energetice a acestor procese.

Bilantul energetic pe o perioada de un an se īntocmeste, īn special, pentru īntreprinderi īn care agregatele sau instalatiile energetice au regimuri de functionare diferite de la o perioada la alta a anului.

Transformarea bilantului energetic orar īntr-un bilant pe o perioada calendaristica, t trebuie sa tina seama de regimul de lucru al tuturor partilor componente ale sistemului analizat īn perioada respectiva. Īn acest caz, se īnsumeaza timpul de functionare productiva, de mers īn gol, de stationare tehnologica sau de avarie si cu perioada de la pornirea instalatiei pīna la atingerea regimului de lucru. Pentru fiecare parte componenta a perioadei calendaristice, t elementele bilantului variaza atīt īn raport cu parametrii interni sau externi ai sistemului, cīt si īn raport cu sarcina agregatelor componente ale sistemului.

Īn cazul proceselor ciclice, elaborarea bilantului pe o perioada calendaristica t se obtine prin multiplicarea elementelor de bilant calculate pe ciclu cu numarul de cicluri realizate īn perioada respectiva.

Īn mod similar, trecerea de la bilantul energetic pe unitatea de produs la un bilant pe o perioada calendaristica se obtine prin multiplicarea componentelor de bilant pe produs cu volumul produselor realizate īn perioada respectiva.


1.3. Metodica īntocmirii si analizei bilanturilor energetice


Īntocmirea bilanturilor energetice presupune parcurgerea, īn general, a urmatoarelor etape principale:

- analiza atenta a instalatiilor, agregatelor, precum si a proceselor tehnologice de baza si auxiliare care constituie obiectul bilantului energetic;

- īntocmirea schemelor fluxului tehnologic de materiale si a fluxurilor energetice;

- delimitarea conturului de bilant si precizarea legaturilor acestui contur cu sistemele limitrofe;

- identificarea purtatorilor de energie si a modului de circulatie a acesteia īn interiorul sistemului;

precizarea regimurilor de lucru pentru care se īntocmesc bilanturile energetice;


- elaborarea bilanturilor energetice reale si optime;

- analiza pierderilor reale si stabilirea unui program etapizat de masuri tehnico-organizatorice īn vederea reducerii la minimum, īntr-un interval de timp cāt mai redus, a pierderilor si a valorificarii integrale a resurselor energetice secundare.

Pe baza rezultatelor bilantului energetic real si a analizei detaliate a tuturor componentelor de energie utila si de pierderi de energie, se īntocmeste bilantul energetic normat, care tine seama de toate masurile stabilite ca urmare a studiului efectuat.

Analiza componentelor utile si a pierderilor de energie se realizeaza dupa urmatoarea metodologie:

a) - Clasificarea pierderilor de energie dupa criteriul caracterului lor fizic:

- Pierderi de caldura prin:

gazele de ardere iesite din conturul de bilant;

caldura sensibila a produselor iesite din contur;

caldura fizica a deseurilor tehnologice iesite din contur;

energia chimica legata a resurselor energetice secundare combustibile ;

arderea incompleta, chimica sau mecanica;

caldura evacuata cu fluidele de racire;

caldura disipata īn mediul ambiant prin radiatie, convectie si conductie.

- Pierderi de energie electrica īn transformatoare, masini electrice, bobine de inductanta, condensatoare, linii de transport etc.;

- Pierderi mecanice prin frecare sau prin frānarea si oprirea maselor īn miscare;

- Pierderi hidraulice prin laminari, frecari etc.

- Pierderi ale agentilor energetici prin scapari, evaporari, purjari etc.

b) - Defalcarea pierderilor dupa criteriul cauzelor care le genereaza:

starea necorespunzatoare a instalatiilor;

abateri de la regimul tehnologic recomandat;

exploatare necorespunzatoare;

mers īn gol al instalatiilor;

alte cauze.

c) - Compararea atāt a componentelor energiei utile, cāt si a pierderilor rezultate din īntocmirea bilantului energetic real al sistemului analizat cu performantele cele mai ridicate din punct de vedere tehnic ale unor instalatii, agregate sau procese tehnologice similare pe plan mondial.

d) - Stabilirea, pe aceasta baza, a cailor si masurilor tehnico-organizatorice menite sa asigure reducerea pierderilor de energie si valorificarea cāt mai eficienta a resurselor energetice secundare iesite din conturul de bilant. Valorificarea resurselor energetice secundare poate fi realizata, īn functie de conditiile existente, atāt īn cadrul conturului analizat, cāt si īn alte sisteme limitrofe acestuia.


1.3.1. Conceptia elaborarii bilanturilor electroenergetice


Bilantul electroenergetic real stabileste legatura dintre energia preluata din exterior de catre sistemul analizat si cea consumata īn interiorul sau. Daca energia intrata īn sistem este egala cu energia utila īnsumata cu pierderile de energie, atunci bilantul este definit ca bilant electroenergetic īnchis. Īn caz contrar, bilantul poarta denumirea de bilant electroenergetic deschis.

Īn ambele cazuri, elaborarea bilantului electroenergetic trebuie sa īnceapa cu determinarea regimurilor de lucru ale tuturor instalatiilor care intra īn conturul de bilant, precum si cu studierea schemelor de alimentare cu energie a acestora, pe baza cunoasterii diagramelor de sarcina si a modului de utilizare si gospodarire a energiei electrice.

Sarcina electrica este formata din puterea activa, puterea reactiva, puterea aparenta a consumatorilor analizati, fie la un moment dat, fie pe o perioada anumita de timp. Daca pe perioada elaborarii bilantului, exista variatii sensibile de sarcina, īn calcule se lucreaza cu sarcina medie. Pentru īntocmirea graficelor de sarcina, pe perioada de bilant, trebuie cunoscute puterile instalate ale receptoarelor de energie si regimul lor de lucru.

Puterea instalata la nivelul tuturor receptoarelor de energie electrica simultan īn functiune reprezinta suma puterilor nominale raportata la durata activa a ciclului (). Puterea instalata, la nivelul unui sistem (sectie, īntreprindere etc), se determina pe baza puterilor nominale ale receptoarelor electrice ce intra īn componenta sistemului respectiv. Puterea medie activa () si reactiva () precum si valorile medii patratice ale acestora () īn intervalul , se calculeaza cu relatiile:






,




īn care , sunt energiile active la momentul respectiv 0, īn kWh; , - energiile reactive la momentul respectiv 0, īn kWh; - puterile active si reactive la momentul īn kW respectiv kVAr.

Sarcina medie determinata pentru schimbul cel mai īncarcat serveste pentru calculul sarcinii maxime, iar sarcina medie patratica la calculul pierderilor de putere si energie.

Prin sarcina maxima se īntelege valoarea cea mai ridicata dintre doua sarcini medii, care apare īn intervalul de functionare. Se deosebeste sarcina maxima de durata si sarcina maxima de scurta durata. Prima serveste la dimensionarea retelei electrice din punct de vedere al conditiilor termice, iar cea de a doua la determinarea fluctuatiilor de tensiune si alegerea sigurantelor. Sarcina maxima este folosita si pentru determinarea pierderilor de energie.

Luānd īn considerare puterile si energiile din cadrul unui anumit grafic de sarcina, se pot determina coeficientii care permit caracterizarea regimului de functionare īn timp a instalatiilor supuse analizei.

Dintre coeficientii necesari elaborarii si analizei bilantului electroenergetic, retin atentia urmatorii:

- Coeficientul de utilizare a puterii instalate la nivelul unui agregat:


,



īn care este puterea instalata, īn kW.

- Coeficientul de utilizare a puterii instalate la nivelul unei grupe de utilaje:


.



- Coeficientul de forma a curbei de sarcina:


,



īn care:

,




unde este valoarea medie a curentului, īn A; - valoarea medie patratica a curentului, īn A; U - tensiunea nominala a retelei de alimentare, īn V.

- Coeficientul de umplere a curbei de sarcina:


,



unde , reprezinta valorile maxime ale puterii, respectiv ale curentului, īntr-o perioada data.


- Coeficientul de simultaneitate:


,



unde este sarcina maxima individuala a unei componente a sistemului analizat.

- Coeficientul de maxim al puterii active este un coeficient de calcul, definit ca raportul dintre sarcina de calcul (Pc sau Ic) si sarcina medie īntr-un interval de timp dat:


.



- Coeficientul de cerere al unui grup de consumatori care se determina atāt īn conditii de proiectare ca raportul dintre sarcina de calcul si puterea instalata:


,



āīt si īn conditii de exploatare, definita ca raportul dintre sarcina maxima absorbita īn schimbul cel mai īncarcat () si puterea instalata:


.


Elaborarea bilanturilor electroenergetice reale presupune parcurgerea succesiva a urmatoarelor etape:

- elaborarea sau verificarea schemelor electrice si tehnologice ale sistemului supus analizei si inserarea īn aceste scheme a aparatajului de masura si control necesar;

- delimitarea contururilor de bilant, fixarea punctelor de masura suplimentare si verificarea, atenta a tuturor aparatelor destinate masurarii curentilor, puterilor si energiilor;

- efectuarea masuratorilor īntr-o zi caracteristica de productie, rezultata din analiza consumului de energie pe un an anterior perioadei de bilant;

- stabilirea masurilor tehnico-organizatorice necesare īmbunatatirii regimului de functionare a tuturor componentelor sistemului analizat, īn vederea atingerii, īntr-un interval de timp cāt mai redus, a performantelor optime.

Ecuatia bilantului electroenergetic poate fi scrisa sub forma:


,



īn care este energia intrata īn sistem, īn kWh:


,



unde Eex este energia introdusa īn sistem din exteriorul acestuia; Eg - energia generata īn interiorul sistemului analizat; Eu - energia utila; Eres - energia resurselor energetice secundare care ies din sistem sub forma de energie electrica ; Ep - energia pierduta īn interiorul sistemului sub forma de pierderi īn reteaua de distributie, ΔEL, īn transformatoare, ΔET, īn electromotoare, ΔEm īn bobinele de reactanta, ΔEBR.

Prin urmare, se poate scrie:


.



Deoarece obiectivul principal al unui bilant consta īn cunoasterea cauzelor si reducerea la minimum a pierderilor de energie, determinarea fiecarei componente a relatiei (1.19) capata o importanta deosebita.

1.3.1.1. Determinarea pierderilor de energie electrica īn liniile electrice de distributie. Pierderile de energie electrica īn liniile de distributie se determina fie prin masurare directa, fie prin metode combinate (masurari indirecte si calcule analitice). De obicei, pierderile se determina pentru o zi caracteristica medie din intervalul la care se refera bilantul. Ele se pot masura īnsa si pentru īntregul interval de timp stabilit pentru īntocmirea bilantului respectiv.

Metoda masurarii directe a pierderilor de energie electrica se poate aplica numai liniilor de distributie radiale fara ramificatii si care nu au racordati consumatori īn lungul lor. La aplicarea acestei metode, se utilizeaza fie contoare obisnuite de energie activa, fie contoare speciale de pierderi. Īn lipsa acestor aparate, se pot utiliza ampermetre etalonate special pentru asemenea masuratori.

Īn primul caz, pierderile de energie sunt date de relatia:




īn care EaL1 si EaL2 sunt energiile masurate la cele doua capete ale liniei analizate īntr-un interval de timp stabilit, cu ajutorul contoarelor obisnuite de energie activa.

Pierderile de energie electrica īntr-o linie īn care energia circula īn ambele sensuri, se determina prin masuratori directe cu ajutorul a doua seturi de cāte doua contoare obisnuite, cu blocaj pe cīte un sens, montate la capetele liniei analizate.

Relatia de calcul a pierderilor, pentru aceasta situatie, are forma:


,



īn care exponentul ' indica energiile citite la cele doua capete ale liniei la circulatia energiei īntr-un sens, iar " indica marimile citite pentru circulatia energiei īn sens invers.

2. Īn cel de-al doilea caz, cīnd masurarea directa se realizeaza cu ajutorul contoarelor de pierderi, pierderile de energie electrica īntr-o linie īn care energia circula īntr-un singur sens se determina cu relatia:


,



atunci cānd īncarcarile pe faze sunt inegale si se folosesc contoare de pierderi trifazate, si:




atunci cīnd īncarcarea pe faze este egala si se folosesc contoare de pierderi monofazate.

Īn relatiile (1.22) si (1.23), RL reprezinta rezistenta pe o faza a liniei analizate, īn Ω, iar ΔA - diferenta dintre indicatiile de la sfārsitul si īnceputul intervalului de masura ale contorului de pierderi, īn A2 h. Metoda de calcul a rezistentei pe o faza a liniei, RL, care este functie de gradul de īncarcare a conductoarelor si de temperatura mediului ambiant, este prezentata īn detaliu īn lucrarea Pentru liniile īn care energia circula īn ambele sensuri, masurarea pierderilor se realizeaza cu ajutorul a doua contoare de pierderi, cu blocaj de sens, montate cīte unul la fiecare capat al liniei analizate. Pierderile de energie, atunci cīnd se folosesc contoare trifazate, se determina cu relatia:


,



iar īn cazul contoarelor monofazate, cu relatia:


,



indicii "1" si "2" se refera la citirile facute īn cele doua sensuri, īn intervalul de timp

3. Īn cel de al treilea caz, determinarea directa a pierderilor de energie electrica īn linii se realizeaza cu ajutorul unor ampermetre etalonate special īn RI2 sau direct īn 3RI2, pentru fazele īncarcate practic egal.

- Determinarea pierderilor de energie electrica īn linii prin masuratori indirecte si calcule se aplica īn cazurile īn care metodele prezentate mai sus nu pot fi folosite, deci la linii de distributie radiale care au de-a lungul lor racordati consumatori. Pierderile de energie se calculeaza cu relatia:




unde Kf este coeficientul de forma al functiei     de variatie īn timp a curentului I din linie, calculat cu expresia (1.9); Imed - valoarea medie a curentului masurat la capatul alimentat al liniei, īn kA;

,


unde Ii este valoarea curentului masurat la jumatatea intervalului i, la capatul alimentat al liniei, īn kA; n - numarul de intervale egale la care se face citirea curentului. - timpul de functionare a liniei, īn h; ReL - rezistenta echivalenta, pe faza, a liniei, īn Ω.

Prin rezistenta echivalenta a unei linii se īntelege rezistenta unei linii conventionale prin care circula un curent egal cu curentul real de la capatul de alimentare al liniei reale considerate si care are pierderile egale cu cele ale liniei reale. Aceasta rezistenta echivalenta se calculeaza cu relatia:


,





īn care , reprezinta pierderile de energie activa īn intervalul de timp īn kWh; I intensitatea curentului la capatul de alimentare al liniei, īn A.

1.3.1.2. Determinarea pierderilor de energie electrica īn transformatoarele electrice. Pierderile de energie electrica activa īn transformatoarele cu doua īnfasurari se determina cu expresia




care P reprezinta, pierderea de putere activa īn transformator īn mersul īn gol, considerata egala cu pierderea īn fier; Psc - pierderea de putere activa īn transformator, la functionarea sa īn scurtcircuit, considerata egala cu pierderile īn cupru; Ps - pierderea de putere activa suplimentara, īn cazul transformatoarelor cu racire fortat. (Aceste trei componente ale pierderii de putere sunt date īn cataloage sau īn fisa transformatorului respectiv); - coeficientul de sarcina al transformatorului:


,



Unde In - este intensitatea nominala a curentului transformatorului; - timpul total de conectare; - timpul de functionare īn sarcina; - timpul de functionare a instalatiei de racire.

Īn cazul transformatoarelor cu trei īnfasurari, pierderile de energie electrica se determina cu formula:


,



unde     reprezinta timpul de functionare īn sarcina a īnfasurarilor de īnalta, medie si joasa tensiune.

.



si fierul () motorului si pierderi de natura mecanica atāt īn motorul propriu-zis, cāt si īn mecanismul antrenat (). Pierderile de energie electrica īn electromotoare se pot exprima analitic prin expresia:




Termenii relatiei (1.33) se determina prin masuratori si calcule, metoda fiind functie de regimul de lucru al electromotorului. Se pot distinge doua regimuri de lucru bine definite si anume: regim de lucru practic uniform si regim de lucru variabil care presupune repetate perioade de regimuri tranzitorii (porniri, opriri, inversari de sens etc).

- Īn primul caz, deci al regimului uniform de lucru, pierderile sunt calculate astfel:

a). Pierderile īn cupru:




īn care kf este coeficientul de forma care, īn general, are valori cuprinse īntre 1,01 si 1,1; īn cazul motoarelor asincrone, kf se ia īntotdeauna egal cu 1,1; Imed- valoarea medie aritmetica a curentului absorbit de motor īn intervalul , īn A; Re - rezistenta echivalenta a motorului, īn [ ]; aceasta se considera:

pentru motoarele de curent continuu:


,


pentru motoarele sincrone:

,


pentru motoarele asincrone cu inele colectoare:


,


unde este rezistenta statorului, īn Ω; rezistenta rotorului raportata la stator, īn Ω:




unde r2 este rezistenta statorului, īn ; U1 - tensiunea īntre fazele statorului, īn V; U2i - tensiunea īntre faze la inelele rotorului, īn V

pentru motoarele asincrone fara inele colectoare:




īn care P1. este puterea absorbita de motor la o sarcina oarecare, īn kW; P - puterea de mers īn gol a motorului cuplat cu utilajul antrenat, īn kW; i - curentul absorbit la sarcina P1 īn A; i0 - curentul corespunzator lui P īn A.

b) Pierderile īn fier:

pentru motoarele asincrone cu inele colectoare:


,


īn care Prd este puterea absorbita de motorul avānd circuitul rotoric deschis, masurata cu ajutorul wattmetrului, īn W; i1d - curentul statoric cānd circuitul rotoric este deschis, īn A.

pentru toate celelalte tipuri de motoare, determinarea acestei componente a pierderilor de energie este foarte dificila. De aceea, ele se determina īmpreuna cu pierderile mecanice cu relatia:



c) Pierderile mecanice:

- īn cazul motoarelor de curent continuu, pierderile mecanice fiind foarte mici, ele pot fi neglijate;

pentru motoarele asincrone cu inele colectoare, pierderile mecanice se deter-mina cu relatia:



pentru toate celelalte tipuri de electromotoare, pierderile mecanice se. determina īmpreuna cu pierderile īn fier, conform relatiei (1.41).

Īn cazul regimului de functionare variabila, pierderile constante īn fier si cupru au valori destul de mici īn raport cu pierderile variabile ceea ce permite neglijarea lor. Prin urmare, pierderile datorite functionarii īn regim tranzitoriu sunt pierderile determinante si ele se pot calcula cu relatia:



īn care , este pierderea de energie pe un ciclu de pornire; nP - numarul de porniri īn intervalul de timp; - numarul de frānari mecanice, electrice sau prin inversarea sensului curentului, īn perioada ; ninv - numarul de cicluri de inversare a sensului de rotatie, īn perioada .

Pierderea de energie pe un ciclu de pornire se determina cu formula:

,



unde K este un coeficient care depinde de tipul motorului; astfel, pentru motarele de curent continuu cu excitatie īn derivatie, K = 1; pentru motoarele asincrone cu rotorul īn scurt circuit si pentru motoarele sincrone cu pornire īn asincron, K 2; iar pentru restul motoarelor asincrone K = 1+r1 /r2; n0 - viteza de rotatie la functionarea īn gol; GD2 - momentul de giratie al ansamblului motor-mecanism antrenat, īn kgf m2:



unde sunt pierderile mecanice de putere ce se determina cu relatia:




unde a0 este acceleratia de frānare īn primul moment dupa oprire, care se determina astfel: dupa aducerea motorului la turatia nominala de mers īn gol, se īntrerupe alimentarea; din acest moment, se ridica curba de descrestere a turatiei la care se duce tangenta geometrica īn punctul aceasta tangenta reprezinta tocmai marimea a0 = dn/d





Document Info


Accesari: 4113
Apreciat: hand-up

Comenteaza documentul:

Nu esti inregistrat
Trebuie sa fii utilizator inregistrat pentru a putea comenta


Creaza cont nou

A fost util?

Daca documentul a fost util si crezi ca merita
sa adaugi un link catre el la tine in site


in pagina web a site-ului tau.




eCoduri.com - coduri postale, contabile, CAEN sau bancare

Politica de confidentialitate | Termenii si conditii de utilizare




Copyright © Contact (SCRIGROUP Int. 2025 )