Constructia contactoarelor electromagnetice
Elementele componente ale unui contactor sunt :
circuitul principal de curent (borne de racord la circuitul exterior , contacte fixe si contacte mobile) ;
circuitul de comanda (bobina electromagnetului de actionare , contactele de auto -retinere si butonul de comanda) ;
circuitele auxiliare (contactele de blocare , semnalizare) ;
dispozitivele de stingere a arcului electric (camerele de stingere , bobinele de suflaj) ;
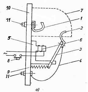
In constructia unui contactor mai intra elemente izolante, elemente metalice ( altele decat cele conductoare) cuva de ulei cu capac (numai la contactoarele cu ulei ) elementele de fixare, carcasa. La fig. 1 este aratata schema unui contactor cu miscare de rotatie .
Fig. 1. Schema de principiu a unui contactor cu miscare de rotatie.
a-schema constructiva; b-schema electrica;
1-contact fix; 2 contact mobil;3-armatura electromagnetului; 4-legatura flexibila; 5-electromagnet; 6-infasurare;7-camera de stingere; 8-buton de comanda; 9-resort de deschidere; 10-placa de baza; 11-borna de racord; I-circuir principal; II-circuit de
comanda.
1 Contactele si caile de curent
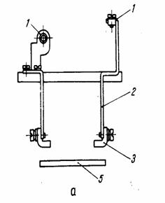
Un contactor are una sau mai multe cai de curent , in functie de numarul polilor de curent calea de curent este formata din : borne de intrare si de iesire , contactele fixe si mobile , suportii metalici ai acestora si eventual conductorii rigizi sau flexibili care fac legatura intre borne si suportii contoarelor. (fig.2)
|
a-contactor cu translatie verticala |
b-contactor cu translatie orizontala |
c-contactor cu rotatie |
Fig. Caile de curent ale contactoarelor
1-borna; 2-suport contact; 3-contact fix; 4-contact mobil; 5-punte; 6-conductor flexibil; 7-papuci de cablu.
Dupa modul de realizare a imbinarii de contact se deosebesc 2 tipuri de contacte:
contactele permanente sau neamovibile care raman intotdeauna inchise in timpul functionarii;
contacte deplasabile sau amovibile care stabilesc sau intrerup circuitele principale sau auxiliare, forta de apasare necesara acestor contacte fiind asigurata de resorturi .
La contactoarele de rotatie cu contacte din cupru , piesa de contact si suportul ei sunt astfel realizate incat sa o asigure de rostogolire si de frecare .
Din punct de vedere al formarii geometrice se deosebesc 3 tipuri de baza :
contacte plane sau de suprafata
contacte liniare la care contactul se realizeaza pe o linie
contacte punctiforme –contacte sfera plan in general folosite la contoarele de c.a pentru contactele de argint .
Circuitul de comanda
La contactoarele de c.c se folosesc uzuali electromagneti de tip clapeta iar la cele de c.a electromagneti de tip U si E cu miscarea de translatie sau de rotatie.
Electromagneti de c.c. In cazul electromagnetilor de actionare de c.c, intensitatea curentului care circula prin bobina, depinde numai de rezistenta electrica , pierderile in cupru fiind singura sursa de caldura. Intensitatea curentului fiind independenta de pozitia miezului mobil , permite ca acesta sa poata fi oprit intr-un punct oarecare al cursei obtinandu-se o functionare linistita prin introducerea unui opritor si reglabil care elimina zgomotul metalic provocat de lovirea miezului mobil de cel fix.
Electromagneti de c.a. La acesti electromagneti apar solicitari cu valori diferite fata de electromagnetii de c.c. Astfel fenomenele de histerezis si Foucault, prin curenti care le creeaza produc o incalzire a circuitului magnetic. Folosirea tolelor din fier-siliciu pentru reducerea acestor pierderi din circuitul magnetic duc in mod natural la obtinerea unor sectiuni rectangulare. Socurile magnetice sunt mai accentuate , iar in pozitia inchis se produc vibratii longitudinale ale armaturii mobile .
Pentru reducerea acestora se rectifica suprafetele polare ale miezurilor sau se introduce o spira in scurtcircuit obtinandu-se un camp magnetic defazat (fig. 3).

Fig. 3. Spira in scurtcircuit (dimensionare)
3. Dispozitivele de stingere a circuitului electric
Pentru stingerea circuitului electric de c.c se folosesc frecvent la contactoare camere de stingere inguste cu fonta dreapta sau ondulata si camere de stingere cu pereti transversali din material izolant refractor. Arcul este suflat de pe contacte spre peretii camerei de stingere cu ajutorul unui electromagnet de suflaj.
Pentru stingerea arcului de curent alternativ, la contactoarele de joasa tensiune se folosesc ca predilectie camerele cu placute metalice (fig. 4).
Fig.4. Camera de stingere pentru c.a.
a-cu placate metalice asezate radial: b- cu placate metalice pentru rupere dubla
Pentru asigurarea unei bune conductibilitati superficiale se obisnuieste ca placutele sa se cupreze ceea ce imbunatateste rezistenta la actiunea mediului exterior .
Incercarile contactoarelor
4.Categorii de incercari.
Contactoarele sunt supuse la de tip si de lot. Incercarile ca tip se fac pe un numar de 8 aparate, admitandu-se ca la incercarea de rezistenta mecanica unul din aparate unul sa nu corespunda.
Incercarile de tip sunt urmatoarele:
- verificarea de ansamblu;
- verificarea rezistentei de izolatie in stare rece si uscata;
- verificarea functionarii electromagnetilor;
- verificarea comportarii la vibratii;
- verificarea incalzirii;
- verificarea rezistentei dielectrice in stare calda;
- verificarea rezistentei cu izolatie in stare calda;
- verificarea rezistentei la coroziune;
- verificarea capacitatii de inchidere si de rupere;
Incercarile de lot sunt urmatoarele:
verificarea de ansamblu;
verificarea rezistentei dielectrice in stare rece si uscata;
verificarea rezistentei de izolatie in stare rece si uscata;
Metode de incercare.
Incercarile contactoarelor se executa prin una din metodele:
a verificarea comportarii la vibratii se face supunand aparatele timp de 2 ore la vibratii cu o amplitudine de maxim 1mm si cu o frecventa de 600 oscilatii /min.
b) verificarea rezistentei la uzura mecanica - necesita fixarea aparatului intr-o pozitie normala de functionare, pe un cadru metalic rigid, care sa nu oscileze sub actiunea manevrelor sau a factorului. Aparatul trebuie sa realizeze numarul de conectari fara sarcina, cu ajutorul propriului sau dispozitiv de actionare, alimentat la tensiunea nominala. Frecventa de conectare trebuie sa fie cel putin egala cu frecventa nominala de conectare. Bobinele se pot inlocui in timpul probelor.
c) verificarea rezistentei la uzara electrica – consta in verificarea rezistentei contactorului la un numar de actionari de ordinul 0 cel putin 5-10% din numarul de actionari fara sarcina, efectuate sub sarcina in conditiile prevazute pentru functionarea normala.
Instalatiile asigura, pentru contactoarele tip Al-3, conectarea pe tensiunea normala si la curentul 6-Tn, mentionarea contactului inchis un anumit timp si de conectarea pe curentul nominal si pe o tensiune egala cu 17% din tensiunea normala. Factorul de putere atat la conectare cat si la deconectare trebuie sa fie de maxim 0,35.
d) verificarea capacitatii de inchidere si de rupere - se face supunand aparatele curentilor pe care trebuie sa-i suporte in cazul functionarii accidentale la dispozitivul de incercare alimentat la tensiunea nominala se efectueaza un numar de 20 actionari, intervalul dintre 2 actionari pentru aparatele de pana la 100A fiind de maxim 105, iar pentru aparatele de peste 100A de maxim 305. In urma acestei incercari, contactele trebuie sa ramana in stare de functionare, dupa o eventuala curatire.
IMAGINI CONTACTOARE
|