ALTE DOCUMENTE
|
||||||||||
BLOCUL MOTOR
a) Rolul. Blocul motor īndeplineste rolul de schelet al īntregului motor, pe el montāndu-se toate organele si subansamblele acestuia. De aceea el este o piesa complicata constructiv si cu masa de aprox. 25...35 % din masa īntregului motor.
b) Solicitari, Blocul motor este supus la actiunea fortelor de presiune a gazelor, fortelor de inertie si momentele acestora, toate, transmitāndu-se prin intermediul lagarelor paliere la suportul motorului, iar de aici la sasiul automobilului. Totodata apar solicitari suplimentare datorate īncarcarii termice si strāngerii la montaj a diferitelor piese. Nu este supus la uzura, decāt daca cilindrii sunt alezati direct īn bloc.
c) Cerinte:- mare rigiditate si stabilitate dimensionala; - masa redusa si forma constructiva simpla; - sa permita acces usor la subansamblele montate pe acesta; - gabarit si pret de cost reduse.
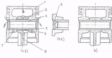
d) Constructie:Partile componente ale blocului motor sunt blocul cilindrilor si carterul superior. La motoarele racite cu apa acestea formeaza, de regula, un corp comun , fiind simultan turnate. La motoarele racite cu aer cilindrii sunt piese indivi-duale care se fixeaza pe carterul superior cu surub-uri lungi ce prind si chiulasa , sau cu suruburi scur-te . Īn ambele cazuri chiulasa poate fi individuala sau pentru un grup de cilindri.
Īn blocul cilindrilor se executa sau se monteaza cilindrii motorului. Acestia pot fi executati direct īn materialul blocului sau pot fi piese separate, adica sunt demontabili . De asemenea uneori la baza blocului cilindrilor se executa
Lagarele arborelui cu came si rampa centrata de ungere, care este o canalizatie cu diametrul de 8...14 mm ce strabate blocul de-a lungul lui de la un capat la altul si din care pornesc alte canale cu diametrul de 6 ..8 mm ce conduc uleiul spre lagarele arborelui cotit si ale arborelui cu came.
n carterul superior se executa, coaxial, lagarele paliere īn care se sprijina arborele cotit. Aceste lagare sunt formate dintr-o par 424b18e te turnata odata cu blocul si una detasabila, numita capac palier. (v.anexa cu desene) Pentru rigidizarea bloc-ului fara marirea exagerata a grosimii peretilor, se recurge la nervurarea blocului īn zona lagarelor.
O alta solutie de rigidizare ar fi coborārea planului de separatie a carterului superior de cel inferior, fata de planul de separare al lagarului. Īn acest caz fortele sunt preluate de un volum mai mare de me-tal, dar creste īnaltimea si masa motorului.
De regula la partea din fata a blocului se monteaza meca-nismul de antrenare al distributiei, iar la parea din spate carterul ambreiajului.
La partea superioara a blocului se dispune chiulasa cu garnitura de chiulasa, iar la partea inferioara, baia de ulei prin intermediul garniturii sale.Mai exista, pe partile laterale ale blocului motor, suprafete prelucrate prin aschi-ere pe care se monteaza: filtrul de ulei, manocon-tactul, pompa de alimentare.Īn anexa lucrarii de fata se prezinta si alte constructii de bloc motor.
e) Materiale, tehnologie de fabricatie, verificare si montaj. Blocul motor se executa numai prin turnare din fonta (MAS si MAC) sau din aliaje de aluminiu (MAS). Dupa turnare se prelucreaza prin aschiere toate suprafetele mentionate anterior, precum si lagarele paliere. Acestea din urma se prelucreaza cu capacele īn stare montata si strānse la cuplu, dupa care ele devin neinterschimbabile, de aceea la demontare ele se repereaza si se vor monta īn aceeasi pozitie.Abaterea maxima admisa la planeitate a suprafetei de īmbinare cu chiulasa este īn general de 0,02...0,08 mm/100 mm lungime.
Caracteristici de montai si functionare
|
|
102,00 DACIA |
M036 OLTCIT |
L-27 ARO Diesel |
797-05 SAVIE |
D2156M MAN |
|
Cuplul de strāngere al capacelor pe paliere [N*m] |
|
|
|
|
|
|
Jocul longitudinal al arborelui cotit [mm] |
|
|
|
|
|
|
Jocul fusului palier īn lagar [mm] |
|
|
|
|
|
f) Comportarea īn exploatare (defectiuni, cauze, efecte):Īn exploatare pot aparea urmatoarele defectiuni:- fisuri ale blocului datorate defectiunilor de fabricatie si/sau de montaj care duc la redistribuirea sarcinilor si aparitia unor tensiuni locale;- fisuri ale blocului, ca urmare a īnghetarii apei din sistemul de racire;- spargeri ale blocului ca urmare a ruperii altor organe aflate īn miscare si care lovesc astfel blocul.Īn toate cazurile blocul motor devine inutilizabil, nu mai poate fi reparat īn conditii de siguranta si deci necesita īnlocuirea.
CHIULASA sl GARNITURA DE CHIULASĂ
a) Rolul Chiulasa īnchide cilindrul la partea superioara formānd peretele fix al camerei de ardere. Totodata pe chiulasa se dispun o parte din organele distributiei (supapele si uneori arborele cu came)
b) Solicitari Chiulasa este supusa fortei de presiune a gazelor si solicitarilor termice care sunt inegal distribuite, fiind mai mari īn zona SE, pe unde trec gaze cu temperaturi de peste 1000 K si mai mici īn zona SA pe unde gazele au temperaturi sub 350 K.
c) Cerinte Fata de chiulasa se impun urmatoarele cerinte:- rigiditate si rezistenta la solicitari termice;- forma constructiva mai putin complicata;- dilatare si masa reduse.
d) Constructie Elementele componente (īn sectiune transversala) ale unei chiulase de MAS. Chiulasa unui MAC are aproximativ aceleasi elemente, cu exceptia faptului ca īn locul bujiei se monteaza injectorul, iar camera de ardere poate fi īn capul pistonului (MAC cu camera de ardere unitara sau injectie directa), sau īn chiulasa (MAC cu camera de ardere divizata - camera de vārtej sau antecamera). e) Materiale, tehnologie de fabricatie, verificare si montaj .Chiulasa se executa numai prin turnare din aliaje de aluminiu pentru MAS si din fonta pentru MAC. Aliajele de Al au o conductibilitate termica mai buna ceea ce face ca o chiulasa de MAS sa fie mai rece, lucru esential la acest motor, Invers, in cazul MAC-ului, unde se urmareste o chiulasa mai calda care sa usureze autoaprinderea amestecului aer - combustibil. Suprafata de īmbi-nare cu blocul motor se prelucreaza prin aschiere, abaterea maxima admisa la planeitate fiind 0,05 mm/100 mm lungime. Camera de racire din chiulasa se verifica la etanseitate prin proba de presiune, la o presiune de 4 bari timp de 3 min., cānd se mtroduce īn aceasta aer comprimat si se cufunda īntr-un bazin cu apa. Nu este admisa iesirea de bule de aer.
Caracteristici de montai si functionale
|
|
102,00 DACIA |
M036 OLTCIT |
L-27 ARO Diesel |
SAV1EM 797-05 |
MAN D2156HM |
|
Cuplul de strāngere a prezoanelor de chiulasa [N*m] |
|
|
|
|
|
|
Cuplul de strāngere a piulitelor colectorului de admisie [N*m] |
|
|
|
|
|
|
Deformatia max. a suprafetei de īmbinare cu blocul motor [mm] |
|
|
|
|
|
f) Comportarea īn exploatare Defectiunile mai frecvente ce pot aparea sunt:- deformarea chiulasei (ovalizarea) cauzata de dilatarea excesiva ca urmare a lipsei de lichid de racire sau a nestrāngerii la cuplu a suruburilor de chiulasa; astfel, suprafata de īmbinare cu blocul īsi pierde planeitatea ceea ce face posibila scaparea flacarii din cilindru si arderea garniturii de chiulasa;- fisuri ale peretilor chiulasei datorita īnghetarii apei din sistemul de racire sau a unor supraīncalziri locale cauzate de lipsa de lichid de racire;- deteriorarea filetului bujiei datorita strāngerii incorecte a acesteia;
depuneri de calamina pe peretii camerei de ardere, datorate unui exces de ulei, ulei de calitate inferioara, amestec prea bogat sau defectiuni de aprindere. Prima defectiune poate fi remediata printr-o rectificare, īnsa urmatoarele doua fac chiulasa inutilizabila, fiind necesara īnlocuirea ei.
Garnitura de chiulasa
Asigura etansarea dintre chiulasa si blocul motor. In mod obisnuit se utilizeaza o garnitura comuna pentru toti cilindri, dar uneori se folosesc si garnituri de chiulasa pentru grupuri de cilindrii (ARO Diesel are 2 garnituri fiecare pentru un grup de 2 cilindrii, iar MAN D 2156 HM are 2 garnituri pentru grupuri de cāte 3 cilindri).Deoarece aceasta garnitura este supusa unor forte si temperaturi variabile, ea trebuie sa asigure o etansare perfecta pentru ca īn timpul procesului de ardere, cānd presiunea gazelor tinde sa īndeparteze chiulasa, sa nu aiba loc scapari degaze printre blocul motor si chiulasa. De aceea materialul din care ea se executa trebuie sa fie suficient de elastic, iar tensiunea creata la montaj prin strāngerea suruburilor sa nu depaseasca limita de elasticitate. Elasticitatea materialului cāt si rezistenta mecanica trebuie sa se pastreze si la temperaturile īnalte de functionare ale motorului.
Īn functie de particularitatile motorului garniturile de chiulasa sunt de mai multe feluri:
a) Metalo-plastice care sunt formate dintr-o foaie de azbest sau tesatura din fir metalic cu azbest īnvelite īn tabla subtire de cupru, alama sau fier care īi asigura rezistenta necesara. Marginile orificiilor pt camera de ardere sunt bordurate.
b) Plastice din foi de azb-est grafitate care sunt mai putin rezistente, dar se adapteaza bine la neuniformitatile suprafetelor cu care se īmbina. Orificiile garniturii se bordureaza, īn special cele pt camera de ardere. Aceste garnitu-ri au cea mai larga utilizare ele montāndu-se atāt la MAS cāt si la MAC. c) Metalice care pot fi din :- tabla de aluminiu sau cupru; pt aceste garnituri se executa niste ca-neluri īn chiulasa si gulerul cilind-rului, iar proemi-nentele lor intra īn garnitura la strāngere;- tabla de otel moale cu grosime de 0,4.. ..0,6 mm si cu ondul-atii de diferite adāncimi īn jurul orificiilor ce treb-uie etansate. La strāngerea suruburilor apare defor-marea elastica a garniturii realizāndu-se o etansare ermetica - se folosesc la MAS;- pachet de table subtiri care sunt garnituri cu rigiditate variabila; aceasta se obtine prin micso-rarea numarului de table īn anumite locuri. Locasul din dreptul camerei de ardere se bordureaza de una din tablele exterioare. Se folosesc la MAC;- inele de etansare pentru fiecare cilindru din cupru sau aluminiu.Partea frontala a camasii intra īn inelul 1 amplasat pe bordura. Etansarea īmbinarii pentru trecerea lichidului de racire se realizeaza cu garni-tura elastica 2, comuna tuturor cilindrilor. Se folo-seste mai ales la MAC-uri supraalimentate.Strānge-rea garniturii de chiulasa se face cu ajutorul surub-urilor de chiulasa. pentru, a evita deformarea neuniforma a garniturii sau aparitia unor deformatii ale chiulasei, strāngerea suruburilor se face īntr-o anumita ordine, care īncepe cu suruburile de la mij-loc si se continua prin alternare spre capetele chiulasei. suruburile se strāng īn 2 sau 3 treceri cu un cuplu de 70 ... 80 N*m.Ordinea exacta de strān-gere a suruburilor de chiulasa este prescrisa de catre fiecare firma constructoare a motorului, pe baza rezultatelor obtinute īn urma īncercarilor de banc. Pentru cāteva motoare construite īn Romānia si īn lume, ordinea de strāngere a suruburilor de chiulasa Prin strāngerea chiulasei garnitura īsi micsoreaza grosimea cu 20...30%. La demontare īnsa nu-si revine la dimensiunea initiala si de aceea nu se recomanda folosirea lor a doua oara.
CILINDRUL
a) Rolul Cilindrul este organul motorului īn care se desfasoara toate procesele din ciclul motorului aici avānd loc transformarea energiei chimice a combustibilului īn lucru mecanic.
b) Solicitari Cilindrul este supus la :- forta de presiune a gaze-lor; - solicitari termice cauzate de caldura degajata prin arderea combustibilului;- uzura coroziva, ade-ziva si abraziva produsa de gazele de ardere, unge-rea deficitara mai ales īn zona pct moarte si respec-tiv datorita particulelor abrazive patrunse īn cilindru odata cu aerul aspirat sau rezultate din frecarea īntre diferite piese si transportate de uleiul de ungere.
c) Cerinte Se impun urmatoarele cerinte :
- rezistenta mecanica la forta de presiune a gazelor.
- rezistenta la solicitari termice;- rezistenta la cele 3 tipuri de uzura.
d) Constructie Cilindrul poate fi nedemontabil (neamovibil) sau demontabil (amovibil). Īn primul caz el se alezeaza direct īn materialul blocului. Dezavantajul este acela ca īntreg blocul trebuie turnat dintr-un material rezis-tent la uzura, īn schimb blocul are o rigiditate mai mare. Cilindrul demontabil se mai numeste si camasa de cilindru. Camasa de cilindru poate fi uscata sau umeda . Camasa uscata nu vine īn contact direct cu lichidul de racire, īn timp ce camasa umeda se defineste prin opozitie. Camasa uscata poate fi montata pe toata lungimea cilindrului sau numai la partea superioara a acestuia. Introducerea ei se poate face cu o usoara presare la rece, sau presata la cald, cānd blocul motor se īncalzeste pentru a se dilata alezajul camasii, iar camasa se raceste īn zapada carbonica. Dupa montaj ele īsi revin la temperatura mediului ambiant si se reali-zeaza strāngerea. Camasa uscata poate avea o sup-rafata de sprijin la partea superioara (motor MAN D2156), sau fara suprafata de sprijin (motor ARO L27 Diesel). Camasa umeda poale avea suprafata de sprijin la partea superioara , motor SAVIEM 797-05) sau la partea inferioara (motor din familia DACIA); al doilea caz se utilizeaza la motoarele rapide pt a asigura o racire mai buna a primului segment cānd pistonul se gaseste la p.m.s. (segm-entul se gaseste īn dreptul camasii de racire a cilindrului pt aceasta pozitie a pistonului). Īn ambele cazuri - montarea camasii umede se face astfel īncāt sa depaseasca nivelul blocului cu 0.10......0.15 mm pentru ca forta principala de strāngere a chiulasei sa fie preluata de cilindru. Pentru a asigura aceasta supraīnaltare se folosesc niste garnituri din hārtie ce se dispun īntre cilindru si suprafata sa de sprijin (solutia e). Garniturile sunt de grosimi diferite pentru a se putea prelua si abaterile de fabricatie si colorate diferit pentru a se putea recunoaste. (0,08 mm - albastru; 0.10 mm rosu; 0.12 mm verde). Cilindrul racit cu aer este īntotdeauna demontabil si prezinta ca particularita-te existenta unor aripioare ce au rolul de marire a suprafetei de cedare a caldurii catre aerul din medi-ul ambiant. Acestea pot fi obtinute prin turnare odata cu cilindrul sau separat cānd sunt montate prin presare peste o camasa turnata separat din fonta. Lungimea acestor aripioare poate fi aceeasi pe toata īnaltimea camasii sau pot avea lungime din ce īn ce mai mica spre partea inferioara deoare-ce temperatura cilindrului scade spre aceasta parte.
e) Materiale, tehnologie de fabricatie, verificare si montai. Cilindrul se confectioneaza prin turnare centrifugala din fonta perlitica cu grafit lamelar fin sau nodular nealiata sau aliata cu Ni, Cr, Mo, Cu. Apoi se prelucreaza prin aschiere suprafata interi-oara numita si oglinda cilindrului, dupa care urme-aza o operatie de honuire a acestei suprafete pāna ce rugozitatea ajunge la 0,35...0,45 fim. S-a consta-tat ca la aceasta rugozitate oglinda cilindrului reti-ne o pelicula de ulei care o protejeaza cāt timp motorul este oprit, īn plus raportul calitate/pret de fabricatie este optim. Datorita abaterilor de fabri-catie, admise īntre anumite limite diametrul interior al cilindrilor (alezajul) nu este la toti acelasi. De aceea īn final se face sortarea cilindrilor pe clase de dimensiuni īn functie de marimea alezajului. Marcarea clasei pe cilindru se face printr-o pata de vopsea de o anumita culoare. De exemplu pentru cilindrii motorului autoturismului DACIA (motor 102.00) de 1400 cm3 clasele de sortare sunt: verde D == 76,00 .... 76,10 mm;- albastru D=76,10... ..76,20 mm;-rosu D = 76,20.....76,30 mm
Jocul admis īntre piston si cilindru este :-motor Dacia: 0,045...0,065 mm;- motor ARO L-27: 0,18 ...0,204 mm;- motor Saviem 797-05: 0,11. ..0,13 mm;- motor MAND2156 HM:0,12...0,16 mm
f) Comportarea īn exploatare. Pot aparea urmatoarele defectiuni:- uzura normala a cilindrului datorata factorilor enumerati la punctul b, uzura care apare īn timp chiar si īn cazul unei exploatari si īntretineri corecte;- uzura anormala datorita defectelor de material sau de tratament termic, corelate cu factorii anteriori si cu o exploatare sau īntretinere incorecta (filtru ulei colmatat, lipsa filtru de aer);- griparea cilindrului cauzata de supraīncalzirea oglinzii acestuia ca urmare a lipsei de ungere si/sau de racire; aceasta consta din topirea materialului pistonului si aderarea lui la suprafata cilindrului;- fisurarea cilindrului cānd īngheata apa din sistemul de racire;- uzura adeziva, abraziva si coroziva a oglinzii cilindrului cauzate de: ungere insuficienta, lipsa filtru de aer sau filtrul de ulei est colmatat, actiunea chimica a produselor rezultate īn urma arderii).In exploatare, īn generat, cilindrul nu se repara ci se īnlocuieste. Atunci cānd nu se dispune īnsa de cilindri noi, se pot aleza cei vechi, daca gradul de uzura permite, pāna la una din cotele de reparatie pentru care se dispune de pistoane corespunzatoare.
CUZINEŢII
a) Rolul Cuzinetii sunt piese semicilindrice inelare cu rol de captusire a lagarelor manetoane si paliere īn scopul de a micsora frecarile.
b) Solicitari. Cu-zinetii sunt supusi īn principal la uzura datorita fre-carii dintre ei si fusuri dar si la solicitari mecanice provocate de forta de presiune a gazelor si fortele de inertie. Solicitarile termice exista dar sunt sem-nificative numai īn cazul lipsei de ungere.
c) Cerinte. Fata de cuzineti se impun urmatoarele cerinte:- rezistenta mecanica; bune proprietati de alunecare, deci rezistenta la uzura; adaptabilitate la forma lagarului.
d) Constructie. Cuzinetul este format dintr-o carcasa de otel pe care se depune un strat de material antifrictiune. Conform STAS 9715-80 grosimea carcasei din otel este de 1...2,8 mm, iar a stratului de frictiune de 0,212 ... 0,225 mm, pentru diametre ale fusului de 30....80 mm. S-a constatat ca la aceasta grosime, stratul de frictiune nu se striveste sub actiunea fortelor, care vor fi preluate īn principal de carcasa din otel. Īn scopul īmpiedicarii rotirii cuzinetului īn lagar, acesta este prevazut cu un pinten , iar lagarul are o degajare īn care acesta intra. Cuzinetii lagarelor paliere au un canal longitudinal, care are rolul de a distribui uleiul pe īntreaga circumferinta a fusului īn timpul functionarii si de a retine o cantitate de ulei la oprirea motorului, necesara la pornirea urmatoare. La unele motoare cuzinetii lagarului palier din mijlocul arborelui cotit sunt prevazuti cu un guler care are si rolul de fixare axiala a arborelui cotit. (Jocul axial maxim admis al arborelui cotit este de 0.05..0.23 mm).
e) Materiale, tehnologie de fabricatie, verificare si montai Carcasa din otel se executa prin laminare din banda de otel cu continut de C de max. 0,08%. Stratul antifrictiune se aplica prin placare sau laminare pe carcasa, ori se depune galvanic sau chimic. Ca materiale pentru acesta se pot folosi: aliaje pe baza de staniu (BABIT), pe baza de Cu, bronz, Pb, bronz cu Pb, dar mai ales pe baza de Al, care au cea mai larga raspāndire.
Se exemplifica cāteva materiale antifrictiune ce pot fi utilizate (STAS 11271-80): - pe baza de cupru: CuPb25, CuPb30, CuPb23Sn2, CuPblOSnlO, CuPb22Sn4; - pe baza de aluminiu: AISn20, AIPb2Cul, AISn6Nil, AISn6NiO5, AISn6NiO4;
- depuse galvanic sau chimic: PbSnlOCu2, PbSn8, Sn. Cuzinetii se fabrica pentru diferite trepte de reparatie a arborelui cotit avānd grosimea carcasei din otel din ce īn ce mai mare, pentru a putea pastra jocul radial al arborelui īn lagar. (La fiecare treapta de reparatie, ca urmare a rectificarii arborelui, diametrul fusurilor scade cu 0,25 mm). Marcarea treptei de reparatie se face pe partea exterioara a carcasei astfel: ST - cota standard; R1,R2, R3.... reparatia I, a II-a, a III-a...etc.
f) Comportarea īn exploatare. Cuzinetii sunt supusi uzurii normale chiar daca sunt respectate toate indicatiile uzinei constructoare privind īntretinerea si exploatarea. īn afara de aceasta mai poate aparea griparea cuzinetilor, care consta din topirea stratului antifrictiune si aderarea lui la suprafata fusului atunci cānd lagarul respectiv nu mai are ulei de ungere. Remediul consta din rectificarea arborelui, cotit si īnlocuirea cuzinetilor.
Ca o defectiune mai frecventa ar fi aparitia de zgārieturi sau rizuri pe suprafata de alunecare a cuzinetului ca urmare a unor particule dure existente īn ulei si neretinute de filtrul din cauza colmatarii lui.
PISTONUL
a)Rolul. Pistonul este organul din mecanismul motor care īndeplineste urmatoarele functiunii:
1) preia forta de presiune a gazelor si o transmite prin intermediul boltului si a bielei, la arborele cotit. Miscarea sa alternativa este transformata, prin inte-rmediul mecanismului biela-manivela, īn miscare de rotatie a arborelui cotit;
2) preia reactiunile det de biela si le transmite suprafetei cilindrului;
3) asigura cu ajutorul segmentilor etansarea camerei de ardere.
4) serveste ca mijloc de transmitere a caldurii la peretii cilindrului si chiar la aerul din carter;
5) īmpreuna cu segmentii asigura reglarea cantitatii de ulei pe oglinda cilindrilor;
6) la motoarele īn 2 timpi pistonul mai are īn plus si rolul de organ de distibutie el comandānd deschiderea si īnchiderea luminilor de baleiaj si de evacuare.
b) Solicitari. Este supus la solicitari mecanice datorate fortei de presiune a gazelor, solicitari termice deoarece dea-supra pistonului are loc procesul de ardere, si la uzura, el fiind o piesa īn miscare relativa fata de cilindru, deci īntre ele existānd frecare. Diminuarea acestei frecari se face printr-o pelicula de ulei ce se depune prin ceata si stropire pe oglinda cilindrului.
c) Cerinte Fata de piston se impun urmatoarele cerinte;
rezistanta mecanica la actiunea fortei de presiune a gazelor si mentinerea acesteia la temp ridicate;
- termoconductibilitate mare īn scopul micsorarii temp;
- dilatare redusa si concordanta a acesteia cu dilatarea cilindrului:
- coefi mic de frecare si deci rezistenta īnalta la uzura:
d) Constructie. Pistonul se compune din patru parti si anume:
1) capul pistonului care preia forta de presiune a gazelor,
2) regiunea port-segmenti care contine canalele unde se monteaza segmentii;
3) mantaua sau fusta pistonului, care ghideaza pistonul īn miscarea sa alternativa;
4) bosajele sau umerii pistonului, unde se executa alezajul pentru bolt.

Capul pistonului poate avea forme diferite īn functie de tipul motorului (MAS sau MAC). La MAS el poate fi plat, bombat sau profilat. La MAC capul pistonului poale fi plat (MAC-uri cu injectie indirecta) sau poate avea diferite forme īn functie de geometria camerei de ardere ce este executata īn acesta (MAC-uri cu injectie directa). (A se vedea setul de pistoane din cadrul lucrarii).
Regiunea port-segment (RPS) este regiunea situata imediat sub capul pistonului pāna la alezajul pentru bolt, unde se dispun segmentii. (La unele motoare, mai ales Diesel, uneori se mai dispune un segm de un-gere la partea inferioara a mantalei, sub alezajul pentru bolt, deci nu īn RPS).Pt usurarea evacuarii caldurii īnmagazinta de primul segm, numit si segm de foc, canalul acestuia se executa, mai ales la motoarele rapide (MAS-uri), mai jos decāt partea interioara a capului . La motoarele la care grosimea capului este prea mare (MAC-uri), canalul acestui segment este protejat cu o insertie din otel termorezistent . Uneori prin intermediul unui cilindru canelat la exterior, īncorporat īn RPS se protejeaza toate canalele pentru segm, sau se prevede aceasta insertie chiar pe capul pistonului īn dreptul jetului de flacara sau combustibil . Insertia de metal se confectioneaza din fonta cenusie, fonta speciala sau austenitica, cu coeficient de dilatare apropiat de cel al aluminiului (de exemplu NIRE-ZIST).
Mantaua (fusta pistonului) este partea pist care serveste la ghidarea sa īn miscarea alternativa din interiorul cilindrului. Prin intermediul acesteia se preia forta normala N = F*tgα si se transmite la oglinda cilindrului ; (F=Fp+Fj, unde Fp este forta de pres a gazelor, iar Fj este forta de inertie a mas-elor īn miscare alternativa). Nu īntreaga circumfe-rinta a mantalei transmite aceasta forta normala N, care īsi schimba sensul de 7 ori pe parcursul unui ciclu, ci numai o portiune situata sub un unghi p = 80.. 100° . asa explicāndu-se uzura mai accentuata a acesteia. Uneori, si numai la MAS, se practica taierea mantalei pe fata care nu preia forta normala maxima, taiere incompleta īn forma de T sau de H rezultānd asa numita manta elastica. Acest tip de manta permite reducerea jocului la rece dintre piston si cilindru pāna la valori de 0,024 ... 0.036 mm deoarece se conteaza pe faptul ca dilatarile pistonului la cald sunt preluate de rostul acestei taieturi.Se utilizeaza pe scara larga pistoane cu insertii formate dintr-o placuta metaltca dispusa īn zona bosajelor . Aceasta poate fi o placuta de invar (otel aliat cu 36% Ni si cu un coeficient de dilatare de 30 x mai mic decāt al aluminiului, ) sau placuta din otel de calitatea . Placutele de invar sunt sunt īncorporate īn materialul pistonului īmpiedicānd dilatarea pistonului īn timp ce placutele de otel sunt fixate pe periferia materialului pistonului si lucreaza ca o lama bimetalica supusa īncalzirii, frānānd dilatarea, sistemul curbāndu-se īn directia evazarii pentru a satisface conditia de dilatare.
Un asemenea piston permite cele mai mici jocuri de montaj (0,012...0,024 mm), si īn plus placutele inserate maresc rigiditatea mantalei si a umerilor. Pistoanele cu insertie se numesc si pistoane autotermice si se utilizeaza la motoare solicitate mai intens termic si mecanic.
Bosajele sau umerii pistonului Reprezinta aglomerari de material īn care se executa alezajul pentru bolt. Centrul acestui alezaj (punctul B) poate fi pe axa pistonului sau poate fi decalat cu e=0,5...1,5 mm īn sensul de rot-atie al arborelui cotit, sau īn sens invers . Īn aceste cazuri se urmareste fie micsorarea unghiului fie micsorarea unghiului b si implicit a fortei N ceea ce duce la micsorarea fortei de frecare (Ff =μ*N unde micron este coefi de frecare dintre piston si cilindru), fie a cuplului de basculare al pistonului (Mb = Ff*D/2 unde D este alezajul). De aceea pt a putea fi montat corect, respectānd sensul de deza-xare, pist se repereaza printr-un semn (o sageata, o litera V ) marcat pe capul sau si paralel cu axa bolt-ului. Montarea se face dupa indicatiile constructor-ului (d), adica toate pistoanele unui motor au acest semn orientat spre volant (DACIA) sau spre partea din fata a motorului (OLTCIT).
e) Comportarea īn exploatare. Pistonul īn exploatare se deformeaza din mai multe cauze si anume :- sub actiunea dilatarilor termice (fig,II-7,a);

Fig.II-7 Deformatiile pistonului īn exploatare
- sub actiunea fortei de presiune a gazelor Fp (b);
- sub actiunea reactiunii N' determinate de cilindru asupra pistonului (c).Se observa īnsa ca īn toate aceste cazuri pistonul ia o forma eliptica. īn plan transversal cu axa mare a elipsei paralela cu axa boltului.De asemenea pist este supus uzurii normale sau anormale din aceleasi motive ca si cilindrul, dar apare mai ales griparea pistonului care consta din topirea unui strat superficial din materialul acestuia si aderarea lui la oglinda cilindrului. Cauza o constituie supraīncalzirea prin frecare a cuplului piston-cilindru īn principal din lipsa de ungere si/sau de racire. Griparea poate ajunge, īn cel mai grav caz, pāna la "sudarea" pistoanelor de cilindri si deci blocarea motorului, cānd remedierea nu se mai poate face decāt prin īnlocuirea īntregului set motor. Spargerea capului pistonului poate avea loc atunci cānd īn cilindru se dezvolta timp īndelungat o ardere cu detonatie sau īn cazul ruperii uneia din supape si caderea ei īn cilindru. Datorita unor jocuri mari īntre piston si cilindru (peste 0,001 D) apare fenomenul de bataie a pistonului cānd mantaua, mai ales la MAS unde este mai subtire, se poate sparge.
f) Materiale, tehnologie de fabricatie, control si montai. Pistonul poate fi executat prin doua procedee si anume: turnare īn cochila sau matritare. Turnarea este mai des utilizata, mai ales la motoarele de serie, deoarece este un procedeu mai ieftin si care confera rezistenta mecanica suficienta pentru solicitarile la care este supus un astfel de motor. Matritarea se utilizeaza pentru pistoanele motoarelor puternic solicitate cum ar fi cele de curse. Ca materiale se utilizeaza:- aliaje de aluminiu cu cupru numite si aliaje Y;- aliaje de aluminiu cu siliciu numite silumin. Se exemplifica īn continuare cāteva materiale mai des utilizate, conform STAS 201/2 - 80: ATN Cu4 Ni2 Mg, ATC Cu4 Ni2 Mg, ATN Cu 10 Mg, ATC Si6 Cu4, ATC Si7 Mg, ATC Si 10 Cu3 Mg, ATC Si 12 Cu Mg Ni etc. Prelucrarea prin aschiere a profilului exterior al pistonului este īnsa foarte pretentioasa ea trebuie sa tina seama de deformatiile pe care acesta le sufera īn timpul functionarii. Astfel cunoscānd modul de deformatie, pentru a-1 contracara, pistonul se profileaza īn plan transversal dupa o elipsa care are axa mare perpendiculara pe axa boltului (fig.II-8,a), urmānd ca la cald pistonul sa devina cilindric. Marimea ovalizatiei maxime este Av = 0,1. .0,25 mm pentru alezaje mai mici de 100 mm si poate ajunge la 1,0 mm pentru alezaje mai mari. De asemenea avānd īn vedere īncalzirea diferita pe īnaltime datorita repartizarii neuniforme a materialului si deci dilatarea diferita, īn profil longitudinal,
pistonul nu este cilindric ci poate avea diferite forme tronconice īnsa īntotdeauna (la rece) cu diametrul mai mic la capul pistonului. La cald datorita dilatarilor mai mari īn aceasta zona, pistonul devine cilindric.Suprafata exterioara a pistonului poate fi protejata prin:- cositorire cu un strat de 0,004...0.006 mm care scurteaza perioada de rodaj;- grafītare cu un strat rugos si aderent de grafit de 0.01 mm care retine uleiul prevenind griparea;- eloxare adica oxidare electrolitica a suprafetei pistonului rezultānd un strat dur si poros care retine uleiul si mareste rezistenta la uzura.
Pistoanele se sorteaza pe clase de dimensiuni si de greutati, īn functie de diametrul mare al elipsei (cota masurata perpendicular pe axa boltului) si de masa lui. Cele doua sortari se marcheaza pe capul pistonului prin doua pete de vopsea de culori diferite. La MAS se sorteaza si dupa marimea alezajului pentru bolt, marcādu-se pe capul pistonului īnca un semn de o alta culoare.
Pistonul se fabrica si pentru diferite trepte de reparatie a cilindrului de +0,25, +0,5 si +1 mm si se marcheaza cu Rl, R2, R3.
BOLŢUL
a) Rolul. Boltul face legatura īntre piston si biela. Prin intermediul lui se transmite forta de presiune a gazelor de la piston la biela.
b) Solicitari. Este su-pus la solicitari mecanice de īncovoiere, forfecare si oboseala de catre forta de pres a gazelor (Fp), precum si la uzura.
c) Cerinte. Avānd īn vedere solicitarile mentionate anterior el trebuie sa aiba o tenacitate ridicata a miezului dar si o duritate ridicata a suprafetei exterioare pentru a reduce uzurile care sunt mult favorizate de o ungere deficitara. De asemenea fiind o piesa īn miscare trebuie sa aiba o masa redus pentru a micsora fortele de inertie pe care aceasta le introduce īn īntreg mecanismul motor.
d) Constructie. Boltul are o forma tubulara, profilul exterior fiind īntot-deauna cilindric, iar cel interior poate avea diferite forme īnsa din motive de economicitate, cei mai des se utilizeaza tot profilul cilindric si pt interior.

Fig. II-9 Forme constructive de bolt
Asamblarea bolt-biela-piston poate fi realizata īn trei moduri īnsa la motoarele de automobile se utilizeaza doar doua dintre acestea (fig.II-10):
- bolt liber īn piciorul bielei si īn umerii pistonului;
- bolt fix īn piciorul bielei si liber īn umerii pistonului;
- bolt liber īn piciorul bielei si fix īn umerii pistonului;

Fig.II-10 Tipuri de asamblari bolt - biela - piston al si a2 - bolt flotant; b -bolt fix īn biela 1- piston; 2-biela; 3-bolt; 4-bucsa antifrictiune;
5-sigurante; 6-capac; 7-orificii pentru ungere
Partile mobile ale mecanismului motor
Dupa cum s-a vazut, mecanismul motor este format din parti fixe (blocul motor, chiulasa, cilindrii, cu-zinetii) si din parti mobile.Principalele parti mobile ale acestui mecanism sunt prezentate īn cele ce urmeaza. De ungere sa patrunda īntre bolt si umerii pistonului pentru ungerea acestei portiuni. Atunci fie se practica niste orificii (7) īn bosaje prin care patrunde uleiul din ceata ce se formeaza sub acesta, fie īn locul sigurantelor se utilizeaza un capac sferic la exterior (6) din aliaj usor si moale (aliaj de Al sau Mg), care nu mai fixeaza boltul axial īnsa nici nu provoaca zgārierea oglinzii cilindrului (a2).
Īn ambele cazuri īnsa, existānd o miscare relativa īntre bolt si biela, iar ungerea facāndu-se cu dificu-ltate, se dispune īntre acestea o bucsa antifrictiune din bronz (4). Numai prezenta ei nu este suficienta pentru micsorarea frecarii si de aceea se mai practi-ca un orificiu prin care pica uleiul de pe partea in-terioara a capului pāna īn zona boltului aflata īn biela. Uneori īnsa, la motoarele mai solicitate, se recurge la solutia ungerii boltului īn biela sub pres cu ulei adus din lagarul maneton printr-un canal (8) ce traverseaza corpul bielei. Prezenta bucsei anti-frictiune si a inelelor de siguranta este un indiciu sigur ca asamblarea bolt - biela - piston este de tipul cu bolt flotant. Solutia aceasta se utilizeaza la toate motoarele fabricate īn Romānia cu exceptia motoarelor din familia DACIA.
Boltul fix īn piciorul bielei este solutia exceptata anterior si asamblarea se realizeaza īn urmatoarele etape:
se īncalzeste piciorul bielei pe o plita electrica la o temperatura de cea. 250°C, timp de 10 ... 15 min-ute, īn scopul dilatarii alezajului acestuia, pt a se putea monta usor boltul;- se monteaza rapid boltul īn pist si biela cu ajutorul unor bucse si mandrine;
-se lasa ansamblul sa se raceasca īn aer liber, timp īn care biela se contracta realizānd strāngerea si fixarea boltului.Īntre bolt si biela nemaiexistānd miscare relativa nu mai este necesara nici bucsa antifrictiune. De asemenea boltul fiind fix īn biela nu mai sunt necesare nici sigurantele.Ungerea boltului de face numai īn zona din piston, cu ulei din ceata ce se formeaza sub acesta, prin orificiile executate īn umeri.
Boltul fix īn umerii pistonului este o solutie care nu se utilizeaza la motoarele de autovehicule rutiere datorita introducerii unor con-centratori de tensiune, maririi masei īn miscarea de translatie si dificultatilor de montaj. Fixarea boltu-lui se realizeaza cu doua suruburi ce strapung ume-rii pistonului si boltul, sau utilizānd o biela cu pici-or partial sectionat (biela cu picior elastic) si strāns cu surub .e) Materiale, tehnologie de fabricatie, control si montai. Boltul se executa prin stunjire din OLC 15, 20, 45, 60 sau din oteluri aliate cu Cr, Ni, Mo, V. Dupa strunjire se rectifica suprafata exterioara pāna la o rugozitate de 0,1...0,2 micron, iar apoi se cementeaza sau se caleste CIF pe o adāncime de 1,0... 1,5 mm pāna cānd duritatea stratului superficial atinge 58...64 HRC.Toleranta de fabricatie a diametrului exterior este de 3 mic-ron la MAS si de 8 um la MAC. De aceea la MAS boltul se sorteaza pe clase de dimensiuni īn timp ce la MAC se renunta la aceasta operatie. Marcarea clasei se face cu o pata de vopsea. Pe un acelasi motor nu se admite montarea decāt a unor bolturi din aceeasi clasa de dimensiuni.
f) Comportarea īn exploatare. Boltul este o piesa deosebit de rezistenta ceea ce face ca el practic sa nu se rupa. Totusi datorita conditiilor dificile de ungere, bucsa antifrictiune dar si boltul se uzeaza. Atunci cānd, ca urmare a uzurii, jocul boltului īn bucsa antifri-ctiune depaseste cea. 0,05 mm apare fenomenul numit "bataie de bolt" care se manifesta īn exterior sub forma unui zgomot īnfundat. Remedierea consta din īnlocuirea boltului si bucsei antifrictiune. Jocul normal al boltului īn piciorul bielei la motorul SAVIEM 797-05 este de 0,02.. .0,04 mm, iar' la motorul MAN-D2156, este de 0,05...0,08 mm īn ambele cazuri boltul este de tip flotant.
SEGMENTII
a) Rolul. Segmentii au rolul de etansare a camerei de ardere, īmpiedicānd scaparea gazelor din cilin-dru spre carter, si de radere a surplusului de ulei de pe oglinda cilindrului. De aceea exista doua tipuri de segmenti si anume: segmenti de compresie si segmenti de ungere sau raclori.
b) Solicitari. Segmentii sunt piese solicitate mai mult la uzura si termic. Aceasta deoarece sunt īn contact direct cu cilindrul fata de care au o miscare relativa, si cu gazele fierbinti, mai ales primul segment dinspre camera de ardere care se mai numeste si "segment de foc".
c) Cerinte. Rezistenta la uzura, solicitari termice si coroziunea provocata de gazele de ardere.
d) Constructie. Segmentii de compresie sunt cei care asigura etansarea camerei de ardere si ei se monteaza īn RPS cel mai aproape de capul pist (de regula sunt 2 segmenti de compresie si unul de un-gere). īndeplinirea rolului de etansare al segmentilor de compresie se face cu ajutorul presiunii elas-tice cu care acestia sunt realizati din fabricatie, a pres gazelor scapate īn spatele segmentului care contribuie ia apasarea suplimentara a segmentului pe oglinda cilindrului si a peliculei de ulei dintre segment si cilindru care umple golurile dintre asperitati.Se realizeaza o buna etansare daca presiunea gazelor scapate dupa ultimul segment este de 3... 4% din presiunea gazelor īn camera de ardere. Seg-mentul de ungere īsi īndeplinesc rolul īn cursa descendenta a pistonului cānd rad surplusul de ulei si-1 evacueaza prin orificii anume executate īn spatele segmentului sau sub acesta. Forme constructive de segmenti de compresie si de ungere, turna-ti din fonta. Dintre segmentii de compresie cel mai mult se folosesc cei de sectiune dreptunghiulara datorita unei tehnologii de fabricatie mai simpla. Segmentii cu suprafata laterala īnclinata cu unghiul β = 25... 45 se folosesc pentru accelerarea ajus-tarii lor pe oglinda cilindrului, īn timp ce segmentii asimetrici sau trapezoidali constituie o solutie eficienta īmpotriva blocarii deoarece sub efectul de basculare al pistonului, segmentii acestia se rasuce-sc īn canal expulzānd uleiul si depunerile care fa-vorizeaza formarea lacurilor ce duc la īntepenirea segmentului.Se observa ca segmentii de ungere pot fi neperforati sau perforati (i...l), perforarea facāndu-se prin frezare (i,l) sau gaurire (j,k); Mai exista īnsa īnca o categorie de segmenti de ungere si anume cei din otel, mai ales tipul "lift ex" care are o larga utilizare . Īn ce priveste fanta segmen-tului acesta poate avea diferite forme , cea mai des utilizata fiind taietura (fanta) dreapta fiind mai simpla de executat. Rostul de montaj al segmen-tilor (A) este īntre 0,2...0,7 mm īn functie de alezaj. La alezaje mici si rosturile sunt mici. La cald aceste rosturi scad ajungānd la 0,1...0,6 mm īn functie de alezaj si de modul de racire al motorului (cu apa sau cu aer). e) Materialele tehnologie de fabricatie, control si montai. Segmentii se fabrica prin turnare individuala īn ciorchine. Ca material se foloseste fonta aliata cu Si, Mn, P (fonte Kl, IKA, K9) si cantitati reduse de Cr, Ni, Mo, Ti, Cu .Dupa turnare se prelucreaza prin aschiere pe un dom, se taie fanta si, apoi se supun unui tratament de ter-mofixare pentru obtinerea elasticitatii necesara. Uneori suprafata de contact a segmentului cu cili-ndrul se acopera prin cromare poroasa īntr-un strat gros de 60... 170 μm. Cromarea se aplica mai ales la primul segment care lucreaza la temperaturi mai īnalte si se uzeaza cel mai mult. Rugozitatea supra-fetei laterale este de max. 1,6 μm. Segmentii din otel se fabrica prin stantare din tabla. Montarea segmentilor pe piston se face respectānd pozitia marcajului "TOP" sau al marcii firmei producato-are (NOVA ori GOTZE) care trebuie sa fie spre capul pistonului, iar fanta trebuie sa fie echiunghiular decalata, (la 120° pentru un piston cu 3 segmenti).
f)Comportarea īn exploatare. Segmentii se uzeaza atāt normal, cāt si anormal din aceleasi motive din care se uzeaza si cilindrul. In plus segmentii se pot rupe īn cazul arderilor īndelungate cu detonatie sau al blocarii lor īn canal datorita gumelor si lacurilor ce se formeaza aici ca urmare a arderii īn primul rānd a uleiului. Efectul este cel de scadere al presiunii gazelor din cilindru ele scapānd īn carterul motorului, ceea ce duce la scaderea puterii motorului, cresterea consumului de combustibil si functionarea cu fum la esapament ca urmare a arderii uleiului de ungere care nu mai poate fi ras corect de pe oglinda cilindrului. Remedierea consta din īnlocuirea setului de segmenti.
BIELA
a) Rolul. Biela realizeaza transformarea misc-arii alternative a pistonului īn miscare de rotatie a arborelui cotit si transmite forta de presiune a gazelor de la piston la arborele cotit.
b) Solicitari. Biela este supusa la solicitarile simple de īntindere, compresiune, īncovoiere, toate fiind produse de actiunea comuna a fortei de presiune a gazelor (Fp) si a fortelor de inertie a pistonului, boltului si segmentilor.
c) Cerinte, Biela trebuie sa aiba rezisten-ta mecanica ridicata si masa redusa deoarece este supusa fortelor de inertie.
d) Constructie. Partile principale ale bielei (Fig.III-1) sunt.
Piciorul bielei fiind partea īn care se executa alezajul pentru bolt.

Poate avea diferite forme constructive īn functie de tipul motorului. Uneori aici se dispune un exces do material (E) pentru ajustarea masei bielei.
Corpul bielei este conceput ca o grinda de egala rezistenta atāt īn planul de īncastrare cāt si īn cel de oscilatie. Ca urmare are īn sectiune transversala, o forma de I. La motoare mai solicitate se poate utiliza o biela cu corpul īn forma de dublu I. Uneori prin corpul bielei este executat un canal prin care trece uleiul sub presiune de la fusul maneton la bolt, pt ungerea acestuia din urma. De aceea pt a descarca suruburi-le de biela de aceasta solicitare se recurge la preve-derea unor bucse (1), renuri (2) sau praguri (3) care sa preia componenta Bn descarcānd astfel surubur-ile (fig. III-1).In capul bielei se dispun semicuzine-tii de biela care se asigura īmpotriva rotirii prin intermediul unui pinten.
e) Materialele, tehnologie de fabricatie, control si montaj Biela se executa prin matritare din OLC 45, 55, 60 sau din otel alia-te cu Mo, Cr, Mn. Apoi corpul bielei este debavur-at si se slefuiesc racordarile. Se prelucreaza prin aschiere alezajul pentru bolt dupa care cu capacul īn stare montata se prelucreaza alezajul pentru fusul maneton. Dupa aceasta operatie cele doua piese; biela si capacul, devin neinterschimbabile.
Pentru marirea duritatii suprafetei exterioare a corpului se recurge la ecruisarea cu jet de alice a acesteia.Bucsa antifrictiune se fabrica prin strunjire din bronz cu aluminiu, bronz cu plumb sau bronz fosforos care au o buna rezistenta la uzura, iar apoi se monteaza prin presare. Prelucrarea de rectificare finala a acesteia se face dupa ce a fost montata.
Se impun tolerante strānse privind unele dimensi-uni si tolerante cum ar fi: - abaterile axelor celor doua alezaje de la paralelism si coplaneitate de maximum 0,04... 0,06 mm/100 mm lungime;
rugozitatea suprafetei interioare a piciorului si capului bielei de max. 0,3...0,8 um;- jocul īntre bolt si bucsa de max. 3 ... 6 um; - abaterea la distanta īntre axele alezajelor poate fi īntre 0,05 ... 0,10 mm; -jocul axial maxim (īn lungul fusului maneton) este de 0,08 ... 0,30 mm; - jocul radial maxim este (0,0003 ... 0,003) dM, unde dM este diametrul fusului maneton. suruburile de biela se fabrica prin strunjire sau roluire din oteluri aliate de īmbunatatire (marcile 45C10, 4ICNI2, 34MoCN15). Strāngerea lor se face cu un cuplu bine determinat, precizat pentru fiecare motor de catre firma constructoare. Astfel se exemplifica pentru o serie de motoare cuplurile de strāngere ale suruburilor de biela.

Forme constructive de picior al bielei

Solutii pentru ungerea piciorului bielei
a-gaura pentru ungere prin stropire; b-taietura; c-canal īn corpul bietei pentru ungerea boltului de presiune; d-pulverizator pentru racirea prinjet de ulei a capului pistonului; e-punga de ungere.

Biela cu picior elastic
1-surub de strāngere a boltului; 2-corpul bielei; 3-orificiu pentru stropirea cu jet de ulei a oglinzii cilindrului: 4-bolt;5-semicuzineiti de biela; 6-capac de biela; 7-siguranta; 8-suruburi de biela
Capul bielei este format din doua parti. Una comuna cu corpul si cealalta detasabila, numita capac de biela. Detasarea se face prin sectionarea capului cu un plan perpendicular pe axa ce uneste centrele celor doua alezaje sau cu un plan īnclinat la 45° fata de aceasta axa. Sectionarea īnclinata se face numai īn cazul motoarelor la care diametrul fusului maneton este comparabil cu alezajul. Aceasta deoarece altfel biela nu ar trece prin cilindru la montare/demontare.Solutia este dezavantajoasa deoarece determina aparitia unei componente Bn, care este normala pe axa suruburilor de biela si care le solicita la forfecare, solicitare foarte periculoasa si la care suruburile rezista mult mai putin decāt la tractiunea produsa de componenta Bt .vor utiliza cuzinetii executati pentru trepte de reparatie. Acestia au grosimea carcasei din otel din ce īn ce mai mare, de regula cu 0,125 mm pentru fiecare treapta.

Fig.III-3 Fortele ce solicita suruburile de biela
Se recomanda ca rectificarea sa se faca la toate fusurile de acelasi nume si la aceeasi treapta de reparatie.Cuplul de strāngere al capacelor paliere difera de la un motor la altul, constructorul indicānd īn notita tehnica aceasta valoare. Ca si īn cazul suruburilor de chiulasa ori a celor de biela, si acestea se strāng īn mod treptat si pe rānd, din 2...3 treceri. Astfel spre exemplu cuplurile de strāngere pentru cāteva motoare ar fi:
|
|
102.00 DACIA |
M036 OLTCIT |
AROL27 Diesel |
797 - 05 SAVIEM |
D2156HM MAN |
|
Cuplul de strāngere al capacelor, paliere [N*m] |
|
|
|
|
|
īn timpul lucrarii se va urmari
- identificarea partilor, componente ale arborelui cotit;
- identificarea pieselor si subansamblelor antrenate īn miscare de arborele cotit;
- modul de montare al arborelui cotit īn blocul motor, se va monta efectiv arborele.
|
|
102.00 DACIA |
M036 OLTCIT |
AROL27 Diesel |
797 - 05 SAVIEM |
D2156HM MAN |
|
Cuplurile de strāngere al suruburilor de biela[N*m] |
|
|
|
|
|
Bielele se sorteaza pe clase īn functie de masa lor. Marcarea clasei se face printr-o combinatie de mai multe culori formānd pete de vopsea, aplicate pe corpul bielei. De asemenea la MAS bielele se sorteaza si dupa marimea alezajului pentru bolt.
f) Comportarea īn exploatare. Biela este una din piesele motorului cu cea mai mare fiabilitate. In mod normal ea trebuie sa fie īn stare de functionare si la casarea motorului. Totusi uneori din motive de executie, montaj sau exploatare incorecta, se poate ajunge la īncovoierea bielei, ceea ce o scoate din functiune. Mai frecvent īnsa apare ruperea suruburilor de biela cānd acestea nu sunt strānse la cuplu (strānse excesiv sau insuficient). Aceasta duce la avarii mecanice grave, biela īn miscare lovind blocul motor, arborele cotit etc. īn mod frecvent apare īnsa o uzura a bucsei antifrictiune care duce la cresterea jocului īntre aceasta si bolt pāna la aparitia "bataii de bolt".
ARBORELE COTIT
a) Rolul. Arborele cotit are rolul de a transmite īn exterior lucrul mecanic produs īn cilindrii motoru-lui. Miscarea de translatie a pistoanelor este trans-formata īn miscare proprie de rotatie prin inter-mediul īntregului mecanism biela-manivela. De asemenea arborele cotit antreneaza īn miscare de rotatie o serie de alte subansamble sau organe ale motorului, cum ar fi: arborele cu came, pompa de apa, de ulei, de injectie, alternatorul, compresorul pentru sistemul de frānare, etc.
b) Solicitari. Arborele cotit este piesa cea mai solicitata din īn-treg motorul el fiind supus la: īntindere, compresiune, īncovoiere, torsiune, solicitari cu soc, oboseala, uzura. Toate aceste solicitari sunt provocate de fortele ce actioneaza īn mecanismul motor si de momentele generate de acestea (la motorul poli-cilindric).
c) Cerinte. Fiind o piesa atāt de solic-tata cerintele sunt pe masura si anume:rezistenta mecanica, rigiditate, precizie dimensionala, duritate a suprafetelor fusurilor, coaxialitate a centrelor fusurilor.
d) Constructie. Partile componente ale arborelui cotit sunt: Capatul din fata este portiunea executata de obicei īn trepte si pe care se monteaza urmatoarele elemente: pinionul de antrenare al distributiei, simering de etansare la ulei, fulia arborelui cotit, uneori un amortizor de vibratii torsionale.
Fusurile paliere sunt fusurile ce se gasesc pe axa de rotatie si prin intermediul carora arborele cotit se sprijina īn lagarele paliere executate īn carterul superior al blocului motor. Toate fusurile au acelasi diametru si aceeasi lungime cu exceptia, de regula a fusului palier din mijloc care este mai lung deo-arece aici se monteaza niste cale semiinelare pt fix-area axiala a arborelui cotit. (La motorul autoturis-mului DACIA, jocul longitudinal maxim admis al arborelui cotit este de 0,05...0,23 mm).
Fusurile manetoane sunt fusurile ce se gasesc de-a lungul si īn jurul axei de rotatie a arborelui cotit la distanta r=S/2, unde S este cursa pistonului. Toate au acela-si diametru si aceeasi lungime. La unele construc-tii, pt usurare, fusurile manetoane si chiar cele paliere se gauresc, diametrul gaurii ajungānd la 60...80% din diametrul fusului.
Bratele sunt partile care fac legatura īntre cele doua tipuri de fusuri. Pot avea diferite forme constructive īnsa, cel mai des la motoarele de automobile se utilizeaza.Brate-le de forma eliptica . Doua fusuri paliere alaturate, īmpreuna cu cele doua brate si fusul maneton din-tre acestea, formeaza un cot (manivela) al arbore-lui. Numarul de coruri (manivele) este egal cu numarul de cilindri ai motorului (i) daca acestia sunt dispusi īn linie si egal cu i/2 daca motorul este īn V. Dispunerea relativa a acestor coruri (in jurul axei de rotatie a arborelui cotit) si īn lungul axei de rotatie se face din considerente de buna echilibrare naturala. S-a constatat ca rezistenta la oboseala a arborelui cotit creste odata cu cresterea suprapune-rii.Aceasta suprapunere este de 5...25 mm si se realizeaza cu usurinta la motoarele cu cursa scurta (motoare subpatrate) La motorul 102.00 DACIA cu D = 76 mm si S = 77 mm rezulta suprapunerea fusurilor s=dP/2 + dM/2 - r = 6,5 mm (dP=46 mm, dM=44 mm, r=S/2 = 38,5mm).Racordarea dintre brate si fusuri se poate face īn mai multe moduri (fig.de mai jos)

Fig. Racordarea dintre brate si fusuri
Contragreutatile sunt mase dispuse pe prelungirea bratelor, īn sens opus fusului maneton, si care serv-esc pt echilibrare. Ele pot fi turnate odata cu arbo-rele ,sau pot fi piese separate, cānd se fixeaza cu suruburi .
e) Materiale, tehnologie de fabricatie, control si montai. Arborele cotit se executa prin turnare sau prin forjare. Arborele turnat este mai putin rezistent mecanic decāt cel forjat īnsa este mai ieftin. De aceea arborele turnat se foloseste la MAS-uri de serie, iar cel forjat ia MAS-uri de com-petitii sportive sau la MAC-uri de mare putere.
Dupa turnare sau forjare se relucreaza prin aschiere fusurile paliere si manetoane, ultima operatie fiind de rectificare pāna la o rugozitate de 0,08 mm.Apoi se calesc CIF fusurile pāna la o duritate de 55...65 HRC pe o adāncime de: l,5...3mm. Rugozitatea fusurilor este de max.0,4 um la MAS pt turisme si 0,8 μm la MAS si MAC pt autocamioane. Ovalitatea admisa a fusurilor este de 0,02 um, iar conicitatea 0,02...0,03% f) Comportarea īn exploatare. In afara uzurii normale a fusurilor, mai pot aparea:- griparea fusurilor ca urmare a topirii stratului antifrictiune de pe cuzineti si aderarea lui la fus;- rizuri sau zgārieturi pe suprafata fusului ca urmare a unor impuritati mari existente īn ulei si neretinute de filtru;- ovalizari ale fusurilor din cauza defectelor de material asociate cu deficiente de ungere si cu forte mari ce actioneaza īn lagare.Datorita uzurii fusurilor jocul acestora īn lagare creste ceea ce duce la scaderea presiunii uleiului din sistemul de ungere (presiunea minima acceptata a uleiului la o temperatura a acestuia de 80°C si la turatia de 775±25 rot/min este de 0,7 bar, iar la turatia de 4000 rot/min, este de 3,5...4 bar, pentru motorul autoturismului DACIA) De aceea arborele cotit se repara prin rectificarea fusurilor la una din cotele de reparatie (Rl, R2, ....). īn acest mod diametrul fusului scade (de regula pentru fiecare treapta de reparatie scade cu 0,25 mm) drept pentru care īn scopul mentinerii jocului din lagar īn limitele normale
|