Controlul magnetului permanent al senzorului de proximitate
Fig.2.3 prezinta circuite de control ale senzorilor de proximitate.

Circuitul
prezentat in Fig 2.3.a are un magnet permanent N-S
instalat in ispozitiv in partea 5, 343b11d micsorandu-se la o viteza de
. Apropiind releul reed 3, fluxul
venind de la magnetul permanent inchide
releele 1 si 4, ca rezultat al atractiei magnetice. Cand magnetul
permanent se deplaseaza de pe releul reed, contactul 2 se deschide sub
actiunea releelor 1 si 4.
Fig.2.4 prezinta
caracteristicile de functionare
si de numerotat
ale releului.
Starea releului reed se schimba
cu un magnet permanent mutandu-l inspre sau dinspre el. Daca magnetul
permanent se apropie cu o distanta
(Fig.2.4), fluxul sau magnetic incepe
sa inchida contactele reed. Sub infleunta unei forte
generate de acest flux, forsa dintre ele va descreste de la
la
(punctul A).
|
|
Continua
descresterea valorii
, forta generata de
magnetul permanent creste si caracteristica
creste. La
contactele se inchid (punctul B). Punctul
este cunoscut ca punct e separare
. Contactele se misca
catre pozitia lor de final fiind determinate de punctele
care depind de iregularitatile
suprafetei de contact. Pentru a produce o forta de margine,
coordonata
este adusa sub nivelul lui
. Minimul fortei de contact la
este egal cu
Eliberarea releului reed se
intampla cand coordonata
se apropie de valoarea
, i.e. si este necesar sa
avem caracteristicile de mers sub punctul C.
Magnetul permanent se poate apropia
de releul reed in asa fel incat axa lor de magnetizare sa fie in
paralel cu axa contactelor releului (linia A-A)(Fig.2.5). In acest caz, releul reed ar reactiona la o
componenta tangentiala a inductiei
a campului magnetului permanent (Fig.2.5a).
O
variatie in
cauzata de deplasarea magnetului este
aratata in aceiasi figura. Actiunea releului reed se
intampla la punctele
. In acest mod, cu magnetul
miscandu-se in directia indicata de sageata, o
tripla actiune (punctele
si eliberare (punctele
este posibila. Prima actiune are loc
in punctul
Daca curba de magnetizare a magnetului este perpendiculara pe axa releului reed (Fig.2.5b) atunci, cu magnetul miscandu-se in directia indicata de sageata, o tripla actiune a releului reed se produce.
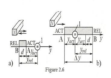
Pentru un releu reed actionat de un magnet permanent, principalii parametrii sunt
Coordonata de actiune
, ce determina distanta dintre
magnet si releul reed in momentul actionarii
Coordonata de eliberare
, ce determina distanta
dintre magnet si releul reed in momentul eliberarii;
Stroke differential
reprezinta diferenta dintre coordonate
Zona de inchidere a contactelor
care include
Caracteristicile de mai sus sunt utilizate in Fig.2.6. In punctul A releul este pornit, timp in care punctul B este eliberat in timpul actiunii reverse a magnetului permanent N (Fig.2.6a). si cand actiunea de reversivitate este absenta avem Fig.2.6b.
|
|
Valorile
si
ar trebui tinute la minim in majoritatea
cazurilor, deoarece valorile mari ale lui
creste zona moarta a echipamentului
de control. In Fig.2.3b releul este actionat cand o fasie
magnetica SM este montata de pe magnetul permanent, din moment ce
fluxul magnetic
descreste in comparatie cu fluxul
magnetic
In Fig.2.3c releul este actionat prin intermediul unui “screen”, apropiind magnetii permanenti pentru a creste fluxul magnetic , care nu este inchis, nu prin intermediul aerului, a carui conductanta magnetic este mai mica decat a metalului, dar prin intermediul unui “screen” ferromagnetic.
In Fig.2.3d releul este actionat cand “screen” este mutat din spatiul dintre releu si magnetul permanent, acest lucru producand forta corespunzatoare ce actioneaza. Acest rezultat este intregul flux magnetic rezultat din inchiderea ermetica a releului de catre magnetul permanent.
Pentru un numar mare de relee reed este posibila instalarea circumferentiala (Fig.2.7a). Un magnet permanent 1 este fixat pe un brat rotitor si releele reed 3,2,4 sunt activate unul cate unul.
|
|
Pentru descresterea contactului
zonei de inchidere
, contactele sunt inchise in zona magnetica
5, influenta distantei asupra
releului.
|