Stingatorul cu apa pulverizata
Este destinat primei interventii la incendiile de materialele celulozice, mase plastice, uleiuri, unsori, grasimi, vopsele, motorina grea, dezvoltate cu precadere in spatiile cu risc de incendiu redus (locuinte, birouri, magazine, scoli).
Este alcatuit din urmatoarele subansamble:
se asaza stingatorul pe sol in apropierea focarului si se scoate agrafa de siguranta care blocheaza cuiul percutor;
cu mana stanga se scoate furtunul de refulare din suport, iar cu mana dreapta se apasa parghia sistemului de percutare( la tipurile cu butelie incorporata cu mana dreapta se loveste energic butonul percutorului);
se indreapta jetul de pulbere la baza focarului pana la stingerea acestuia.
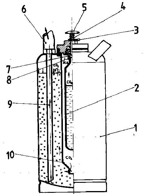
4. Stingatoare cu dioxid de carbon
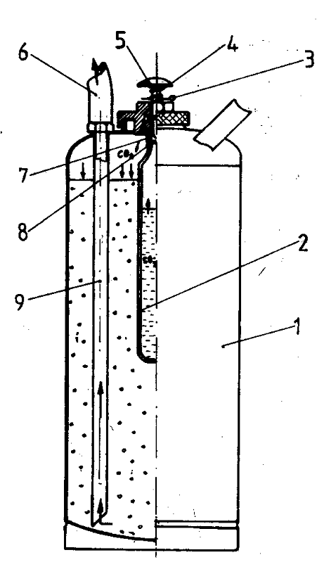
recipient stingator; 2. butelie cu gaz sub presiune (CO2, aer sau azot);
3. siguranta; 4. arc; 5. cui percutor; 6. furtun refulare; 7. piulita butelie;
8. membrana siguranta; 9. tub sifon; 10. aparatoare butelie

Fig. nr. 1. Stingator portativ cu apa pulverizata - principiul de functionare.
1.recipient stingator; 2. butelie cu gaz sub presiune (CO2, aer sau azot);
3. siguranta; 4. arc; 5. cui percutor; 6. furtun de refulare; 7. piulita butelie;
8. membrana siguranta; 9. tub sifon

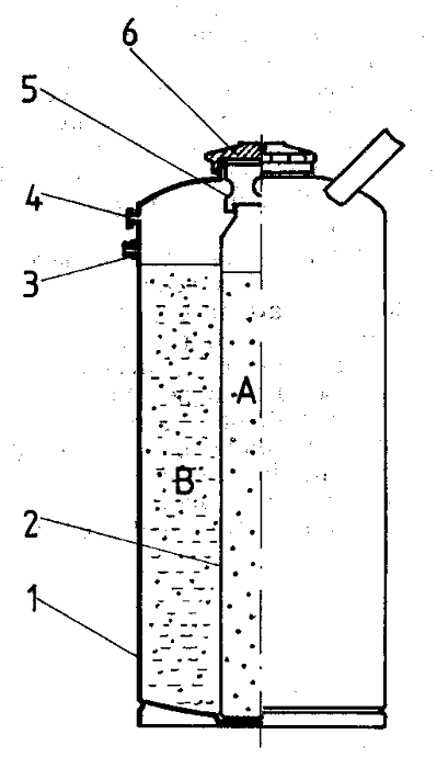
Fig. nr. 2. Stingator portativ cu spuma chimica - principiul de functionare.
1. recipient stingator; 2. tub cu solutie acida;
3. ajutaj de refulare; 4. supapa de siguranta (membrana);
5. suport fixare tub; 6. capac

3. siguranta; 4. arc; 5. cui percutor; 6. furtun refulare; 7. piulita butelie;
8. membrana siguranta; 9. tub sifon; 10. aparatoare butelie
|