Documente online.
Zona de administrare documente. Fisierele tale
Am uitat parola x Creaza cont nou
 HomeExploreaza
upload
Upload




DIAGNOSTICAREA ECHIPAMENTULUI ELECTRIC

tehnica mecanica


DIAGNOSTICAREA ECHIPAMENTULUI ELECTRIC





9.1. Generalitati


Echipamentul electric impreuna cu sistemul de aprindere sunt responsabile, in general, de majoritatea defectiunilor aparute la automobile. Volumul lucrarilor de intretinere si reparare a echipamentului electric reprezinta circa 20 % din volumul total al lucrarilor de acest gen asociate procesului de exploatare.

In ultimii 15-20 de ani, pe langa introducerea si perfectionarea sistemelor infor­matice, s-a inregistrat si o dezvoltare importanta a echipamentului electric al auto­mobilelor; s-au inmultit sistemele electrice de actionare (actionarea geamurilor, reglarea pozitiei optime a scaunelor, actionarea ambreiajelor si cutiilor de viteze, transmiterea comenzii de la pedala de acceleratie la organul de comanda al siste­mului de alimentare cu combustibil etc), s-au dezvoltat servomecanismele electrice de actionare (servodirectii, reglarea pozitiei farurilor), a devenit tot mai sofisticata aparatura de bord, s-au perfectionat sistemele ce contribuie la confortul pasagerilor (aer conditionat, suspensii controlate electronic si comandate electric, s.a.). S-a ajuns astfel ca astazi, in medie, peste 30 % din valoarea unui autoturism sa revina echipamentului electric si electronic.

In cele ce urmeaza vor fi abordate numai problemele legate de diagnosticarea bateriei de acumulatoare, a sistemului de alimentare cu electricitate si electromoto­rului de pornire (demarorul), acestea avand o importanta capitala in buna functionare a automobilului.


9.2. Diagnosticarea bateriei de acumulatoare


Pe majoritatea automobilelor actuale sunt instalate baterii cu plumb umplute cu o solutie de acid sulfuric. in procesul de exploatare in starea b 626f56g ateriilor pot apare o serie de defectiuni ale caror simptome si cauze sunt inventariate in tabelul 9.1.

Parametrii de stare ai bateriilor de acumulatoare sunt nivelul electrolitului, densitatea electrolitului, gradul de incarcare, curentul maxim, gradul de uzura.

In timpul exploatarii autovehiculului nivelul lichidului din elementele bateriei poate scadea fíe din cauza pierderii sale, fíe a disocierii apei din electrolit - aceasta fiind cauza principala. Scaderea nivelului electrolitului lasa portiunea superioara a placilor in aer, fapt care provoaca deteriorarea lor si reducerea capacitatii electrice efective a bateriei. Din aceste motive nivelul electrolitului trebuie sa se afle cu 10-15 mm deasupra placilor.







Tabelul 9.1. Simptomele si cauzele defectiunilor bateriei de acumulatoare


Simptonic

Cauze

Demarorul nu este actionat sau dupa actionare se opreste rapid; concomitent se observa o puter­nica slabire a luminii farurilor

Oxidarea bornelor bateriei sau a conexiunilor conductoarelor

Baterie descarcata

Densitate necorespunzatoare a electrolitului

Scurtcircuit in elementele bateriei

Bateria se descarca fara a fi conectata la consumatori

Autodescarcarea bateriei

Exteriorul bateriei murdar

Bateria se descarca rapid la conectarea consumatorilor

. Sulfatarea placilor bateriei

Pierderi de electrolit din elemente

. Fisuri in bacurile sau capacele elementelor

Bateria nu se incarca

. Distrugerea pastei active a placilor


Controlul se face, de regula, de doua ori pe an, folosind un tub de sticla cu diametrul interior de 5-8 mm pe care sunt practicate doua repere corespunzatoare limitelor precizate mai sus, adica primul reper la distanta de 10 mm de un capat al tubului iar celalalt la 15 mm de acelasi capat. Dupa desfacerea dopurilor elemen­telor bateriei se introduce capatul cu marcaje al tubului de sticla in orificiul de umplere, in pozitie verticala, celalalt capat (cel superior) fiind lasat liber. Tubul se introduce pana cand capatul inferior atinge folia de protectie aplacilor, dupa care orificiul superior al tubului se astupa cu degetul. in aceasta situatie, dupa scoaterea tubului din element, in interiorul sau va ramane o coloana de lichid care reprezinta distanta la care se afla electrolitul deasupra placilor; meniscul lichidului trebuie sa se situeze intre cele doua repere, la o baterie corect umpluta.

Operatiunea descrisa nu se efectueaza la bateriile fara intretinere a caror construc­tie este realizata astfel, incat gazele produse prin disociere se recombina formand lichidul initial, prevenind pe aceasta cale scaderea nivelului lichidului.


Gradul de incarcare al bateriei se poate masura prin determinarea fie a densitatii electrolitului, fie a tensiunii in gol.

La bateriile clasice verificarea densitatii se face cu ajutorul densimetrului (areo-metru), in felul urmator: se desurubeaza capacele elementelor si se introduce capa­tul tubului areometrului in orificiul de umplere; cu ajutorul perei de cauciuc cu care este prevazut aparatul se absoarbe cantitatea de electrolit necesara pentru ca plutitorul sa pluteasca liber; fara sa se scoata tubul din orificiul de umplere al elementului, mentinand areometrul in pozitie verticala, se citeste valoarea densitatii inscrise pe plutitor, la care se ridica nivelul electrolitului; dupa masurare se scurge electrolitul in acumulator prin comprimarea perei de cauciuc.

In cazul in care masurarea densitatii se face la alta temperatura decat-cea de +15°C, pentru a compara densitatea masurata cu cea recomandata la temperatura de referinta amintita, este necesara corectarea densitatii. Corectia este de 0,0007 g/cm3 pentru fiecare grad Celsius, tinandu-se seama de faptul ca densitatea electrolitului se micso­reaza odata cu cresterea temperaturii si se mareste odata cu scaderea temperaturii.


Tabelul 9.2. Valori de control ale bateriei


Grad de incarcare (%)




i IMI





1 ?R

1 ensiune in gol (V/element)





2 OS


Stare de incarcare

Alarma!

Buna

Buna

2,12 Foarte buna


Bateriile fara intretinere, la care nu se poate masura densitatea electrolitului datorita lipsei busoanelor, sunt prevazute uzual cu un 'ochi magic' a carui functio­nare poate diferi in functie de firma constructoare. De exemplu, bateriile firmei Delco (intalnite pe autoturismele firmei Daewoo) indica un ochi cu trei stari: galben sau o culoare deschisa semnifica un nivel prea scazut de electrolit (impune inlocui­rea bateriei); un ochi inchis la culoare indica o baterie functionala dar puternic descarcata (este necesara o incarcare imediata a bateriei); daca pe fond inchis se poate identifica o pata sau un punct de culoare verde bateria este incarcata cores­punzator si nu necesita o alta interventie.

Sunt insa firme, ca de exemplu Bosch, ale caror baterii nu sunt prevazute cu ochi magic. La acestea, starea de incarcare se poate verifica cu un voltmetru digital folo­sind ca parametru de diagnosticare tensiunea in gol. Aceasta verificare este aplica­bila si bateriilor la care se poate masura densitatea electrolitului.

Daca bateria nu a functionat cateva ore, se citeste direct tensiunea in gol (fara alti consumatori). Daca bateria a functionat pe autovehicul, fiind polarizata, i se aplica 15 secunde un curent foarte mare (se actioneaza demarorul cu fisa de la bobina scoasa) sau se aprind farurile 1,2-2 minute. Se lasa apoi sa treaca cateva minute dupa care se citeste tensiunea in gol. Concluziile sunt prezentate in tabelul 9.2.

Verificarea gradului de uzare (verificarea in sarcina). Daca bate­ria a functionat pe autovehicul, se depolarizeaza asa cum s-a aratat mai sus.

Se descarca apoi bateria timp de 15 s printr-un reostat ales in mod corespunzator, astfel incat sa se obtina o intensitate a curen­tului de descarcare apropiata de cea indicata in specificatiile tehni­ce ale bateriei. Schema circuitului folosit este prezentata in figura 9.1, in care s-au notat:   Bat - bateria, V- voltmetrul, K - contact, R - reostat, A - ampermetru. Se citeste tensiunea la bornele bateriei la sfarsitul testului. Ea trebuie sa fie mai mare decat cea indicata in tabelul 9.3.

Se poate utiliza si voltmetrul cu furca, iar acul voltmetrului trebuie sa se stabilizeze in zona colorata corespunzatoare tipului de baterie incercat.

Daca bateria nu indeplineste conditiile precizate mai sus, ea trebuie inlocuita.

9.3. Tensiunea minima admisibila in sarcina


1 Temperatura (°C)





sub-18

| Tensiunea minima (V)







Verificarea in sarcina are semnificatie doar in cazul unei baterii incarcate cores­punzator. De aceea operatiunile de verificare trebuie executate in urmatoarea ordine: aspectul exterior al bateriei, nivelul electrolitului, gradul de incarcare, starea de uzare.

Curentul maxim (Cold Cranking Amperage) reprezinta valoarea maxima a curentului care poate fi asigurat de baterie o anumita perioada de timp, la o temperatura data (de obicei -18°C) fara insa ca tensiunea sa scada sub o anumita valoare. Valoarea sa depinde de conditiile de efectuare a testului. in general, la o pornire a motorului termic se consuma sub 5% din capacitatea bateriei. Cu cat curentul maxim este mai mare, cu atat cuplul demarorului creste si pornirea este mai rapida. Deci pentru pornire curentul maxim este parametrul determinant, capaci­tatea bateriei fiind mai putin importanta. Curentul maxim creste insa cu capacitatea, astfel incat o baterie mare asigura implicit si o pornire usoara. Capacitatea devine un parametru important in cazul unui motor a carui pornire este dificila, necesitand mai multe actionari succesive ale demarorului, sau daca se alimenteaza mai mult timp consumatori cu puteri (consumuri) ridicate, cu motorul termic oprit.



9.3. Diagnosticarea sistemului de alimentare cu electricitate


Sistemul de alimentare cu electricitate este compus din bateria de acumulatoare, generator, regulator de tensiune si cablurile de conexiune. La majoritatea automobi­lelor moderne, regulatorul de tensiune este incorporat in generator. De obicei, bateria se verifica printr-o procedura separata si inaintea diagnosticarii, celorlalte componente ale sistemului de alimentare cu electricitate.

Generatoarele actuale sunt masini asincrone, cu poli in gheara, asociate cu redre-soare in punte trifazata.

Regulatorul de tensiune are in mod obisnuit trei borne: una conectata la plus, una la masa si a treia care alimenteaza excitatia (rotorul) generatorului. Regulatoarele electronice pot avea si mai multe borne, avand functiuni suplimentare (de exemplu de semnalizare si auto-test).

Observatie! Regulatorul mentine tensiunea constanta in punctul in care se masoara, adica in punctul in care se alimenteaza (plusul si masa). Daca sistemul are contacte imperfecte pe care apar caderi de tensiune, tensiunea in alte puncte ale sistemului de alimentare poate varia fata de valoarea stabilita de regulator



La marea majoritate a construc­tiilor noi, generatorul include si regulatorul de tensiune care este electronic; astfel generatorul apare ca o masina ce da direct curent continuu la o tensiune constanta. Curentul debitat este functie de sarcina conectata la borne.

Cand generatorului i se cere mai mult decat poate da, el nu se distruge, ci incepe sa-si scada tensiunea sub valoarea normala de functionare.

Exista mai multe scheme de co­nectare a generatorului in cadrul sistemului de alimentare. O schema comuna este cea de pe autoturismul Dacia, cu regulator separat si o perie a alternatorului la masa, prezentata in figura 9.2.

Regulatorul de tensiune se alimenteaza dupa cheia de contact de la baterie si alimenteaza la randul sau excitatia la borna DF. Controlul sistemului se face prin voltmetrul termic cu bimetal de pe tabloul de bord.

O alta schema des utilizata este cea a firmei Delco-Remy pe vehicule General Motors, Daewoo etc. prezentata in figura 9.3.

Generatorul G are legatura directa cu bateria Bat la borna notata B (sau +). Alte legaturi ale generatorului se fac printr-o cupla cu mai multi pini. Uzual se foloseste pinul L care alimenteaza lampa de semnalizare Ls de pe tabloul de bord.

Aceasta este conectata la + prin cheia de contact CC si cutia de sigurante. Pinul P este conectat la stator si poate fi folosit optional la un turometru exterior, iar pinul S se conecteaza la mode­lele ce au cutie de viteze automata.

Tabelul 9.4. Simptomele si cauzele defectiunilor demaroarelor


Simptome

Cauze

Demarorul nu roteste arborele motorului sau nu atinge turatia nominala

Contacte slabe sau oxidate in circuitul baterie de acumulatoare-demaror;

Bateria este descarcata sau unele elemente sunt distruse;

Periile nu realizeaza contact optim cu suprafata colectorului din cauza blocarii lor in portperii, deformarii arcurilor de presare sau existentei de impuritati;

Placa si suruburile de contactare din solenoidul de comanda sunt oxidate sau arse;

Spirele rotorului sau ale statorului sunt scurtcircuitate sau sunt in contact cu masa;

Spirele rotorului sau lamelele colectorului sunt deplasate radial;

intreruperea infasurarilor bobinei solenoidului de comanda.



Zgomot in functio­narea demarorului

Bucsele lagarelor sunt uzate;

Pinionul tinde sa se desprinda de coroana datorita defonnarii furcii de comanda sau slabirii arcului de rapel;

Demarorul nu este bine fixat.

Demarorul se roteste, dar nu asigura pornirea motorului

Dantura pinionului si/sau a coroanei are uzura excesiva;

Cuplajul unisens patineaza.

Demarorul nu debi­teaza intreaga putere

Bateria este descarcata;

Periile sunt intepenite in portperii;

Cuplajul unisens patineaza;

Periile noi sunt nerodate.

Periile se uzeaza foarte repede

Colectorul este excentric;

Izolatorul dintre lamele depaseste suprafata lamelelor colectoare;

Periile nu sunt corespunzatoare.

Contactul fiind intre­rupt, demarorul nu se opreste

. Comutatorul cu cheie este defect


Prin urmare, pe baza acestei corelatii, masurarea intensitatii curentului poate da indicatii despre cuplul dezvoltat de demaror.

Daca bateria si demarorul sunt in stare buna iar la temperatura ambianta normala turatia motorului electric este redusa, se impune masurarea valorii intensitatii de regim care este definitorie pentru diagnosticare. Astfel, intensitatea mare a curentului este efectul unui scurtcircuit al infasurarii. Din contra, intensitatea redusa, produsa ca urmare a unei rezistente interne mari, indica deteriorari la nivelul colectorului sau al periilor. Pentru ca masurarea sa fie corecta trebuie ca la bornele motorului electric valoarea tensiuftii in timpul probei sa fie de minim 9V pentru instalatiile cu tensiunea nominala de 12V, respectiv 18V in cazul instalatiilor cu tensiunea nominala de 24V.

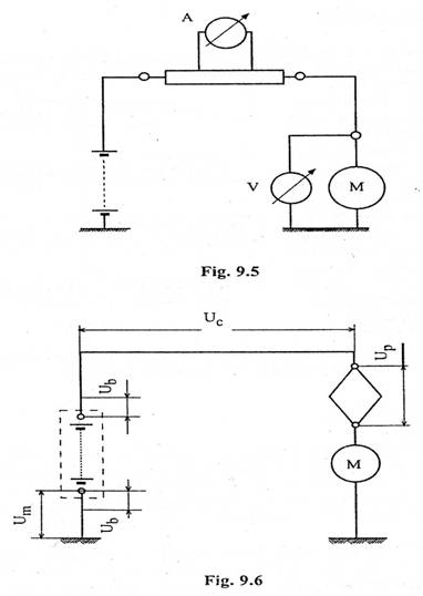
Intensitatea curentului consumat de motorul electric de pornire se poate determina utilizand un traductor inductiv de curent sub forma unui cleste magnetic montat pe cablul de legatura dintre baterie si demaror (fig. 9.5).

Starea necorespunzatoare a bornelor bateriei, arderea contactelor intrerupatoru­lui sau marirea rezistentei conductoarelor de legatura ale motorului electric se aso­ciaza cu aparitia unei caderi mari de tensiune in circuit. in aceste caz este necesar sa se masoare caderea de tensiune la fiecare element de conectare (fig. 9.6).

Se masoara caderea de tensiune la bornele bateriei de acumulatoare (U^), pe cablul de masa al acesteia (Um), intre contactele releului de pornire (Up) si in con­ductoarele motorului electric (Uc). Valorile masurate ale caderilor de tensiune nu trebuie sa depaseasca 0,2V pentru instalatiile de 12 si 24V. Valoarea caderii de ten­siune Ujj la bornele bateriei indica mai ales starea bornelor si a cablurilor bateriei.





Document Info


Accesari: 16389
Apreciat: hand-up

Comenteaza documentul:

Nu esti inregistrat
Trebuie sa fii utilizator inregistrat pentru a putea comenta


Creaza cont nou

A fost util?

Daca documentul a fost util si crezi ca merita
sa adaugi un link catre el la tine in site


in pagina web a site-ului tau.




eCoduri.com - coduri postale, contabile, CAEN sau bancare

Politica de confidentialitate | Termenii si conditii de utilizare




Copyright © Contact (SCRIGROUP Int. 2025 )