Diagnosticarea instalatiei de aprindere
3.3.4.1. Aspecte generale
Starea tehnica a instalatiei de aprindere este responsabila intr-o masura covarsitoare de realizarea performantelor nominale ale motoarelor. Defectiunile care pot aparea au o frecventa foarte ridicata si constituie mai bine de jumatate din totalitatea cauzelor care duc la scoaterea din functiune a autovehiculelor echipate cu motoare cu benzina.
Parametrii de diagnosticare folositi in testarea elementelor sistemului de aprindere sunt numerosi, dar cel mai utilizat in practica de atelier il constituie variatia tensiunilor din circuitele primar si secundar. Pe baza formei curbelor de variatie a acestor tensiuni reprodusa pe ecranul osciloscopic al testerelor electronice se poate determina in mare masura starea elementelor componente ale aprinderii.
Linia tensiunii primare apare pe ecranul osciloscopului asa cum se exemplifica in figura 3.48 in cazul unui motor care are instalatia de aprindere in stare buna.
Semnalul produs la deschiderea ruptorului are amplitudinea maxima in punctul 1.
|
|
Apoi aceasta tensiune de autoinductie impreuna cu energia remanenta provoaca in circuitul primar oscilatiile din zona 2-3; frecventa si gradul de amortizare ale acestora depind de caracteristicile electrice ale condensatorului si infasurarii primare.
In aceasta perioada se produce descarcarea energiei electrice prin bujie, proces care se intrerupe in punctul 3 cand se produce o rapida scadere a tensiunii primare, urmata de oscilatii amortizate de bobina si de condensator (zona 4).Semnalul tinde sa se stabilizeze la nivelul tensiunii bateriei de acumulatoare Ub (zona 5). Dupa inchiderea contactelor ruptorului tensiunea devine zero si se mentine astfel pana cand contactele se redeschid (punctul 6), dupa care procesele se repeta.
Din figura 3.49, in care este aratata variatia tensiunii sec 636f52g undare pentru acelasi motor, se vede ca in punctul 1, cand se deschid contactele ruptorului, se produce o brusca crestere a tensiunii secundare care mijloceste strapungerea spatiului disrup-tiv dintre electrozii bujiei. Din cauza ionizarii gazelor din acest spatiu, conductibi-litatea electrica creste determinand micsorarea tensiunii necesare pentru intretinerea arcului (zona 2).
Oscilatiile slabe ale tensiunii secundare din aceasta zona sunt consecinta pulsatiilor de tensiune din circuitul primar. In zona 3, care urmeaza incetarii existentei arcului, oscilatiile de tensiune se mentin din acelasi motiv, dar mai tarziu, in zona 4, cand contactele se inchid, apare o tensiune de autoinductie care inverseaza semnul tensiunii secundare.
Dupa amortizarea oscilatiilor, semnalul se stabilizeaza pe linia de nul a ecranului, iar in punctul 5 se produce din nou deschiderea contactelor ruptorului, procesele reluandu-se. Durata perioadei 4-5 poate servi pentru determinarea unghiului de mentinere in stare inchisa a contactelor.
|
|
3.3.4.2. Diagnosticarea instalatiei de aprindere clasice
in tabelul 3.17 sunt prezentate simptomele si cauzele principalelor defectiuni ale instalatiei de aprindere clasice.
La diagnosticarea instalatiei de aprindere se au in vedere urmatoarele determinari si verificari: verificarea starii ruptorului; starea condensatorului; defectiunile bobinei de inductie; polaritatea circuitelor primar si secundar; starea fiselor; defectiunile bujiilor; verificarea distribuitorului; masurarea unghiului de inchidere a contactelor ruptorului (parametrul Dwell); masurarea avansului la aprindere.
A. Defectiuni ale ruptorului
Cu ajutorul celor doua tipuri de diagrame descrise se pot verifica starea contactelor ruptorului, pozitia lor, distanta dintre acestea si geometria camei.
Oxidarea sau arderea contactelor ruptorului, care provoaca cresterea rezistentei circuitului primar si micsorarea energiei scanteii dintre electrozii bujiei, determina modificarea semnalului de tensiune primara in zonele de deschidere si inchidere a contactelor. Asa cum se aTata in fig. 3.50, reducerea intensitatii face ca inainte de deschiderea contactelor sa se reduca valoarea maxima a tensiunii de autoinductie si, concomitent, sa se micsoreze amplitudinea primei oscilatii a semnalului de tensiune. De asemenea, scaderea energiei scanteii limiteaza durata mentinerii arcului, cu alte cuvinte caderea brusca a tensiunii se produce mai repede.
|
|
In diagrama tensiunii secundare (fig. 3.51) starea tehnica proasta a contactelor face ca zonele de deschidere si inchidere a lor sa nu mai fie nete, existand semnale parazite. Oscilatiile cu amplitudine initiala mare in zona inchiderii contactelor indica defectarea acestora. De asemenea, si deschiderea contactelor devine nedefinita iar valoarea tensiunii secundare se micsoreaza.
Corectitudinea jocului dintre contacte se poate aprecia prin masurarea unghiului de inchidere a contactelor, intre acest unghi si distanta intre contacte existand o stransa corelatie de inversa proportionalitate. In datele de reglaj ale uzinelor producatoare acest unghi, numit Dwell, este exprimat in grade sau procente, in ultimul caz parametrul Dwell D reprezentand raportul dintre unghiul de inchidere a contactelor αD si unghiul dintre doua aprinderi succesive αt:
D D t
Stiind ca atunci cand distanta intre contacte este prea mare unghiul Dwell se reduce si invers, cu ajutorul Dwell-metrului se poate stabili, fara demontare, distanta dintre contactele ruptorului.
Geometria camei ruptorului poate fi incorecta fie datorita unor imperfectiuni de fabricatie, fie uzurii sale; in acest caz inchiderea si deschiderea contactelor nu se mai face uniform pentru toti cilindrii si in concordanta cu decalajul determinat de numarul acestora, provocand modificarea avansului la producerea scanteii electrice. Efectul de diagnostic este neuniformitatea valorica a parametrului Dwell pentru cilindri, defectiunea putand fi pusa in evidenta prin suprapunerea tuturor semnalelor de tensiune primara ale cilindrilor (fig. 3.52).
in zona inchiderii contactelor ruptorului se observa o acoperire a semnalelor suprapuse, acoperire care nu trebuie sa fie mai mare de 3° la o instalatie considerata a fi in stare tehnica buna.
Daca momentele deschiderii contactelor (deci unghiurile de avans) nu coincid, in partea dreapta a semnalului de tensiune, la sfarsitul liniei, se observa o acoperire.
In aceeasi imagine suprapusa a semnalelor de tensiune primara se poate evidentia si starea axului ruptor-distribuitorului si a dispozitivelor de reglare a avansului; defectiunile ultimelor fac ca valoarea unghiurilor de avans sa difere de cele nominale, in timp ce jocul exagerat al axului nu permite o buna suprapunere a imaginilor.
B. Condensatorul
Contactul defectuos al firului condensatorului sau intreruperea lui partiala, produc micsorarea amplitudinii numai a oscilatiilor care apar dupa deschiderea contactelor, in timp ce oscilatiile specifice disparitiei arcului raman practic nemodificate (fig. 3.53, a).
Deteriorarea izolatiei condensatorului se face vizibila prin reducerea amplitudinii oscilatiilor care apar atat la deschiderea contactelor, cat si dupa disparitia arcului dintre electrozii bujiei (zona 4, fig. 3.48). Drept urmare, oscilatiile semnalului de tensiune primara in aceste doua zone devin abia vizibile, asa cum se exemplifica in figura 3.53,b.
|
|
C. Conductori si conexiuni in circuitul primar.
in circuitul primar pot apare defecte privind starea conductorilor electrici si a conexiunilor lor. Aceste defectiuni se identifica pe semnalul de tensiune secundara, unde apar perturbatii asemanatoare acelora prezentate in figura 3.54; ele nu sunt pozitionate strict, ci sufera oscilatii de plasament in zona respectiva.
D. Bobina de inductie
Defectiunile principale ale bobinei de inductie care perturbeaza functionarea motorului sunt scurtcircuitarea infasurarilor primara sau secundara ori intreruperea lor.
Scurtcircuitarea infasurarilor se produce, de regula, in urma deteriorarii izolatiei dintre spire (de cele mai multe ori din cauza supraincalzirii bobinei) si provoaca o micsorare considerabila a energiei disipata prin scanteie.
Scurtcircuitarea spirelor infasurarii primare are o influenta neinsemnata asupra amplitudinii osilatiilor amortizate ale tensiunii primare ce apar dupa deschiderea contactelor ruptorului; in schimb ea influenteaza considerabil amplitudinea oscilatiilor care se produc dupa anularea arcului (fig. 3.55,a). Defectiunea este insotita adesea de arderea contactelor ruptorului din cauza cresterii curentului primar, semnalata pe semnalul de tensiune primara asa cum s-a aratat inainte.


In semnalul tensiunii secundare scurtcircuitarea spirelor infasurarii primare provoaca o puternica deformare a zonei corespunzatoare incetarii arcului electric si lipsa oscilatiilor (fig. 3.56).
In cazul scurtcircuitarii spirelor infasurarii secundare oscilatiile presiunii primare se aplatizeaza in ambele zone de oscilatii amortizate, amintite mai inainte si reliefate in figura 3.55,b.
Intreruperea infasurarii secundare determina o deformare accentuata a semnalului de tensiune secunarain zona deschiderii contactelor (fig. 3.57).
Pana la o anumita limita intreruperea nu provoaca scoaterea din functie a bobinei, deoarece tensiunea ridicata determina contumarea locului de intrerupere. In schimb, energia secundara se reduce considerabil iar bobina de inductie capata o functionare aleatorie. Parametrii electrici ai spatiului discriptiv care se formeaza pe locul intreruperii sunt complet nedefiniti si de aceea semnalele care se succed prezinta mari diferente intre ele. Pe semnalul de inalta tensiune apare, din aceasta cauza, o familie de linii care se apropie intre ele in vecinatatea momentului de inchidere a contactelor ruptorului.
Starea generala a bobinei de inductie se poate aprecia prin valoarea maxima a tensiunii secundare. Pentru efectuarea testarii se scoate fisa unei bujii si se tine departe de masa, rnasurandu-se tensiunea dintre bobina si distribuitor. Daca bobina este in stare buna, atunci tensiunea trebuie sa creasca cu cel putin 10 kV in comparatie cu situatia normala de functionare.
E. Distribuitorul
Actiunea distrugatoare a arcului electric care se produce intre lamela distribuitorului (lulea) si ploturile din capacul distribuitorului duce la oxidarea acestor piese si, mai ales, la modificarea distantei dintre ele. La aceasta mai contribuie si modificarea jocului axului ruptorului. Pentru detectarea defectului se scoate fisa unei bujii si se pune la masa, astfel incat in circuitul bujiei respective ramane un singur spatiu disruptiv: cel dintre lamela distribuitorului si plotul din capac; asadar amplitudinea semnalul de tensiune secundara, care este proportionala cu marimea arcului, constituie indiciul distantei din circuitul distribuitorului (fig. 3.58). Tensiunea masurata astfel nu trebuie sa fie mai mare de 3,5 kV, indiferent de marca ruptor-distribuitorului; o valoarea mai mare arata ca distribuitorul este defect.
|
|
Deoarece rezistenta antiparazit sporeste tensiunea masurata prin suspendarea bujiei si produce astfel erori de masurare, se recomanda ca, inainte de efectuarea acestui test, fisa cilindrului suspendat sa se inlocuiasca cu o alta fara rezistenta antiparazit.
F. Bujiile
Bujiile se pot diagnostica prin masurarea tensiunii maxime care se produce intre electrozii lor. In acest scop se foloseste imaginea serie a semnalelor de tensiune secundara (fig. 3.59).
Cand circuitul secundar este in stare buna, inclusiv bujiile, tensiunea secundara maxima nu trebuie sa depaseasca 1 kV, iar abaterea maxima intre cilindri sa fie de max. ±1,5 kV. Cand distanta intre electrozi este mai mica decat cea nominala, tensiunea secundara maxima scade, iar neuniformitatea distantelor intre electrozi duce la depasirea valorii abaterii maxime mentionate (fig. 3.59).
Pentru detectarea bujiei defecte trebuie sa se cunoasca ordinea de aprindere a motorului, deoarece in aceasta ordine se succed semnalele pe ecranul osciloscopului. Tensiunea maxima la cilindrul care realizeaza sincronizarea (practic, cilindrul nr.l) apare in partea dreapta a ecranului, adica ultima; restul imaginii tensiunii secundare a acestui cilindru apare in stanga ecranului.
in exemplul dat in figura 3.59 se observa ca semnalul de tensiune corespunzator cilindrului nr. 4 are o amplitudine mai mica decat amplitudinea celorlalte semnale, fapt care arata o mai mica distanta intre electrozii bujiei cilindrului respectiv. Pana la 7 kV micsorarea tensiunii secundare este proportionala cu micsorarea distantei dintre electrozi, circumstanta ce permite deci aprecierea cantitativa a acesteia.
|
|
Este necesar sa se retina ca o tensiune secundara mai mare la un cilindru poate fi provocata nu numai de marirea distantei intre electrozii bujiei, ci si de alte defectiuni ale circuitului secundar, cum ar fi, de pilda, ruperea fisei sau ruperea electrodului de masa. De aceea se impune ca, inainte de testarea bujiilor sa se verifice starea circuitului secundar asa cum se va descrie mai jos.
G. Conductori si conexiuni in circuitul secundar
Defectiunile care intervin cu cea mai mare frecventa sunt deteriorarea fiselor sau a rezistentelor antiparazit.
Deteriorarea fisei centrale a distribuitorului precum si oxidarea sau murdarirea contactelor din distribuitor sau bobina de inductie produc deformarea semnalului de tensiune secundara dupa deschiderea contactelor, in zona de intretinere a arcului dintre electrozii bujiei (fig. 3.60).
Oscilatiile de tensiune apar neregulate, iar semnalul de dupa zona de intretinere a arcului devine discontinuu.
Defectiunile fiselor de bujii constau in intreruperea totala sau partiala, punerea la masa si cresterea considerabila a rezistentei.
Intreruperea totala a unei fise de bujii impiedica producerea arcului intre electrozii bujiei; din aceasta cauza pe linia de tensiune secundara lipseste tensiunea de arc, adica dupa deschiderea contactelor ruptorului tensiunea secundara atinge valoarea maxima, dupa care urmeaza oscilatiile amortizate aratate in figura 3.61.
Prin urmare, intr-o astfel de situatie lipseste din diagrama zona 1-2 din figura 3.49.
In cazul punerii la masa a fisei de bujie, rezistenta circuitului secundar se reduce datorita suntarii spatiului dintre electrozii bujiei. Drept urmare, energia de inalta tensiune se descarca prin spatiul dintre lamela rotorului si plotul din capacul distribuitorului, fapt care determina o reducere considerabila a tensiunii medii a arcului, dar mentine timp mai indelungat curentul; asadar durata descarcarii prin arc creste, desi tensiunea medie de descarcare este mai mica (fig. 3.62).
Intreruperea partiala sau defectarea rezistentelor antiparazit maresc rezistenta circuitului secundar, micsoreaza curentul in bobina de inductie si amplifica tensiunea medie a arcului. Descarcarea se face la un nivel de energie mai inalt, reducand durata de intretinere a arcului.
Se vede ca efectele produse de intreruperea fisei de bujie si a defectarii rezistentei antiparazit asupra aspectului diagramei de tensiune secundara sunt asemanatoare. Aceste doua defectiuni pot fi totusi individualizate observand ca in primul caz, imediat dupa deschiderea contactelor ruptorului, se va produce o rapida cadere de tensiune, dar la sfarsitul zonei de intretinere a arcului spatiul disruptiv suplimentar produs de intreruperea fisei de bujie va determina o crestere a tensiunii secundare, facand ca evolutia semnalului sa de deosebeasca de cea normala (fig. 3.63).
|
|
|
|
Rezistenta suplimentara creata de deteriorarea rezistentei antiparazit este constanta iar curentul care se scurge prin rezistenta este descrescator, evolutie datorata fenomenului de autoinductie care se produce la deschiderea contactelor
ruptorului. Tensiunea secundara va marca, din motivul aratat, o continua descrestere in perioada de intretinere a arcului (fig. 3.64), ceea ce va face ca aspectul diagramei de tensiune secundara sa se deosebeasca de cel al intreruperii fisei de bujie.
Dereglarea avansului la declansarea scanteii electrice (avansul de aprindere) se produce din cauza uzurii elementelor mecanice din structura ruptorului, a rotirii la intamplare a corpului acestuia sau a defectarii dispozitivelor centrifugal si vacuumatic.
Este recomandabil ca masurarea avansului sa se faca in regim dinamic (cu motorul fuctional), deoarece masurarea statica este legata de erorile ce pot fi introduse de uzura angrenajelor, arborilor, bucselor etc._Pentru masurare este necesar un dispozitiv cu lampa stroboscopica iar pentru stabilirea starii tehnice a dispozitivelor centrifugal si vacuumatic trebuie sa se dispuna de un turometru si un vacuumetru.
Datele obtinute astfel, adica avansul efectiv masurat si caracteristicile de avans, se compara cu datele uzinale, aducandu-se corectiile respective.
3.3.4.3. Diagnosticarea instalatiilor de aprindere tranzistorizate
A. Instalatii cu dispozitive mecanice de corectie a avansului la scanteie
|
|
Instalatiile de aprindere tranzistorizate inlocuiesc clasicele contacte mecanice ale ruptorului cu un generator magnetic de impulsuri, iar blocul electronic regleaza unghiul Dwell in functie de regimul de functionare a motorului. La unele variante constructive, bobina de inductie este amplasata pe capacul distribuitorului. in cele ce urmeaza este prezentata diagnosticarea sistemelor electronice de aprindere produse de firma General Motors. Desi unele particularitati constructiv-fiinctionale sunt specifice acestor tipuri de sisteme, principiile generale raman valabile si pentru produsele altor firme.
Verificarea alimentarii electrice.
Inaintea efectuarii verificarilor propriu-zise se procedeaza la masurarea tensiunii in gol a bateriei de acumulatoare a automobilului.
Se extrage apoi de la distribuitor cablul de legatura cu bateria si, cu contactul aprinderii inchis, se masoara tensiunea dintre borna de alimentare a bobinei generatorului de impulsuri si masa (fig. 3.65). Valoarea zero a tensiunii indica o intrerupere a circuitului dintre contactul aprinderii si bobina. In cazul inregistrarii unei valori mai mici cu 1 V decat cea a bateriei, rezulta ca in circuit s-a format o rezistenta marita: contact imperfect sau cablu cu sectiune redusa.
Masurarea se va repeta in situatia actionarii electromotorului de pornire, regim in care tensiunea masurata va trebui sa difere de cea a bateriei cu aceiasi valoare de maximum 1 V. in cazul unei diferente mai mari se vor verifica: contactul aprinderii, cablurile bateriei, releul electromotorului de pornire si contactul sau, precum si cablurile si conexiunile dintre aceste componente.
Verificarea bobinei generatorului de impulsuri. Se au in vedere verificarile pentru scurtcircuit si pentru intreruperi. Pentru aceasta se indeparteaza capacul distribuitorului si se extrag cablurile de legatura ale bobinei generatorului cu modulul electronic al aprinderii, la care se cupleaza un ohmetru (fig. 3.66). Valoarea normala a rezistentei se incadreaza in general in limitele 650 850 ohmi. Indicatia 'infinit' a aparatului de masura semnifica o intrerupere a infasurarii bobinei, iar valori inferioare vor semnala un scurtcircuit intre spire sau la masa.
Verificarea unei scurgeri la masa se face conectand ohmetrul la una din bornele bateriei si la masa (fig. 3.67). In mod normal, rezistenta masurata trebuie sa aiba valoarea 'infinit'. In caz contrar, este necesara inlocuirea bobinei.


Bobina generatorului de impulsuri poate fi verificata si cu ajutorul unui osciloscop. Se inlatura capacul distribuitorului si, cu contactul aprinderii deschis, se extrag cablurile bobinei generatorului de impulsuri de la modulul electronic de aprindere. Se conecteaza cablul rosu al captatorului de semnal la cablul alb al bobibnei si cablul negru al captatorului la cel verde al bobinei.Se regleaza oscilograful cu scala de masura in domeniul zecilor de ohmi si se selecteaza modul de declansare a baleierii pe orizontala.
Se antreneaza motorul cu ajutorul electromotorului de pornire timp de cateva secunde. in cazul unei bobine a generatorului de impulsuri in buna conditie tehnica, pe ecranul osciloscopului se va obtine o imagine asemanatoare celei prezentate in figura 3.68. Daca nu poate fi vizualizata nici o curba, bobina va trebui inlocuita.
B. Verificarea condensatorului
Cu contactul aprinderii deschis se elibereaza cablul condensatorului si se cupleaza la el una din bornele ohmetrului; in momentul in care cealalta borna a ohmetrului se cupleaza la masa (fig. 3.69) se va observa o usoara modificare a indicatiei aparatului, dupa care aceasta va reveni la infinit. Daca se consemneaza in mod continuu o valoare a rezistentei diferita de infinit, rezulta ca condensatorul prezinta un scurtcircuit si, in consecinta, trebuie inlocuit.
Dupa verificare, in cazul constatarii unei stari tehnice corespunzatoare a condensatorului, se cupleaza la loc cablul acestuia.

C. Verificarea bobinei de inductie
Verificarea infasurarii primare a bobinei de inductie. Avand contactul aprinderii deschis, se cupleaza ohmmetrul la bornele <TACH> si <BATTERY> pentru a masura rezistenta infasurarii primare a bobinei de inductie (fig. 3.69); in mod normal, aceasta trebuie sa fie de minim 0,5W. O valoare inferioara acestei limite semnaleaza un scurtcircuit intre spirele infasurarii. in cazul inregistrarii valorii infinit, infasurarea primara este intrerupta.
Pentru verificarea unei scurgeri la masa se extrage cablul ohmrnetrului de la borna <BATTERY> si se cupleaza la borna de masa a distribuitorului (fig. 3.70). Daca indicatia aparatului este alta decat infinit, rezulta ca exista un scurtcircuit la masa si deci bobina de inductie trebuie inlocuita.
Verificarea infasurarii secundare a bobinei de inductie. Se conecteaza ohmetrul la peria centrala a distribuitorului si apoi, pe rand, la borna de masa si la borna <TACH> (fig. 3.71). in mod normal, cele doua citiri nu trebuie sa difere sensibil, iar valorile lor tehnice sa respecte indicatiile constructorului. In lipsa acestora din urma, se poate considera ca o infasurare secundara trebuie sa aiba in mod normal o rezistenta cuprinsa intre 12 si 20 kΩ.
Cu ocazia acestor masuratori se va verifica starea capacului distribuitorului. Acesta nu trebuie sa prezinte fisuri, contactele sale nu trebuie sa fie oxidate sau uzate excesiv, iar contactul rotitor nu trebuie sa prezinte urme de ardere, acestea indicand scurgeri parazite de curent (fig. 3.72).
Analiza cu osciloscopul a tensiunii din circuitul secundar permite verificarea tensiunii dezvoltate, a tensiunii maxime disponibile, a izolatiei circuitului secundar si a starii sale tehnice generale.
In figura 3.73 sunt prezentate comparativ curbele tensiunilor din circuitul secundar pentru un sistem de aprindere clasic, cu ruptor mecanic si cele ale unui sistem de aprindere cu generator inductiv de impulsuri functionand la doua turatii net diferite.


Se observa ca tensiunea de strapungere in cazul aprinderii tranzistorizate este mai ridicata; aceasta se intampla din doua motive: in primul rand distanta dintre electrozii bujiilor este mai mare, iar in al doilea rand distantele dintre contactul rotitor si contactele fixe ale distribuitorului sunt mai mari. Din aceste doua cauze si linia corespunzatoare desfasurarii scanteii electrice, care urmeaza fenomenului de strapungere a spatiului disruptiv, se va situa la valori superioare de tensiune fata de cazul unei aprinderi clasice.
De remarcat este, de asemenea, modificarea realizata automat de catre modulul electric a unghiului de inchidere a contactelor (Dwell) in functie de turatia motorului cu avantajele cunoscute din punct de vedere al energiei descarcarii electrice.
Catre sfarsitul perioadei corespunzatoare unghiului Dwell se observa o mica oscilatie a tensiunii care indica atingerea valorii maxime a curentului in circuitul primar, dupa care aceasta incepe sa scada. Reducerea usoara a curentului in circuitul primar are loc atunci cand dantura miezului rotitor ajunge in dreptul danturii piesei magnetice, situatie in care blocul electronic este anuntat ca trebuie sa deschida circuitul primar.
D. Verificarea generatorului de impulsuri cu efect Hali
Cu contactul aprinderii deschis, se extrage stecherul cu trei contacte de la generatorul de impulsuri cu efect Hali.
Cu ajutorai unor cabluri se conecteaza direct o baterie de 12 V la conectorii generatorului Hali, asa cum se arata in figura 3.74. Se cupleaza un voltmetru la priza generatorului Hali, avand grija sa se respecte polaritatea cablurilor voltmetralui.
Se introduce o lama de cutit intre generatorul Hali si magnet. Se noteaza valoarea inregistrata de voltmetru, care nu trebuie sa difere cu mai mult de 0,5V de cea a bateriei utilizate pentru test.
Se extrage lama de cutit si se citeste din nou tensiunea care trebuie sa fie mai mica de 0,5 V.
Daca ambele tensiuni masurate sunt incorecte, se va inlocui generatorul Hali.
In cazul utilizarii unei osciloscop pentru diagnosticarea unui sistem de aprindere prevazut cu generator de impulsuri cu efect Hali, diagrama normala a tensiunii din circuitul secundar are forma celei prezentate in figura 3.75.
|
|
E. Verificarea modulului electronic de aprindere
Pentru aceasta verificare se va utiliza un voltmetru, o lampa de control de 12 V si un minitester de scanteie. Acesta din urma este de fapt o bujie cu electrozii usor modificati (fig. 3.76), capabila, in conditii atmosferice normale, sa formeze o scanteie la tensiuni de aproximativ 25 kV.
Se demonteaza capacul distribuitorului si se monteaza in interiorul sau minites-teral de scanteie (fig. 3.77), asigurandu-se o buna legatura de masa a corpului sau.
Se extrag cablurile generatorului de impulsuri de la modulul electronic.
|
|
Se conecteaza cablul - al voltmetrului la masa, iar cablul + la contactul <TACH> al capacului distribuitorului.
Atentie!
Nu se decupleaza cablurile dintre modulul electronic si capacul distribuitorului.
Se inchide contactul aprinderii si se leaga unul din cablurile lampii de control la borna + a bateriei automobilului.
In timp ce se urmaresc cu atentie indicatiile voltmetrului, se atinge cu celalalt cablu al lampii de control borna P a modulului electronic. In momentul respectiv trebuie sa se inregistreze o cadere de tensiune. Daca acest lucru nu se produce se verifica si repara surubul de masa al modulului electronic. Dupa aceasta, se repeta testul si daca nici acum nu se inregistreaza o cadere de tensiune, se schimba modulul electronic.
Se deschide contactul aprinderii si se indeparteaza voltmetrul si lampa de control, recuplandu-se cablul de legatura dintre generatorul de impulsuri si modul.
3.3.4.4. Diagnosticarea instalatiilor de aprindere cu dispozitive electronice de reglare a avansului.
In cazul acestor sisteme de aprindere, functia corelarii avansului la aprindere cu sarcina si turatia este preluata de modulul electronic de control. Se mentine insa in utilizare distribuitorul mecanic de inalta tensiune.
Deoarece o mare parte din aceste sisteme sunt prevazute si cu senzor de detonatie in vederea prevenirii acestui fenomen prin reducerea automata a avansului la aprindere, in cele ce urmeaza ne vom referi la diagnosticarea acestei variante de sistem de aprindere.

A. Verificarea tensiunii de alimentare a controlerului
Cu contactul aprinderii deschis, se extrage conectorul (stecherul) cu zece pini de la controlerul electronic al scanteii.
Se cupleaza borna - a voltmetrului la terminalul K al conectorului (fig. 3.78), iar borna + a voltmetrului la terminalul F al conectorului.
Se inchide contactul aprinderii si se citeste tensiunea care trebuie sa fie de cel putin 7V. Daca se inregistreaza o tensiune mai mica de 7 V, se va verifica integritatea cablului dintre pinul F si contactul aprinderii.
B. Verificarea cablajului distribuitorului
Pentru a verifica continuitatea cablajului dintre controlerul electronic al scanteii si distribuitor, se procedeaza dupa cum urmeaza.
Cu contactul aprinderii deschis se extrage conectorul cu patru pini de la distribuitor.
Se cupleaza succesiv bornele ohmetrului (reglat pe scala celui mai mic domeniu de rezistente) intre pinii (fig. 3.79):
K al conectorului controlerului si D al conectorului distribuitorului;
J al conectorului controlerului si A al conectorului distribuitorului;
H al conectorului controlerului si B al conectorului distribuitorului;
G al conectorului controlerului si C al conectorului distribuitorului.
Toate aceste masuri trebuie sa indice o continuitate perfecta a legaturilor respective.

C. Verificarea tensiunii de alimentare a bobinei in regim de functionare
Cu contactul aprinderii deschis, se leaga terminalele A si C ale conectorului distribuitorului cu o cupla din sarma (fig. 3.80).
Se decupleaza cablul bateriei de la distribuitor.
Se cupleaza borna - a voltmetrului la masa si borna + la pinul conectorului la care ajunge cablul de la baterie.
Se inchide contactul aprinderii si se noteaza tensiunea inregistrata de voltmetru.
Daca tensiunea respectiva difera cu mai mult de 1 V de tensiunea bateriei, se va verifica existenta unei rezistente parazite in circuit.
D. Verificarea tensiunii de alimentare a bobinei in
regim de pornire a
motorului
Cu acelasi montaj ca in cazul precedent, se procedeaza la masurarea tensiunii de alimentare a bateriei in timpul actionarii demarorului. Tensiunea masurata nu trebuie sa difere cu mai mult de 1 V de tensiunea bateriei in regimul respectiv.
E. Verificarea bobinei generatorului de impulsuri se face la fel ca in cazul prezentat la punctul 3.4.3.A.
F. Verificarea modulului de aprindere
Cu contactul aprinderii deschis se extrage capacul distribuitorului, se intoarce cu partea interioara in sus si se monteaza testerul de scanteie pe electrodul central legat de secundarul bobinei de inductie (fig. 3.81).
Se extrage conectorul cu patru pini de la distribuitor si se monteaza o punte din sarma intre pinii A si C ai conectorului.
Se decupleaza cablurile bobinei generatorului de impulsuri de la modulul de control. Nu se decupleaza cablurile de la capacul distribuitorului.
Se cupleaza borna - a voltmetrului la masa si borna + la borna <TACH> a capacului distribuitorului.
Se inchide contactul aprinderii.
Se cupleaza unul din cablurile unei lampi de control la borna + a bateriei de acumulatori, dupa care se atinge, pentru scurt timp, cu celalalt cablu al lampii borna D a modulului de aprindere.
In mod normal trebuie ca voltmetrul sa inregistreze in acest moment o cadere de tensiune. Daca acest lucru nu se produce se verifica si se separa surubul de masa al modulului de aprindere, dupa care se repeta testul. Daca nici dupa aceasta nu se inregistreaza o cadere de tensiune, modulul electric trebuie inlocuit.
G. Verificarea controlerului electronic al scanteii
Se mentine sarma de legatura intre bornele Asi C ale conectorului cu patru pini (fig.3.81).
Se incearca pornirea motorului. Daca aceasta porneste, se lasa sa functioneze la ralanti. Faptul ca motorul functioneaza in aceasta situatie indica o defectiune a controlerului electronic al scanteii care trebuie inlocuit.
inaintea inlocuirii controlerului se efectueaza urmatoarea verificare.
H. Verificarea tensiunii de alimentare a controlerului electronic al scanteii.
Se deconecteaza toti consumatorii de electricitate ai automobilului si apoi se porneste motorul. Se masoara tensiunea bateriei de acumulatoare cu motorul in functiune.
Cu conectorul controlerului electronic al scanteii la locul sau, se cupleaza borna - a voltmetrului la borna K (fig. 3.82).
Cablul conectat la borna + a voltmetrului se atinge pentru scurt timp la borna F a aceluiasi conector. Tensiunea masurata nu trebuie sa difere cu mai mult de 1 V fata de valoarea tensiunii bateriei. in caz contrar se va verifica circuitul intre contactul aprinderii si controler.
I. Verificarea functionarii vacuumetrului
Cu contactul aprinderii deschis, se inteapa cu un ac cablul care duce la borna B a traductorului de presiune din conducte de admisiune. Conectorul traductorului are trei borne: A - pentru legarea la masa; B - pentru transmiterea semnalului util; C-pentru semnalul de referinta de 5 V.
Important! Se va avea grija ca acul sa nu faca contact cu masa.
Se cupleaza borna - a voltmetrului la masa, iar borna + se pune in legatura cu acul.
Se porneste motorul.
Se extrage si se introduce furtunul de legatura dintre traductorul de presiune si galeria de admisiune, inregistrandu-se tensiunile pentru cele doua situatii. In mod normal acestea trebuie sa difere sensibil. In caz contrar exista o defectiune a traductorului de presiune sau a cablajului sau.
|
|
J. Verificarea functionarii traductorului de temperatura.
Se monteaza la motor o lampa stroboscopica pentru masurarea avansului la declansarea scanteii.
Cu motorul rece, functionand la turatie stabila (de ex. 1200 min-1) si fara a actiona clapeta de soc, se masoara avansul la aprindere.
Dupa incalzirea motorului, cand temperatura lichidului de racire trebuie sa depaseasca 85°C, se repeta masurarea la aceeasi turatie. Noua valoare trebuie sa fie sensibil mai mica decat cea dintai, in caz contrar existand defectiuni fie la cablul sondei de temperatura, fie la sonda propriu-zisa. Aceasta este un traductor de temperatura de tip rezistiv, a carui rezistenta electrica scade pe masura cresterii temperaturii. Verificarea lui se face la fel ca in cazul traductorului similar utilizat la sistemul electronic de injectie de benzina; de fapt de multe ori acelasi traductor este utilizat la ambele sisteme.
K. Verificarea functionarii senzorului de detonatie
Se procedeaza in prealabil la incalzirea motorului pana la regimul sau normal de functionare.Se decupleaza toti consumatorii electrici ai automobilului.
Se monteaza un turometru la motor si se regleaza, cu ajutorul surubului corespunzator al carburatorului sau sistemului de injectie de benzina, turatia la valoarea
cea mai ridicata posibil, care este, de obicei, de cel putin 1800 min-1.
Folosind o cheie sau o tija metalica se loveste galeria de admisiune sau chiulasa in apropierea senzorului de detonatie (fig. 3.83).
Se urmareste evolutia turatiei motorului care trebuie sa scada cu cel putin 200 min si dupa aproximativ 20 secunde de la incetarea loviturilor, sa revina la nivelul initial.
Daca nu se inregistreaza aceasta evolutie a turatiei, se va verifica senzorul de detonatie si cablul sau.
Verificarea senzorului de detonatie.
Verificarea consta in masurarea rezistentei senzorului de detonatie. Pentru aceasta, se procedeaza in primul rand la incalzirea motorului.Se opreste apoi motorul si se extrage cablul de la senzorul de detonatie.
Se conecteaza borna - a ohmetrului la masa, iar borna + la borna centrala a senzorului de detonatie (fig. 3.84).
Se inregistreaza valoarea rezistentei masurate si se compara cu aceea indicata de constructor. Daca valorile nu corespund, se inlocuieste senzorul.
Verificarea cablului senzorului de detonatie

Cu
contactul aprinderii deschis, se decupleaza conectorul cu zece
pini al controlerului electronic al scanteii. Se monteaza o punte-sarma
intre bornele A si B .
Se demonteaza conectorul cablului senzorului de detonatie.
Se cupleaza cablul + al ohmetrului la borna conectorului cablului care se cupleaza cu borna centrala a senzorului. Celalalt cablu al ohmetrului se cupleaza la cea de a doua borna a conectorului.
Ohmetrul trebuie sa indice, in mod normal, continuitate intre cele doua puncte de masura. in caz contrar, se va repara sau inlocui cablajul respectiv.
Daca senzorul de detonatie si cablul sau sunt gasite in buna stare se functionare, dar sistemul tot nu functioneaza normal (la proba loviturii cu cheia), va fi necesara inlocuirea controlerului electronic al scanteii.
3.3.4.5. Diagnosticarea sistemelor electronice de aprindere integrale.
Ca si in cazul sistemelor de aprindere tranzistorizate, exista o mare varietate constructiva de modele, in functie de firma producatoare. in general, fiecare constructor elaboreaza un manual de diagnosticare pentru fiecare sistem realizat, in care sunt prezentate detaliat operatiunile de diagnosticare.
in cele ce urmeaza se prezinta principiile diagnosticarii unui sistem de aprindere electronica integrala utilizat pe motoarele automobilelor companiei General Motors. Schema constructiva simplificata a acestui sistem de aprindere este prezentata in figura 3.86.
|
|
Atentie! Pentru a se preveni deteriorari ale componentelor lor, in cazul diagnosticarii altor sisteme de aprindere se recomanda consultarea manualelor de intretinere respective.
A. Verificari initiale
Daca motorul, desi antrenat de demaror, nu porneste, se vor executa, in ordinea precizata, verificarile prezentate in continuare pentru a constata daca defectul apartine sistemului de aprindere si in ce consta el.
Daca motorul nu prezinta simptomul amintit si se doreste doar verificarea unor componente ale sistemului de aprindere, aceasta se poate realiza efectuand operatiunile corespunzatoare, fara a fi necesara parcurgerea tuturor etapelor de diagnosticare.
Se monteaza pe rand la fiecare cilindru testerul de scanteie la capetele cablurilor exterioare de la bujii. Se antreneaza motorul cu demarorul si se observa aparitia scanteilor la tester. Daca nu apar scantei la nici unul din cilindri, se vor verifica: cablajul, conectorii si sigurantele fuzibile ale modulului electronic de control si ale pompei de combustibil. Daca nu se semnaleaza probleme in aceasta privinta, se continua verificarile.
B. Verificarea tensiunii de referinta a modulului electronic de control.
Cu contactul aprinderii deschis se decupleaza conectorul A-B de la modulul electronic de control.
Se cupleaza borna -a voltmetrului la masa, iar cablul corespunzator bornei + se cupleaza la borna B - 5 a conectorului modulului electronic (fig. 3.87). Se va utiliza un voltmetru cu impedanta de intrare de minim 10 M(2.
Se actioneaza demarorul si se urmaresc indicatiile voltmetrului care trebuie sa oscileze intre IV si 7V. Daca masuratorile corespund celor aratate, se trece la verificarea C, iar daca nu, se trece la testul E.
Se recupleaza conectorul A - B la modulul electronic de control.

C. Verificarea tensiunii de alimentare a bobinei de inductie
Cu contactul aprinderii deschis, se desfac suruburile de prindere a ansamblului bobinelor si se inclina acesta inspre spate.
Se cupleaza unul din cablurile lampei de control la masa. Se inchide contactul aprinderii si se pune in contact celalalt fir al lampii de control la cablul albastru de alimentare, care este comun tuturor bobinelor de inductie (fig. 3.88).
Daca lampa se aprinde, se vor verifica conexiunile bobinelor.
Daca acestea sunt in buna stare, se va inlocui modulul de aprindere.
Daca lampa nu se aprinde, se trece la urmatoarea verificare, deschizand mai intai contactul aprinderii.
D. Verificarea tensiunii livrate de modulul electronic de control catre modulul de aprindere.
Cu contactul aprinderii deschis, se decupleaza conectorul cu 14 pini de la modulul de aprindere C3.
Se leaga unul din cablurile lampii de control la masa, dupa care se inchide contactul aprinderii.
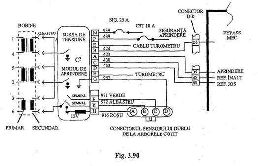
Se cupleaza celalalt cablu al lampii de control la borna M a conectorului (fig. 3.89). Daca lampa nu se aprinde, se va verifica siguranta fuzibila de 25A a modulului electronic de control, precum si o eventuala intrerupere a cablului care ajunge la borna M. (fig. 3.90)
|
|
|
|
|
|
Daca lampa se aprinde, se va verifica borna M. Daca aceasta este in corecta stare, se va inlocui modulul de aprindere.
Se deschide contactul aprinderii si se recupleaza conectorul cu 14 pini la modul.
E. Verificarea tensiunii de intrare a semnalului trimis de senzorul de sincronizare.
Se conecteaza borna - a voltmetrului la masa si borna + la borna K a modulului (fig. 3.91).
Se actioneaza demarorul. Daca in acest timp voltmetrul indica variatii ale tensiunii intre 1 V si 9 V, se trece la verificarea I. in caz contrar se procedeaza la verificarea F, inainte de care se deschide contactul aprinderii.
F. Verificarea tensiunii de intrare in senzorul de unghi.
Cu contactul aprinderii deschis se decupleaza conectorul cu patru pini al senzorului amplasat in vecinatatea arborelui cotit.
Se cupleaza borna - a voltmetrului la masa, dupa care se inchide contactul aprinderii. Se cupleaza borna + a voltmetrului la borna A a conectorului cu patru pini, inregistrandu-se valoarea tensiunii masurate (fig. 3.92).
Atentie! Nu se va utiliza lampa de control pentru a verifica tensiunea la borna A
|
|
Se intrerupe contactul aprinderii.
Daca tensiunea masurata se situeaza intre 5 V si 11 V, se trece la verificarea H. In caz contrar, se va verifica daca exista o intrerupere in cablul corespunzator bornei H. Daca boma H si cablul sau se afla in buna stare, se trece la verificarea urmatoare.
G.Verificarea tensiunii transmise de senzorul de unghi modulului electronic de control
Cu contactul aprinderii deschis se decupleaza conectorul cu 14 pini de la modulul electronic.
Se leaga unul din cablurile lampii de control la masa si se inchide contactul aprinderii.
Celalalt cablu al lampii se pune in contact cu borna P a conectorului (fig. 3.93).
Daca lampa nu lumineaza, se verifica siguranta fuzibila de 10A a modulului electronic de control si cablul ce ajunge la borna P.
Daca lampa lumineaza se va verifica conexiunea la borna P a modulului.
Daca aceasta este in buna stare, se va inlocui modulul de aprindere.
Se deschide contactul aprinderii si se
cupleaza la loc conectorul cu 14 pini in
modul.
H. Verificarea circuitului de alimentare al senzorului de unghi
Se cupleaza borna - a voltmetrului la borna B a conectorului cu patru pini al senzorului.
Se inchide contactul aprinderii si se pune celalalt cablu al voltmetrului in contact cu borna A a conectorului cu patru pini (fig. 3.94).
Daca tensiunea masurata este intre IV si 9V se trece la verificarea I. Se deschide contactul aprinderii. Daca conditia mai sus mentionata nu este indeplinita se va verifica existenta unei intreruperi in cablul ce duce la boma B, precum si calitatea contactului la nivelul acestei borne. Daca ambele verificari nu releva vreo defecti une, se va modifica legatura la boma B a modulului si daca si aceasta este corecta, se va inlocui modulul.
|
|
I. Verificarea functionarii senzorului de unghi
Cu contactul aprinderii deschis se demonteaza senzorul si se decupleaza de la el conectorul cu patru pini. intre senzor si conector se face legatura cu patru conductori, potrivit schemei din fig.3.95.
Se leaga borna - a voltmetrului la masa. Se antreneaza motorul cu ajutorul demarorului, timp in care cablul de la borna + a voltmetrului se pune in contact cu cablul de legatura dintre bornele C ale senzorului si conectorului. Tensiunea va trebui sa varieze intre 0,7V si 9,0V.
In aceeasi situatie de actionare a motorului cu demarorul, se va cupla apoi borna + a voltmetrului la cablul de legatura intre bornele D ale senzorului si conectorului. De data aceasta tensiunea va trebui sa varieze intre 1,0 V si 9,0 V.
Daca una sau ambele masurari dau valori in afara celor recomandate, se va inlocui senzorul.
Daca la ambele verificari se obtin rezultate corecte dar motorul nu poate fi pornit, se va inlocui modulul de aprindere.
|