Diagnosticarea pe elemente a transmisiei
4.2.1. Diagnosticarea ambreiajului
Pentru caraterizarea starii tehnice a ambreiajului se utilizeaza urmatorii parametrii de diagnosticare: cursa libera a pedalei ambreiajului, patinarea, decuplarea totala, momentul maxim transmis, zgomotele la actionarea pedalei si modul de cuplare si decuplare.
Corelatiile existente intre principalii parametri ce definesc starea tehnica a ambreiajului si parametrii utilizati pentru diagnosticarea sa sunt prezentate in tabelul 4.1.
Unul din cursoare se fixeaza in dreptul pozitiei initiale, apoi se apasa pedala incet, cu mana, pana la intampinarea unei rezistente sporite - momentul in care rulmentul de presiune ajunge in contact cu parghiile de debreiere sau cu arcul diafragma. Cel de al doilea cursor s-a deplasat odata cu pedala, astfel incat, dupa parcurgerea cursei libere, se citeste distanta dintre cele doua cursoare.
La multe modele actuale de automobile, constructorul nu mai precizeaza valoarea cursei libere a pedalei de ambreiaj, ci marimea cursei totale a acesteia. Astfel, spre exemplu, la autoturismele Peugeot 306 echipate cu motoare TU1M, TU3MC sau TU5JP cursa totala a pedalei ambreiajului este de 141.151 mm si se masoara prin reportarea celor doua pozitii extreme ale pedalei la marginea volanului (fig. 4.6):
X=L2-Li.
Constructia ambreiajului permite ca, in cazul realizarii prescriptiei respective, portiunea libera a cursei sa se incadreze implicit in limitele normale.
Trebuie remarcat faptul ca in prezent exista variante constructive de ambreiaje prevazute cu dispozitive de reglare automata a cursei libere a pedalei in functie de uzura garniturilor de frictiune ale discului condus.
Patinarea ambreiajului se poate verifica in mai multe moduri, prezentate in cele ce urmeaza:
.Automobilul se afla in stationare cu frana actionata si motorul pornit. Se cupleaza schimbatorul de viteze in treapta de priza directa (sau cea 848e45i cu raportul de transmitere cel mai apropiat de 1) si se accelereaza motorul pana la o turatie de
1500-2000 min-1 (valorile inferioare pentru vehicule grele iar cele superioare pentru autoturisme), dupa care se cupleaza progresiv ambreiajul. In cazul unui ambreiaj aflat in buna stare tehnica se va produce oprirea motorului.
.Automobilul ruleaza in palier avand schimbatorul de viieze cuplat in treapta superioara. La un moment dat se ia piciorul de pe pedala de acceleratie dupa care se apasa din nou brusc, urmarindu-se daca cresterea turatiei motorului este proportionala cu marimea vitezei de deplasare. Daca motorul se ambaleaza fara ca viteza automobilului sa creasca in mod corespunzator, inseamna ca ambreiajul patineaza.
.in timp ce automobilul ruleaza in priza directa cu o viteza constanta cuprinsa intre 60 si 80 km/h (valoarea inferioara pentru automobile grele), se actioneaza brusc si complet pedala de acceleratie. Mentinand acceleratia se debreiaza pentru o perioada foarte scurta, atat cat motorul sa-si mareasca turatia pana la limita maxima admisa, dupa care se elibereaza brusc pedala ambreiajului. Se urmareste in cat timp de la ambreiere turatia motorului revine la valoarea corespunzatoare vitezei de deplasare a automobilului. Aceasta metoda se recomanda in special in cazul automobilelor prevazute cu ambreiaje cu arc diafragma.
in cazul automobilelor al caror schimbator de viteze are etaj de priza directa si care sunt prevazute cu arbore cardanic intre schimbatorul de viteze si puntea motoare, verificarea patinam ambreiajului se poate face la standul cu role pentru determinarea puterii la roata motoare (fig. 4.7). Se utilizeaza o lampa stroboscopica conectata la cablul uneia din bujii (la motorul cu aprindere prin scanteie) sau la un traductor de presiune montat la conducta unui injector (la motorul cu aprindere prin comprimare). In acest fel frecventa impulsurilor luminoase produse de lampa stroboscopica va fi proportionala cu turatia motorului. Automobilul, aflat cu rotile motoare pe rolele standului, este adus in regim de functionare cu schimbatorul de viteze in priza directa. Se lumineaza cu lampa stroboscopica articulatia cardanica de la iesirea din cutia de viteze. Daca imaginea articulatiei nu este stabila ci se roteste sau prezinta smucituri, rezulta ca ambreiajul patineaza.
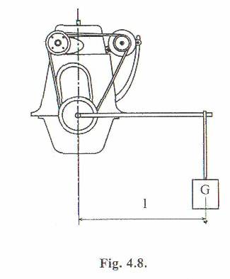
Momentul maxim pe care il poate transmite ambreiajul poate fi determinat static cu ajutorul unui dispozitiv simplu, format dintr-o parghie si un set de greutati, principial prezentat in figura 4.8.

Dispozitivul se monteaza in prelungirea arborelui cotit, angrenandu-se cu acesta prin intermediul dispozitivului rac. Inaintea efectuarii masuratorii propriu-zise, se incalzeste motorul la temperatura de regim si se executa o serie de 4-5 demaraje pentru incalzirea garniturilor de frictiune ale ambreiajului. In continuare se imobilizeaza automobilul prin intermediul sistemului de franare, se opreste motorul, se scot bujiile sau injectoarele (pentru a se elimina momentul rezistent datorat procesului de comprimare a aerului in camerele de ardere) si se cupleaza schimbatorul de viteze in ultima treapta. Dispozitivul de masura a momentului se dispune in dreptul si la nivelul dispozitivului rac al arborelui cotit, axul sau angrenand cu acesta, avand grija ca parghia de masura sa se afle in pozitie orizontala.
Intr-o prima etapa se va determina momentul rezistent datorat frecarilor din motor. Pentru aceasta se mentine pedala ambreiajului in pozitia debreiat si se mareste progresiv valoarea greutatii suspendate pana cand bratul incepe sa se roteasca. Valoarea greutatii in acest caz inmultita cu lungimea bratului parghiei la care se adauga constanta dispozitivului (momentul dat de greutatea parghiei) indica tocmai momentul rezistent datorat frecarilor din motor Mr
In a doua etapa se determina momentul total M, ce este format din suma dintre momentul rezistent al motorului si momentul maxim pe care este capabil sa-1 transmita ambreiajul. Se elibereaza complet pedala ambreiajului si se mareste progresiv valoarea greutatii pana cand bratul incepe sa se roteasca. Determinarea momentului M, se face ca in etapa anterioara. Valoarea momentului maxim pe care ambreiajul este capabil sa il transmita este data de diferenta dintre cele doua momente masurate:
Ma = Mt- Mr
Aceasta
valoare se compara cu limita minima precizata de constructor pentru tipul
respectiv de automobil. In lipsa acestei informatii, valoarea limita se calculeaza cu
relatia: ![]()
in care: Me max -momentul efectiv maxim dezvoltat de motor (caracteristica functionala prezenta in orice documentatie, oricat de sumara, a unui automobil);
-valoarea minima a coeficientului de
siguranta al ambreiajului.
Pentru
se au in vedere, in general, urmatoarele
valori:
pentru autocamioane si autobuze;
pentru autocamioane cu remorca.
Verificarea decuplarii complete a ambreiajului se face cu automobilul aflat in stationare cu motorul in functiune. Se decupleaza ambreiajul si se schimba succesiv treptele cutiei de viteze. Daca decuplarea nu este completa, se vor inregistra zgomote la schimbarea treptelor de viteza.
4.2.2. Diagnosticarea cutiei de viteze
Pentru diagnosticarea cutiei de viteze trebuie sa se stabileasca starea tehnica a sistemului de actionare si cea a cutiei de viteze propriu-zise. In cel dintai caz se au in vedere atat timoneria de comanda cat si dispozitivele de fixare si zavorare amplasate in interiorul cutiei de viteze. In cazul cutiei de viteze propriu-zise se cerceteaza angrenajele, dispozitivele de sincronizare, arborii de sustinere a rotilor dintate, rulmentii si carterul cutiei de viteze.
Diagnosticarea sistemului de actionare se face prin inspectie vizuala si pe baza corelatiilor dintre simptomele de manifestare a unor defectiuni si cauzele acestora, in tabelul 4.2 sunt prezentate astfel de corelatii, avandu-se insa in vedere si aspectele legate de cutia de viteze propriu-zisa.
Pentru diagnosticarea cutiei de viteze, in afara inspectiei vizuale si a analizei simptomelor unor defectiuni, se pot utiliza ca parametri de diagnosticare jocul unghiular, analiza vibroacustica si temperatura carterului.
Masurarea jocului unghiular la automobilele organizate dupa schema clasica (motor fata si tractiune spate) se poate efectua utilizand dispozitivul prezentat in figura 4.9.
La parghia dinamometrica 3 se monteaza suporturile reglabile 1 si discul-raportor 2. Acesta din urma poate fi rotit manual odata cu un tub inelar exterior cu diametrul de 6-8 mm confectionat din polivinil transparent. Inelul este umplut pe jumatate cu un lichid colorat si are extremitatile inchise etans. In pozitia de lucru, lichidul ocupa jumatatea inferioara a inelului si serveste ca indicator pentru citirea jocului unghiular.
Tehnologia folosirii dispozitivului respecta urmatoarele indicatii:
. se blocheaza automobilul cu frana de mana si se aduce cutia de viteze la punctul mort;

se monteaza dispozitivul cu suporturile l pe legatura cardanica cea mai apropiata de cutia de viteze, se anuleaza jocurile din transmisie actionand maneta 5 cu un cuplu de 1-2 daNm, si se roteste discul gradat pana cand reperul zero ajunge in dreptul nivelului lichidului din inel; se actioneaza maneta dinamometrului in sens invers, pana la consumarea totala a jocului din sectorul transmisiei cuprins intre iesirea din cutia de viteze si rotile motoare, joc a carui valoare se citeste pe discul gradat;
se monteaza dispozitivul la capatul liber, prevazut cu surub rac, al arborelui cotit al motorului si se repeta masurarea cu cutia de viteze cuplata succesiv in fiecare treapta si cu ambreiajul cuplat; marimea jocului din cutia de viteze se obtine scazand din valorile astfel obtinute pe aceea obtinuta la determinarea initiala.
in general, valorile admisibile ale jocului unghiular din cutia de viteze sunt: in treapta I si mersul inapoi, 2,5°; in treapta a II-a, 3,5°; in treapta a llI a, 4°, iar in treptele IV si V, 6°.
Metoda vibroacustica se bazeaza pe faptul ca spectrul de vibratii al unei cutii de viteza se modifica sensibil pe masura avansarii proceselor de uzare(fig.4.10).
Analiza spectrului de frecventa al zgomotului sau vibratiilor generate de cutiile de viteze permite atat detectia defectelor incipiente, cat si diagnosticarea cauzei defectului, intrucat pune in evidenta frecventele la care s-au produs modificari semnificative de nivel si care pot fi
corelate cu frecventele vibratiilor generate de defecte mecanice (dezechilibrari, angrenare cu joc, rezonante etc).
Metoda poate evidentia: modificari ale jocurilor din angrenaje si din caneluri datorate uzurilor suprafetelor de frecare sau deformarilor arborilor, deteriorari prin piting ale danturilor, uzuri excesive sau anormale ale corpurilor si suprafetelor de rulare ale rulmentilor.
Pentru efectuarea determinarilor se fixeaza pe carcasa cutiei de viteze un traductor de vibratii care este cuplat la un bloc electronic care amplifica si prelucreaza semnalul transmis de traductor, indicand nivelul general de vibratie, nivelul principalelor sale componente sau afisand pe un osciloscop spectrul de frecventa al vibratiei. In mod similar se procedeaza cand se analizeaza zgomotul produs de cutia de viteze, cu deosebirea evidenta ca in locul traductorului de vibratie se utilizeaza un microfon special amplasat cat mai aproape de cutia de viteze.
Metoda vibroacustica prezinta marele avantaj de a permite diagnosticarea unora dintre agregatele transmisiei intr-un timp scurt si fara a le demonta. Pe de alta parte insa, rezultatele pe care le ofera sunt influentate de calitatile lubrifiantului, zona de culegere a vibratiilor sau sunetelor, precum si de alti factori decat cei supusi observatiei, iar aparatura are un cost ridicat si este putin robusta.
in plus, utilizarea ca element de referinta a unor valori admisibile standard pentru nivelurile de vibratii sau zgomot nu este recomandata intrucat impedanta mecanica variaza mult chiar la cutii de viteze de acelasi tip. De aceea, nivelurile de referinta de vibratii si zgomot trebuie precizate pentru fiecare cutie de viteze in parte prin masuratori initiale, atunci cand aceasta se afla in perfecta stare tehnica, ceea ce reprezinta o dificultate suplimentara.
Diagnosticarea termica a cutiei de viteze si reductorului foloseste ca parametru variatia temperaturii acestor subansambluri la un regim de sarcina si turatie stabilit, operatia desfasurandu-se pe standul dinainometric cu rulouri. In timpul functionarii temperatura carterului creste atingand un regim stationar dupa circa 30de minute. In cazul unei cutii de viteze cu stare tehnica necorespunzatoare, cresterea temperaturii este mai rapida si atinge valori superioare (fig. 4.11). Acest lucru se datoreaza uzurii suprafetelor de lucru, maririi jocurilor functionale, deteriorarii suprafetelor de frecare, lubrifiantului necorespunzator sau lipsa.
Informativitatea parametrului este maxima in perioada in care regimul termic s-a stabilizat, deci dupa aproximativ 30 de minute de functionare, ceea ce conduce la o ocupare indelungata a standului dinamometric. Practic, s-a dovedit insa ca dupa o perioada de incalzire de numai 5 minute regimul termic al cutiei de viteze permite o diferentiere neta a unei stari tehnice necorespunzatoare de una normala.
Ca parametru de diagnosticare poate fi utilizat, de asemenea, timpul scurs pana la atingerea unei anumite temperaturi, plecandu-se de la un nivel termic prestabilit, si in acest caz timpul necesar efectuarii operatiunii de diagnosticare se reduce simtitor.
Valorile temperaturii se culeg cu ajutorul unor traductoare termometrice plasate in masa uleiului - procedeu incomod si mai rar folosit - sau din unele puncte ale suprafetei exterioare a carterului cutiei de viteze.
Prezenta unor defectiuni poate fi recunoscuta de asemenea prin modul in care ele afecteaza corecta functionare a cutiei de viteze. Corelatiile dintre parametrii de stare ce definesc starea de defect si simptomele acestora sunt prezentate in tabelul 4.2.
Tabelul 4.2. Corelatiile dintre parametrii de stare tehnica si simptomele defectiunilor cutiei de viteze

4.2.3. Diagnosticarea transmisiei longitudinale
Starea tehnica a transmisiei longitudinale (cunoscuta si sub numele de transmisie cardanica) este definita de uzurile articulatiilor cardanice si ale canelurilor si de deformarea arborilor. De aceea, ca parametri de diagnosticare se folosesc jocul unghiular si bataia radiala, marimi cu dependenta univoca de parametrii de stare.
Jocul unghiular se poate determina static, utilizand acelasi dispozitiv ca si in cazul cutiei de viteze. Cu automobilul imobilizat cu ajutorul franei de mana si cutia de viteze la punctul mort, se masoara jocurile unghiulare la cele doua extremitati ale transmisiei longitudinale, jocul acesteia fiind diferenta dintre cele doua citiri.
Jocul unghiular poate fi determinat si in regim dinamic, cu ajutorul lampii stroboscopice, in conditiile si dupa tehnologia utilizata la evidentierea patinarii ambreiajului. Se executa cu vopsea doua marcaje situate in acelasi plan: unul pe flansa arborelui secundar al cutiei de viteze si celalalt pe flansa arborelui primar al transmisiei principale. Se cupleaza treapta de priza directa si se vizualizeaza primul dintre cele doua marcaje in doua regimuri: tractiune, respectiv frana de motor. Cu ajutorul potentiometrului lampii stroboscopice se aduce imaginea statica a reperului respectiv in aceeasi pozitie pentru ambele regimuri de functionare. Diferenta dintre cele doua unghiuri de defazare citite pe scara lampii stroboscopice reprezinta, in situatia lipsei de patinare a arobreialului, jocul unghiular al cutiei de viteze in treapta de priza directa. Dupa aceasta se repeta masurarea pentru cel de al doilea reper, obtinandu-se jocul total al transmisiei de la motor si pana la intrarea in transmisia centrala. Evident, diferenta dintre cele doua jocuri reprezinta jocul in transmisia longitudinala.
Bataia radiala a unui arbore cardanic 1 (fig. 4.12) se masoara folosind un comparator 2 montat pe suporturile 3 prin intermediul dispozitivului de prindere 4 si al celui din fixare 5 pe cadrul vehiculului. In locul dispozitivului 5 cu fixare mecanica se poate utiliza un dispozitiv cu prindere magnetica, de mai mici dimensiuni si mai usor de manevrat.

Dupa montarea sistemului de masura pe automobilul avand puntea motoare suspendata si blocat la rotile in contact cu solul, se cupleaza treapta I a cutiei de viteze, mentinand turatia la cea mai scazuta valoare de functionare stabila si se citeste bataia maxima a acului comparatorului. Verificarea tuturor arborilor cardanici ai vehiculului se face separat, mentinand dispozitivul cat mai aproape de mijlocul arborelui
respectiv. In functie de tipul de automobil, se accepta ca valori limita batai radiale de 0,8,,,1,2 mm.
Identificarea eventualelor defectiuni ale transmisiei longitudinale poate fi efectuata, de multe ori, pe baza corelatiilor dintre parametrii de stare si simptomele de manifestare a defectiunilor prezentate in tabelul 4.3.
Tabelul 4.3 Corelatiile dintre simptomele si cauzele unor defectini ale transmisiei longitudinale

4.2.4. Diagnosticarea puntii motoare
Parametrii utilizati la diagnosticarea diferentialului si transmisiei centrale sunt jocul unghiular, analiza vibroacustica si regimul termic.
Jocul unghiular se masoara tot cu dispozitul prezentat in figura 4.9. Automobilul se ridica pe elevator si se mentine apasata pedala de frana. Se monteaza dispozitivul de masurare pe furca dinspre diferential a crucii cardanice si se procedeaza apoi in mod obisnuit, ca la cutia de viteze si transmisia cardanica. Valoarea admisibila a jocului unghiular este 35°- 45° iar cea limita 55°- 65°.
In privinta analizei vibroacustice si a determinarii regimului termic, se aplica aceleasi metode ca si in cazul diagnosticarii cutiei de viteze.
Desi sensibila erorilor subiective de interpretare si tributara experientei celui ce o practica, diagnosticarea pe baza zgomotului produs in functionare poate constitui o metoda pe cat se simpla, pe atat de eficienta si economica.
In vederea efectuarii testarii propriu-zise se va asigura eliminarea surselor de zgomot anormal ce pot proveni de la celelalte sisteme ale automobilului. Incercarea se va efectua pe un drum asfaltat cu suprafata in buna stare. Se procedeaza la incalzirea transmisiei prin rularea automobilului timp de aproximativ 15 minute, dupa care se trece la incercarea propriu-zisa care se efectueaza la deplasarea in regim de croaziera, de acceleratie si de frana de motor. Zgomotele caracteristice si cauzele posibile sunt prezentate in tabelul 4.4.
In cazul arborilor planetari ai puntilor motoare spate diagnosticarea are in vedere jocul unghiular datorat uzurilor din caneluri si zgomotul la trecerea din regim de accelerare in frana de motor si invers.
La arborii planetari ai puntilor motoare fata intervin, in plus, aspectele legate de starea tehnica a cuplajelor unghiulare.
O buna informatie privind starea tehnica a cuplajelor unghiulare se poate obtine printr-o inspectie vizuala. Astfel, fisuri, intepaturi, crapaturi, urme de frecare, rupturi ale burdufului protector sunt defectiuni ce reclama inlocuirea imediata a acestuia. Un aspect de cauciuc imbatranit al burdufului se datoreaza unei ungeri necorespunzatoare sau o supraincalzire a cuplajului respectiv. Etanseitatea burdufului se verifica prin comprimarea lui manuala: o scapare de aer indica necesitatea schimbarii burdufului. In cazul in care un colier este slabit, se va impinge burduful, recoltandu-se o mica proba de unsoare. Daca aceasta este spumata sau are aspect laptos, ea este contaminata cu apa; prezenta unor impuritati mecanice (praf, nisip) poare fi sesizata tactil, prin frecarea unei mici cantitati de unsoare intre degete.
Prezenta unor urme de frecare pe arborele planetar se poate datora unor contacte cu sasiul automobilului datorita ruperii sau slabirii unui arc al suspensiei, deteriorarii suporturilor grupului motor-ambreiaj-cutie de viteza sau deformarii sasiului.
Producerea unor zgomote anormale in timpul deplasarii automobilului poate semnala, ca si in cazul celorlalte componente ale transmisiei, prezenta unor defectiuni ale arborelui planetar (tabelul 4.4). Verificarile se fac in aceleasi conditii ca in cazul diferentialului si transmisiei principale.
Tabelul 4.4 Diagnosticarea puntii motoare dupa zgomot

|