U n i v e r s i t a t e a d i n p i t e s t i
c a t e d r a I e i t
Laboratorul de electronica auto
Lucrarea nr. :
Echipament experimental pentru studiul,
implementarea si DIAGNOSTICAREA
INJECŢIEI DE BENZINĂ MONOPUNCT
1. SCOPUL LUCRĂRII
În lucrare se prezinta un sistem experimental destinat injectiei de benzina. Conceput ca un echipament complex, flexibil si ieftin, acesta permite: studiul, dezvoltarea, optimizarea si diagnosticarea sistemelor electronice de injectie a benzinei.
2. CONSIDERENTE TEORETICE
2.1. Aspecte privind alimentarea cu combustibil a motoarelor termice
Prepararea amestecului carburant, necesar alimentarii motorului cu ardere interna, p 10110c213k resupune pulverizarea fina a combustibilului lichid, vaporizarea si amestecarea acestuia cu aer.
Procedee de preparare a amestecului carburant:
Prin marirea vitezei unui jet de aer în raport cu combustibilul, procedeu demumit carburatie. Datorita simplitatii constructive a echipamentelor necesare, acest procedeu aproape ca s-a generalizat în alimentarea motoarelor cu aprindere prin scânteie (MAS).
Prin marirea vitezei jetului de combustibil în raport cu aerul, procedeu demumit injectie. Injectia necesita echipamente ceva mai complicate si a fost adoptata, pentru început, în alimentarea motoarelor cu aprindere prin compresie (MAC).
În ultima vreme, datorita restrictiilor severe de reducere a consumului si a noxelor din gazele esapate, injectia devine sistemul de alimentare al automobilului modern dotat cu MAS.
Avantajele injectiei de benzina:
pulverizarea foarte fina a benzinei în toate regimurile de lucru ale motorului, inclusiv în cele de sarcina si turatie redusa;
uniformitatea sporita a dozei de combustibil repartizata cilindrilor motorului, mai ales daca injectia se face individual, pentru fiecare cilindru în parte;
cresterea gradului de umplere al cilindrului datorita reducerii rezistentei gazodina-mice a traseului de admisie ce rezulta din eliminarea difuzorului (parte componenta a sistemelor de carburatie);
cresterea puterii efective a motorului termic datorata cresterii gradului de umplere;
scaderea consumului datorita unui amestec bine dozat si a unei arderi mai eficiente;
reducerea emisiilor poluante din gazele de ardere;
Clasificarea sistemelor de injectie a benzinei
a) Sisteme de injectie cu regulatoare mecanice
Au fost primele echipamente de injectie utilizate în alimentarea MAS-urilor. Erau realizate din subansamble mecanice complexe ce prezentau un pret de cost ridicat si o fiabilitate redusa. Controlul dozarii amestecului carburant precum si a unghiului de avans necesar aprinderii se faceau cu ajutorul unor regulatoare mecanice. În prezent aceste echipamente au fost abandonate.
b) Sisteme de injectie cu comanda electronica în bucla deschisa
Aceste echipamente controleaza unghiul de avans si dozarea amestecului carburant pe baza unor caracteristicii ale motorului ce sunt stocate în memoria echipamentului. Un astfel de echipament contine o serie de traductoare prin care se determina conditiile de lucru ale motorului (turatie, sarcina, temperatura motor, temperatura aer, etc.), conditii functie de care se determina comenzile concrete ce se transmit motorului.
De obicei se memoreaza caracteristicile statice pentru câteva valori discrete ale parametrilor motorului. Din acest motiv, procesul de elaborare a unei comenzi trebuie sa parcurga câteva etape: citirea parametrilor motorului, aproximarea parametrilor momentani cu cele mai apropiate valori ce sunt stocate în memorie, citirea din memorie a comenzilor primare, corectia comenzilor primare în functie de regimurile particulare în care se afla motorul, transmiterea comenzilor spre elementele de executie.
Principala problema a acestor tipuri de echipamente este ca nu pot urmari si efectul comenzilor date motorului termic. Functionarea acestor echipamente este afectata si de dispersia tehnologica a parametrilor motorului termic.
c) Sisteme de injectie electronice în bucla închisa
De aceasta data, în vederea optimizarii comenzilor de dozare si a unghiului de avans, sistemul dispune de doua bucle de reactie negativa folosind un traductor l si respectiv un traductor de detonatii.
Aceste echipamente moderne sunt mai putin afectate de perturbatiile provocate de dispersia tehnologica, modificarea în timp a caracteristicilor, conditiile meteo, erori de pilotaj, etc.
2.2. Descrierea echipamentului
Schema bloc a echipamentului se prezinta în fig.1. Semnalele analogice sunt prelucrate cu ajutorul unei cartele de achizitie a datelor de tipul PCL 812, produsa de firma Advantech. Semnalele ce prezinza caracter digital sunt prelucrate de catre un modul conceput spre a lucra ca o extensie a cartelei anterior mentionate. Datele obtinute, prin intermediul cartelei sau a extensiei, sunt preluate, memorate si interpretate cu ajutorul unui calculator IBM-PC.

Fig.1 Schema bloc a unui echipament de achizitie a datelor utilizat în domeniul auto
2. 3. Prelucrarea semnalelor analogice. Prezentarea cartelei PCL-812
Prelucrarea semnalelor furnizate de traductoarele din compartimentul motor este uneori dificila, deoarece sunt supuse unor perturbatii puternice produse de scânteile electrice ale aprinderii, de comutatiile motoarelor electrice de actionare, etc.
Pentru reducerea perturbatiilor se practica urmatoarele metode: separarea galvanica a semnalelor prin utilizarea de optocuploare, utilizarea unor filtre trece jos cu frecventa de taiere de cca. 200 Hz, utilizarea unui singur punct de masa, separarea fata de retea a alimentarii PC-ului, ecranarea tastaturii într-o cutie metalica (cusca Faraday), etc.
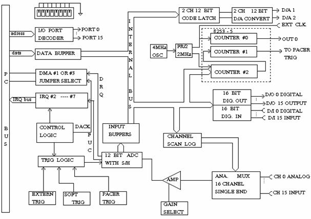
Performantele sistemului în prelucrarea semnalelor analogice, sunt date de cartela PCL-812, a carei schema bloc este prezentata în fig.2.
Facilitati în prelucrarea semnalelor analogice de intrare
Canale: 16 single - ended;
Convertor A/D: 12 biti, aproximatii succesive, sample & hold încorporat, maxim 30KHz;
Gama tensiunilor de intrare: bipolar 10 V, selectabila hard;
Declansarea conversiei: soft, ceas intern programabil(peacer), declansare externa;
(rata declansare peacer - programabila în domeniul 0,5 Mhz pâna la 35minute/puls;
Transferul datelor: control program (soft), control DMA, control întreruperi PC;
Facilitati în prelucrarea semnalelor analogice de iesire
Canale: 2, independente;
Convertor D/A: rezolutie 12 biti, timp setare 30ms;
Gama tensiunii de iesire: unipolara, 0 5V pentru referinta de pe placa;
Curent maxim de iesire: 5 mA;
Facilitati în prelucrarea semnalelor digitale
Canal de intrare: 16 biti compatibil TTL;
Canal de iesire: 16 biti compatibil TTL;
Timer/Counter programabil 8253-5
Canalele 1 si 2 sunt utilizate de peacer (ceas intern ce poate declansa conversia A/D);
Canalul 0 este disponibil în totalitate utilizatorului;
Baza de timp a timer-ului: 2 Mhz.

Fig. 2. Schema bloc a cartelei PCL 812
Canal DMA
Nivel: 1 sau 3, salturi selectabile;
Validare: via S0, S1 si S2 din registrul de control.
Canal DMA
Nivel: IRQ 2 IRQ 7, salturi selectabile;
Validare: via S0, S1 si S2 din registrul de control.
Plasarea în spatiul I/ O al PC-ului
Adresa de baza: liniile de adresa A4 A8 pot fi configurate cu un switch de pe placa;
Numar de adrese ocupate: 16
În baza teoremei esantionarii si a experientei practice, pentru conversia A/D trebuie utilizata o frecventa de esantionare de aproximativ 10 ori mai mare decât frecventa maxima a semnalului analogic ce urmeaza a fi convertit. În aceasta idee, frecventa maxima a unui semnal ce poate fi prelucrat de catre cartela PCL 812 este:
![]()
![]()
Bineânteles ca aceasta valoare creste în momentul în care nu se lucreaza simultan cu toate canalele analogice ale cartelei PCL 812. În consecinta, putem spune ca domeniul semnalelor analogice, specifice traductoarelor auto, este acoperit satisfacator de caracteristicile tehnice ale cartelei PCL 812.
2. 4. Prelucrarea semnalelor digitale. Prezentarea extensiei.
La proiectarea partii de prelucrare a semnalelor digitale s-a avut în vedere utilizarea echipamentului atât la studiul unor echipamente de injectie, total sau partial puse la punct, cât si la implementarea unor echipamente noi pentru motoarele cu aprindere prin scânteie.
Plecând de la aceasta premisa, interfata trebuie sa fie capabila sa achizitioneze simultan mai multe semnale de tip digital cum sunt cele ce poarta informatii despre: turatia motorului, pozitia volantului, durata impulsului de injectie, durata de conductie a bobinei de inductie etc.
Analizând aceste cerinte, se observa ca ele nu pot fi acoperite în totalitate de catre facilitatile cartelei PCL 812 în domeniul digital. Starea unor semnale de tip "tot sau nimic" se poate identifica cu ajutorul intrarilor digitale, dar masurarea turatiei si în acelasi timp a duratei anumitor impulsuri nu mai este posibila.
Aceasta situatie a fost rezolvata prin utilizarea unei extensii a carei schema bloc se prezinta în fig. 3. Extensia este proiectata în ideea de a masura simultan duratele a doua semnale digitale, motiv pentru care schema contine doua canale identice A, B.
Legatura dintre extensie si cartela PCL 812 se face astfel: 8 iesiri digitale ale cartelei (DO DO ) sunt utilizate pentru controlul extensiei; 8 intrari digitale ale cartelei (DI DI ) sunt utilizate pentru preluarea datelor de la extensie. Cele 8 intrari si iesiri digitale, folosite pentru legatura cu extensia, nu mai sunt disponibile utilizatorului.
Nucleul fiecarui canal este constituit de catre un numarator binar de 16 biti ce contorizeaza impulsurile de ceas, sosite la o intrare a portii P2 (respectiv P4), pe durata de "unu logic" a semnalului aplicat la cealalta intrare a portii. De aici apare necesitatea de a converti în puls pozitiv orice durata a semnalului (durata de "unu logic", durata de "zero logic" sau perioada), ce se doreste a fi masurata. Astfel, poarta P1 (respectiv P3), realizeaza conversia în puls pozitiv a duratei de "zero logic" a semnalului, iar divizorul cu 2 realizeaza conversia în puls pozitiv a perioadei semnalului de studiu.
Cu ajutorul multiplexoarelor 4:1, comandate de catre latch-ul de control al canalului, se selecteaza mai întâi una din cele patru intrari, iar dupa aceea durata ce se doreste a fi masurata. Fie Tm durata de masura a semnalului selectat.
Pe
intervalul Tm, poarta P2 (respectiv
P4) este deschisa, iar numaratorul este incrementat în ritmul
unui semnal de ceas, selectat prin

Fig. 3 Schema bloc a extensiei atasate cartelei PCL 812
La sfârsitul fiecarui interval de masura Tm, tranzitia negativa a acestuia declanseaza monostabilul CBM care, dupa o mica întârziere, comanda transferul continutului numaratorului în latch-ul de memorare de 16 biti. Sfârsitul impulsului de transfer declanseaza monostabilul CBM 2 care comanda stergerea numaratorului binar. În acest mod începutul fiecarui interval Tm gaseste numaratorul gol. Din cele prezentate anterior, putem spune ca în latch se regaseste întotdeauna rezultatul masurarii anterioare pulsului în curs de derulare.
Determinarea
duratei se face prin relatia Tm
=
Conectarea celor doua latch-uri de 16 biti la magistrala de 8 biti se realizeaza printr-un bloc de multiplexoare 4:1 ale caror intrari de selectie sunt comandate de latch-ul de control al canalului.
Din modul de conectare rezulta ca citirea unui canal se face în doua etape, canalul si octetul prezent pe magistrala este selectat prin cuvântul de comanda al extensiei.
2.5. Prezentarea software a cartelei PCL 812
Din punct de vedere soft, producatorul livreaza placa PCL 812 cu un mediu de dezvoltare, LabDas si cu un DRIVER SOFT. Utilizarea mediului LabDas nu necesita cunostinte avansate de programare si este conceput în vederea dezvoltarii rapide a unor aplicatii de control industrial.
Pentru aplicatii mai complexe, scrise în limbaj înalt de programare se utilizeaza DRIVER-ul SOFT. Acesta, contine un grup de subrutine care permit programatorului elaborarea aplicatiilor fara sa cunoasca în amanuntime detaliile hard ale placii. Aceste subrutine sunt disponibile dupa rularea unui program ce ramâne rezident în memoria calculatorului pe durata desfasurarii aplicatiei.
Utilizarea driverului soft implica completarea unei tabele de stare prin care se specifica date tehnice importante despre cartela PCL 812 (adresa de baza, numarul intrarilor analogice utilizate, gama tensiunilor de intrare, modul de transfer al datelor, modul de declansare, rata conversiilor etc.).
numarul de placi PCL comandate ( 0 = o placa, 1= doua placi)
Param[1] adresa de baza a placii în spatiul I/O al PC-ului ( 200 3F0 Hex).
Param[2] numarul canalului DMA pentru transferul datelor la / de la buffer-ul A.
Param[3] numarul canalului DMA pentru transferul datelor la / de la buffer-ul B.
Param[4] nivelul IRQ al întreruperilor, între 2 si 7.
Param[5] C1
Param[6] C2
Constantele
C1, C2 sunt utilizate la stabilirea frecventei peacerului ![]()
Param[7] mod declansare conversie A/D (0 = declansare interna, de la peacer; 1=declansare externa)
Param[8] modul de realizare al conversiei A/D (1 = conversie ciclica, 1=conversie neciclica)
NOTĂ : Când se începe conversia, datele sunt stocate la începutul buffer-ului de date, una dupa alta pâna când se atinge numarul de conversii indicat de param[10]. De exemplu, pentru param[10]=100 trebuie executate 100 conversii A/D. În modul non-ciclic driver-ul opreste procesul de conversie dupa executarea celei de-a 100 conversii. În modul ciclic driver-ul nu se opreste dupa a 100-a conversie, procesul de conversie continua cu un nou ciclu. Datele din noul ciclu sunt depuse de la începutul buffer-ului de date, peste cele din ciclul anterior. Ciclurile de conversie A/D se repeta pâna când este data o comanda de STOP.
NOTĂ : Modul ciclic nu este suportat de transferul de date soft (Software Date Transfer).
Param[9] rezervat
Param[10] adresa de offset pentru buffer-ul de date A
Param[11] adresa de segment pentru buffer-ul de date A
Param[12] adresa de offset pentru buffer-ul de date B
Param[13] adresa de segment pentru buffer-ul de date B
NOTĂ : Pentru C sau PASCAL, memoria pentru buffer-ele A si B se aloca folosind functiile încorporate în limbajul respectiv. Adresele zonelor de memorie se salveaza în param[10] pâna la param[13]. Daca buffer-ul B nu este folosit Param[12] si Param[13] vor fi setati cu 0.
Param[14] numarul conversiilor A/D dintr-un ciclu (în gama 1 ÷ 32767).
Param[15] numarul canalului A/D de start
Param[16] numarul canalului A/D de stop
Param[17] câstigul pe canale
Param[32] seteaza portul digital de intrare dorit ( 0 = portul Low, 1= portul High)
Param[38] seteaza portul digital de iesire dorit ( 0 = portul Low, 1= portul High)
Param[45] returneaza codul erorii aparute în functionarea placii
Descrierea functiilor suportate de DRIVER-ul SOFT
Driver-ul soft este un program TSR (Terminate & Stay Resident) ce trebuie instalat înaintea folosirii functiilor ce urmeaza:
Grupul functiilor referitoare la conversia A/D
Functia 0: Mesaj de eroare, întoarce un pointer spre un sir de caractere
Functia 2: Versiune driver, indica versiunea driverului soft utilizat
Functia 3: Initializare hard a placii în conformitate cu tabelele de parametrii. Aceasta functie se executa înaintea oricarei alte functii.
Functia 4: Initializarea conversiei A/D. Se apeleaza înaintea altor functii A/D.
Functia 5: Conversie A/D cu transfer software a datelor. Se utilizeaza bufferul A, modul nonciclic, numarul conversiilor este dat de param[14], intervalul între conversii este dat de ceasul intern sau cel extern.
Functia 6: Conversie A/D cu transfer DMA a datelor. Se executa un numar de conversii indicat de param[14], transferul datelor este facut în background, modul ciclic sau nonciclic, procesul se opreste executând functia 8. Dupa executarea acestei functii este necesar sa se verifice starea operatiei prin apelarea functiei 7.
Functia 7: Indica starea operatiei executata de functia 6.
Functia 8: Stop pentru functia 6.
Functia 9: Conversie A/D cu transfer al datelor prin întreruperi. Se executa un numar de conversii indicat de param[14]; transferul datelor este facut în background, modul ciclic sau nonciclic; procesul se opreste executând functia 11. Dupa executarea acestei functii este necesar sa se verifice starea operatiei prin apelarea functiei 10.
Functia 10: Indica starea operatiei executata de functia 9.
Functia 11: Stop pentru functia 9.
Functia 100: Initializare "Block Channel Scan" cu transferul soft al datelor.
Functia 101: Realizeaza "Block Channel Scan" cu transferul soft al datelor. Aceasta functie realizeaza baleieri declansate soft pe fiecare canal al unui bloc.
Functia 105: Realizeaza "Block Channel Scan" cu transferul datelor prin întreruperi.
Functia 106: Indica starea operatiei executata de functia 105.
Functia 107: Stop pentru functia 105.
Grupul functiilor referitoare la conversia D/A
Functia 12: Initializarea conversiei D/A.
Functia 13: Conversia D/A cu transfer software a datelor. Se realizeaza 'N' conversii D/A, 'N' este dat de param[14], buffer A, modul nonciclic, timpul dintre doua conversii este dat de ceasul intern sau extern.
Grupul functiilor referitoare la intrari / iesiri digitale
Functia 20: Initializarea operatiilor DI. Aceasta functie se executa înaintea oricarei alte functii DI.
Functia 21: Realizeaza intrarea digitala cu transfer software a datelor. Se transfera 'N' date în buffer-ul A, modul nonciclic, timpul dintre doua conversii este dat de ceasul intern sau extern, unde 'N' este specificat de param[14].
Functia 28: Initializarea operatiilor DO. Aceasta functie se executa înaintea oricarei alte functii DO.
Functia 29: Realizeaza iesirea digitala cu transfer software a datelor. Se transfera 'N' date în buffer-ul A, modul nonciclic, timpul dintre doua conversii este dat de ceasul intern sau extern. Unde 'N' este specificat de param[14].
Functia 30: Reciteste starea curenta a iesirilor digitale.
Elaborarea aplicatiilor
Înainte de rularea programului aplicatie, driver-ul trebuie încarcat în memoria sistemului. Pentru mediul integrat TURBO C, se creaza un proiect cu extensia "PRJ", de exemplu DAN.PRJ. Acesta va contine modurile de interfata corespunzatoare si programul respectiv. În functie de modul utilizat în proiect se va include:
pentru modul minimal: 812 cs.lib,
pentru modul compact: 812 cc.lib,
pentru modul mediu: 812 cm.lib,
pentru modul maximal: 812 cl.lib.
Algoritmul care trebuie respectat în elaborarea unei aplicatii în C, utilizând driverul soft furnizat de firma se prezinta în figura 4.

Fig. 4. Algoritmul de elaborare a aplicatiilor folosind driverul soft
Exemplu de program pentru limbajul C :
#include<stdio.h>
#include<stdlib.h>
#include<conio.h>
#include<dos.h>
void main()
pcl812(100, param); // Func 100 : A/D initialization
if (param[45] != 0)
/* ...................masurare tensiune ...........................*/
for(h=0;h<200;h++)
do while((param[46] & 1) != 0); // 0 : not active, 1 : active
/ * .......... alte operatii ...............*/
volt[i]=( (5 - (-5)) * media[i] / 4096) + (-5);
/* (5 - (-5)) : A/D input range (-5V to 5V)
4096 : Full scale 12 bit A/D data
(-5) : A/D input range "-5" V */
/ * .......... alte operatii ...............*/
}// de la main
2.6. Prezentarea software a extensiei
Extensia este un cuvânt de comanda prin care se specifica, pentru fiecare modul care semnal de intrare va intra în procesul de masura si care durata a semnalului digital va fi masurata. Structura cuvântului de comanda al extensiei este prezentata mai jos:
D1, D0 - specifica, în cod binar, semnalul de la intrarea unui canal ce intra în procesul de masura;
D3, D2 - durata de masura dorita
00 - masoara durata HIGH;
01 - masoara durata LOW;
10 - masoara perioada semnalului;
11 - neoperationala.
D5, D4 - Biti de comanda utilizati la preluarea datelor ( Selectie octet )
00 - selectie octet Low canal A;
01 - selectie octet High canal A;
10 - selectie octet Low canal B;
11 - selectie octet High canal B.
D7, D6 - Biti de comanda
00 - programare canal A&B;
01 - programare canal B;
10 - programare canal A;
Modul de lucru cu extensia se desfasoara, dupa cum se arata si în figura 5, în urmatoarea secventa:
a) se emite un octet (pe adresa portului low al cartelei PCL 812) cu rol de cuvânt de comanda pentru canalul A; acum se decide care intrare si ce durata a semnalului digital va fi masurata de catre canalul A;
b) similar pentru canalul B;
c) se executa o temporizare cel putin egala cu o perioada a semnalului analizat;
d) se emite un cuvânt de comanda care va selecta care canal (A sau B), si respectiv care octet (low sau high), este dirijat spre iesire;
e) se face o citire de la adresa portului low al cartelei PCL 812;
f) punctele d) si c) se repeta pâna la citirea completa a celor doua canale;
g) de aici se poate reprograma modul de lucru, daca este cazul, sau se poate urmari doar modificarea duratelor semnalelor alese prin masurari repetate la diferite intervale de timp;
Trebuie remarcat faptul ca odata programate, cele doua canale executa în mod permanent si independent cicluri de masura. Deci, atunci când citim un canal, putem considera cu o buna aproximatie, ca este chiar valoarea din acel moment.

Fig. 5. Modul de lucru cu extensia.
3. DESFĂsURAREA LUCRĂRII
3. 1. Cunoasterea cartelei de achizitie a datelor (PCL 812)
Se analizeaza:
- modul de schimbare a adresei de baza;
- modul de setare a câstigului pe canalele analogice;
- modul de setare a declansarii conversiei A/D;
- modul de setare a nivelului de întrerupere catre PC;
- modul de conectare a semnalelor la cartela.
3. 2. Analiza modului de interconectare între placa de achizitie si extensia conceputa pentru masurarea duratelor.
3. 3. Realizarea aplicatiilor în mediul LabDas.
Se realizeaza un program pentru achizitia si afisarea evolutiei unui semnal analogic.
3. 3. Realizarea aplicatiilor utilizând DRIVER-ul SOFT
Se realizeaza un program în limbajul TURBO C pentru achizitia, memorarea si afisarea (sau listarea) evolutiei temporale a unui semnal analogic lent variabil.
Testati care este frecventa maxima a semnalului de intrare ce poate fi prelucrat de cartela PCL 812.
Pentru cardul din laborator sunt valabile urmatoarele adrese:
BAZĂ + 0: (220 hex)
BAZĂ + 1: (221 hex)
BAZĂ + 2: (222 hex)
BAZĂ + 3: (223 hex)
BAZĂ + 4: (224 hex)
BAZĂ + 5: (225 hex)
BAZĂ + 6: (226 hex)
BAZĂ + 7: (227 hex)
BAZĂ + 8: (228 hex)
BAZĂ + 9: (229 hex)
BAZĂ +10: (22A hex)
BAZĂ +11: (22B hex)
BAZĂ +12: (22C hex)
BAZĂ +13: (22D hex)
BAZĂ +14: (22E hex)
BAZĂ +15: (22F hex)
3. 4. Folosind DRIVER-ul SOFT si mediul integrat TURBO C se cere realizarea unui program care sa simuleze functionarea unui sistem electronic de comanda în bucla deschisa a injectiei monopunct. Acest program trebuie sa realizeze urmatoarele functii:
- masurarea tensiunilor electrice ce provin de la traductoarele ce convertesc parametrii motorului (temperatura motor, pozitie clapeta, turatie);
- realizarea conversiei din tensiune în parametrii motorului si acolo unde este necesar liniarizarea caracteristicilor traductoarelor;
- aproximarea marimilor determinate cu cele prezente în caracteristica memorata;
- cautarea timpului de injectie pentru parametrii aproximati, într-o tabela de memorie data;
- corectarea prin interpolare liniara a timpului de injectie pentru cazurile în care valorile masurate nu "cad" peste cele memorate în tabela;
- programarea corespunzatoare a unui canal timer pentru comanda injectorului, comanda ce trebuie facuta sincron cu semnalul utilizat pentru determinarea turatiei;
- sa afiseze pe ecran parametrii motorului si timpul de comanda elaborat.
Observatii:
- pentru masurarea pozitiei clapetei si a temperaturii motorului se folosesc doua canale analogice ale cartelei PCL 812;
- pentru masurarea turatiei se foloseste un canal al extensiei programat pentru masurarea perioadei;
- pentru comanda injectorului se utilizeaza canalul 0 al circuitului 8253, canal al placii PCL 812 ramas la dispozitia utilizatorului. Declansarea pulsului generat se va face hard de catre semnalul utilizat la masurarea turatiei.
- caracteristica redusa ce se considera ca fiind memorata se gaseste în fisierul motor.bin
CONŢINUTUL REFERATULUI
1. Care este rolul urmatoarelor blocuri functionale ale schemei din fig. 3: multiplexorul 4:1de la intrarea canalului, latch-ul de control al canalului,
2. Folosind circuite timer 8253 se cere proiectarea unei extensii la cartela PCL 812 care sa realizeze aceleasi functiuni cu cea prezentata în fig. 3. Precizati modul de conectare a magistralei de date si a semnalelor caracteristice circuitului 8253 la intrarile-iesirile digitale ale cartelei PCL812.
|