ALTE DOCUMENTE
|
||||||||||
INSTALATII SANITARE
5.10.1. Destinatie si cerinte generale
Instalatiile sanitare navale trebuie sa asigure, pentru pasagerii si echipajul de la bordul navelor, apa potabila, apa de spalare pe corp, apa de mare pentru spalarea obiectelor sanitare, precum si evacuarea peste bord a apelor uzate si dejectiilor, respectand normele sanitare navale si conventia internationala pentru prevenirea poluarii de catre nave (MARPOL 73/78).
Dupa functiile lor, instalatiile sanitare sunt de alimentare cu apa si de scurgeri. 17317g66r
Instalatiile de apa potabila sunt destinate pentru pastrarea rezervelor si pentru alimentarea cu apa potabila a consumatorilor din bucatarii, careuri, posturi de comanda si incaperi medicale. Apa potabila trebuie sa fie dulce, curata si transparenta. Ea nu trebuie sa contina microorganisme sau substante daunatoare organismului uman.
La bordul navelor apa potabila
poate proveni dintr-o retea
Pentru navele maritime cu zona de navigatie nelimitata, consumul specific de apa potabila este normat la maximum 30 l / om zi. Rezervele de apa potabila ale unei neve trebuie sa asigure consumul de apa pentru cel putin 7 zile.
Instalatiile de apa tehnica sunt destinate pentru pastrarea rezervelor si
pentru alimentarea cu apa de spalare pe corp a consumatorilor din cabine de
locuit, bai, spalatorii, careuri, posturi de comanda si incaperi medicale.
Instalatiile de apa tehnica trebuie sa fie autonome si sa nu poata comunica cu
instalatiile de apa potabila. Apa de spalare trebuie sa fie apa obtinuta
dintr-o retea
Instalatia de apa tehnica are un circuit de apa calda si un circuit de apa rece. Apa calda este preparata intr-un schimbator de caldura central si apoi, prin tubulaturi separate, ea este distribuita la locurile de utilizare.
Instalatiile de alimentare cu apa de mare asigura apa necesara spalarii WC-urilor si pisoarelor.
Instalatiile de scurgeri cuprind circuitele de scurgeri sanitare si pe cele de evacuare a dejectiilor. Instalatiile de scurgeri sanitare evacueaza apele dusurilor, bailor, lavoarelor, spalatoarelor si spatiile in care sunt transportate animale vii.
Apele uzate si dejectiile evacuate peste bord se trateaza in instalatii speciale, dotate cu dispozitive care impiedica descarcarea lor necontrolata. Daca apele uzate se dezinfecteaza prin clorinare, cantitatea de clor liber din apele uzate descarcate peste bord nu trebuie sa depaseasca 5 mg/l .
Navele care nu au instalatii de tratare a apelor uzate sunt dotate cu instalatii de colectare si maruntire a dejectiilor, cu posibilitati de evacuare peste bord dupa dezinfectare, in zone permise, in barje colectoare special amenajate sau in rezervoare stationare amplasate la mal.
5.10.2. Particularitati de constructie
5.10.2.1. Instalatii de alimentare cu apa
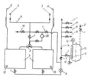
In fig.38 este reprezentata schema unei instalatii de alimentare cu apa potabila (1- armaturi de inchidere; 2- tancuri de apa potabila; armaturi cu trei cai; 4- tubulatura de admisie in tancurile de depozitare, de la mal, doc sau alta nava; 5- priza de punte pentru racordarea tubulaturii flexibile de alimentare; 6- aerisiri; 7- armaturi de retinere-inchidere; 8- pompa; 9- tubulatura instalatiei de aer comprimat; 10- hidrofor; 11- sticla de nivel; 12- manometru; 13- supapa de siguranta; 14- tubulatura magistrala a instalatiei de apa potabila; 15, 16, 17- tubulaturi care alimenteaza diferite grupe de consumatori; 18- traductor de nivel; 19-tubulatura de la instalatia de desalinizare; 20- aparat bactericid).
Rezerva de apa potabila a navei se pastreaza in cel putin doua tancuri nestructurale, protejate in interior cu lapte de ciment, polietilena sau vopsele din rasini sintetice alimentare. Aceste tancuri se amplaseaza departe de sursele de caldura sau de tancurile cu alte lichide impotriva inundarii si murdaririi: ele se protejeaza prin utilizarea sticlelor de nivel (nu a sondelor) si a tuburilor de ambarcare ridicate deasupra puntilor cu cel putin 400 mm. Pentru fierberea apei potabile se folosesc aparate individuale, amplasate in oficii.
Apa
tehnica se pastreaza in tancuri structurale sau nestructurale, protejand-o prin
masuri constructive impotriva murdaririi sau degradarii prin incalzire. Pentru
a evita inghetarea ei pe timp de iarna, tancurile de depozitare au serpentine
de incalzire. Instalatiile de apa tehnica au si circuite de apa calda,
furnizata de un boiler alimentat electric, cu abur sau cu apa de racire a
motoarelor principale. Temperatura apei calde se mentine

consumatori si
refuleaza in boiler, folosind o tubulatura inelara autonoma.
La montarea si probarea instalatiilor sanitare se procedeaza la examinarea exterioara a dispunerii, fixarii si modului de executie al tubulaturii si utilajelor. Se verifica posibilitatea de acces la elementele de imbinare, la armaturi si la utilaje, existenta dopurilor de golire, deservirea facila a armaturilor din instalatie, amplasarea corecta a prizelor de evacuare, protectia interioara a tancurilor de apa potabila si a celorlalte rezervoare, amplasarea corecta a sorburilor, aerisirilor, sondelor.
Instalatiile sanitare in ansamblu se probeaza si se receptioneaza in timpul probelor de cheu, inainte de iesirea navei in probele de mare. Distilatoarele de apa si instalatiile de tratare a apelor uzate se probeaza la mare.
Instalatiile de alimentare cu apa potabila , apa tehnica si apa sarata se probeaza in functiune cu toti consumatorii prevazuti in proiect, verificandu-se functionarea hidrofoarelor, supapelor de siguranta, alimentarii cu aer a hidrofoarelor. De asemenea, se verifica respectarea presiunii de pornire si oprire automata a pompelor de alimentare, numarul de porniri pe ora, caracteristicile pompelor si electromotoarelor montate in instalatie. Se mai verifica functionarea lampilor bactericide, prin analiza probelor luate din apa tratata, functionarea distilatorului de apa, masurand debitul sau, temperatura de vaporizare, continutul de saruri [mg NaCl/l].
Se probeaza functionarea instalatiilor de scurgere a apelor uzate, verificand pe rand toate tubulaturile de scurgere, pentru a constata daca nu sunt obturate, daca au fost montate cu pantele prevazute in proiect. Se verifica functionarea clapetilor de retinere montati pe bordaj, functionarea armaturilor tancului de colectare a dejectiilor, masurand timpul de golire cu pompa sau ejectorul, care nu trebuie sa depaseasca o ora, semnalizarea nivelului din tanc, posibilitatile de spalare cu apa si inmuiere cu abur a incarcaturii tancului.
Instalatiile de tratare a apelor uzate si dejectiilor se probeaza in functionare, in timpul probelor de mare, urmarindu-se modul de producere si colectare a reziduurilor solide si separarea apei curate. Se iau probe din apa curata si se determina necesarul biochimic de oxigen pe 5 zile (NBO)5 substantele in suspensie SS [mg/l] si indexul microorganismelor de tipul coli in 100 ml, care trebuie sa corespunda normelor. De asemenea, se probeaza mijloacele de evacuare la mal sau in barje colectoare, a apelor uzate, precum si racordurile flexibile de model international folosite in acest scop.
Instalatiile de colectare a gunoaielor se probeaza prin verificarea capacitatii lor, precum si a amplasarii pe nava, avand in vedere posibilitatea deversarii gunoiului la mal sau in barje colectoare. Se verifica functionarea instalatiilor de maruntire a gunoiului, precum si functionarea agregatelor de incinerare. La incineratoare se determina capacitatea de a folosi diferite calitati de gunoaie si namol de apa tratata, amestecat cu combustibil lichid. De asemenea, se verifica protectiile arzatorului la lipsa flacarii sau aerului si in conditiile de depasire a temperaturii admise la evacuarea gazelor.
|