MAsINI DE FREZAT CU CONSOLĂ
I. Generalitati:
Masinile de frezat cu consola formeaza categoria de baza printre masinile de frezat. Caracteristica principala a acestor masini, dupa cum arata însasi denumirea lor este consola care mentine masa de lucru. Datorita acestui sistem de rezemare a mesei, ele sunt destinate pentru prelucrarea pieselor mici care necesita o mare varietate de operatii. Astfel, pe masinile de drepte sau elicoidale, came, roti dintate, suruburi - melc, etc.
Tendinta de dezvoltare si de perfectionare a masinilor de frezat cu consola este orientata în urmatoarele directii:
cresterea vitezelor de aschiere si de avans.
înzestrarea masinii cu mecanisme de eliminare a jocului dintre piulita si surubul conducator al mesei la frezare în sensul avansului.
folosirea mecanismelor de comanda cu selectoare mecanice sau hidraulice.
folosirea comenzii dupa program.
introducerea deplasarilor rapide la cursele în gol.
automatizarea ciclurilor de frezare.
tipizarea ansamblurilor componente ale masinii.
sporirea rigiditatii masinii.
introducerea finarii axului principal.
Toate aceste masuri au ca scop marimea productivitatii masinii, ridicarea preciziei si calitatii suprafetei prelucrate, reducerea efortului fizic pentru manipularea masinii si reducerea pretului de cost al prelucrarii.
II. Constructia masinilor de frezat cu consola:
Ansamblurile principale ale masinii de frezat cu consola sunt: corpul masinii si placa de baza, cutia de viteze, cutia de avans, consola, sania transversala, masa, instalatia electrica si instalatiile de ungere si racire. La masinile de frezat orizontale, un ansamblu deosebit îl formeaza bratul suport iar la masinile de frezat verticale, capul - portfreza.
1 - corp: 2 - culie de vileze; 3 - culie de avansuri; 4 - consola: 5 - sanie transversala; 6 - masa; 7 - bratul· suporl; 8 - dorn - portfreza; 9 - lagar-suport; 10-contrasuporl; 11-pompa .instalatiei de racire; 12-placa de baza
1. CORPUL MAsINII sI PLACA DE BAZĂ
Corpul masinii de frezat constituie elementul de baza, pe care se monteaza fix sau cu posibilitati de deplasare toate celelalte ansambluri ale masinii. Unele, din acestea - cum sunt cutia de viteze, motorul electric, transmisiile de legatura sau de derivatie si uneori cutia de avansuri - se monteaza in interiorul corpului. Altele - ca bratul-suport,consola, pompa de racire, mecanismele de comanda si uneori cutia de avansuri - se monteaza în exterior, pe corpul masinii. Pentru montarea si demontarea pieselor sau a ansamblurilor, fixarea mecanismelor de comanda, precum si pentru vizitarea sau reglarea mecanismelor, in peretii corpului se executa gauri si ferestre de diferite forme, în vederea accesului la aceste mecanisme.
1. Corpul masinilor de frezat orizontale si universale are o forma prismatica sau, piramidala, cu sectiunea transversala dreptunghiulara chesonata. Corpul formeaza o piesa rigida, care asigura pozitia reciproca a ansamblurilor montate pe el pentru orice regim de lucru. În acest scop, în interior el este întarit cu nervuri, pereti transversali si verticali. Compartimentarea corpului prin pereti reduce în acelasi timp si rezonanta spatiului gol din interior, ceea ce reprezinta un avantaj fata de constructiile vechi. Corpul si placa de baza 2 (fig. 2) se confectioneaza din fonta de calitate prin turnare dintr-o singura bucata cu placa de baza sau separat si îmbinat cu aceasta din urma. La partea superioara. a corpului se afIa doua gauri 3 in care culiseaza doua bare paralele care formeaza bratul - suport. Pe partea frontala se prelucreaza cu precizie ghidajul vertical 4, in lungul caruia se deplaseaza consola. Pe partea laterala a corpului este prevazuta fereastra 5, care serveste pentru montarea mecanismului miscarii principale (cutia de viteze), precum si pentru montarea placii mecanismelor de comanda. La partea interioara se afla nisa 6, care serveste pentru montarea echipamentului instalatiei electrice ale masinii .
La majoritatea masinilor de frezat, bratul - suport formeaza o traversa chesonata, ghidând pe ghidajele 1 (fig. în forma de coada de rândunica
|
|
|
|
Fig. 2 Corpul si placa de baza Fig. 3 Corpul si placa de baza
a unei masini de frezat orizontale ale masinii FW - 355X1250 III
Placa de baza 2 se asambleaza cu corpul masinii si, pe lânga rolul ce-l îndeplineste ca reazem al masinii, constituie in acelasi timp si rezervorul lichidului de racire. Peretele 3 din spate (fig. este de obicei retras spre interior si serveste drept locas pentru montarea
|
|
~ of Fig. 4 Vederea din spate Fig. 5 Vederea din spate
a corpului masinii a corpului masinii
curelei (între axele 4 si 5), montarea electropompei de racire 6, montarea unei parti din instalatia de racire, montarea motorului de actionare 7 etc. Aceste instalatii sânt acoperite
de un capac de protectie, asigurând în acelasi timp si o forma exterioara simpla.
La sistemele de antrenare a cutiei de viteze prin transmisie cu curea, motorul se monteaza de obicei în partea inferioara a corpului masinii, sub cutia de viteze (fig. si 5 iar la actionarea cu motorul 1 de tip flansat, acesta se fixeaza de peretele din spate Spatiul paralelipipedic 2 de sub peretele transversal 3 al cutiei de viteze este rezervat instalatiei electrice. Echipamentul electric este montat pe un sasiu si poate fi tras în afara pentru a usura remedierea defectelor ce s-ar ivi în exploatare (fig. 6).
Fixarea placii de baza 4 de corpul ma9inii se face prin intermediul suruburilor-pre- zoane 5.
Compartimentarea interioara prin pereti cât si nervurarea peretilor nu poate fi generalizata, ea fiind specifica fiecarui tip de masina, în functie de forma si amplasarea mecanismelor de actionare montate in interior. De asemenea, dispozitia elementelor de rigidizare rezulta din încercarile la care este supus corpul si placa de baza, în vederea obtinerii unei piese rigide care sa corespunda scopului ce-l îndeplineste în ansamblul masinii. .
2. Corpul masinilor de frezat verticale difera de al masinior de frezat orizontale prin partea superioara, care are o forma încovoiata pentru a forma reazemul necesar sustinerii axului principal sau al capului de frezare, orientat vertical.
Corpul 1 (fig. 7) este destinat pentru masinile de frezat verticale cu axul principal fix si fara cap de frezare. Deschizatura dreptunghiulara 2 serveste pentru montarea mecanismelor de actionare ale axului principal, iar de conturul ei se fixeaza placa mecanismelor de comanda. Nisa 3 serveste pentru montarea echipamentului electric.
|
|
|
|
(identic cu_sistemul folosit la FA 5U Fig. 7 Corpul si placa de baza ale masinii
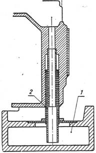
La masinile de frezat verticale cu capul de frezare rotativ, partea superioara a corpului 1 (fig. se termina de obicei cu o suprafata de sprijin rotunda 5. Capul de frezare se roteste in jurul arborelui de antrenare, care trece prin gaura circulara concentrica 6. Gaurile 7 si cele care se vad prin fereastra 3 sunt_IocasuriIe lagarelor arborilor cutiei de viteze.
|
|
|
Fig. 8 Corpul si placa de baza ale masinii F V 2a 1 corpuI masinii, 2 - placa de baza, 3 - fereastra pentru montarea mecanismelor de comanda 4 - ghidaje vertlcale; 5 - suprafata de sprijin a capului de frezare; 6.- gaura ciculara pentru arbore!e de antrenare al capului de frezare; 7- locasurile lagarelor arborilor cutiei de viteze |
Fig. 9 Corpul masinii 6 N 12
În fig. 9 se arata vederea din spate a corpului masinii 6 N care are motorul de antrenare al cutiei de viteze flansat de peretele din spate. Instalatia de racire este montata in nisa din spate, care se acopera cu un capac rabatabil.
2. CUTIA DE VITEZE
Cutia de viteze constituie ansamblul de reglare în trepte al miscarii de rotatie a axului principal si deci al sculei. Dintre tipurile de cutii de viteze la masinile de frezat, au gasit o larga aplicare cele cu blocuri baladoare si mai putin cele cu roti cuplabile prin intermediul cuplajelor cu dinti. Sistemele de reglare continua prin variatori cu frictiune reprezinta de asemenea cazuri izolate de aplicare.
a) c)
Fig. 10 Schema de principiu privind constructia cutiilor de viteze
a - cutie de viteze montata in corpul masinii; b cutie de viteze montata in carcasa separata
Amplasarea cutiei de viteze se face de obicei în imediata vecinatate a axului principal. Cutia de viteze trebuie sa formeze un ansamblu compact, usor de montat si demontat, simplu din punct de vedere constructiv si usor de întretinut. La unele masini de frezat, cutia de viteze este asezata la partea inferioara a corpului iar legatura cu axul principal se face printr-o transmisie cu curele trapezoidale. Aceste cutii de viteze, cunoscute sub denumirea de cutii de viteze divizate, au ca scop reducerea vibratiiIor ce provin din sistemul de actionare si se aplica Ia masini de precizie care Iucreaza cu turatii ridicate.
Din punctul de vedere constructiv, cutiile de viteze pot fi cu arborii montati in peretii si 2 ai corpului masinii (fig. sau cu arborii montati in cutii separate 3 formând ansambluri independente fixate de corp (Fig, 10 b Cutiile de viteze din cea de-a doua varianta sunt mai economice, în schimb trebuie sa fie rigide si sa asigure transmiterea miscarii fara vibratii la axul principal.
3. CUTIA DE AVANSURI
În
sectiune, ghidajele pot fi cu profil circular sau în coada de
rândunica. În cazul ghidajelor cu profil circular, bratul-suport are
forma tubulara sau de bara, cu un singur brat sau doua
brate paralele. Aceste forme ale bratului au fost înlocuite cu o
traversa 1 (fig. 11), chesonata
si întarita în interior cu nervuri
transversale 2.
Ghidajele 3 în forma de coada de rindunica permit deplasarea bratului înapoi, atunci când el nu este necesar (de exemplu la prelucrarea pieseIor mari). Manevrarea bratului-suport se face prin roata de mâna 4
În cazul operatiilor de frezare cu regim
lucru, pe ghidajele bratului-suport
pot fi montate dupa necesitate unul pâna la trei lagare 6, necesare sustinerii dornului portfreza 7. Blocarea traversei într-o anumita pozitie se face cu ajutorul suruburilor 8 care, strângând segmentul de ghidaj 9, îl fixeaza fata de corpul masinii.
Fig. arata bratul-suport al unei masini de frezat orizontale Ia care s-au montat doua lagare pentru sustinerea dornului portfreza.
Un alt sistem de actionare a bratului-suport este cu roata si lant Gall Lantul se fixeaza la un capat cu ajutorul suruburilor 2 iar la celalalt cu întinzatorul cu surub 3.
|
|
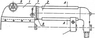
Fig. 12 Masina de frezat orizontala
cu dorn
La unele masini de frezat, universalitatea în operatiile de prelucrare este data de bratul-suport, care în acest caz are o constructie putin deosebita de prima forma. Un astfel de brat-suport (fig. se compune dintr-o parte posterioara 1 si o parte anterioara rotativa 2. Aceasta este prevazuta cu ghidaje în doua plane paralele si anume, într-un plan ghidajele sunt în forma de coada de rândunica 3 iar in celalalt plan, dreptunghiulare 4. Primele folosesc, ca si în cazul precedent, pentru sustinerea lagarelor 5 si pentru retragerea traversei în vederea executarii operatiilor de frezare la piese de dimensiuni mari (fig. Ghidajele dreptunghiulare servesc pentru montarea unui cap de frezare ce poate fi dispus în diferite plane, dupa necesitatea operatiilor de executat. Axul capului de frezare primeste miscarea de la mecanismul miscarii principale printr-un arbore 6, care strabate bratul-suport. Fixarea bratului-suport rotativ 2 într-o anumita pozitie se face cu maneta de blocare 7 iar rotirea sa, care poate fi citita pe scala gradata 8, prin roata de mâna 9.
La alte masini de frezat orizontale, prevazute cu un ax de lucru suplimentar cu pozitie fixa, traversa are o forma speciala (fig. 16), care asigura o rezistenta buna.
Pentru a mari rigiditatea sistemului format din consola, placa de baza si bratul-suport se folosesc legaturi suplimentare care formeaza cadre închise. Astfel de legaturi pot forma cadre simple, legând consola cu bratul-suport(fig. 17 sau consola cu placa de baza(fig. 18 precum si cadre duble legând toate cele trei elemente între ele (fig. 19).
Ca
legaturi pentru sistemul de cadru simplu, consola-brat, se
foloseste contrasuportul-foarfece sau contrasuportul paralel.
Pentru sistemul de cadru simplu, consola-
placa de baza se utilizeaza forma de ghidaj ca
Fig. 13 Bratul suport universal prelungire a placi de baza.
Fig. 14 Frezarea unei piese rnari cu bratul-suport retras Fig. 16 Legatura cadru simplu, consola-brat
Fig. 15 Masina de frezat orizontala cu ax de frezare suplimentar fix Fig. 17 Legatura cadru simplu, consola-placa
de baza
Legatura cadru dublu, consola-brat-placa de baza
Fig. 19 Contrasuport-foarfeca

Fig. 20 Contrasuport paralel Fig. 21 Contrasuport-coloana

Fig. 22 Contrasuport-ghidaj Fig. 23 Contrasuport-coloana pentru cadru- dublu

Fig. 24 Contrasuport plan pentru legatura dubla
5. INSTALAŢIA DE UNGERE
Ungerea mecanismelor masinilor de frezat cu consola se face pe ansambluri. Sistemele de ungere folosite sunt aratate orientativ In tabela
Instalatia de ungere trebuie sa fie simpla iar conductele de ulei usor accesibile, în vederea verificarii functionarii lor. Instalatia trebuie sa fie prevazuta cu indicatoare de nivel si indicatoare de circulatie care, plasate în locuri vizibile, sa atraga atentia lucratorului care deserveste masina.
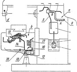
Ca exemplu se arata ungerea masinii de frezat FU 1 (6 N 82) (fig. 25), care se face cu o singura calitate de ulei (simbol 302), având vâscozitatea de 1,5 ... 2 °E la 50°C. Ungerea masinii se face centralizat pe ansambluri si numai la unele organe se foloseste ungerea individuala.
Ungerea cutiei de viteze (fig. 25) se face cu ajutorul unei instalatii centralizate care asigura ungerea continua sub presiune a rotilor dintate, a lagarelor si a organelor de comanda din cutia de viteze. Uleiul este debitat de o pompa cu piston plonjor 1 actionata printr-un excentric montat pe capatul axului III. Pompa aspira uleiul din rezervorul 2, cu capacitatea de 14 I, prin sorbul cu filtru 3 si îl refuleaza sub presiune prin supapa cu bila 4 si conducta 5 în distribuitorul 6. De Ia distribuitor, printr-o serie de ramificatii, uleiul este dirijat la diferitele puncte de ungere si anume:
- prin conducta 7 la lagarul din fata al axului principal
- prin conducta 8 la lagarul din spate al axului principal
- prin conducta 9 cu sirul de gauri A si B la rotile dintate din cutia de viteze.
Ploaia de ulei data de orificiile A si B ale conductei 9 si împrastierea picaturilor de catre rotile dintate formeaza o ceata de ulei care asigura si ungerea rulmentilor si organelor mecanismului de comanda.
Controlul circulatiei uleiului se face prin indicatorul cu geam care primeste ulei de la distribuitorul 6 prin conducta 11.
|
|
Fig. 25 Schema de ungere a unei masini
Pompa cu piston plonjor actionata de arborele III cu 300 ... 475 rot min asigura un debit variabil, proportional cu turatia de antrenare. Racordurile conductelor precum si flansarea corpului 12 al pompei de batiu trebuie sa se faca etans, pentru ca pompa sa nu aspire aer; în caz contrar ea nu functioneaza. La opriri îndelungate (câteva zile), uleiul din conducta de aspiratie se scurge si pentru punerea în functiune a instalatiei de ungere se cere umplerea conductei de aspiratie cu ulei. Acest dezavantaj poate fi înlaturat daca pompa se aseaza în pozitie verticala, micsorându-se prin aceasta înaltimea de aspiratie respectiva.
TABELA 1 - Sisteme de ungere folosite pentru ungerea ansamblurilor importante ale masinilor de frezat cu consola
Ansamblul lubrifiat |
Sistemul de ungere |
|
Cutia de viteze si axul principal (lagare, angrenaje, cuplaje, mecanisme de comanda, etc.) |
Sistem centralizat continuu în circuit, cu sau fara presiune, cu pompa actionata mecanic (ungerea prin barbotare se foloseste mai rar) |
|
Cutia de avans si mecanismele din consola (lagare, cuplaje, ghidaje, etc.) |
Sistem centralizat continuu în circuit, cu sau fara presiune, cu pompa actionata mecanic (unele suprafete sunt unse prin sistemul individual periodic sau continuu, fara recuperare) |
|
Cutia de avans când este montata în corpul masinii |
Sistemul de ungere folosit pentru ungerea cutiei de viteze asigura si ungerea cutiei de avansuri |
|
Mecanismele din consola când cutia de avansuri nu este montata în ea |
Sistem centralizat periodic în circuit sub presiune, cu pompa actionata manual (se foloseste si sistemul individual periodic si continuu, fara recuperare) |
|
Masa si sania transversala (ghidaje, suruburile conducatoare L si T, lagare, roti dintate, cuplaje, mansoane, etc.) |
Sistem centralizat periodic cu scurgere, cu sau fara presiune, cu pompa actionata manual (se foloseste si sistemul individual periodic si continuu, fara recuperare) |
|
Lagarele bratului-suport |
Sistem individual continuu fara presiune, cu scurgerea (ungatoare cu fitil) |
6. INSTALAŢIA DE RĂCIRE
Racirea sculei si a piesei se recomanda sa fie folosita la frezarea pieselor din otel, cu freze confectionate din otel de scule sau din otel rapid. Scopul racirii consta nu numai în reducerea încalzirii taisurilor sculei, ci si în îmbunatatirea conditiilor de aschiere a metalului. În cazul frezarii pieselor din fonta, precum si în cazul frezarii pieselor din otel cu scule cu placi din metal dur (frezare rapida), racirea nu este necesara.
Lichidul de racire trebuie sa fie trimis direct în zona de aschiere (fig. 26) si nu înainte sau în spatele acestei zone. De aceea, instalatia de racire trebuie neaparat prevazuta cu ajutaj rabatabil pentru dirijarea lichidului spre locul potrivit.
Instalatia de racire a masinii de frezat cu consola se compune dintr-o electropompa 1 care aspira lichidul de racire din rezervorul continut de placa de baza 2 a masinii si îl refuleaza prin conducta fixa 3, conducta flexibila 4 si ajutajul 5 spre locul de racire. Ajutajul este fixat prin clemele 6 de ghidajele bratului-suport 7 si permite deplasarea lui în Iungul axului principal. Pentru înclinarea si reglarea lui în înaltime serveste piulita 8. Reglarea debitului de lichid se face cu ajutorul robinetului 9.
|
|
|
|
|
|
Introducerea lichidului de racire în rezervorul din placa de baza se face printr-un tub telescopic 2. Ca lichid de racire se folosesc emulsii sau uleiuri de aschiere. La unele masini, o parte din instalatia de racire trece prin interiorul batiului iar scurgerea lichidului se face printr-un tub flexibil. Partea superioara a instalatiei are conducte articulate astfel încât prin miscarea lor ajutajul poate fi asezat în orice pozitie.
|