Masuri privind īmbunatatirea performantelor sistemelor de conducere
5.1. Utilizarea controlerelor programabile īn controlul centralelor eoliene

0<%PWM.P<=32767, cu o baza de timp de 10ms sau 1s.
0<%PWM.P<=255, cu o baza de timp de 0,57ms sau 1,42ms.
%PWM.R raport ciclic- aceasta valoare da procentajul semnalului īn starea 1 pe durata unei perioade. Durata lui Tp este egala cu Tp=T*(%PWMi.R/100). %PWM.R este specificat īn programul utilizator. Acest cuvānt controleaza durata modulatiei.
Convertirea fenomenului fizic īn mǎrime ce poate fi mǎsuratǎ
Preluarea semnalelor generate de senzori īn scopul extragerii de informatii
Analiza datelor si prezentarea lor īntr-o formǎ utilizabilǎ
Structura generala a unui sistem de achizitie date este cel prezentat īn figura 5.9.
Functiile realizate de software-ul de achizitie sunt:
Īntārziere īn urmǎrire (esantionare) = intervalul de timp dintre start esantionare si īnceperea esantionarii propriu-zise
Timp aperturǎ = intervalul de timp de comutare īn circuitul esantionare - memorare pentru trecerea din regimul esantionare īn regimul memorare
Timp stabilire la memorare = intervalul de timp necesar ca oscilatiile tranzitorii sǎ scadǎ sub o anumitǎ valoare
Timp conversie
Timp revenire = intervalul de timp de comutare īn circuitul esantionare - memorare pentru trecerea din regimul memorare īn regimul esantionare
Timp stabilire = intervalul de timp necesar ca amplificatorul sǎ se adapteze la comutarea de la un canal la altul erori la frecvente mari
16 canale de intare analogice la care se pot aplica tensiuni analogice īn domeniile 2,5V, 5V, 0 10V sau 0 5V selectabile prin intermediul unor jumpere de pe placa
frecventa maxima de esantionare pe canalele analogice 50kHz
8 canale de intrare digitale care pot suporta semnale compatibile TTL prin care se poate testa starea unor dispozitive locice (comutatoare, īntrerupatoare, etc.)
8 canale de iesire digitala pe care se pot furniza semnale compatibile TTL si prin care se pot comanda dispozitive externe;
3 contoare pe 16 biti care
suporta semnale compatibile TTL dintre care unul are un semnal de
baza de timp de 1 MHz furnizata din placa.
Tensiuni de alimentare furnizate de la PC:
- +5Vc.c. (130mA)
- +12Vc.c. (30mA)
Conectare prin cablu flexibil cu 50 de pini
Conditii de mediu pentru operare:
o Temperatura componentelor 0.700C
o Umiditate relativa 5.90% fara condens
5.2.1.1. Conectarea placii
Īn figura 36 este prezentat modul de dispunere al pinilor conectorului extern si semnalele specifice fiecarui pin.
Semnalele conectate pe conectorul de intrare iesire (I/O) au urmatoarea semnificatie:
AIGND masa analogica;
ACH<0..15> canale de intrare analogice de la 0 la 15;
DGND masa digitala;
-12V tensiune de iesire +12V maxim 5mA;
+12V tensiune de alimentare de +12V de la PC. Aceasta linie are īnseriata o siguranta fuzibila de 0,5A;
DIN<0..7> linii de intrare digitale. DIN 7 reprezinta bitul cel mai semnaificativ ;
DOUT<0..7> linii de iesiri digitale. DOUT7 reprezinta bitul cel mai semnificativ ;
OUT1* semnalul de iesire al contorului 1 inversat;
EXTINT* semnal intrare īntrerupere externa;
EXTCONV* intrare semnal extern de control pentru declansarea conversiei analog numerice
OUT0 iesirea contorului COUNTER0
GATE0 intrare de validare a contorului 0;
OUT1 iesirea contorului COUNTER1;
GATE1 intrare de validare a contorului 1;
CLK1 intrare de contorizare pentru COUNTER1;
OUT2 iesirea contorului COUNTER2;
GATE2 intrare de validare a contorului 2;
CLK2 intrare de contorizare pentru COUNTER2;
+5V tensiune de alimentare de la PC are conectata īn serie o siguranta de 1A;
DGND masa digitala
Observatie: Semnalele notate cu * sunt active jos.
5.2.1.2. Conectarea semnalelor de intrare analogica

Īn figura 37 este prezentat modul īn care trebuie conectata o sursa de semnal la placa PC-LPM-16. Se va acorda atentie conectarii corecte a polaritatii īn scopul evitarii scurcircuitarii iesirii sursei.
5.2.1.3. Conectarea semnalelor digitale de intrare-iesire
Pinii de la 22 la 37 ai conectorului de intrare-iesire sunt pini destinati conectarii semnalelor digitale de intare/iesire. Pinii 22÷29 sunt destinati intrarilor iar pinii 29÷37 sunt destinati iesirilor. Pinii 19 si 50 sunt pini de masa digitala.
Tensiunea maxima ce poate fi aplicata la intrarile digitale este de +7V iar cea minima de -0,5V.
Semnalele de intrare digitale vor fi compatibile TTl, curentul absorbit fiind de 1mA. Semnalele de iesire analogice sunt de asemenea compatibile TTL, valorile caracteristice de curent si tensiune fiind:
8mA la VOH=2,7V
6mA la VOL=0,5V
Īn figura 2-10 este prezentat modul de conectare a semnalelor digitale la portul de intrari digitale si modul de conectare a semnalelor de iesire analogice la portul de iesiri digitale.
Intrarile pot primi semnale compatibile TTL sau pot sesiza actionarea unor comutatoare, īn timp ce iesirile pot comanda dispozitive externe (de exemplu un LED) asa cum se observa īn figura 38.
Conectarea alimentarii. Pe pinul 49 al conectorul de intrare iesire este conectata sursa de +5V iar pe pinul 20 sursa de +12V de la PC. Sursa de +5V si +12V sunt protejate de sigurante fuzibile de 1A si respectiv 0,5A.
5.3. Utilizarea controlerelor programabile īn controlul centralelor eoliene
Microcontrolerele si procesoarele de semnal sun folosite la comanda si controlul centralelor eoliene atāt la prelucrarea distribuita a datelor cāt si la prelucrarea locala. Īn continuare sunt prezentate cāteva structuri reprezentative.
o GPTCON este setat la 1 de catre software;
o PDPINT este pus low si este nemascat;
o se comanda RESET;
o cānd operatia este dezactivata pentru timerele GP.
Bazata pe arhitectura AVR @ RISC
AVR - Arhitectura RISC cu performanta ridicata si consum redus
118 instructiuni puternice - majoritatea se executa intr-un ciclu masina
32 x 8 Registrii Generali de Lucru
Viteza pana la 10 MIPS @ 10 MHz
Memorie nevolatila de date
Marimea memoriei Flash 2K octeti programabila In sistem
Suporta 1,000 cicli de stergere/inscriere
128 octeti de Memorie SRAM
128 octeti de memorie EEPROM programabila in sistem
Suporta 1,000,000 cicli de stergere/inscriere
Protectie programabila pe 8 biti a memoriei de date Flash si EEprom
Trasaturi Periferale
Un temporizator/numarator cu prescaler separat pe 8 biti
Un temporizator/numarator cu prescaler separat pe 16 biti,
Comparator, moduri de captura si PWM pe 8-, 9- si 10 biti
Comparator analogic on-chip
Temporizator Watchdog programabil cu oscilator incorporat in chip
Interfata seriala SPI pentru programarea In-system
Port serial UART full duplex
Trasaturi speciale ale microcontrolerului
Cunsum redus in caz de inactivitate precum si power-down de economisire a energiei
Surse de inrerupere externa si interna
Specificatii
Tehnologie CMOS - consum redus, viteza mare
Mod de operatie complet statica
Consum de energie la 4 MHz, 3V, 25°C
Activ: 2.8 mA
Inactiv: 0.8 mA
Power-down: <1 µA
Intrati/Iesiri si Capsula
15 linii de intrare/iesire programabile
Capsula PDIP si SOIC de 20 pini
Tensini de operare
2.7 - 6.0V (AT90S2313-4)
4.0 - 6.0V (AT90S2313-10)
Viteza de operare
0 - 4 MHz (AT90S2313-4)
0 - 10 MHz (AT90S2313-10)
Configuratia pinilor:

AT90S2313 este un microcontroler CMOS pe 8 biti,
cu consum redus bazat pe arhitectura AVR RISC. Executand instructiuni puternice
intr-un ciclu masina, AT90S2313 executa aproape 1 million de instructiuni pe
secunda, ceea ce permite proiectantului de sistem reducerea consumului de
putere toate aceste neafectand viteza de procesare.
Miezul AVR combina setul bogat de instructiuni cu 32 de registrii de lucru
generali. Toate cele 32 de registre sunt conectate direct la Unitatea
Aritmetica si Logica (ALU), astfel este permis accesarea a doi registri
independenti intr-un singur ciclu masina. Arhitectura rezultata este mult mai
eficienta din punct de vedere al codului astfel incat se obtine o putere de
calcul pana la zece ori mai rapida decat cel al arhitecturii microcontrolerelor
CISC.
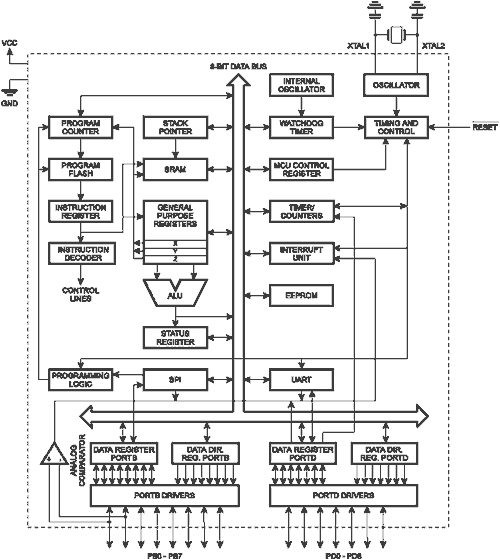
Diagrama Block AT90S2313

Trasaturile microcontrolerului AT90S2313: memoriei Flash de 2K octeti programabila in sistem, memorie EEPROM de 128 octeti, memorie SRAM de 128 octeti, 15 linii de iesire/intrare, 32 de registri generali de lucru, temporizator/numarator flexibil si cu mod comparator, surse de intreruperi interne is externe, port programabil UART serial, temporizator Watchdog programabil cu oscilator intern, un port serial SPI pentru descarcarea memoriei Flash si doua moduri selectabile de reducere a consumului de energie. Modul 'inactiv' procesorul se opreste in timp ce memoria SRAM, temporizatorii/numararorii, portul SPI si intreruperile de sistem continua sa functioneze. Modul 'power-down' salveaza continutul registrilor dar se opreste oscilatorul, si se opreste toate celelalte functii din chip pana la urmatorea intererupere externa sau un Reset hardware.
Microcontrolerul este fabricat in tehnologia memorie nevolatila de densitate inalta. Memoria Flash interna, programabila in sistem permite reprogramarea in sistem utilizand interfata seriala SPI sau un programator de memorii nevolatile conventiala. Conbinand un CPU RISC performant pe 8 biti cu memoria Flash programabila in sistem, ATMEL AT90S2313 este un microcontroler puternic care cu proprietatile flexibile si costuri reduse ofera o solutie ideala pentru majoritatea applicatiilor.
AT90S2313 AVR are un support de programe completa si sisteme de dezvoltare care includ: compilatoare C, macro assamblere, programe pentru debug/simulatoare, emulatoare in circuit si kituri de evaluare.
Microcontrolere MICROCHIP (PIC)
PIC16F84 apartine unei clase de microcontrolere de 8 biti cu arhitectura RISC. Structura lui generala este aratata īn figura urmatoare reprezentānd blocurile de baza.
Memoria program realizata īn tehnologia FLASH poate fi programata si stearsa mai mult decāt odata, aceasta face microcontrolerul potrivit pentru dezvoltarea de componenta.
Memoria EEPROM - este īn mod uzual folosita pentru memorarea de date importante ce nu trebuie pierdute daca sursa de alimentare se īntrerupe.
Memoria RAM-memorie de date folosita de un program īn timpul executarii sale.
PORTUL A si PORTUL B sunt conexiuni fizice īntre microcontroler si lumea exterioara. Portul A are 5 pini, iar portul B are 8 pini.
TIMER-UL LIBER (FREE-RUN) este un registru de 8 biti īn interiorul microcontrolerului ce lucreaza independent de program.
UNITATEA DE PROCESARE CENTRALĂ are rolul unui element de conectivitate īntre celelalte blocuri ale microcontrolerului. Coordoneaza lucrul altor blocuri si executa programul utilizatorului.
|