Masina de frezat NovaMill CNC
Manual de programare

NTRODUCERE 5
CE ESTE CNC? 6
EXEMPLU DE PROCES DE PRELUCRARE PE MUCN 6
STRUCTURA PROGRAMULUI PRINCIPAL CNC 8
STRUCTURA SUBPROGRAMELOR 10
COMENZI PENTRU OPERAREA CU SUBPROGRAME 11
COMANDA PENTRU REPETAREA SUBROGRAMULUI APELAT 11
DEFINIREA SEMIFABRICATULUI 12
DENUMIREA SI SALVAREA PROGRAMELOR 12
NUMEROTAREA BLOCURILOR (LINIILOR) DINTR-UN PROGRAM 13
STRUCTURA BLOCURILOR 14
FUNCTII PREGATITOARE 14
FUNCTIA AVANS 15
FUNCTII DIVERSE 15
TURATIA ARBORELUI PRINCIPAL 15
GESTIONAREA SCULELOR 16
CORECTIA DE SCULA 17
COORDONATE ABSOLUTE SI RELATIVE 17
Ignorarea optionala a blocurilor 18
Comentarii si mesaje in interiorul programelor 18
Functii pregatitoare G 18
Functii G modale si nemodale 19
FUNCTII G (FUNCTII PREGATITOARE). INTRODUCERE 19
G00 - pozitionare rapida 21
G01 - interpolare liniara 22
G02 si G03 - interpolare circulara 23
G04 - temporizare 26
G20 si G21 - setarea sistemului de unitati de masura 27
G28 - revenire in punctul de referinta 27
G40, G41, G42 - compensarea sculei 28
22.7.1. Pozitia de lucru si comanda miscarilor 29
22.7.2. Initierea compensarii sculei 30
22.7.3. Anularea compensarii sculei 30
G73 .. G89 - cicluri de gaurire 32
22.8.1. Programarea ciclurilor in coordonate absolute/relative 33
22.8.2. Programarea pozitiei (nivelului) de revenire dupa prelucrarea gaurii 33
22.8.3. G73 - gaurire rapida 35
22.8.4. G74 - filetare 35
22.8.5. G76 - alezare de finisare 36
22.8.6. G80 - anularea ciclului de gaurire 37
22.8.7. G81 - gaurire 37
22.8.8. G82 - gaurire cu temporizare 37
22.8.9. G83 - gaurire adanca 38
22.8.10. G84 - filetare cu tarodul 38
22.8.11. G85 - alezare 38
22.8.12. G86 - alezare 39
22.8.13. G87- alezare de jos in sus 39
22.8.14. G89 - gaurire 40
22.9. Exemplu de utilizare a ciclurilor de gaurire 41
G90 - programare in coordonate absolute 41
G91- programare in coordonate relative 42
G94 - avansul exprimat in mm/min 42
G95 - avans exprimat in mm/rot 42
G98 - revenire la nivelul initial 42
G99 - revenire la nivelul R 42
G170-G173 - comenzi pentru frezarea buzunarelor circulare si dreptunghiulare 43
22.16.1. G170 si G171 - prelucrarea unui buzunar circular - degrosare 43
22.16.2. G170 si G171 - prelucrarea unui buzunar circular - degrosare si finisare 45
22.16.3. G170 si G171 - prelucrarea unui buzunar circular - finisare printr-o singura trecere 46
22.16.4. G172 si G173 - prelucrarea unui buzunare dreptunghiular - degrosare 48
22.16.5. G172 si G173 - prelucrarea unui buzunar dreptunghiular - degrosare si finisare 50
22.16.6. G172 si G173 - preluarea unui buzunar dreptunghiular - finisare printr-o singura trecere 51
FUNCTII DE TIP M 53
Functii de tip M recunoscute de echipamentul CNC Denford 53
M00 - oprirea programului 55
M01 - oprirea optionala a programului 55
M02 - resetarea programului 55
M03 - pornirea turatiei cu rotirea axului principal in sens orar 55
M04 - pornirea turatiei cu rotirea axului principal in sens trigonometric 55
M05 - oprirea turatiei 56
M06 - schimbarea automata a sculelor 56
M08 - pornirea lichidului de racire-ungere 56
M09 - oprirea lichidului de racire-ungere 56
M10 - deschiderea sistemului de fixare a semifabricatului 56
M11 - inchiderea sistemului de fixare a semifabricatului 56
M13 - pornirea a turatiei in sens orar si a lichidului de racire-ungere 57
M14 - pornirea turatiei in sens trigonometric si a lichidului de racire-ungere 57
M19 - orientarea arborelui principal 57
M20 - deplasarea MASS (Magazinul Automat de Schimbare a Sculelor) sub arborele principal 57
M21 - deplasarea MASS de sub arborele principal 57
M22 - deplasarea MASS in jos 57
M23 - deplasarea MASS in sus 57
M24 - deschiderea sistemului de fixare a sculei 57
M25 - inchiderea sistemului de fixare a sculei 58
M27 - resetarea pozitiei magazinului de scule 58
M30 - oprirea programului si pozitionare la inceputul lui 58
M32 - rotirea magazinului de scule in sens orar 58
M32 - rotirea magazinului de scule in sens antiorar 58
M38 - deschiderea usii de protectie 58
M39 - inchiderea usii de protectie 59
M6267, M76, M77 59
M70 - schimbarea semnului pe directia X - activat 59
M71 - schimbarea semnului pe directia Y - activat 59
M80 - schimbarea semnului pe directia X - dezactivat 59
M81 - schimbarea semnului pe directia Y - dezactivat 59
M98 - apelare subprogram 59
M99 - incheierea subprogramului si revenirea in programul apelant 60
Echipamentul CNC (Conducere Numerica cu Calculatorul) Denford cu care opereaza intreaga gama de masini unelte Denford este un sistem compatibil FANUC care utilizeaza codul de programare ISO
Manualul acopera toate etapele implicate in elaborarea instructiunilor codificate, necesare echipamentului CNC pentru prelucrarea unui reper. Secventa de instructiuni codificate necesara prelucrarii unui reper poarta numele de program piesa.
Fiecare segment al programului este alcatuit dintr-un numar oarecare de coduri, numite si functii, cele mai importante fiind seturile de coduri G si M. Acestea sunt cele care alcatuiesc limbajul de baza utilizat pentru descrierea modului in care va fi prelucrata o piesa: ce miscari trebuie efectuate, in ce ordine, cand trebuie inlocuita scula, etc.
Primele capitole ale acestui manual acopera aspectele principale ale programarii MUCN si ofera indicatii asupra utilizarii comenzilor. Fiecare capitol se dezvolta progresiv, utilizand un limbaj comun, usor de urmarit, ghidand utilizatorul in realizarea programelor de conducere numerica. Dupa parcurgerea primei parti, operatorul va fi avea cunostintele de baza necesare abordarii programarii sub aspectele ei esentiale.
Fara indoiala, acest manual nu poate (nici nu isi propune) sa ofere toate cunostintele necesare programarii. Subiectul este pur si simplu prea vast pentru ca asa ceva sa fie posibil. Totusi, acest manual formeaza baza necesara pe care sa se cladeasca noi cunostinte prin consultarea unor documentatii mai pretentioase.
Capitolele dedicate codurilor G si M prezinta detaliat functiile utilizate in programarea CNC. Aceste capitole sunt concepute mai degraba ca ghiduri de utilizare si se adreseaza celor care dispun de cunostintele de baza in domeniul programarii CNC.
Partea I
CNC (Conducere Numerica cu Calculatorul) este sintagma generala utilizata pentru un sistem care controleaza functionarea unei masini unelte utilizand instructiuni codificate prelucrate de catre un calculator.
Mentionam de la inceput, ca in acest exemplu sunt incluse toate etapele procesului, deci si pregatirea programului, nu numai prelucrarea efectiva a piesei pe masina unealta (Fig. 1):
N, G, X, Y, Z, F, M, S, T;
Aceasta ordine trebuie respectata in orice fraza. Cu toate acestea, nu fiecare fraza va contine toate adresele mentionate mai sus, adica dintr-o fraza pot sa lipseasca unele adrese, daca nu sunt necesare.
Organizarea blocurilor de date intr-un program respecta urmatorul sablon. Este esential ca structura de mai jos sa fie respectata, pentru a asigura corectitudinea atat a prelucrarii, cat si a simularii (Fig. 2).

Lista de instructiuni de mai sus reprezinta un program scris in sistemul de programare Denford. Pentru ca un astfel de program sa opereze corect si pe un echipament original FANUC, informatiile despre sistemul CAD/CAM utilizat si dimensiunile semifabricatului trebuie eliminate din program.
Un program care contine secvente care se repeta poate fi memorat ca si subprogram pentru a simplifica programul principal.
Un subprogram este introdus in memoria controlerului in modul Edit, ca si un program principal.
Diferentele dintre un subprogram si un program principal sunt urmatoarele:
|
Fig. 3. Imbricarea apelurilor de subprograme |
B) Deplasarea de-a lungul unui arc de cerc
Acest tip de miscare se numeste interpolare circulara. Interpolarea circulara este activata cu functiile G02 (in sens orar) si cu G03 (in sens trigonometric).
Formatul comenzii este: G03 X. Y. R.; X si Y sunt coordonatele punctului final al arcului, iar R raza arcului parcurs. Nu este necesara specificarea coordonatelor centrului miscarii.
Deplasarea sculei cu o anumita viteza in vederea aschierii se numeste AVANS. Avansul se regleaza utilizand adresa F urmata de o valoare numerica, aceasta reprezentand continutul adresei.
Dupa cum la inceputul programului a fost invocata functia G20 sau G21, marimea avansului este exprimata in inch/min., respectiv in mm/min.
Functiile diverse, numite si Functii M, dupa adresa care le introduce, sunt utilizate in special pentru a actiona sau opri diverse componente ale masinii (exemplu, M03 - pornirea axului principal, M05 - oprirea axului principal).
In general functiile invocate prin valori mici ale continutului au aceeasi semnificatie pe majoritatea echipamentelor de conducere numerica. Functiile invocate prin valori mari ale continutului sunt in general specifice anumitor echipamente.
Functiile M sunt apelate prin adresa M cu un continut format din doua caractere numerice.
Viteza de rotatie a sculei in raport cu piesa de prelucrat se numeste viteza de aschiere. Aceasta nu poate fi reglata in mod direct, deoarece este influentata de doi parametri: turatia sculei (arborelui principal) si diametrul sculei. Diametrul fiind o marime care se alege independent de masina, rezulta ca viteza de aschiere poate fi reglata (din punctul de vedere al conducerii numerice) prin intermediul turatiei. Turatia este comandata prin intermediul adresei S. Continutul acesteia este o valoare numerica care exprima turatia in rot/min. Pentru a putea fi aplicata turatia solicitata, aceasta trebuie sa se incadreze in domeniul de turatii al masinii.
Observatia 1:
Cand in aceeasi fraza sunt apelate impreuna comenzi de miscare si de reglare a turatiei, acestea sunt executate cvasisimultan. In orice caz, in momentul inceperii miscarii, turatia efectiva este cea reglata in fraza curenta.
Observatia 2
Intr-o fraza este acceptat un singur apel al functiei S.
Sculele pot fi inlocuite pe parcursul rularii unui program de prelucrare utilizand functia T. Fiecarei scule care va lucra intr-un program ii este asociat un numar. Daca masina de frezat este echipata cu un dispozitiv automat de schimbare a sculelor, numarul asociat unei scule coincide cu numarul locasului in care ea este stocata in dispozitiv. Numarul sculei este invocat prin adresa T si continutul ei. Acesta desemneaza numarul asociat sculei vizate. Pentru a comanda schimbarea sculei, trebuie invocata functia M6 inaintea mentionarii sculei care urmeaza sa o inlocuiasca pe cea in lucru.
Un exemplu de apel al schimbarii sculei este urmatorul:
M06 T3
Aceasta se va citi 'inlocuieste scula curenta cu scula numarul 3'.
Observatia 1
Functia M06 trebuie sa fie plasata imediat inaintea functiei T care indica numarul noii scule.
Observatia 2
Intr-o fraza este acceptat un singur apel al functiei T.
Observatia 3
In momentul citirii secventei M06 T. masina va comanda deplasarea dupa cele trei axe in punctul de schimbare a sculei, va opri turatia arborelui principal si se va efectua inlocuirea sculei. Aceasta secventa de actiuni are loc indiferent de pozitia sculei in momentul citirii comenzii de schimbare a sculei din program. Din acest motiv se recomanda urmarirea cu atentie a pozitiei sculei inaintea apelului inlocuirii, si daca e cazul, dirijarea retragerii ei pentru evitarea eventualelor coliziuni cu piesa.
In general, pentru a prelucra o piesa de o anumita complexitate sunt necesare mai multe tipuri de scule, unele din ele de diametre diferite. Scrierea unui program care sa tina seama de dimensiunile sculei ar fi foarte dificila. Pentru a putea lua in calcul dimensiunile sculei intr-un program generalizat, se masoara diametrul si lungimea fiecarei scule in afara programului (inaintea rularii sale) si se salveaza intr-un fisier special, numit fisier de corectii. In esenta, aceasta face ca programul scris, traiectoriile sculei pe care el le descrie, sa fie independente de dimensiunile sculei. Dimensiunile salvate sunt numite offset sau corectii de scula.
Observatie: cand echipamentul de conducere numerica citeste din program o functie T, el preia din fisierul de corectii si dimensiunile corespunzatoare noii scule. Pentru a lua in calcul diametrul frezei la comanda traiectoriei sculei, trebuie invocata in prealabil functia G41 sau G42 (compensarea sculei pe partea stanga, respectiv pe partea dreapta).

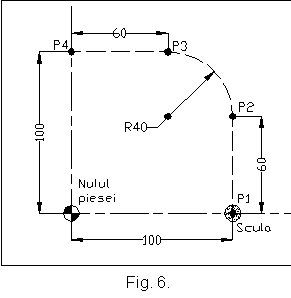
Cand este activa functia G90 coordonatele X, Y si Z dintr-un program sunt masurate fata de un punct fix, raportat la piesa de prelucrat, numit nulul piesei. Se spune in acest caz ca programarea s-a facut in coordonate absolute. Dimpotriva, daca activ este G91, coordonatele sunt raportate la ultimul punct invocat (atins de scula), ceea ce corespunde programarii in coordonate relative.
Pentru programarea traseului P1-P2-P3-P4 din Fig. 6 se poate proceda in doua moduri:
G
Functiile pregatitoare, G, se utilizeaza pentru descrierea traiectoriei sculei sau setarea modurilor de lucru ale masinii. Astfel de functii permit controlul miscarilor, al operatiilor de gaurire, alegerea unitatilor de masura, etc.
In mod normal, functiile G sunt plasate la inceputul frazelor, imediat dupa numarul de linie, daca acesta exista.
Este permisa prezenta mai multor functii G intr-o fraza, cu conditia sa nu se nege reciproc.
O functie G este alcatuita din caracterul G (adresa) si o valoare numerica de doua cifre (continutul).
Functii modale. Acestea sunt efective in linia in care sunt invocate, dar si in liniile urmatoare, atata timp cat nu sunt negate de functii din aceeasi categorie. Cu alte cuvinte, odata activata o functie modala, ea are efect si in urmatoarele linii de program, fara a fi necesara repetarea apelului ei. Functiile modale, la randul lor, se clasifica in grupuri, dupa cum vizeaza o anumita sarcina sau alta. O functie G modala ramane activa pana in fraza in care o functie din acelasi grup este apelata. Un exemplu de grup este cel al functiilor de pozitionare si interpolare.
In exemplul de mai jos, echipamentul de conducere numerica asuma faptul ca in frazele N60 .. N80 se efectueaza interpolare liniara, desi acest lucru nu este programat in mod explicit in acele fraze. In frazele mentionate, este efectiva functia G1 apelata in fraza N50.
N20 G21;
N30 G90;
N40 G00 X50 Y50;
N50 G01 Z-5;
N60 X100;
N70 Y120;
N80 X130 Y160;
N90 G03 X150 Y 180 R20;
In fraza N90 interpolarea liniara G01 este negata de functia G03, interpolare circulara. Functiile G01 si G03 fac parte din acelasi grup de functii.
Partea a II-a
Retineti ca exista doua tipuri de functii G. O functie modala este memorata si este efectiva pana cand este apelata o alta functie G din acelasi grup modal. Functiile nemodale (non-modale) sunt efective doar in frazele in care sunt apelate.
Nu este necesar apelul aceleiasi functii modale in fraze consecutive; totusi, apelarea repetata in fraze consecutive a unei functii modale nu constituie eroare. Spre exemplu, in cazul prelucrarii unui contur alcatuit numai din segmente de dreapta, este suficienta apelarea lui G1 doar in fraza in care incepe conturarea. G01 va ramane activ pana la apelul unui alt tip de interpolare (G00, G02 sau G03).
Intr-o fraza pot fi apelate cel mult patru functii G. Acestea trebuie sa faca parte din grupuri modale diferite; daca in aceeasi fraza se apeleaza doua sau mai multe functii G din acelasi grup, efectiva va deveni doar ultima din grupul respectiv.
Lista functiilor G
Tabelul 1
|
Functia |
Grupul |
Semnificatia |
Observatii |
|
G00 |
|
Pozitionare punct cu punct |
Se efectueaza cu avans rapid |
|
G01 |
|
Interpolare liniara |
Se efectueaza cu avans de lucru |
|
G02 |
|
Interpolare circulara in sens orar |
|
|
G03 |
|
Interpolare circulara in sens trigonometric |
|
|
G04 |
|
Oprire precisa |
|
|
G20 |
|
Sistemul de unitati britanic |
inch, inch/min |
|
G21 |
|
Sistemul international de unitati |
mm, mm/min |
|
G28 |
|
Revenire in punctul de referinta |
|
|
G40 |
|
Anularea compensarii sculei |
|
|
G41 |
|
Compensarea sculei pe stanga |
|
|
G42 |
|
Compensarea sculei pe dreapta |
|
|
G73 |
|
Gaurire rapida |
|
|
G74 |
|
Filetare cu cutit |
|
|
G76 |
|
Alezare de finisare |
|
|
G80* |
|
Anularea ciclului de gaurire |
|
|
G81 |
|
Gaurire |
|
|
G82 |
|
Gaurire cu temporizare |
|
|
G83 |
|
Gaurire adanca |
|
|
G84 |
|
Filetare cu tarod |
|
|
G85 |
|
Alezare |
|
|
G86 |
|
Alezare |
|
|
G87 |
|
Alezare de jos in sus |
|
|
G89 |
|
Gaurire |
|
|
G90* |
|
Programare in coordonate absolute |
|
|
G91 |
|
Programare in coordonate relative |
|
|
G94* |
|
Avans pe minut |
|
|
G95 |
|
Avans pe rotatie |
|
|
G98* |
|
Revenire la nivelul initial al buzunarului |
Utilizate la ciclurile de gaurire |
|
G99 |
|
Revenire la nivelul R al buzunarului |
|
|
G170 |
|
Prelucrarea buzunarului circular |
|
|
G171 |
|
Prelucrarea buzunarului circular |
|
|
G172 |
|
Prelucrarea buzunarului dreptunghiular |
|
|
G173 |
|
Prelucrarea buzunarului dreptunghiular |
|
* Stari implicite, cele active la pornirea masinii sau la resetarea masinii dupa oprirea ei cu butonul de urgenta.
Functiile din grupul 0 sunt nemodale. Ele trebuie apelate in toate frazele in care sunt necesare, chiar daca frazele respective sunt consecutive in program. Toate celelalte functii G sunt modale.
Functia G00 provoaca o miscare de pozitionare cu avans rapid (fara aschiere) pana in pozitia indicata prin adresele geometrice X, Y, Z. Formatul comenzii este urmatorul:
G00 X Y Z
Punctul de pozitionare introdus prin adresele geometrice X, Y si Z poate fi exprimat in coordonate absolute (reportat la un reper fix - nulul piesei) sau in coordonate relative (raportat la ultima pozitie programata). Operarea in coordonate absolute este invocata prin functia G90, iar cea in coordonate relative prin functia G91.
Observatia 1:
Valoarea avansului rapid este setata de producatorul echipamentului. Aceasta valoare poate fi redusa de la 100% la 0% dar numai in trepte de 10% utilizand facilitatile de suprascriere a avansului, facilitati specifice masinii unelte. (pentru aceasta consultati manualul de operare al masinii).
Observatia 2:
Functia G00 blocheaza compensarea sculei impusa prin una din functiile G41 sau G42. Daca in momentul apelului lui G00 este activ G41 sau G42, compensarea sculei este reactivata numai cand este apelata din nou o functie de interpolare (G01, G02 sau G03).
Observatia 3:
Functia G00 este modala si deci, incompatibila cu celelalte functii de interpolare in aceeasi fraza.
Observatia 4:
Functia G00 poate fi invocata in doua moduri: G00 sau G0.
Observatia 5:

In
urma apelului functiei G00 miscarea dupa cele trei axe se efectueaza complet
independent, cu avansul rapid. In exemplul alaturat, G00 comanda deplasarea
saniilor simultan dupa axele X si Y cu acelasi avans. Aceasta face ca scula sa
para ca se deplaseaza diagonal (Fig. 7).
Cand dupa una din axe s-a atins coordonata programata, deplasarea va continua numai dupa cealalta axa pana la atingerea punctului programat. Consecinta este ca scula isi modifica directia relativa de deplasare in raport cu piesa. Deoarece traiectoria efectiva este greu de estimat de catre programator, trebuie acordata o atentie deosebita evitarii eventualelor coliziuni dintre scula si piesa sau dispozitivul de fixare a semifabricatului.
Functia G01 - interpolare liniara provoaca o miscare de aschiere de-a lungul unui segment de dreapta cu o viteza de avans prestabilita.
Formatul comenzii este urmatorul:
G01 X. Y. Z.
Avansul programat va fi efectiv de-a lungul traiectoriei, deci cel rezultat din combinarea miscarilor dupa axele de coordonate ale celor doua sanii. Valoarea programata a avansului nu se refera la miscarile descompuse de-a lungul axelor (nu se aplica fiecarei sanii).
Doar in cazurile particulare ale miscarilor programate in directie paralela cu a unei axe sania se va deplasa chiar cu avansul programat.
In cazul miscarilor care rezulta prin combinarea translatiilor dupa diverse axe, toate saniile implicate trebuie sa opereze in acelasi interval de timp. Pentru aceasta controlerul va calcula avansul individual pentru fiecare sanie, astfel incat prin combinarea miscarilor sa rezulte pentru deplasarea programata, avansul solicitat.
Punctul de destinatie poate fi programat
in coordonate absolute sau relative.
Exemplu de programare a functiei G01:
N130 G90 G01 X100 Y50 F115;
Observatia 1:
In exemplul de mai sus G90 G01 si F115 sunt modale, deci pot fi utilizate si in urmatorul bloc, fara sa fie apelate din nou.
Observatia 2
Avansul F115 poate fi modificat in Modul Automat de la 0 la 150% utilizand functiile de suprascriere a avansului (vezi manualul masinii). 100% este chiar avansul programat.
Observatia 3
Daca nu se programeaza avansul in fraza cu miscare sau in una care sa o preceada, echipamentul de conducere numerica va lua in considerare un avans de 10 mm/min. pentru programare in unitati internationale (G21), sau 0.4 in/min. pentru programare in unitati britanice (G20).
Observatia 4
Functia G01 este modala, si prin urmare, incompatibila cu G00, G02 sau G03 in aceeasi fraza.
Observatia 5
Functia de interpolare liniara poate fi apelata in doua moduri: G01 sau G1.
G02 si G03 provoaca miscari de aschiere
(cu avansul de lucru programat) de-a lungul unui arc de cerc in sens orar,
respectiv trigonometric (Fig. 9), intr-un sistem de coordonate cartezian drept,
asa cum sunt cel al masinii si al piesei la echipamentul Denford.
Sensul orar si cel trigonometric sunt definite conform figurii alaturate.
Cand se programeaza in coordonate absolute, punctul programat este raportat la punctul curent de nul si desemneaza pozitia finala (in urma miscarii descrise) a sculei. Capatul arcului descris, sau pozitia finala, mai este numit si punctul tinta al miscarii.
Cand se programeaza in coordonate relative, X si Y sunt raportate la punctul de inceput al miscarii (pozitia actuala a sculei). Semnul coordonatelor X si Y este dat de sensul in care se face deplasarea (pozitia relativa a punctului final fata de cel initial).
I si J

Pentru a programa un arc cand nu se
cunoaste raza, ci doar centrul miscarii, se vor utiliza adresele I si J. I
reprezinta pozitia centrului pe axa X in coordonate relative fata de punctul de
start. J reprezinta pozitia centrului pe axa Y in coordonate relative fata de
punctul de start, conform (Fig. 10):
Observatia 1
I si J pot fi afectate de semnul '-' pentru a indica pozitia centrului fata de punctul de start.
Observatia 2
I si J nu pot fi programate in coordonate absolute, chiar daca se incearca fortarea acestui lucru prin apelarea lui G90.
Pot fi utilizate cate patru moduri de a apela functiile de interpolare circulara.
Pentru interpolare in sens orar:
G90 G02 X. Y. R. F.;
G90 G02 X. Y. I. J. F.;
G91 G02 X. Y. R. F.;
G91 G02 X. Y. I. J. F.;
si pentru sens trigonometric:
G90 G03 X. Y. R. F.;
G90 G03 X. Y. I. J. F.;
G91 G03 X. Y. R. F.;
G91 G03 X. Y. I. J. F.;
unde:
G02 si G03 sunt apelurile functiilor de interpolare circulara.
G90 si G91 indica tipul de coordonate utilizate. Atentie G90 nu influenteaza pe I si J! acestea vor fi interpretate intotdeauna in coordonate relative.
X, Y sunt coordonatele punctului final al miscarii.
I, J sunt coordonatele centrului miscarii, relativ la punctul de inceput al miscarii.
R indica marimea razei arcului.
F - avansul cu care se efectueaza miscarea.

Pentru exemplul din Fig. 11,
traiectoria sculei poate fi programata dupa cum urmeaza:
|
Coord. absolute si I,J |
Coord absolute si R |
Coord. relative si I,J |
Coord relative si R |
|
G01 X175 Y40 F125; G03 X135 Y80 I-40; G01 X95; G02 X55 Y40 I-40; |
G01 X175 Y40 F125; G03 X135 Y80 R40; G01 X95; G02 X55 Y40 R40; |
G01 X175 Y40 F125; G03 X-40 Y40 I-40; G01 X-40; G02 X-40 Y-20 I-40; |
G01 X175 Y40 F125; G03 X-40 Y40 R40; G01 X-40; G02 X-40 Y-40 R40; |
Cand se utilizeaza raza pentru descrierea arcului trebuie avute in vedere doua situatii:
G04 - temporizare
Functia G04 provoaca o oprire, o intrerupere a rularii programului. Durata intreruperii este indicata de catre programator prin intermediul adreselor X sau P. Dupa cum se utilizeaza adresa X sau P, durata intreruperii este exprimata in secunde, respectiv in miimi de secunda. Functia poate fi folosita in formatul:
G04 X. durata temporizarii in secunde
sau
G04 P. durata temporizarii in 1/1000 s
Exemple de utilizare a functiei G04:
G04 X1.5 produce o temporizare de 1,5 sec
G04 P2500 produce o temporizare de 2,5 sec
Observatia 1:
G20 si G21 - setarea
sistemului de unitati de masura
G20 selecteaza sistemul britanic de unitati de masura (inch), iar G21 pe cel international, sau metric (mm).
Deplasarile minime care pot fi programate sunt 0,0001 inch,sau 0,001mm.
De sistemul de unitati de masura selectat sunt afectate urmatoarele categorii:
G28 - revenire in punctul de
referinta
Punctul de referinta (Home position, sau punctul de nul al masinii) este un punct fix al masinii unde poate fi deplasata automat scula. Pe echipamentele Denford nulul masinii este reperul fata de care sunt masurate deplasarile si este plasat la extremitatile curselor elementelor mobile. Altfel spus, nulul masinii este originea sistemului de coordonate al masinii. Functia G28 comanda deplasarea sculei in punctul de nul (referinta). Sintaxa functiei este:
G90 G28 X. Y. Z.
sau
G91 G28 X. Y. Z.
unde X, Y si Z pot fi folosite pentru a indica un punct intermediar, prin care va trece scula, inainte de a ajunge in punctul de referinta.

G40, G41, G42 compensarea sculei
Setul de functii G40, G41 si G42 permite generarea foarte precisa a arcelor si unghiurilor utilizand compensarea sculei. Piesele complexe sunt generate aproape exclusiv, in cazul frezarilor de conturare, exploatand compensarile de scula.
Raza sculei (corectia de raza) este masurata si apoi memorata in fisierul de corectii. Odata descris conturul de prelucrat, echipamentul de conducere numerica poate genera orice echidistanta la acesta (traseul pe care trebuie sa il parcurga centrul sculei) tinand seama de raza sculei, fara alte interventii speciale in program.
Pentru a intelege mai bine compensarea sculei in cazul frezarii de conturare trebuie avute in vedere urmatoarele:
Sa contina apelul uneia din functiile G41 sau G42, sau sa urmeze unei fraze cu G41/G42;
Sa contina o comanda de miscare G01 in planul XOY, iar deplasarea comandata sa fie mai mare decat raza sculei;
G73 .. G89 cicluri de gaurire
Un ciclu de gaurire simplifica programul de conducere numerica prin inlocuirea unei secvente de blocuri cu unul, sau cel mult doua blocuri.

In general, un ciclu de gaurire este
alcatuit din sase operatii, conform Fig. 16:
Operatia 1 Pozitionarea sculei deasupra gaurii pe X si Y
Operatia 3 Executarea gauririi (avans de lucru)
Operatia 4 Prelucrarea fundului gaurii
Operatia 5 Retragerea sculei pana la nivelul R
Operatia 6 Retragerea rapida a sculei pana in punctul initial
Pozitionarea sculei se face in planul XOY, iar prelucrarea efectiva a gaurii, dupa axa Z.
Exista trei categorii de comenzi pentru descrierea unui ciclu de gaurire:
Comenzi pentru programare in coordonate absolute/relative (G90 / G91)
Comenzi pentru retragerea sculei G98 (retragerea sculei la nivelul initial) si G99 (retragere scula la nivelul R)
G73 - gaurire rapida
Sintaxa frazei care contine G73 este urmatoarea:
G90 G98
sau sau G73 X. Y. Z. Q. F.;
G91 G99

Burghiul se pozitioneaza deasupra
primei gauri, la nivelul initial, apoi comanda G73 este citita de controler si
incepe ciclul. Burghiul se apropie rapid pana in punctul R, de unde incepe sa
se deplaseze cu avans de lucru pana cand va fi ajuns la adancimea Q fata de
acest punct. Urmeaza o retragere pe o anumita distanta. Aceasta distanta, mica,
nu poate fi controlata de programator, ea fiind o constanta a masinii. Urmeaza
o noua faza de gaurire pe adancimea Q si o scurta retragere. Aceasta secventa
se repeta pana la atingerea fundului gaurii (planul Z). Retragerea burghiului
dupa prelucrarea gaurii se face pana in punctul initial daca a fost programata
functia G98, sau pana in punctul R daca activ este G99. Se citeste un nou bloc
si daca acesta contine adresele X si/sau Y se pozitioneaza burghiul in punctul
indicat si se reia ciclul de gaurire rapida.
Sintaxa frazei care contine G74 este urmatoarea:
G90 G98
sau sau G74 X. Y. Z. P. R. F.;
G91 G99
Secventa de miscari este urmatoarea:
Op.1 Pozitionare rapida in X, Y si Z (nivelul initial).
Op. 2 Apropiere rapida pana in punctul R.
Op. 3 Prelucrare pana la adancimea Z.
Op. 4 Temporizare si schimbarea sensului de rotatie a brosei port-scula.
Op. 5 Retragere cu avans de lucru pana in punctul R.
Op.6 Temporizare si revenirea la sensul normal de rotatie a brosei port-scula.
Dupa cum in fraza care a declansat filetarea a fost programat G98 sau G99 se va face retragere rapida pana la nivelul initial sau scula va ramane in punctul R pana la urmatoarea miscare.
Observatie: trebuie respectata relatia F=S*P unde F=avansul, S=turatia, P= pasul filetului.
Sintaxa frazei care contine G74 este urmatoarea:
G90 G98
sau sau G76 X. Y. Z. R. P. Q. F.;

G91 G99
Secventa de miscari este urmatoarea:
Op.1 Pozitionare rapida in X, Y si Z (nivelul initial).
Op. 2 Apropiere rapida pana in punctul R.
Op. 3 Prelucrare pana la adancimea Z.
Op. 4 Temporizare, oprirea turatiei arborelui principal si retragerea sculei catre centrul gaurii cu distanta Q.
Op. 5 Retragere cu avans de lucru pana la nivelul R.
Op.6 Revenirea sculei in punctul R (deplasare pe distanta -Q).
Miscarea urmatoare depinde de functia care a fost apelata in fraza alezare: G98 sau G99.
Observatie: Acest
ciclu poate fi utilizat doar pe masinile la care este posibila orientarea
brosei port-scula, adica oprirea ei precisa astfel incat varful sculei de
alezat sa fie plasat pe o anumita generatoare a gaurii (planul median vertical
al sculei trebuie sa fie paralel cu planul XOZ al masinii, pentru ca retragerea
Q a sculei sa se efectueze intr-adevar catre centrul gaurii).
Unele din adresele utilizate la programarea ciclurilor de gaurire sunt modale (Z, P, Q si R), astfel incat raman memorate si dupa efectuarea ciclului pentru care au fost programate. Ciclul trebuie anulat, astfel eliminandu-se automat din memorie valorile adreselor Z, P, Q si R, inainte de a programa un alt ciclu. Anularea unui ciclu se face cu functia G80. Aceasta trebuie plasata in fraza consecutiva programarii ciclului.
Observatie:
G80 este activat automat la:
pornirea masinii;
actionarea butonului Reset de pe panoul de control;
G90 - programare in coordonate
absolute
Functia G90 activeaza modul de lucru cu programarea punctelor in coordonate absolute (raportate la nulul piesei). Programarea in coordonate absolute este modul implicit de lucru; daca intr-un program nu este apelata nici una din functiile din grupul 3 (vezi tabelul 1), deci nu este precizat tipul de coordonate utilizat pentru programarea punctelor, se considera ca toate coordonatele utilizate sunt absolute (tinand seama de exceptiile prezentate deja, exemplu, adresele I si J).
Observatie:
G90 este activ in mod implicit la pornirea masinii, dupa resetarea de la panoul de control al masini si dupa oprirea masinii cu butonul oprire de urgenta.
Functia G91 activeaza modul de lucru cu programarea punctelor in coordonate relative. Din momentul apelarii ei coordonatele utilizate pentru programarea punctelor sunt masurate fata de pozitia curenta a sculei.
Functiile G90 si G91 apartin aceluiasi grup, deci nu pot coexista in aceeasi fraza.
Cand este activ G94 avansul programat este exprimat in ul/min, unde ul este unitatea de masura pentru lungime: inch sau mm dupa cum este activ G20, respectiv G21.
Cand este activ G95 avansul programat este exprimat in ul/rot, unde ul este unitatea de masura pentru lungime: inch sau mm dupa cum este activ G20, respectiv G21.
Functia G98 este utilizata conjugat cu functiile pentru programarea ciclurilor de gaurire. Daca este activ G98, retragerea sculei dupa prelucrarea gaurii se face pana la nivelul initial (planul orizontal in care s-a facut pozitionarea sculei).
Functia G99 este utilizata conjugat cu functiile pentru programarea ciclurilor de gaurire. Daca este activ G99, retragerea sculei dupa prelucrarea gaurii se face pana la nivelul R (planul orizontal pana la care s-a efectuat apropierea rapida a sculei). Reamintim ca nivelul (cota Z) a planului respectiv se programeaza cu adresa R in cadrul ciclurilor de gaurire.

Prin utilizarea functiilor G170 ..
G173 se poate programa prelucrarea buzunarelor circulare sau dreptunghiulare
(Fig. 22).
Observatie: Trebuie acordata o atentie deosebita programarii ciclurilor pentru prelucrarea buzunarelor, deoarece fiecare ciclu poate fi descris in trei moduri. Diferentierea modurilor de descriere se face prin valorile care urmeaza adreselor P, I si J in cazul buzunarelor circulare (G170, G171) sau adreselor P, I si K in cazul buzunarelor dreptunghiulare (G172, G173). Desi rezultatul final (forma si dimensiunile buzunarului) este acelasi, de modul in care sunt utilizate adresele mai sus mentionate depinde traiectoria pe care o parcurge scula in timpul prelucrarii.
In continuare se prezinta sase exemple de programe in care se utilizeaza functiile pentru prelucrarea buzunarelor interioare, cate trei pentru fiecare tip de buzunar. Pentru fiecare tip de buzunar sunt prezentate toate variantele de programare a ciclului de prelucrare.
Observatie: punctul de 0 absolut este memorat in fisierul de corectii
Programul nr. 2 - Program de degrosare pentru prelucrarea unui buzunar circular folosind functiile G170 si G171
|
[BILLET X75 Y90 Z30; |
Dimensiunile semifabricatului |
|||
|
[EDDGEMOVE X - 37,5 Y- 45; |
Pozitia punctului de zero relativ la coltul din stanga jos al semifabricatului |
|||
|
[TOOLDEF T1 D6 Z0; |
Nr. sculei, diametrul si pozitia acesteia |
|||
|
O0005; |
Nr. de program |
|||
|
N0040 G91 G21 G28 X0 Z0; |
Coordonatele punctului de referinta |
|||
|
N0050 M06 T01; |
Nr. sculei |
|||
|
N0060 G90 G00 X0 Y0 Z10 S3000 M03; |
Coordonate absolute, deplasare rapida a sculei de 10 mm deasupra suprafetei de prelucrat, pornire turatie arbore principal |
|||
|
N0070 G01 Z0 F300; |
Aproprierea sculei de suprafata piesei si setarea avansului |
|||
|
N0080 G170 R0 P0 Q3 X0 Y0 Z-6 I0 J0 K-24; |
Ciclu de prelucrare a buzunarului circular |
|||
|
N0090 G171 P75 S3000 R75 F250 B3500 J200; |
Ciclu de prelucrare a buzunarului circular |
|||
|
N0100 G00 Z25 M05; |
Deplasare rapida a sculei la 25 mm deasupra suprafetei prelucrate si oprirea turatiei |
|||
|
N0110 G91 G28 X0 Y0 Z0; |
Intoarcere la punctul de nul |
|||
|
|
Resetare program |
Explicarea pe larg a liniilor de program in care sunt implicate functiile G170 si G171
Pentru functia G170: N0080 G170 R0 P0 Q0 X0 Y0 Z6 I0 J0 K-24
R- defineste pozitia sculei pe axa Z la inceputul ciclului
P- cand P este 0 ciclul este destinat degrosarii
Q - defineste incrementarea pe Z in vederea prelucrarii buzunarului. In programul de mai sus patrunderea sculei in adancimea piesei se face in pasi de cate 3 mm.
X - defineste coordonata in X a centrului buzunarului
Y - defineste coordonata in Y a centrului buzunarului
Z - defineste baza buzunarului (- 6 mm) fata de suprafata piesei.
I - defineste adaosul de prelucrare pe suprafata laterala (0 doar la degrosare)
J - defineste adaosul de prelucrare la baza buzunarului (0 doar la degrosare)
K - raza buzunarului (-24 deoarece prelucrarea se va face in sens trigonometric)
Pentru functia G171: N0090 G171 P75 S300 R75 F250 B3500 J200
P -adancimea de aschiere, ca procentaj din diametrul sculei (75% din diametrul sculei)
S - turatia la degrosare (S3000) 3000 rot/min
R - avansul la degrosare de-a lungul axei Z (75 mm/min)
F - avansul la degrosare in planul XY (250) (250 mm/min)
B - turatia la finisare (3500 rot/min); neaplicabila in cazul degrosarii
J - avansul la finisare (200 mm/rot); neaplicabila in cazul degrosarii
La stabilirea corectiilor de scula trebuie specificata raza frezei cu care se va prelucra buzunarul. Sensul parcurgerii traseului de prelucrare este controlat de K. K<0 (K-24) sugereaza o parcurgere in sens trigonometric iar K>0 in sens orar; valoarea lui Q este totdeauna pozitiva (Q+3).
Cand s-a incheiat prelucrarea, scula aschietoare se retrage 1 mm de-a lungul axei Z, se deplaseaza apoi rapid pana in centrul buzunarului iar apoi continua sa se retraga de-a lungul axei Z. Programul de mai sus este conceput pentru o prelucrare de degrosare in doua treceri.
Diferenta dintre programul anterior (0002) si acesta (0003) este aceea ca acest program lasa un adaos si pentru finisare pe peretii buzunarului si la baza acestuia.
[BILLET X75 Y90 Z30;
[EDDGEMOVE X - 37,5 Y- 45;
[TOOLDEF T1 D6 Z0;
O0003
N0040 G91 G21 G28 X0 Z0;
N0050 M06 T01;
N0060 G90 G00 X0 Y0 Z10 S3000 M03;
N0070 G01 Z0 F300;
N0080 G170 R0 P0 Q3 X0 Y0 Z-6 I0 J0 K-24;
N0090 G171 P75 S3000 R75 F250 B3500 J200;
N0100 G00 Z25 M05;
N0110 G91 G28 X0 Y0 Z0;
N0120 M30;
Explicarea pe larg a liniilor de program in care sunt implicate functiile G170 si G171
Pentru functia G170: N0080 G170 R0 P0 Q3 X0 Y0 Z-6 I0.5 J0.1 K-24
R- se defineste pozitia sculei pe axa Z la inceputul ciclului
P- cand P este 0 ciclul este destinat degrosarii
Q - defineste incrementarea pe Z in vederea prelucrarii buzunarului. In programul de mai sus incrementarea se face de doua ori, cu cate 3 mm de fiecare data, rezultand astfel adancimea buzunarului de 6 mm.
X - defineste coordonata in X a centrului buzunarului
Y - defineste coordonata in Y a centrului buzunarului
Z - defineste baza buzunarului (- 6 mm) fata de suprafata piesei
I - indica marimea adaosului de prelucrare lasat pe peretele buzunarului pentru finisare
J - indica marimea adaosului de prelucrare lasat pe fundul buzunarului pentru finisare
K - raza buzunarului (-24 deoarece prelucrarea se va face in sens trigonometric)
Pentru functia G171: N0090 G171 P75 S300 R75 F250 B3500 J200
P -adancimea de aschiere, ca procentaj din diametrul sculei (75% din diametrul sculei)
S - turatia la degrosare (S3000) 3000 rot / min
R - avansul la degrosare de-a lungul axei Z (75 mm/min)
F - avansul la degrosare in planul XY (250) (250 mm/min)
B - turatia la finisare (3500 rot/min)
J - avansul la finisare (200 mm/rot)
Diferenta dintre programul anterior si cel prezent mai jos consta in aceea ca in acest caz scula aschietoare se deplaseaza pana la adancimea finala a buzunarului, realizand doar operatia de finisare.
[BILLET X75 Y90 Z30;
[EDDGEMOVE X - 37,5 Y- 45;
[TOOLDEF T1 D6 Z0;
O0004;
N0040 G91 G21 G28 X0 Z0;
N0050 M06 T01;
N0060 G90 G00 X0 Y0 Z10 S3000 M03;
N0070 G01 Z0 F300;
N0080 G170 R0 P1 Q3 X0 Y0 Z-6 I0.5 J0.1 K-24;
N0090 G171 P75 S3000 R75 F250 B3500 J200 ;
N0100 G00 Z25 M05;
N0110 G91 G28 X0 Y0 Z0;
N0120 M30;
Explicarea pe larg a liniilor de program in care sunt implicate functiile G170 si G171
Pentru functia G170: N0040 G170 R0 P1 Q3 X0 Y0 Z6 I0.5 J0.1 K-24
R- se defineste pozitia sculei pe axa Z la inceputul ciclului
P- cand P=1 este programat un ciclu exclusiv de finisare
Q - este ignorat daca P=1
X - defineste coordonata in X a centrului buzunarului
Y - defineste coordonata in Y a centrului buzunarului
Z - defineste baza buzunarului (- 6 mm) fata de suprafata piesei.
I - este ignorat daca P=0
J - este ignorat daca P=0
K - raza buzunarului (-24 deoarece prelucrarea se va face in sens trigonometric)
Pentru functia 171: N0040 G171 P75 S300 R75 F250 B3500 J200
P - adancimea de aschiere, ca procentaj din diametrul sculei (75% din diametrul sculei)
S - turatia la degrosare (S3000). Trebuie introdusa o valoare pentru S, insa aceasta va fi ignorata in cazul unei prelucrari exclusiv de finisare
R - avansul la degrosare de-a lungul axei Z (75). Trebuie introdusa o valoare, insa aceasta va fi ignorata in cazul unei prelucrari exclusiv de finisare
F - avansul la degrosare in planul XY (250). Trebuie introdusa o valoare, insa aceasta va fi ignorata in cazul unei prelucrari exclusiv de finisare
B - turatia la operatia de finisare (3500 rot/min)
J - avansul operatia de finisare (200 mm/rot)
Observatie: desi o serie de adrese sunt ignorate in timpul rularii programului, acestea trebuie sa existe (inclusiv valoarea lor numerica) pentru ca fraza sa fie interpretata corect si in acest mod evitate eventualele erori.

Observatie: punctul de 0 absolut este memorat in fisierul de corectii
Programul nr. 5. Program pentru degrosarea unui buzunar dreptunghiular
|
M00 - oprirea programului
M01 - oprirea optionala a
programului
Are acelasi efect ca si functia anterioara M00, cu diferenta ca in acest caz echipamentul CNC nu va opri programul decat daca este actionata tasta optionala [STOP]. M02 - resetarea programuluiAceasta functie sesizeaza sfarsitul programului si realizeaza o resetare generala a MUCN, iar echipamentul CNC va aduce toate setarile masinii la starea lor initiala. Functia se aseamana cu M05. M03 - pornirea turatiei cu rotirea axului principal in sens orarRotirea arborelui principal in sens orar este determinata de vizualizarea arborelui principal de sus in jos, privind din spatele acestuia catre scula aschietoare de-a lungul axei Z. Pornirea turatiei este activata la inceputul blocului de program in care este prezenta functia M03, inaintea realizarii celorlalte miscari ale elementelor mobile. M04 - pornirea turatiei cu rotirea axului principal in sens trigonometricFunctia este asemanatoare cu functia precedenta (M03) cu deosebirea ca rotirea arborelui principal se face in sens trigonometric. M05 - oprirea turatieiFunctia M05, de oprire a turatiei, este activata la incheierea blocului din care face parte (de exemplu dupa incheierea deplasarilor). M06 - schimbarea automata a sculelorActiveaza deplasarea magazinului de scule in pozitia arborelui principal in vederea schimbarii sculei. Ex: M06 T03: Aceasta linie de comanda va realiza schimbarea sculei curente (fixate pe masina) cu scula numarul 3. De fapt, M06 apeleaza un subprogram care presupune efectuarea mai multor actiuni: M08 - pornirea lichidului de
racire-ungere
Porneste pompa circuitului de racire-ungere. M09 - oprirea lichidului de racire-ungereOpreste pompa circuitului de racire - ungere. M10 deschiderea sistemului de fixare a semifabricatuluiDeschide sistemul de fixare in vederea eliberarii semifabricatului. M11 - inchiderea sistemului de fixare a semifabricatuluiInchide sistemul de fixare in vederea prinderii semifabricatului. M13 - pornirea a turatiei in sens orar si a lichidului de racire-ungereAceasta functie combina functiile M03 si M08 prezentate anterior. Functia M05 va opri simultan turatia si lichidul de racire-ungere . M14 - pornirea turatiei in sens trigonometric si a lichidului de racire-ungereRealizeaza pornirea concomitenta a turatiei (in sens invers fata de M13) si a lichidului de racire-ungere. M19 - orientarea arborelui principalAceasta functie va realiza o orientare a arborelui principal M20 - deplasarea MASS (Magazinul Automat de Schimbare a Sculelor) sub arborele principalAceasta functie realizeaza deplasarea magazinului de scule din pozitia sa initiala sub arborele principal al MUCN. M21 - deplasarea MASS de sub arborele principalRealizeaza deplasarea MASS in pozitia sa initiala (langa arborele principal) M22 - deplasarea MASS in josRealizeaza deplasarea MASS de-a lungul axei Z in jos. M23 - deplasarea MASS in susRealizeaza deplasarea MASS de-a lungul axei Z in sus. M24 - deschiderea sistemului de fixare a sculeiDeschide mecanismul de prindere al sculelor in axul masinii. M25 - inchiderea sistemului de fixare a sculeiInchide mecanismul de prindere al sculelor in axul masinii. M27 - resetarea pozitiei magazinului de sculeRestabileste pozitia initiala a magazinului de scule. Este mai de graba o actiune logica, in urma acesteia locasul din fata al magazinului de scule va fi interpretat ca fiind primul locas. Aceasta functie nu produce rotirea magazinului de scule; de regula functia M27 se utilizeaza conjugat cu M32 sau M33. M30 - oprirea programului si pozitionare la inceputul luiAceasta functie opreste rularea programului in momentul cand s-a ajuns la sfarsitul lui. Dupa aceasta ECN realizeaza si un "reset" revenind la prima linie a programului. Daca functia M30 este urmata de un numar de bloc, programul se va intoarce la inceputul acelui bloc de program. Ex: M30 P0140 - Programul este oprit si revine la blocul cu numarul 140. M32 - rotirea magazinului de scule in sens orarRealizeaza indexarea in sens orar a magazinului de scule (sensul orar se stabileste privind magazinul de scule de sus in jos). M32 - rotirea magazinului de scule in sens antiorarRealizeaza indexarea in sens antiorar a magazinului de scule (sensul orar se stabileste privind magazinul de scule de sus in jos). M38 - deschiderea usii de protectieDeschide ecranul protector al masinii. Concomitent cu aceasta se opreste turatia daca este pornita. Cata vreme capacul de protectie este deschis nu pot fi lansate comenzi masinii nici in mod direct, nici din program. M39 - inchiderea usii de protectieInchide ecranul protector al masinii. Aceasta nu presupune si repornirea automata a turatiei oprite cu M38. M6267, M76, M77Aceste functii sunt destinate transmiterii de informatii de la MUCN catre un echipament auxiliar al acesteia (spre exemplu, robotul). Aceste functii transmit informatia catre echipamentul auxiliar si asteapta un raspuns de la acesta, care confirma realizarea operatiei. In afara de semnificatia acestor functii, prezentata in tabelul de la paragraful 23.1, nu sunt necesare alte explicatii. M70 - schimbarea semnului pe directia X - activatIn timpul rularii programului, aparitia functiei M70 va avea ca efect schimbarea semnului coordonatei pe directia X.. Ex.: G0 X25,5 M70 G01 X 25.5 - scula se va deplasa catre coordonata X - 25.5 M71 - schimbarea semnului pe directia Y - activatAre acelasi efect ca si M70, insa pe directia Y M80 - schimbarea semnului pe directia X - dezactivatAnuleaza schimbarea semnului pentru urmatoarele coordonate in X M81 - schimbarea semnului pe directia Y - dezactivatAnuleaza schimbarea semnului pentru urmatoarele coordonate in Y M98 - apelare subprogramVa genera realizarea unui salt din programul principal la un subprogram existent in memorie. Acesta este identificat prin intermediul numarului sau. Numarul subprogramului apelat se introduce prin adresa P, ca in exemplul urmator, care se traduce prin 'Apelul subprogramul numarul 1003' N0560 M98 P1003 M99 - incheierea subprogramului si revenirea in programul apelantPe ultima linie a unui subprogram functia M99 incheie rularea subprogramului predand controlul programului apelant. Daca M99 este prezenta pe ultima linie a programului principal, aceasta va genera un ciclu infinit in care programul principal este mereu reluat. Daca functia M99 este urmata de adresa P care indica un numar de bloc, revenirea in programul apelant se va face la blocul respectiv, si nu la cel consecutiv apelului de subprogram. Document InfoAccesari: 24751 Apreciat: Comenteaza documentul:Nu esti inregistratTrebuie sa fii utilizator inregistrat pentru a putea comenta Creaza cont nou A fost util?Daca documentul a fost util si crezi ca meritasa adaugi un link catre el la tine in site in pagina web a site-ului tau.
Copyright © Contact (SCRIGROUP Int. 2025 ) |