ALTE DOCUMENTE
|
||||||||||
FACULTATEA DE TEXTILE
PROIECT
ORGANE DE MASINI SI MECANISME
INDRUMATOR EXECUTANT
BIBLIOGRAFIE:
CAIET DE SARCINI MARCU BALEKIS –REDUCTOARE CILINDRICE
ATLAS DE REDUCTOARE
COLECTII DE STANDARDE PENTRU REDUCTOARE
SA SE PROIECTEZE UN GRUP DE ANTRENARE COMPUS DINTR-UN MOTOR ELECTRIC ASINCRON TRIFAZAT SI UN REDUCTOR DE TURATIE CU ROTI DINTATE CU DINTII INCLINATI INTR-O SINGURA TREAPTA.
GRUPUL DE ANTRENARE VA SATISFACE URMATOARELE CONDITII:
COD REDUCTOR : 1C2N001
PUTEREA DE ANGRENARE : P=11KW
VITEZA UNGHIULARA DE
ANTRENARE : ![]()
RAPORT DE TRANSMISIE: i=2.36
UNGHIUL DE INCLINARE A
DANTURII: ![]()
NR. DE ANI DE FUNCTIONARE
PRELIMINAR: ![]()
NR. DE SCHIMB DE LUCRU
PRELIMINAR: ![]()
DURATA RELATIVA DE
LUCRU:
drl=55%
Numarul de trepte 1
Tip de angrenaje C
Pozitia relativa a axelor angrenajelor 2
Indicatii suplimentare N-reductoare cu axele arborilor de intrare si de iesire dispuse altfel decat cele indicate la simb. H…E

Solutia constructiva- Tipul lagarelor –o cifra-0-
Lagare cu elemente de rostogolire
Modul de fixare a carcasei –2cifre-01-
Carcasa deasupra placii de sprijin

2. DESCRIEREA CONSTRUCTIVA SI FUNCTIONALA A TRANSMISIEI
Reductorul se compune din doua roti ,pe doi arbori de contact.
Transmiterea momentului de arbore catre roata si invers se face prin pene.Cei doi arbori se monteaza pe cate doi rulmenti.
Acest subansamblu se monteaza intr-o carcasa inchisa cu patru capace,doua strapunse si doua nestrapunse.
De arborele de intrare se leaga motorul ,iar de arborele de iesire se leaga masina de lucru.
In partea inferioara a carcasei avem o talpa care se prinde in pardoseala
DETERMINAREA TENSIUNII ADMISIBILE LA INCOVOIERE
![]()
![]()
![]()
![]()


![]()
![]()
Pentru ca angrenajul nu il vom roda in fabrica alegem :
![]()
![]()

![]()
![]()

![]()
![]()
Este recomandat in functie de materrialul rotii sa se aleaga un numar de dinti intre 17 si 25.
Aleg pentru Roata 1 (roata
conducatoare
)
Se calculeaza
(nr.
de dinti a rotii conduse)
![]()
Numarul de dinti a rotii
conduse trebuie sa fie numar intreg, deci Z![]()

Daca nr. de dinti Z
ales este mai mic decat nr de dinti optim Z
solicitarea predominanta va fi oboseala la contact. Daca nu , solicitarea
predominanta va fi oboseala la incovoiere.


Aleg conform STAS-9822-S1
modulul m![]()
-Calculul distantei dintre
axele de referinta a![]()
-Standardizarea distantei dintre axe.
-Aleg conform STAS(6012/60) a=205(mm)
-Parametrii cremalierei de referinta
-Unghiul de referinta in plan frontal
-Unghiul de angrenare in plan frontal
-Suma deplasarilor specifice de profil
-in
radieni
ev20=0.014
ev![]()
ev![]()
X![]()
-Diametrul de utilizare
d![]()
-Diametrul de rostogolire
-Diametrele de baza
-Jocul radial in plan frontal
-Diametrele de fund
-Diametrele de varf
-Calculul inaltimii dintilor
-Gradul de acoperire in plan frontal
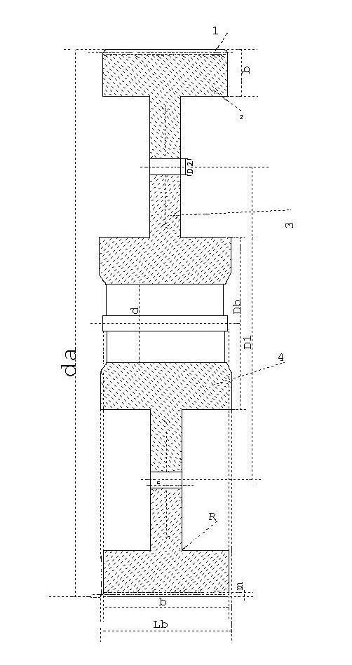
CALCULUL LATIMII PRELIMINARE A ROTII DINTATE
b-latimea
-Alegerea tipului de roata
dintata se face in functie de diametrul de fund (
)
-Daca
si ![]()
d=diametrul arborelui in zona de mutare a rotii atunci se va alege o roata dintata corp comun cu arborele (fig.1.12 pag47)
-Daca conditia de mai sus nu este indeplinita ,roata dintata va fi montata pe arbore
-Daca
(diametrul
de varf)
,roata
arata ca si in fig 1.14 pag 48
-Daca d
=150
fig
1.16. pag 49
-Daca
fig.1.17 pag 49

Fig.1.12.

fig.1.14.



-tensiunea admisibila la torsiune
Obs. Diametrul calculat in aceasta metoda va fi cel mai mic diametru al arborelui,adica diametrul din zona de fus.

Din catalogul de rulment SKF aleg urmatorii rulmenti:
-pentru arborele 1 aleg 7305B cu urmatoarele caracteristici:
-pentru arborele 2 aleg 7307B cu urmatoarele caracteristici:


Plan orizontal

Plan orizontal


Rulmentul I 7305 B Sarcina dinamica ![]()
Sarcina statica ![]()
Rulmentul II 7307 B Sarcina dinamica ![]()
Sarcina
statica ![]()
Sarcina dinamica echivalenta
se calculeaza in functie de raportul dintre
si
.
Datorita faptului ca
este destul de mic se accepta
=![]()
![]()
durabilitatea nominala in ore
Cr –sarcina dinamica C a rulmentului
Pr-sarcina radiala echivalenta
p- exponent =3
![]()

Calculul penelor se rezuma la alegerea din standarde a dimensiunilor sectiunii transversale ale penei in functie de diametrul arborelui si de a determina lungimea necesara a penei.
Din conditia de rezistenta la solicitarea de contact rezulta:

Din conditia de rezistenta la solicitarea de frecare rezulta:
unde:
![]()
b=8 h=7 ![]()
l=18-90 mm
momentul de torsiune
d =diametrul pe care se monteaza pana 27
8.85
|