UNIVERSITATEA DIN PITESTI
FACULTATEA DE MECANICÃ SI TEHNOLOGIE
AUTOVEHICULE RUTIERE

INDRUMÃTOR STUDENT
TEMA DE PROIECTARE
Sa se proiecteze un sistem pentru actionarea unei masini de ridicat format din motor electric, transmisie indirecta (transmisie prin curea sau transmisie prin lant ), reductor de turatie cu doua trepte, cuplaj, masina de lucru.
Caracteristici tehnice :
Puterea la arborele masinii de lucru : P [kW] = 4.98
Turatia la acelasi arbore : n [rot/min] = 60
Regimul de lucru al sistemului : stationar
Caracteristica mecanica a masinii de lucru: constanta
Durata de functionare a sistemului : Lh [ore functionare] = 14500
Raportul de transmitere al reductorului : iRT2 = 10
Raportul de transmitere al transmisiei indirecte (curea sau lant) : iTI = 1.6
Randamentul masinii de lucru : (va fi stabilt de proiectant)
Caracteristici de montaj :
Transmisia indirecta si cuplajul vor fi in asa fel montate incat gabaritul sistemului de actionare sa fie minim iar siguranta in functionare maxima.
CAP 1. STUDIU ASUPRA SOLUTIILOR CONSTRUCTIVE
Studiu asupra transmisiilor indirecte
Transmisii prin curele
Transmisiile prin curele realizeaza transmiterea puterii de la roata motoare la una sau mai multe roti conduse, prin intermediul unui element flexibil fara sfarsit. Transmiterea miscarii se poate realiza cu alunecare (cazul transmisiilor prin frictiune cu curele late sau trapezoidale) si fara alunecare (cazul transmisiilor sincrone, cu curele dintate).
Utilizarea transmisiilor prin curele - in limitele parametrilor functionali din tabelul 1 - este economica (nu necesit& 727d33h atilde; o precizie ridicata de executie si se intretine usor), asigura un nivel redus al vibratiilor si implicit, o fiabilitate marita in exploatare.
Transmisiile prin curele prezinta si unele dezavantaje, care constau in gabaritul lor relativ mare, iar in cazul transmisiilor cu frictiune prin curele late si trapezoidale, nu asigura un raport de transmitere constant datorita alunecarilor, ale caror valori sunt influentate de coeficientul de frecare, depinzand de conditiile mediului ambiant.
|
Tipul curelei |
Puterea transmisa, kW |
Viteza curelei, m/s |
Raportul de transmitere |
|
|
Utilizare normala |
Utilizare limita |
|||
|
Curele late foarte flexibile |
|
|
|
|
|
Curele late compound |
|
|
|
|
|
Curele trapezoidale |
|
Clasice, 30 Inguste, 50 |
|
|
|
Curele late dintate |
|
|
|
|
Se disting o multitudine de tipuri in functie de forma geometrica a sectiunii si performantele functionale (putere transmisa, viteza periferica limita, flexibilitate, etc.).
Curele trapezoidale clasice: Y; Z; A; B; C si D, la care lp /h=1,3.1,4.
Curele trapezoidale inguste: SPZ; SPA; SPB si SPC, la care lp /h=1.1,1. Aceste tipuri de curele ofera avantajul unei suprafete marite de contact cu locasul rotii, deci o rezistenta mai mare la rupere, comparativ cu curelele clasice.
Curele trapezoidale speciale la care forma concava a flancurilor in stare libera ofera avantajul unei asezari corecte in functionare (stare deformata) si, implicit, o durabilitate superioara.
Curele dublu trapezoidale, care asigura transmiterea miscarii in cazul transmisiilor cu mai multe roti conduse, dispuse pe ambele parti ale curelei.
In figurile de mai jos sunt prezentate doua sectiuni printr-o curea trapezoidala si una dublu trapezoidala.
Transmisii prin lanturi
Transmisiile prin lanturi sunt larg utilizate in constructia de masini prezentand, comparativ cu alte tipuri de transmisii, o serie de avantaje:
arborii si lagarele transmisiei cu lant suporta numai reactiunile datorate cuplului transmis, lanturile nemaipunand o forta de intindere la montaj;
raport constant de transmitere (nu exista alunecari);
realizarea unor distante dintre axe relativ mari, fara a necesita investitii suplimentare (roti dintate intermediare cu arborii si lagarele respective) ca in cazul transmisiilor prin roti dintate.
Principalele dezavantaje ale transmisiilor prin lanturi deriva din efectul poligonal datorat infasurarii poligonale a zalelor pe periferia rotilor de lant. Ca urmare a acestui efect si a socului ciocnirii dinte - rola, transmisia prin lant este mai putin silentioasa, permitand o viteza periferica relativ mai mica. In plus, viteza de miscare a lanturilor - in special in cazul unui numar mic de dinti ai rotilor - nu este riguros constanta, ceea ce produce o neuniformitate a turatiei rotii conduse, chiar in cazul unei turatii constante a rotii conducatoare.
Lanturile de transmisie articulate sunt constituite din zale de formare, deoarece lanturile functioneaza ca lanturi inchise (fara sfarsit). Livrarea se face ca lanturi deschise, deci se impune inchiderea acestora.
Lanturile cu bolturi sunt cele mai simple din punct de vedere constructiv, avand zalele formate numai din zale si eclise. Lanturle cu bolturi se utilizeaza, de regula, la viteze mai mici sau egale de 3m/s, ca urmare a faptului ca - avand o suprafata de contact mica in articulatia bolt - eclisa prezinta o rezistenta redusa la uzare.
Lanturile cu bucse (simple sau multiple) au suprafata de contact a articulatiei mai mare, articulatia formandu-se intre bolt si bucsa. Din cauza ca - in timpul functionarii - deplasarea bucsei pe flancul dintilor rotii de lant se produce prin alunecare, acest tip de lant se utilizeaza la viteze relativ mici (3 - 5 m/s).
Lanturile cu bucse si role sunt larg utilizate in constructia de masini pentru transmisiile de putere. Acest tip de lant, comparativ cu cel precedent, are montate, pe bucse, role, care intra in golurile dintre dintii rotii de lant; acestea inlocuiesc frecarea de alunecare - dintre lant si flancul dintelui - cu frecare de rostogolire, preluand si socul ciocnirii in procesul de angrenare a lantului pe roata.
In figurile de jos sunt prezentate doua tipuri de lanturi:
a) lant cu eclise simple;
b) lant fara spatiu liber intre eclise (tip Flyer).
Studiu asupra reductoarelor cu doua trepte de turatie, cu roti dintate cilindrice si conice
Consideratii generale
Transmisiile mecanice dintre motor si masina de lucru maresc sau micsoreaza viteza, respectiv, momentul transmis; modifica traiectoria sau caracterul miscarii; modifica sensul sau planul de miscare; regleaza si modifica continuu viteza; sumeaza miscarea si momentele de transmis de la mai multe motoare sau distribuie miscarea la mai multe masini sau organe de lucru; protejeaza organele masinii motoare contra suprasarcinilor.
Transmisiile mecanice pot fi prin angrenare sau frecare. Transmisiile prin angrenare (roti dintate) cu raport de transmitere constant montate in carcase inchise se numesc reductoare cand reduc turatia (i>1) si amplificatoare cand maresc turatia (i<1).
Reductoarele pot fi cu una, doua sau mai multe terpte de reducere. In functie de pozitiile relative ale arborelui motor si condus reductoarele se construiesc cu roti dintate cilindrice (cand cele doua axe sunt paralele sau coaxiale), cu roti conice si roti pseudoconice (cand cei doi arbori sunt concurenti sau incrucisati) sau in combinatii de roti conice sau angrenaje melcate cu roti cilindrice (la rapoarte de transmitere mari).
Reductoarele, dupa tipul angrenajului, pot fi: cilindrice, conice, elicoidale, pseudoconice, melcate sau combinate.
Reductoarele cu roti dintate prezinta urmatoarele avantaje:
raport de transmitere constant;
posibilitati de realizare a unor transmisii cu incarcari de la cativa newtoni la incarcari foarte mari;
gabarit redus;
randament ridicat;
intretinere simpla si ieftina.
Ca dezavantaje se mentioneaza:
cost relativ ridicat;
executie si montaj de precizie;
producerea de zgomot, socuri si vibratii.
Reductoarele cu roti dintate cilindrice sunt cele mai raspandite datorita gamei largi de puteri si rapoarte de transmitere ce se pot realiza cu ajutorul lor cat si a posibilitatii tipizarii si executiei in uzine specializate. In practica se intalnesc reductoare pentru puteri pana la 100000 kW, la viteze periferice ale rotilor de pana la 200 m/s.
Reductoarele cilindrice sunt standardizate si tipizate. Sunt standardizate distanta dintre axe, raportul de transmitere si dimensiunile principale, ceea ce permite fabricarea in serie a carcaselor si utilizarea la reductoare de diverse puteri si rapoarte de transmitere.
Reductoarele cu angrenaje cilindrice pot fi construite cu roti dintate cilindrice cu dinti drepti, inclinati sau in V, cu dantura exterioara si foarte rar cu dantura interioara. Felul danturii depinde de viteza periferica a rotii si de destinatia transmisiei.
Rotile dintate cilindrice cu dinti drepti se recomanda: la viteze periferice reduse, cand nu apar socuri si zgomot; in cazul in care nu se admit forte axiale in arbori si lagare; la cutii de viteze cu roti deplasabile etc.
Rotile dintate cilindrice cu dinti inclinati si in V se recomanda la angrenaje silentioase si la viteze periferice mari. Rotile dintate cu dinti in V se folosesc, de preferinta, la reductoarele de dimensiuni mari pe cand cele cu dinti drepti si inclinati la reductoarele mici si mijlocii. In general se prefera rotile dintate cu dinti drepti, din cauza tehnologiei si a montajului lor mai simplu.
Numarul de trepte al reductorului depinde de raportul de transmitere "i". La reductoarele cu o treapta, i = 1,2.6,3 (max.8); la reductoarele cu doua trepte
i = 7,1.56 (max.60); la reductoarele cu trei trepte i = 40.180 (max.200).
Reductoarele cu doua trepte se executa practic in patru variante. Varianta din figura de mai jos se foloseste la rapoarte de transmitere i = 7,1.56, cu randament de 0,97.0,98 si este cea mai raspandita, fiind standardizata.
La puteri mai mari si rapoarte de transmitere i = 7,1.60 se utilizeaza reductoare cu roti dintate cilindrice cu dinti in V.
Pentru rapoarte de
transmitere i = 7,1.56, la distante dintre axe, variind intre 160 -
Acestea sunt constructii scurte dar de latime marita. Ambele roti conduse pot ajunge in baia de ulei; arborele condus se afla in continuarea arborelui motor. Incarcarea pe dinti se repartizeaza insa neuniform datorita arborelui intermediar, care rezulta mai lung.
O varianta de reductor cu roti cilindrice cu doua trepte cu arbori verticali este prezentata in figura urmatoare:
Reductoarele conice se folosesc in cazul transmiterii puterii intre arbori cu axe concurente pentru rapoarte de transmitere i = 1.6 si numai atunci cand constructia masinii impune utilizarea lor. Cum de obicei o roata dintata conica este in consola, conditiile de lucru sunt mult inrautatite. La reductoarele de putere mare, pentru inlaturarea acestui dezavantaj, se pot utiliza angrenaje pseudoconice sau hipoide la care ambele roti pot fi montate intre reazeme. Randamentul acestor reductoare este 0 .0,99.
La reductoarele cu mai multe trepte, cand se impune utilizarea unui angrenaj conic, acesta se foloseste totdeauna la prima treapta deoarece are capacitatea portanta mai mica. In figurile de mai jos sunt date trei variante de reductoare in doua trepte, la care prima treapta este conica. Aceste reductoare sunt utilizate pentru rapoarte de transmitere i = 4.40, cu un randament de 0,97.0,98.
Rotile conice cu dinti drepti se folosesc la viteze periferice reduse
(v < 2.3 m/s), cand unele abateri ale pasului sau profilului nu produc incarcari dinamice mari si zgomot. Rotile conice cu dinti drepti sunt foarte sensibile la defecte de montaj si deformatii sub sarcina, in schimb produc cea mai redusa incarcare axiala dintre toate tipurile de roti conice.
3 m/s pana la 35.40 m/s. Pentru viteze periferice mai mari, dintii se slefuiesc.
Studiu asupra cuplajelor permanente mobile
Cuplajele sunt organe de masini care asigura legatura si transferul de energie mecanica intre doua elemente constructive, de obicei coaxiale, ale unui lant cinematic fara a avea posibilitatea modificarii legii de miscare.
Pe langa functia importanta de transmitere a miscarii si a momentelor de torsiune cuplajele mai pot ingeplini urmatoarele functii :
comanda a miscarii
compensare a erorilor de executie si montaj
amortizare a socurilor si vibratiilor
limitarea a unor parametrii functionali
Ca rezultat al acestei diversitati de conditii functionale exista astazi o mare varietate de forme constructive de cuplaje.
Cuplajele pot fi : mecanice, hidraulice si electromagnetice.
Cuplajele hidraulice realizeaza transmiterea energiei prin intermediul unui fluid, putand fi hidrodinamice sau hidrostatice, dupa cum utilizeaza energia cinetica sau presiunea fluidului.
Cuplajele electromagnetice transmit momentul de torsiune utilizand fortele de interactiune electromagnetice.
natura legaturii realizate intre elemente, cuplajele pot fi permanente sau intermitente, la ultimele legatura putand fi stabila sau intrerupta, in timpul functionarii. In functie de posibilitatea compensarii abaterilor de montaj intre elementele legate cuplajele permanente pot fi fixe sau mobile. La randul lor cuplajele permanente mobile se impart in rigide si elastice, functie de capacitatea de amortizare a socurilor si vibratiilor torsionale.
cuplaje axiale
cuplaje transversale sau radiale
cuplaje unghiulare
cuplaje combinate
Cuplajele axiale asigura transmiterea momentului de torsiune intre arbori cu lungime variabila, in special pentru compensarea deformatiilor termice.
Cuplajele transversale transmit miscarea de rotatie intre doi arbori montati cu o excentricitate variabila. Varianta cea mai raspandita este cuplajul Oldham.
Cuplajele permanente mobile cu elemente intermediare elastice sunt denumite astfel deoarece au in componenta lor un element elastic care determina proprietatile si calculul de proiectare al cuplajului.
Rolul principal al cuplajelor elastice consta in limitarea vibratiilor de rezonanta si atenuarea socurilor de torsionare prin acumularea elastica temporara a lucrului mecanic si redarea acestuia sistemului prin revenirea treptata a elementului elastic la forma si pozitia initiala.
1.4. Sisteme de actionare
Sistemele de actionare se definesc ca fiind instalatii mecanice formate din motor electric, transmisie mecanica si masina de lucru:
Se deosebesc doua tipuri de S.A., dupa sursa motoare:
S.A. mecanice
S.A. manuale
Tipuri de sisteme de actionari
cu reductor cilindric cu o treapta
cu reductor conico- cilindric cu doua trepte
cu reductor normal cu doua trepte
CAP.2 ALEGEREA SOLUTIEI PENTRU PROIECTARE
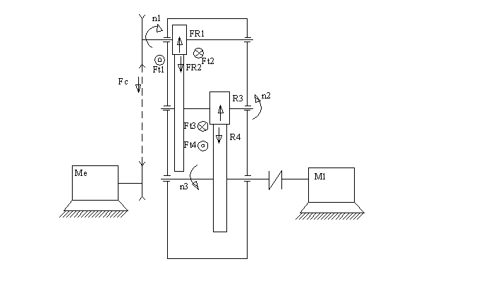
ME - motor electric
TI - transmisie indirecta prin curele trapezoidale
RT2 - reductor de turatie in doua trepte
LR - lagare de rostogolire (rulmenti)
z1, z2, z3, z4 - roti dintate
I, II, III - arbori:
I - arbore de intrare sau arbore principal
II - arbore secundar
III - arbore de iesire
CPM - cuplaj permanent mobil
ML - masina de lucru
Alegerea motorului electric
Puterea motorului electric rezulta din relatia:

Se ia la puterea a 6-a deoarece sunt 6 lagare.
![]()
Se ia la puterea a 2-a deoarece sunt doua angrenaje cilindrice.
Asadar, randamentul transmisiei mecanice este:
![]()
Puterea motorului electric este:
![]()
Turatia motorului electric
Raportul de transmitere al masinii este:![]()

in care:
nML - turatia la arborele masinii de lucru
nME - turatia motorului electric
nML = 62.5 [rot/min]
![]()
Stiind puterea PME = 5.5 [kW] si turatia nME = 1000 [rot/min], se adopta tipul de motor electric:
cu urmatoarele caracteristici:
motor asincron trifazat cu rotor in scurtcircuit, in constructie inchisa
P = 5.5 [kW]
n = 1000 [rot/min]
curent nominal la 380V: 6,63 [A]
Calculul parametrilor cinematici si dinamici la nivelul arborilor
Puterea:
Turatia:
Momentul:
Arborele
II
Puterea:
Turatia:
Arborele I
Puterea:
Turatia:
Momentul:
CAP.3 PROIECTAREA TRANSMISIEI PRIN CURELE
In figura sunt prezentate dimensiunile si abaterile limita ale sectiunilor canalelor rotilor de curea:
lp - latimea primitiva a canalului
n - inaltimea canalului deasupra liniei primitive
m - adancimea canalului sub linia primitiva
f - distanta dintre axa sectiunii canalului extrem si marginea vecina a rotii
e - distanta dintre axele sectiunilor la doua canale vecine
- unghiul canalului
r - raza de rotunjire a marginii canalului
Dp - diametrul primitiv al rotii de curea
De - diametrul exterior al rotii: De = Dp + 2n
B - latimea totala a rotii:
B = (z - 1)e +
z - numarul de canale corespunzator numarului de curele
Pentru sistemul de proiectat se alege sectiunea canalului z cu urmatoarele dimensiuni:
lp = 8.5 [mm]
nmin. = 2.5 [mm]
mmin. = 9 [mm]
f = 9 [mm]
e = 12.03 [mm]
= 35º
r = 0.5 [mm]
Parametrii de calcul
Puterea la arborele conducator:
Pc = PME = 5.5 [kW]
2 - Turatia rotii de curea conducatoare:
n1 = nME = 1000 [rot/min]
3 - Turatia rotii de curea conduse:
n2 = nI = 250 [rot/min]
4 - Regimul de lucru al transmisiei:
stationar
5 - Raportul de transmitere:
iTI = 1.6
6 - Tipul curelei:
SPB
7 - Diametrul primitiv al rotii mici:
Dp1 = 160 [mm]
Conform STAS 1163 - 71: Dp1 = (63.180) [mm]
8 - Diametrul primitiv al rotii mari:
![]()
9 - Diametrul primitiv mediu al rotilor de curea:
![]()
10 - Distanta dintre axe:
I - Preliminara:

se adopta: A = 450 [mm]
II - Definitiva:


11 - Unghiul dintre ramurile curelei:

12 - Unghiul de infasurare la roata mica de curea:
![]()
se adopta:
13 - Unghiul de infasurare la roata mare de curea:

14 - Viteza periferica a curelei:
![]()
15 - Coeficientul de functionare:
cf = 1.7 conform STAS 1163 - 71
16 - Coeficientul de lungime:
CL = 0.93 conform STAS 1163 - 71
17 - Coeficientul de infasurare:
C conform STAS 1163 - 71
18 - Puterea nominala transmisa de o curea:
P0 = 3.44 [kW]
19 - Numarul de curele:
I - Preliminar:
II - Definitiv:
![]()
Cz = 0.95 - coeficientul numarului de curele
Se adopta:
Z = 2 - numarul de curele
20 - Numarul de roti ale transmisiei:
x = 2
21 - Frecventa incovoierilor curelei:
![]()
22 - Forta periferica transmisa:
![]()
23 - Forta de intindere a curelei:
Sa = (1.5 . 2)F = 1100[N]
24 - Cotele de modificare a distantei dintre axe:

CAP. 4 PROIECTAREA ANGRENAJELOR
4.1 Calculul angrenajului treptei I
Date de proiectare
a) Puterea nominala transmisa de pinion:
P1 = 5.215[kW]
b) Turatia pinionului:
n1 = 625 [rot/min]
c) Raportul de transmitere:
i1 = 5
d) Durata de functionare a angrenajului:
Lh = 14500 [ore]
e) Regim de functionare: uniform
Determinarea elementelor dimensionale principale ale angrenajului
Momentul de torsiune nominal la pinion are valoarea:
Viteza periferica a pinionului este:
Se adopta treapta de precizie a angrenajului treapta 8.
Rugozitatea flancurilor Ra se alege functie de treapta de precizie si se adopta
Ra ≤ 3.2[ m].
Procedeul de prelucrare care sa asigure treapta de precizie aleasa este frezarea grosolana.
Pentru rotile dintate se adopta drept material: otel carbon de calitate OLC 45, imbunatatit, cu urmatoarele caracteristici:
duritatea miezului dintelui: HV = 185
duritatea miezului: HB = 200.300; se adopta HB = 250
rezistenta la rupere: σr = 620 [N/mm²]
limita de curgere: σc = 360 [N/mm²]
rezistenta la rupere prin oboseala la piciorul dintelui:
![]()
presiunea hertziana limita la oboseala:
![]()
1 - Cremaliera de referinta
conform Popa, N "Organe de Masini - Elemente de teorie pentru proiectare vol.II"
De asemenea NLI,II >NBF rezulta YN = 1
conform Popa, N "Organe
de Masini - Elemente de teorie pentru
proiectare vol.II"

7 - Distanta dintre axe

Se adopta:
a = 100 [mm]
8 - Unghiul de antrenare frontal
![]()
9 - Deplasarile specifice de profil
X1 = 0.5 [mm]
X2 = 0.5 [mm]
10 - Numerele de dinti
![]()
Se adopta:
Z1 = 27 dinti
se adopta:
Z2 = 131 dinti
11 - Diametrele de divizare
![]()
12 - Diametrele de baza
13 - Coeficientul scurtarii capului dintelui
14 - Diametrul de cap

15 - Diametrul de picior

16 - Diametrul de rostogolire

17 - Latimea danturii

18 - Pasul pe cercul de divizare
![]()
19 - Pasul pe cercul de baza
![]()
20 - Arcul frontal de divizare al dintelui
![]()
21 - Inaltimea dintilor
![]()
22 - Lungimea normala peste N dinti
![]()
Se adopta:
N1 = 3 dinti

Verificarea subtaierii dintilor

conditia Z1,2 ≥ Z1,2min este indeplinita deoarece Z1 = 27 de dinti si Z2 = 131 de dinti
Coeficientul deplasarilor minime de profil

Verificarea interferentei dintilor
Diametrul inceputului evolventic

Diametrul inceputului si sfarsitului angrenarii


Calculul angrenajului treptei II
Date de proiectare
f) Puterea nominala transmisa de pinion:
P2 = 5.1 [kW]
g) Turatia pinionului:
n2 = 250 [rot/min]
h) Raportul de transmitere:
i2 = 2,5
i) Durata de functionare a angrenajului:
Lh =14500 [ore]
j) Regim de functionare: uniform
Determinarea elementelor dimensionale principale ale angrenajului
Momentul de torsiune nominal la pinion are valoarea:
Ra ≤ 6.3[ m].
Procedeul de prelucrare care sa asigure treapta de precizie aleasa este matritarea.
Pentru rotile dintate se adopta drept material: otel carbon de calitate OLC 45, imbunatatit, cu urmatoarele caracteristici:
duritatea miezului dintelui: HV = 185
duritatea miezului: HB = 200.300; se adopta HB = 250
rezistenta la rupere: σr = 620 [N/mm²]
limita de curgere: σc = 360 [N/mm²]
rezistenta la rupere prin oboseala la piciorul dintelui:
![]()
presiunea hertziana limita la oboseala:
![]()
1 - Cremaliera de referinta
12 - Diametrele de baza
13 - Coeficientul scurtarii capului dintelui
14 - Diametrul de cap

15 - Diametrul de picior

16 - Diametrul de rostogolire

17 - Latimea danturii

18 - Pasul pe cercul de divizare
![]()
19 - Pasul pe cercul de baza
![]()
20 - Arcul frontal de divizare al dintelui
![]()
21 - Inaltimea dintilor
![]()
22 - Lungimea normala peste N dinti
![]()
Se adopta:
N3 = 3 dinti

Verificarea subtaierii dintilor

conditia Z3,4 ≥ Z3,4min este indeplinita deoarece Z3 = 32 de dinti si Z4 =127 de dinti
Coeficientul deplasarilor minime de profil

Verificarea interferentei dintilor
Diametrul inceputului evolventic

Diametrul inceputului si sfarsitului angrenarii


4.1.2.2. Verificarea la incovoiere

4.1.3. Calculul capacitatii portante
la solicitarea de contact

la solicitarea de incovoiere

coeficientii:

au fost alesi conform Radulescu, Gh. "Indrumar de proiectare in constructia de masini", vol.III.
Din calculele efectuate la treapta I si treapta II rezulta ca momentul capabil al reductorului este:
la solicitarea de contact: MHcap = 13.57791 [Nm]
la solicitarea de incovoiere: MFcap = 34.37538 [Nm]
CAP. 5 PROIECTAREA ARBORILOR. ALEGEREA ORGANELOR DE
ASAMBLARE A ROTILOR CU ARBORII
Stabilirea schemei de incarcare
Pentru sistemul tehnic de proiectat avem urmatoarea schema de incarcare simplificata:
Calculul fortelor din sistem:
forta de transmis din curea:
![]()
tensiunea din ramura activa
![]()
coeficientul de frecare
viteza de alunecare
![]()
tensiunea din ramura pasiva
![]()
forta rezultanta pe arbore


rezulta ca S este verticala
Fortele pe treapta I

Fortele pe treapta II

Predimensionarea arborilor
Se adopta pentru arbori materialul OL50, conform STAS 500 - 78, cu urmatoarele caracteristici:
![]()
Diametrele preliminare ale arborilor sunt:

se adopta:
dI = 20 [mm]
dII = 40 [mm]
dIII = 50 [mm]
Stabilirea formei preliminare a arborilor
5.3.1. Stabilirea deschiderii intre lagare
Arborele intermediar
Se adopta:
B = 20 [mm]
b2 = 32 [mm]
b3 = 64 [mm]
x = 5 [mm]
l1 = 15 [mm]
l2 = 15 [mm]
l3 = 15 [mm]
Distanta dintre lagare se determina cu relatia:
![]()
Lungimea arborelui este:
![]()
Arborele de intrare
Se adopta:
B = 20 [mm]
x = 5 [mm]
b1 = 46 [mm]
l1 = 10 [mm]
l3 = 40 [mm]
Distanta dintre lagare se determina cu relatia:
![]()
Lungimea arborelui este:
![]()
Arborele de iesire
Se adopta:
B = 32 [mm]
x = 5 [mm]
b4 = 50 [mm]
l1 = 16 [mm]
l3 = 50 [mm]
Distanta dintre lagare se determina cu relatia:
![]()
Lungimea arborelui este:
![]()
5.3.2 Calculul de rezistenta al arborilor la solicitari compuse
5.3.2.1. Arborele de intrare
in plan vertical


in plan orizontal

Se insumeaza geometric momentele din cele doua plane:

Se calculeaza momentul echivalent:
![]()
- coeficient ce tine seama de ciclurile de variatie ale celor doua momente ce se insumeaza:


5.3.2.2. Arborele intermediar
in plan vertical


in plan orizontal

Se insumeaza geometric momentele din cele doua plane:

Se calculeaza momentul echivalent:
![]()
- coeficient ce tine seama de ciclurile de variatie ale celor doua momente ce se insumeaza:


5.3.2.3. Arborele de iesire
in plan vertical


- in plan orizontal

Se insumeaza geometric momentele din cele doua plane:

Se calculeaza momentul echivalent:
![]()
- coeficient ce tine seama de ciclurile de variatie ale celor doua momente ce se insumeaza:


Forma constructiva a arborilor
Diametrele arborilor in punctele unde se monteaza rotile dintate:
arborele de intrare

se adopta:


Pinionul se executa dintr-o bucata cu arborele daca:
![]()

conditia nu se verifica, deci pinionul se monteaza pe arbore prin pana.
Diametrul arborelui se majoreaza:
si se adopta: dII =
13[mm].
Din STAS 1004-81se adopta pana cu capete rotunde cu dimensiunile:
b = 5 [mm]; h = 5 [mm]; t1 = 3 [mm]; t2 = 2,3 [mm]; r2 = 0,25 [mm].
Lungimea penei: ![]()
Se adopta pentru executia penelor OLC 45 STAS 880-78 cu σas = 40 [N/mm²]. Penele se prelucreaza prin forjare urmata de o prelucrare prin frezare.
Se adopta: l = 20 [mm]
Efortul unitar la
forfecare:![]()
arborele intermediar

se adopta:

Pe diametrul dII se monteaza roata condusa z2 care are df = 83 [mm]. Roata se monteaza pe arbore printr-o pana.
Diametrul arborelui se majoreaza:
si se adopta: dII =
36[mm].
Din STAS 1004-81se adopta pana cu capete rotunde cu dimensiunile:
b = 6 [mm]; h = 6 [mm]; t1 = 3,5 [mm]; t2 = 2,8 [mm].
Se adopta pana paralela: A 6x6x20 pentru roata; pentru pinion: A 6x6x40
Lungimea penei: ![]()
Se adopta pentru executia penelor OLC 45 STAS 880-78 cu σas = 40 [N/mm²]. Penele se prelucreaza prin forjare urmata de o prelucrare prin frezare.
Se adopta: l = 20 [mm] pentru roata si l = 40 [mm] pentru pinionul treptei a II-a.
Efortul unitar la forfecare:

arborele de iesire

se adopta:


Pe diametrul dII se monteaza roata condusa z4 care are df = 163[mm]. Roata se monteaza pe arbore printr-o pana.
Diametrul arborelui se majoreaza:
si se adopta: dII =
21[mm].
Din STAS 1004-81se adopta pana cu capete rotunde cu dimensiunile:
b = 6 [mm]; h = 6 [mm]; t1 = 3,5 [mm]; t2 = 2,8 [mm].
Lungimea penei: ![]()
Se adopta pentru executia penelor OLC 45 STAS 880-78 cu σas = 40 [N/mm²]. Penele se prelucreaza prin forjare urmata de o prelucrare prin frezare
Se adopta: l = 35 [mm]
Efortul unitar la forfecare:
![]()
5.3.4 Verificarea arborilor
5.3.4.1. Verificarea arborilor la oboseala
se face in sectiunea canalului de pana
arborele de intrare
modulele de rezistenta:

In sectiunea canalului de pana, la mijloc:

![]()
pentru OL50 cu σr = 50.60 [daN/mm²], avem:

Pentru OL50 (STAS 500-81) caracteristicile mecanice sunt:

Coeficientii de siguranta sunt:

Coeficientul de siguranta total:
![]()
arborele intermediar
modulele de rezistenta:

In sectiunea canalului de pana, la mijloc:

![]()
Coeficientii de siguranta sunt:

Coeficientul de siguranta total:
![]()
arborele de iesire
modulele de rezistenta:

In sectiunea canalului de pana, la mijloc:

![]()
Coeficientii de siguranta sunt:

Coeficientul de siguranta total:
![]()
Verificarea arborilor la deformatii
Se calculeaza sagetile maxime in plan orizontal si vertical.
arborele de intrare
Sageata data de S (in plan vertical):

Sageata data de Ft1 (in plan vertical): ![]()
L2 = 41 [mm]
Sageata totala:
Sageata data de Fr1 (in plan orizontal):
Sageata in punctul in care se monteaza roata:
Sageata admisibila se ia functie de deschiderea intre lagare:
sau fata de modulul rotii care se monteaza pe arbore:
Verificarea este asigurata in ambele cazuri.
arborele intermediar
![]()
Sagetile in punctul de montare al rotii conduse a treptei I:
![]()
![]()
![]()
![]()
sau
![]()
![]()
![]()
![]()
sau
Verificarea este asigurata in ambele cazuri.
arborele de iesire
![]()
Sagetile in punctul de montare a rotii conduse a treptei a II-a:
![]()
![]()
![]()
![]()
sau
Se calculeaza turatia critica si se compara cu turatia de regim.
arborele de intrare
Greutatea pinionului treptei I este:
![]()
in care:
Sageata statica:
![]()
Turatia critica este:

arborele intermediar
Greutatea rotii treptei I este:
![]()
Sageata statica:
![]()
Turatia critica este:

Greutatea pinionului treptei II este:
![]()
Sageata statica:
![]()
Turatia critica este:

arborele de iesire
Greutatea rotii treptei II este:
![]()
Sageata statica:
![]()
Turatia critica este:

CAP. 6 CALCULUL SI ALRGEREA CUPLAJULUI
Diametrul de cap al
arborelui pe care se monteaza cuplajul este d =
Se adopta cuplaj manson monobloc cu pene paralele. Diametrul cuplajului
este dat de relatia:
;
.
Se adopta pana paralela cu dimensiunile:
b = 6 [mm]
h = 6 [mm]
Lungimea necesara penelor este:
![]()
se adopta: l = 20 [mm].
Se adopta pana paralela A 6x6x20 STAS 1004 - 81.
Lungimea mansonului este data de formula:
![]()
CAP. 7 CALCULUL SI ALEGEREA DIN STAS A
LAGARELOR
pentru arborele de intrare
Diametrul fusului:
B = 19 [mm]
r = 0.5 [mm]
C = 2.85 [kN]
Co = 1.56 [kN]
Forta radiala in lagare este:
Forta radiala preluata de rulmentul conducator este:
Capacitatea dinamica de incarcare este:
pentru arborele intermediar
Diametrul fusului:
B = 19 [mm]
r = 0.5 [mm]
C = 4.00 [kN]
Co = 2.27 [kN]
Forta radiala in lagare este:
Forta radiala preluata de rulmentul conducator este:
Capacitatea dinamica de incarcare este:
pentru arborele de iesire
Diametrul fusului:
B = 16 [mm]
r = 0.5 [mm]
C = 4.40 [kN]
Co = 2.55 [kN]
Forta radiala in lagare este:
Forta radiala preluata de rulmentul conducator este:
Capacitatea dinamica de incarcare este:
Roata de curea se monteaza pe arborele de intrare printr-o pana.
Diametrul capului de arbore este: d = 10 [mm].
Se adopta pana paralela cu dimensiunile: b = 4 [mm]; h = 4 [mm].
Lungimea penei rezulta din relatia:
se adopta l = 10 [mm].
Efortul unitar la forfecare:![]()
CAP. 8 CALCULUL RANDAMENTULUI
SISTEMULUI PROIECTAT
Randamentul
total al reductorului este dat de relatia:
CAP. 9 CAIET DE SARCINI
NOTITA TEHNICA
Sistemul de actionare este proiectat pentru transmiterea miscarii de rotatie si a cuplului motor de la motorul electric la masina de lucru.
Ansamblele si subansamblele componente ale transmisiei sunt realizate pe masini unelte existente, folosind procedee de fabricatie necostisitoare.
Organele de masini ce intra in componenta acestor ansamble sunt in mare parte standardizate si interschimbabile (suruburi, bolturi de centrare, rulmenti, inele de siguranta, curele, cuplaje, garnituri etc.).
Pentru evitarea accidentelor in timpul exploatarii transmisiei se vor lua urmatoarele masuri de protectie a muncii:
motorul electric si celelalte componente vor fi cuplate la impamantare;
se va evita atingerea partilor componente ale transmisiei in timpul functionarii;
in timpul opririi accesul la partile componente ale transmisiei il vor avea doar persoanele autorizate.
Gafitanu , M. - ORGANE DE MASINI. 1983
RADULESCU, GH.- INDRUMAR DE PROIECTARE IN CONSTRUCTIA DE MASINI. 1986
CRUDU, I. - ATLAS - REDUCTOARE CU ROTI DINTATE, 1981
|