ALTE DOCUMENTE
|
||||||||||
Frānarea este procesul rpin care se reduce partial sau total viteza autovehculului. Ea se realizeaza prin generarea īn mecanismele de frānare ale rotilor a unui moment de franare ce determina aparitia unei forte de frānare la roti indreptata dupa directia vitezei autovehiculului dar de sens opus ei.
Aprecierea si compararea capacitatii de frānare a autovehiculului se face cu ajutorul deceleratiei maxime absolute (af) sau relarive (df), a timpului de frānare (tf) si a spatiului minim de frānare (Sf), īn functie de viteza initiala a autovehiculului.
Pentru
determinarea marimilor de mai sus
īn bibliografia de specialitate sunt prezentate relatii analitice de
calcul. Relatiile prezentate se
refera la un autovehicul la care repartitia fortelor de frānare
este ideala, respectiv deceleratiile relative (
) realizate de fiecare punte au marimi egale. Cum īn
realitate acest lucru se īntāmpla numai īn cazuri particulare, in
constructia sistemelor de frānare sunt introduse dispozitive de reglare a
f 949i83j ortei de frānare pe punti īn functie de sarcina dinamica
(sau statica).
In acest caz, pentru mentinerea stabilitatii miscarii si manevrabilitatii autovehiculului īn timpul procesului de frānare la un spatiu de oprire minim, s-a introdus pe scara internationala (Regulamentul ECE-ONU Nr. 13 seria de amendamente 05), diagrama privind repartizarea fortelor de frānare pe punti īn conditii de compatibilitate pentru elementele constructive si de utilizare ale autovehiculului.
Indeplinirea acestor conditii, reglementate si prin STAS 11960-89, este obligatorie si pentru faza de predimensionare dinamica a autovehiculului, reprezentānd criteriile de apreciere a capacitatii de frānare prin performantele de frānare.
Normativele privitoare la capacitatea de frānare, cu valabilitate īn tara noastra, acorda atentie deosebita eficacitatii dispozitivelor de frānare evaluate pe baza spatiului de frānare. Sunt prevazute prescriptii privitoare la caracteristicile constructive ale dispozitivelor de frānare, metode de īncercare si eficacitatea frānarii pentru fiecare categorie īn parte (autovehiculele si remorcile sunt clasificate in categoriile M,N,O). In tabelul 7.1 sunt prezentate performantele de frānare ale sistemelor de frānare ale autovehiculelor din categoriile M si N.
Tabelul 7.1. Performante ale sistemelor de frānare ale autovehiculelor prevazute īn
STAS 11960-
|
Autovehiculul |
Viteza de īncercare [km/h] |
Efortul maxim la pedala [daN] |
Formula pentru calculul spatiului de frānare [m] |
Deceleratia medie [m/s2] |
|
|
tipul |
categoria |
||||
|
Autoturisme |
M1 |
|
|
|
|
|
Autobuze cu masa totala pāna la 5.000 kg |
M2 |
|
|
|
|
|
Autobuze cu masa totala de peste 5.000 kg |
M3 |
||||
|
Autocamioane cu masa totala pāna la 3.500 kg |
N1 |
|
|
|
|
|
Autocamioane cu masa totala intre 3.500 si 12.000 kg |
N2 |
|
|||
|
Autocamioane cu masa totala de peste 12.000 kg |
N3 |
|
|||
7.1. Parametrii capacitatii de frānare.
Parametrii ce caracterizeaza frānarea autovehiculului sunt: deceleratia, spatiul si timpul de frānare. Pentru aprecierea capacitatii de frānare, respectiv a posibilitatilor maxime, se folosesc deceleratia maxima si spatiul minim de frānare.
7.1.1. Determinarea deceleratiei.
a) Cazul īn care frāneaza rotile ambelor punti,
j - coeficientul de aderenta;
a - unghiul de inclinare longitudinala a drumului (pentru drum orizontal a
b) Cazul īn care frāneaza numai rotile puntii din fata,
7.2. Repartizarea fortelor de frānare īntre puntile autovehiculului.
Considerānd autovehiculul īn miscare rectilinie frānata īn conditiile īn care fortele de frānare la roti ating simultan limita aderentei (caz ideal), reactiunile normale la punti au expresiile urmatoare:
7.3. Valorificarea rezultatelor
z1 si z2 pentru autoturisme (categoria M1 de automobile din STAS 11960-89).
Pentru aceste autovehicule se impune incadrarea coeficientilor de utilizare a aderentei īn culuarul:
pentru
(7.18)
Fig. 7.1. Valorile admise pentru coeficientii de utilizare a aderentei la autoturisme
Pentru toate starile de īncarcare ale autovehiculului, curba de aderenta utilizata la puntea din fata (z1) trebuie sa se gaseasca deasupra celei pentru puntea din spate (z2 ).
Normativele
enumerate mai sus admit o inversare a curbelor de aderenta
utilizata īn zona
cu conditia ca
aceasta curba de aderenta pentru puntea din spate sa
nu depaseasca cu mai mult de 0,05 dreapta de ecuatie
, denumita dreapta de echiaderenta.
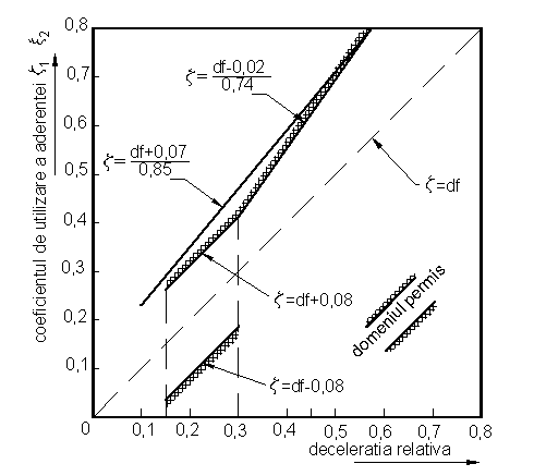
In figura 7.2. se prezinta valorile admise pentru coeficientii de utilizare a aderentei z1 si z2 pentru autobuze si autocamioane.
Fig. 7.2.Valorile admise pentru coeficientii de utilizare a aderentei la autocamioane si autobuze
Pentru
aceste autovehicule se conditioneaza īncadrarea coeficientilor
de utilizare a aderentei, pentru intervalul deceleratiilor
relative
, īntr-un coridor (fara a se mentiona raportul
dintre z1 si z2)
definit
de dubla inegalitate
(7.19)
Pentru valori df
>0,3 curba de aderenta utilizata la
puntea din fata trebuie sa se gaseasca deasupra celei
pentru puntea din spate, ambele curbe fiind situate sub dreapta de
ecuatie:
(7.20)
7.4. Exemplu de calcul
Tema
de proiect: pentru un autoturism cu caroseria de tipul limizina
care are viteza maxima
, sa se determine principalele marimi de performanta pentru capacitatea de
frānare
Pentru autoturismul din tema de proiectare principalele marimi de calcul sunt prezentate īn tabelul 7.2.
Tabelul 7.2. Parametrii de calcul ai autoturismului
|
mo |
|
|
|
ma |
m1 |
m2 |
j |
df |
a |
|
[Kg] |
|
|
|
[kg] |
[kg] |
[kg] |
|
|
|
|
|
|
|
|
|
|
|
|
|
|
a) Determinarea deceleratiei.
- cazul īn care frāneaza rotile ambelor punti (rel.7.1),
![]()
- cazul īn care frāneaza numai rotile puntii din fata (rel.7.2),

- cazul īn care frāneaza numai rotile puntii din spate (rel.7.3),
b) Determinarea spatiului minim de frānare (rel.7.5),
c) Determinarea timpului minim posibil de frānare (rel.7.7),
d) coeficientii de utilizare a aderentei rezulta sub forma:
pentru puntea din fata (rel 7.16):
![]()
![]()
pentru puntea din spate (rel.7.17):
, ceea ce inseamna ca la frānare rotile puntii din
fata ating limita aderentei īnaintea celor din spate, respectiv la
frānare rotile puntii din fata sunt suprafrānate fata de
rotile puntii din spate;
|