Universitatea POLITEHNICA din Bucuresti
Facultatea Ingineria si Managementul Sistemelor Tehnologice
Programul de studii Inginerie Economica Industriala
PROIECT DE
PRODUSE, PROCESE
SI SISTEME (2)
T E M A
PROIECTULUI
Studiu tehnico - economic
privind
proiectarea procesului de productie și
a unui echipament tehnologic pentru
produsul Motor chiulasa
1. Proiectare proces și sistem de producție
1.1. Date initiale generale
Motor chiulasa DRW0003.
1.2. Date constructiv- functionale
Schite constructive [IMPP; GHID; ]
O schita a ansamblului “” se prezinta in fig. 1.2.1, in care produsul considerat are poz 828d35i .3.
Fig. 1.2.1
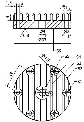
O schita a produsului “ Motor chulasa DRW0003” se prezinta in fig. 1.2.2, unde Sk, k = 1, 2, …, 9 sunt suprafetele definitorii.

Fig. 1.2.2
1.2.2. Caracteristici constructive prescrise [IMPP1; ; ]
•Tolerante generale conform ISO2768-mK
•Muchiile se tesesc la 0,5x45°
S2
plana
S3
cilindrica
S4
semicilindrica
S5
semicilindrica
S6
plana
S7
cilindrica
Ø33x8,5
S8
plana
S9
semicilindrica
R0,75
Abaterile limita generale pentru dimensiunile liniare [ ISO 2768 ] sunt prezentate in tabelul 1.2.2.
Tabelul 1.2.2
|
Clasa de toleranta |
Abateri limita pentru dimensiuni nominale [mm] |
|||
|
Simbol |
Descriere |
|
|
|
|
e b. Concordanta dintre caracteristicile constructive prescrise si cele impuse de rolul functional / tehnologic In general, gradul de concordanta dintre caracteristicile constructive (CC) prescrise si cele impuse de rolul functional / tehnologic, λc, este λc = cc / ct unde cc este numarul CC prescrise care sunt in concordanta cu cele impuse de cerintele functional-tehnologice, iar ct - numarul total al CC prescrise. Analiza caracteristicilor prescrise ansamblului si produsului prin proiectul initial a reliefat ca j = caracteristici prescrise reperului nu sunt in concordanta cu cele impuse de cerintele functional-tehnologice. Astfel, initial, λci, este λci = ( ct - 2) / ct S-au propus urmatoarele modificari: Nr. crt. |
Conditie |
Grad de satisfacere / Da sau Nu |
||
|
|
Forma de gabarit sa prezinte axe sau plane de simetrie care, dupa caz, sa fie utile pentru definirea planului(-elor) de separatie a semimatritelor |
Da |
||
|
|
Elementele constructive de tip inclinare, racordare, grosime de perete, de dimensiune l, sa indeplineasca conditia l ≥ lmin sau/si l ≤ lmax, in care lmin si lmax sunt valori limita impuse de procedeul tehnologic |
Da |
||
|
|
Forma sau pozitia unor suprafete sa fie asftel incat sa prezinte “inclinari” in raport cu planul de separatie a semiformelor |
Da |
||
|
|
Alezajele sa fie patrunse |
Da |
||
|
|
Suprafetele de intindere mare sa fie intrerupte prin denivelari sau canale |
Da |
||
|
|
Trecerile dintre anumite suprafete sa fie sub forma de degajare/canal sau de racordare in functie de cerintele functionale si/sau de cerintele impuse de procedeul de prelucrare |
Da |
||
|
|
Suprafetele frontale ale gaurilor sa fie plane si perpendiculare pe axele gaurilor |
Da |
||
|
|
Forma si pozitia bosajelor, gaurilor sau locasurilor sa fie astfel incat sa conduca la un numar minim de pozitii ale piesei/sculei in timpul operatiei, acces usor al sculelor in zona de lucru |
Da |
||
1.3. Semifabricare si prelucrari
1.3.1. Semifabricare
Se cunosc:
caracteristicile semifabricatelor, metodelor si procedeelor de semifabricare [IMPP1;;].
Avand in vedere considerentele de mai sus, se adopta doua variante tehnic-acceptabile de semifabricare, care se prezinta in tabelul 1.3.1.
|
Tabelul 1.3.1 |
|||
|
Var. |
Semifabricat |
Metoda de semifabricare |
Procedeul de semifabricare |
|
I |
Semifabricat cu adaosuri de prelucrare relativ “mici” SF1: Fig.1.3.1 |
Turnare |
Turnare in forma metalica |
|
II |
Semifabricat cu adaosuri de prelucrare relativ “mari” SF2: Fig.1.3.2 |
Turnare |
Turnare in forme permanente |
Varianta I
Astfel, se adopta clasa II de precizie conform STAS 7670.
Caracteristicile specifice turnarii (var. I) [; ] si caracteristicile prescrise semifabricatului sunt prezentate in tabelul 1.3.2 , fig. 1.3.1 si, respectiv, desenul semifabricatului.
Tabelul 1.3.2
|
Clasa de precizie |
Adaos total de prelucrare, mm |
Abateri limita prescrise, mm |
|
II |
|
|

Fig. 1.3.1
Varianta II
Astfel, se adopta clasa IV de precizie conform STAS 7670.
Caracteristicile specifice turnarii (var. II) [; ] si caracteristicile prescrise semifabricatului sunt prezentate in tabelul 1.3.3 , fig. 1.3.2 si, respectiv, desenul semifabricatului.
Tabelul 1.3.3
|
Clasa de precizie |
Adaos total de prelucrare, mm |
Abateri limita prescrise, mm |
|
III |
|
|

Fig. 1.3.2
1.3.2. Prelucrari
Sk
Var.
Prelucrari
S1, S3
I
II
Gaurire
Alezare
S2
I
II
S4, S5
I
II
Frezare
S6
I
Frezare degrosare
Frezare semifinisare
Frezare finisare
II
Frezare degrosare
Frezare semifinisare
Frezare finisare
1.4. Structura simplificata a proceselor si sistemelor de productie
Avand in vedere considerentele de mai sus, s-a efectuat gruparea prelucrarilor necesare si a altor activitati necesare in operatii principale si, respectiv , operatii complementare, s-au determinat si celelalte elemente de definire a structurii simplificate a procesului tehnologic de fabricare si, corespunzator, se prezinta mai jos, variantele de proces tehnologic de fabricare in structura simplificata PT1 ( tabelul 1..4.1) si PT2 ( tabelul 1.4.2).
PT1 Tabelul 1.4.1
|
Numarul de ordine si denumirea operatiei |
Schita semifabricata a operatiei |
Utilajul si S.D.V. – urile (tip) |
|
00. Turnare |
|
U: Presa D-S: Matrita V: Subler |
|
10. Frezare |
|
U: Masina de frezat D:Special S:Freza V: Subler, Calibru, Etalon Ra |
|
20. Control final |
|
|
|
30.Conservare-depozitare |
|
|
PT2 Tabelul 1.4.2
|
Numarul de ordine si denumirea operatiei |
Schita semifabricata a operatiei |
Utilajul si S.D.V. – urile (tip) |
|
00. Turnare |
|
U: Presa D-S: Matrita V: Subler |
|
10. Frezare 1 |
|
U: Masina de frezat S: Freza D: Special V:Subler, Etalon de Ra |
|
20. Gaurire |
|
U:Masina de gaurit S: Burghiu, Alezor D: Special V: Subler |
|
30. Control final |
|
|
|
40. Conservare-depozitare |
|
|
1.5. Structura detaliata a proceselor si sistemelor de productie
Structura detaliata a fiecarei variante de process/sistem tehnologic s-a determinat prin dezvoltarea elementelor structural preliminare si prin includerea celorlalte elemente definitorii, dupa cum urmeaza.
1.5.1. Nomenclatorul, fazele si schemele de orientare-fixare asociate operatiilor
a. Nomenclatorul operatiilor
La fiecare varianta de proces tehnologic, PT1, PT2, s-au stabilit operatiile complementare si, corespunzator, nomenclatorul operatiilor [IMPP1], care se prezinta in tabelul 1.5.1 .
Tabelul 1.5.1.1
|
PT1 |
PT2 |
|
00. Turnare 10. Frezare 20. Control final 30. Conservare-depozitare |
00. Turnare 10. Frezare 1 15. Control 20. Gaurire 30. Control final 40. Conservare-depozitare |
b. Fazele si schemele de orientare-fixare
La fiecare varianta de process tehnologic, PT1, PT2, prin aplicarea metodologiilor specifice, s-au determinat fazele si schemele de fixare-orientare (SOF), fiecare dintre acestea intr-o singura varianta.
Tabel 1.5.1.2
|
Numarul de ordine si denumirea operatiei |
Fazele operatiei |
Schita semifabricata a operatiei |
Utilajul si S.D.V. – urile (tip) |
|
00.Turnare |
|
|
U: Presa D-S: Matrita V: Subler |
|
10. Frezare |
10.1 Prindere piesa 10.2 Frezare degrosare la 8,7 10.3 Frezare semifinisare la 8,7 10.4 Frezare finisare 8,7 10.5 Desprindere piesa |
|
U: Masina de frezat D:Special S:Freza V: Subler, Calibru, Etalon Ra |
|
20. Control final |
|
||
|
30. Conservare-depozitare |
|
||
Tabel 1.5.13
|
Numarul de ordine si denumirea operatiei |
Fazele operatiei |
Schita semifabricata a operatiei |
Utilajul si S.D.V. – urile (tip) |
|
00.Turnare |
|
|
U: Presa D-S: Matrita V: Subler |
|
10. Frezare |
10.1 Prindere piesa 10.2 Frezare degrosare la 8,7 10.3 Frezare semifinisare la 8,7 10.4 Frezare finisare 8,7 10.5 Desprindere piesa |
|
U: Masina de frezat D:Special S:Freza V: Subler, Calibru, Etalon Ra |
|
20.Frezare-gaurire |
20.1 Prindere piesa 20.2 Gaurire Ø2 20.3Gaurire Ø4 20.4Frezare Ø4,5 20.5Frezare Ø8 20.6 Desprindere piesa |
|
U:Masina de gaurit S: Burghiu, Alezor D: Special V: Subler |
|
20. Control final |
|
||
|
30. Conservare-depozitare |
|
||
|