PROIECT
LA
ILUMINAT ELECTRIC
Profesor coordonator: Student:
Tema proiectului
2. Calculul de dimensionare pentru sursa de inalta frecventa
3. Dimensionarea transformatorului de inalta frecventa si alegerea elementelor constructive
3.2. Asezarea infasurarilor in fereastra transformatorului
3.2.2. Calculul termic de verificarea a transformatorului la incalzire
3.2.3. Calculul supratemperaturii transformatorului in timpul functionarii
3.2.4. Verificarea transformatorului la incalzire:
4. Dimensionarea circuitului de comanda
5. Alegerea lampii fluorescente
Lampile fluorescente fac parte din categoria lampilor cu descarcari in gaze si vapori metalici la joasa presiune. Principiul de functionare a surselor de lumina cu descarcari in gaze se bazeaza pe efectul luminescent datorat amorsarii si intretinerii unei descarcari electrice intr-un mediu gazos. Prin efect luminiscent intelegem emisia de radiatii situate in spectrul vizibil .
Caracteristica tehnofunctionala a lampi cu descarcari este:
-eficacitatea luminoasa η=40-80(lm/W);
-durata de viata tf>6000 ore
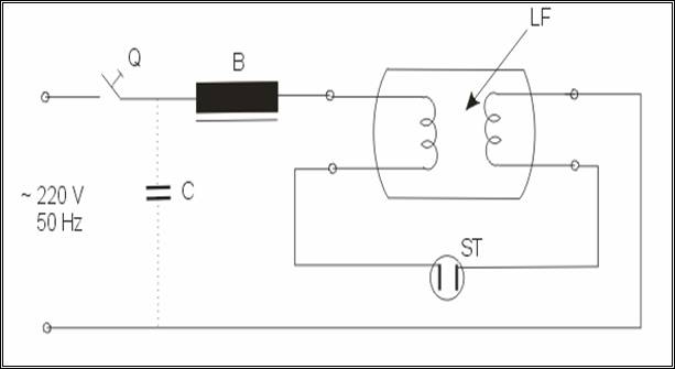
Din punct de vedere electric lampile fluorescente necesita pentru pornire si functionare elementele de circuit suplimentare: starter (ST) , bobina balast (B) si condensatoru de deparazitare(C) care este pus in paralel cu starteru si capacitatea de compensare Fig. 1.

Fig. 1. Schema de conexiuni mono a lampilor fluorescente clasice.
Starterul are rolul unui element de comanda a secventelor necesare amorsarii descarcarii electrice in lampa. Tensiunea de aprindere a starterului fiind inferioara tensiunii de alimentare , intre electrozii acestuia se produce o descarcare luminiscenta. Ca urmare temperatura din interiorul starterului creste, iar electrodul bimetal dilatandu-se, atinge celalalt electrod al starterului, moment in care inceteaza descarcarea luminiscenta si in circuit se stabileste un curent electric care incalzeste electrozii tubului fluorescent. La inchiderea contactului se declanseaza secventa de preincalzire si ionizare, iar la deschiderea ulterioara a contactului se initializeaza descarcarea electrica in lampa sub efectul unui soc de supratensiune. Variatia rapida a curentului face ca bobina balast in regim de functionare normala a tubului, sa produca o supratensiune atingand tensiunea de (400V-600V), deoarece electrozii tubului sunt preincalziti, produce amorsarea lampii fluorescente. Datorita prezentei bobinei balast si palpairii care apare la frecventa de 50Hz, lampa are factorul de putere scazut(0.3-0.4), dezavantajele ce apar odata cu folosirea circuitului auxiliar prezentat anterior e de preferat folosirea unei surse de inalta frecventa. Folosirea unei surse de inalta frecventa ar determina o amorsare usoara, sigura si aliminarea circuitului auxiliar format din bobina si starter. Condensatorul de antiparazitare se foloseste pentru a absorbi scanteile din contactele starterelor.
Starterele pentru lampile fluorescente pot fi de doua tipuri: cu licarire si electronice. Starterele cu licarire asigura fiabilitate la aprindere, cele electronice incorporeaza un circuit integrat, oferind o fiabilitate mai mare si o aprindere fara palpaire, asigurand prelungirea duratei de viata a lampii cu pana la 25 % .
Utilizarea surselor de inalta frecventa a LF implica o serie de avantaje tehnico-economice, comparativ cu LF clasice: eficacitate luminoasa mai mare, tensiune de amorsare mai mica, palpaire redusa (absenta efectului stroboscopic), amorsare usoara (fara starter), factor de putere si randament mai bune.
Prin implementarea electronicii de putere in tehnica iluminatului s-a creat posibilitatea alimentarii LF de la surse de tensiune continua de valoare redusa, ceea ce a permis o spectaculoasa expansiune a aplicatiilor iluminatului fluorescent in domenii independente de reteaua de alimentare cu energie electrica la frecventa industriala: autovehicule rutiere, vagoane de tren, avioane, transport naval, lanterne portabile etc.
Fig. 2. Schema de principiu a unei surse in comutatie de tip "flyback" cu izolare.
Dimensionarea radiatorului aferent tranzistorului de tip NPN
Circuitul termic de transmitere a caldurii din miezul tranzistorului catre mediul ambiant poate fi modelat cu circuitul electric din Fig. 3:

Fig. 3. Circuitul electric de transmitere a caldurii.
In care
(Φθ)-fluxul termic de la jonctiune spre mediul ambiant ce depinde de gradientul de temperatura.
Rthj-c este rezistenta termica jonctiune-capsula (data de catalog- Rthj-c=1.52 [0C/W]).
Rthc-a este rezistenta termica capsula-mediu ambiant.
Rthc-r este rezistenta termica capsula-radiator.
Rthr-a este rezistenta termica radiator-mediu ambiant.
θamb=25 [0C];
Din calculele ce vor urma va rezulta ca pentru tranzistorul ales avem nevoie de radiator care are urmatoarele caracteristici:
Puterea totala disipata:
...........(7)
Rezistenta termica totala echivalenta:
......(8)
Rezistenta termica radiator-mediu
ambiant:
4.647
Rthc-r = 0.5
In urma calculelor efectuate si a nomogramei corespunzatoare tranzistorului ales rezulta ca este necesar si un radiator pentru disiparea caldurii.
In nomograma, anexa 1 s-a
intrat in cadranul I cu Rthr-a si din cadran in cadran intersectand
liniile corespunzatoare la fel si in cadranul IV intersectand una din linii de
unde a rezultat aria radiatorului A=30[cm
], adica este nevoie de radiator pentru disiparea caldurii
din jonctiunea tranzistorului in mediul ambiant.
![]()
L=1.25*l=6.11[cm]
g=9.807 m
Performantele unei surse in comutatie sunt puternic influentate de comportarea transformatorului care intra in componenta sursei. Datorita frecventei mari de comutatie din punct de vedere constructiv miezul feromagnetic nu poate fi construit din tole datorita pierderilor prin curenti turbionari si histereza de aceea sa folosit miezuri din ferite avand diferite tipuri de miezuri E, U, L.
Feritele sunt:
- moi - nu prezinta magnetism remanent, are permeabilitate magnetica mare, rezistivitate mare, pierderi reduse si grad de incalzire redus;
- dure - prezinta magnetism remanent;
Feritele moi se utilizeaza in domeniul frecventelor inalte avand ceea mai larga raspandire la realizarea suportului feromagnetic in sursele de comutatie. S-a adoptat miezul magnetic din ferite moi deoarece nu prezinta magnetism remanent, au o rezistivitate interna foarte mare si permeabilitate magnetica relativ ridicata. Acest lucru duce la pierderi reduse si un grad de incalzire redus.
Un transformator lucreaza in conditii de eficienta maxima daca raportul dintre numarul de spire din primar si secundar este egal cu raportul tensiunilor din cele doua infasurari:
![]()
![]()
Alegem forma miezului de ferita de tip E30 din ferite moi de tip MZ-6-07 avand caracteristicile in anexa 3.
Pe baza caracteristicii de magnetizare a materialului (MZ-6) alegem pierderile specifice p=10 [mW/cm3], ceea ce corespunde pt. frecventa f=45 kHz, variatiei inductiei in miez ΔB=600 [Gauss]=0.06 [T]. Pentru a evita saturarea miezului in conditiile cele mai dezavantajoase pt. trafo, se alege:
.......... ..... ...... .....(8)
In continuare se determina dimensiunile si geometria miezului feromagnetic:
Sectiunea coloanei jugului magnetic:
..........(9)
Sectiunea disponibila pt. bobinaj:
...(10)
![]()
![]()
De asemenea impunerea nomogramei din anexa 5 rezulta ca :
![]()
Ks - coeficient de siguranta (Ks =1.5 - 1.75 ) am ales Ks=1.7;
Kb - factorul de bobinaj (Kb=0.6-0.8) am ales Kb=0.7;
j -densitate de curent admisibila in infasurarea
transformatorului (j=20.5 - 3) am ales j=3[A/mm
];
Sm - sectiunea coloanei jugului magnetic;
Sb - setiunea disponibila pentru bobinaj;
Inegalitatea de mai sus se refera la nivelul solicitarilor electromagnetice ale transformatorului si este indeplinita pentru tipul de miez E 30 MZ-6-07, care are urmatoarele dimensiuni (in mm):
a=30
b=15.2
c=9.7
d=7.2
e=19.5
f=7.3
R=1.8
Al=1800

Fig. 5. Miez de ferita de tip E 30 MZ-6-07.
Se calculeaza nr. de spire din primar (N1) si secundar (N2):
![]()
Se rotunjeste la 4 spire (N1=4).
![]()
Nr. de spire din secundar se rotunjeste la N2=38 spire.
Deoarece, orice transformator are o caracteristica externa coboratoare este necesara majorarea nr. de spire din secundar cu un coeficient Ksp=1.02-1.05.
![]()
Cunoscand curentii din infasurari, se poate alege densitatea de curent admisa prin conductoare pentru care temperatura bobinajului sa nu depaseasca 50 [0C]. Pentru j=3 [A/mm2] am ales diametrul corespunzator conductoarelor din primar si secundar [4]: dCu1=1.4 [mm], dCu1iz=1.479 [mm] - diametrele conductoarelor din Cu izolate cu email, dCu2=0.2 [mm], dCu2iz=0.23 [mm].
Grosimea carcasei gc=0.6 [mm], grosimea izolatiei giz=0.35 [mm], grosimea ferestrei gf=(e-d)/2=8.65 [mm].

Fig. 6. Modul de bobinare a transformatorului utilizand procedeul strat langa strat [3].
Grosimea infasurarii primare pe fereastra: ![]()
Grosimea infasurarii secundare pe fereastra:
Lungimea spirei medii din primar: ![]()
Lungimea spirei medii din secundar: ![]()
Lungimea totala a infasurarii primarului: ![]()
Lungimea totala a infasurarii secundarului:
Masa conductorului din primar: ![]()
Masa conductorului din secundar:
Nr. de spire pe strat:
, se rotunjeste la 19 spire/strat.
, se rotunjeste la 123 spire/strat.
Nr. de straturi:
, se rotunjeste la 1 strat.
se rotunjeste la 1 strat.
Prima conditie se refera la cotele de latime:
![]()
A doua conditie se refera la raportul dintre sectiunea neta a Cu si sectiunea totala a ferestrei concretizata prin factorul de bobinaj:

3.2.3. Calculul supratemperaturii transformatorului in timpul functionarii
Suprafata laterala totala a transformatorului se poate calcula cu relatia:
[cm2]
Conductanta termica totala a transformatorului
este:
[W / 0C]
Supratemperatura este definita de:
[0C]
Temperatura maxima a transformatorului in timpul
functionarii:
[0C]
4. Dimensionarea circuitului de comanda
Fig. 7. Circuitul de comanda al tranzistorului bipolat de tip NPN-SDT 9308.
a) b)
Fig. 10. Condensator cu polistiren tip PS 00.23 (a) si rezistorul RA cu pelicula metalica RPM-3012 (b)
Sursa de inalta frecventa proiectata anterior poate utiliza urmatoarele tipuri de lampi fluorescente:
Iluminatul fluorescent este eficient si economic. Eficacitatea luminoasa (lumen-watt) a tuturor lampilor fluorescente este ridicata, comparativ cu alte surse de lumina. De aceea, lampile fluorescente tubulare de joasa presiune sunt utilizate pe scara larga in tehnica iluminatului de interior.
Utilizarea surselor de inalta frecventa a LF, scopul acestui proiect, implica o serie de avantaje tehnico-economice, comparativ cu LF clasice: eficacitate luminoasa mai mare, tensiune de amorsare mai mica, palpaire redusa (absenta efectului stroboscopic), amorsare usoara (fara starter), factor de putere si randament mai bune si ofera o fiabilitate mai mare, asigurand prelungirea duratei de viata a lampii cu pana la 25 %.
Prin implementarea electronicii de putere in tehnica iluminatului s-a creat posibilitatea alimentarii LF de la surse de tensiune continua de valoare redusa, ceea ce a permis o spectaculoasa expansiune a aplicatiilor iluminatului fluorescent in domenii independente de reteaua de alimentare cu energie electrica la frecventa industriala: autovehicule rutiere, vagoane de tren, avioane, transport naval, lanterne portabile etc.
[1] *** www.electronics-lab.com/projects/DC Fluorescent Lamp Driver.
[2] I. Sora, D. Nicoara, A. Hedes, N. Muntean si V. Barb, "Iluminat Electric - Lucrari de laborator", Universitatea Tehnica Timisoara - Facultatea de Electrotehnica, 1995.
[3] Viorel Popescu, "Stabilizatoare de tensiune in comutatie", Editura de Vest, Timisoara, 1992.
[4] M. Ciugudean, "Proiectarea unor circuite electronice", Editura Facla, Timisoara, 1983.
[5] *** Catalog cu componente electrice semiconductoare, I.C.C.E., Bucuresti, 1980.
[6] *** Catalog ferite, Intreprinderea de ferite Urzicen
|