CUPRINS:
1. Memoriul de prezentare.
1.1. Descrierea generala a cricului
1.2. Reguli de montaj, intretinere si exploatare.
1.3. Probleme privind N.T.S. si P.S.I. la executarea si exploatarea cricului.
2. Breviar de calcul.
2.3. Diagramele de eforturi in elementele sistemului
2.4. Calculul de proiectare al cuplei cinematice S-P
2.4.1. Alegerea formei filetului
2.4.8.1. Verificarea capului surubului la presiunea de contact
2.4.8.2. Verificarea capului surubului la incovoiere
2.4.8.3. Verificarea capului surubului la forfecare
2.4.8.4. Verificarea surubului si a piulitei la incovoiere
2.4.8.5. Verificarea filetului surubului si piulitei la forfecare
2.4.8.6. Verificarea la solicitarea compusa.
2.4.9. Calculul randamentului
2.4.9.1. Randamentul cuplei elicoidale
2.4.9.2. Randamentul cricului
2.5. Proiectarea manivelei de actionare
2.5.1. Determinarea lungimii manivelei
2.5.2. Determinarea sectiunii manivelei
2.6. Proiectarea mecanismului cu clichet
2. Breviar de calcul
Diagramele de eforturi in elementele sistemului
Diagramele de eforturi sunt grafice care reprezinta variatia marimilor eforturilor in sectiunile elementului considerat.
unde:
D1 [mm]- diametrul exterior al filetului interior;
d1 [mm]- diametrul exterior al filetului exterior;
H [mm]- inaltimea triunghiului generator al filetului;
D2[mm]- diametrul mediu al filetului interior;
d2 [mm]- diametrul mediu al filetului exterior;
H1[mm]- inaltimea utila a filetului;
D4[mm]- diametrul interior al filetului interior;
d3[mm]- diametrul interior al filetului exterior.
Tinand seama de marimea solicitarilor, importanta piesei si criteriul rezistenta ridicata-greutate minima-pret de cost scazut, se alege ca material pentru surub OLC 60 STAS 880-80, iar pentru piulita vom alege o fonta Fgn 500 (STAS 6071-75).
Limita de curgere si rezistenta la tractiune se adopta conform tabelului de mai jos:
Predimensionarea filetului.
Diametrul interior al filetului se determina din conditia de rezistenta la compresiune:
t [-] coeficient ce tine seama de solicitarea suplimentara de torsiune a surubului.
t
t
sat [MPa] tensiunea admisibila la tractiune, respectiv compresiune.
sat =cc·s (2.7.)
unde: s [MPa] limita de curgere;
cc [-] coeficientul de siguranta.
< j
unde: a ] unghiul mediu de inclinare al elicei filetului, dat de relatia:
j ] unghiul de frecare intre surub si piulita, dat de relatia :
m [-] coeficient de frecare intre surub si piulita;
b ] unghiul dintre flancurile filetului.
a < j
in care pa*=10.13. Alegem pa*=13
Alegem z =10 spire in contact.
Astfel, cu hp'=z·p se obtine:
hp' =10·6=60 [mm]
Inaltimea totala a piulitei este data de relatia
hp=hp'+2c (2.12)
hp =60+2·3=66 [mm]
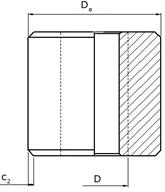
Determinarea diametrului exterior al piulitei
Constructiv se alege o piulita fara guler, in care :
De [mm]=diametrul exterior;
Di [mm]=diametrul interior al surubului (Di=d+1.2 [mm]).
Diametrul exterior se alege din conditia de rezistenta la tractiune (compresiune) fie din conditia de presiune de contact intre suprafata de reazem a piulitei pe suprafata de reazem a sistemului.
Relatia de calcul este: Fig. 2.5
(2.13)
cu: c1, c2=3;
pa=30.
![]()
![]()
=> De=70,965mm
Se alege De=71 mm conform STAS 75-90.
2.4.7. Determinarea dimensiunilor surubului

Fig. 2.6
Surubul este alcatuit din patru zone distincte si anume:
efectiva de incovoiere este:
(2.23)
unde:
este
tensiunea admisibila la incovoiere a materialului surubului.
![]()
2.4.8.3. Verificarea capului surubului la forfecare
Se considera ca forta din cupla elicoidala FCE actioneaza distribuita circular pe diametrul fusului df.
Pe baza schemei de calcul si a ipotezei de calcul verificarea la forfecare a cuplului surubului se realizeaza cu relatia:
(2.24)
unde:
este tensiunea tangentiala de forfecare
efectiva
este
tensiunea tangentiala de forfecare admisibila. Aceasta se poate determina cu
relatia cunoscuta din Rezistenta Materialelor:
![]()
unde:
este
tensiunea normala la tractiune admisibila a materialului surubului determinata
cu relatia
2.4.8.4. Verificarea surubului si a piulitei la incovoiere
Aceasta verificare se face in ipoteza ca elicea filetului se priveste ca o grinda curba incastrata pe cilindrul de baza, care pentru simplificare se desfasoara devenind o grinda dreapta incastrata, solicitata la un moment incovoietor dat de sarcina:
Fc=FCE /z [N] (2.25)
ce actioneaza la jumatatea suprafetei de contact a filetului.
Tensiunea de incovoiere se determina cu relatia:
(2.26)
in care: Mi [Nmm] =momentul incovoietor pentru sectiunea considerata;
sai [MPa]
=tensiunea admisibila la incovoiere pentru materialul surubului, respectiv al
piulitei, unde: sai
sat, c
h, h'=inaltimea de rupere pentru surub, respectiv piulita.
(2.27)
(2.28)
(2.29)
pentru piulita
Pentru surub avem:
Pentru piulita avem:
2.4.8.5. Verificarea filetului surubului si piulitei la forfecare
Tensiunea de forfecare se determina in ipoteza ca sarcina FCE/z, ce revine unei elice actioneaza la radacina filetului (pe cilindrul de diametru d1(3) pentru surub si pe cilindrul de diametru D1(4) pentru piulita).
Tensiunea de forfecare se calculeaza cu expresia:
(2.31)
unde: Af [mm2]: sectiunea de forfecare ;
taf [MPa]: tensiunea admisibila de forfecare a materialului surubului, respectiv piulitei.
taf
sat, c [MPa] (2.32)
Af surub = pd1·hs [mm2]
=>Af surub = 3,14·25,583·4,5489=375,747 [mm2]
Af piulita=pD·hs [mm2]
=>Af. piulita= 3,14·25,583·4,3489=491,849 [mm2]
Cu relatia de calcul 
2.4.8.6. Verificarea la solicitarea compusa.
Surubul si piulita sunt solicitate compus de forta axiala si momentul de rasucire. Verificarea se face dupa ipoteza cea mai defavorabila, teoria tensiunilor tangentiale maxime, cu relatia:
unde: st,(c) [MPa]-tensiunea normala efectiva produsa de solicitarea axiala:
[MPa] (2.34),
(2.36).
unde: tt [MPa]-tensiunea tangentiala efectiva produsa la solicitarea de torsiune:
(2.38)
(2.39)
(2.40)
Inlocuind in relatia (2.37) se
obtine: 
sai [MPa] - rezistenta admisibila la incovoiere al materialului manivelei, cu:
sr [MPa]-limita de rupere a materialului manivelei;
c(2-4)-coeficientul de siguranta la incovoiere al manivelei.
Pentru manivela s-a adoptat: OL 52, cu urmatoarele caracteristici:
Tabel: 2.3.
|
Material |
STAS |
Simbol |
Caracteristici mecanice |
|
|
Limita de curgere [MPa] |
Rezistenta de rupere la tractiune |
|||
|
Otel de uz general pentru constructii |
|
OL 52 |
|
|
£50 mm pentru a putea fi prins cu mana.
Mecanismul cu clichet este alcatuit in principal dintr-o roata de clichet si un clichet. Roata de clichet poate sa aiba profil asimetric sau simetric. Actionarea sistemului trebuie facuta in ambele sensuri, de aceea se utilizeaza roti de clichet cu profil simetric.
2.6.1. Proiectarea rotii de clichet
Prin analogie cu o roata dintata se stabilesc parametrii cinematici si constructivi ai unei roti de clichet.
Astfel avem:
Tabel: 2.4.
|
Nr. crt. |
Elementul de calcul |
Simbol |
Relatii de calcul si recomandari |
Date calculate sau adoptate |
|
|
|
|
|
|
|
Date adoptate |
||||
|
|
Numarul de dinti |
z |
|
|
|
Date calculate |
||||
|
|
Modulul rotii de clichet |
m |
|
|
|
|
Pasul rotii de clichet |
t [mm] |
t=3,14·m |
|
|
|
Diametrul mediu al rotii de clichet |
Dm [mm] |
Dm = z·m |
|
|
|
Inaltimea dintilor de clichet |
h [mm] |
h=t /4 |
|
|
|
Grosimea dintilor rotii de clichet |
g [mm] |
g=t /2 |
|
|
|
Diametrul interior |
Di [mm] |
Di= Dm-h |
|
|
|
Diametrul exterior |
De [mm] |
De=Dm+h |
|
|
|
Lungimea dintelui |
b [mm] |
|
|
|
|
Coeficientul lungimii dintelui |
y |
y =b/m |
|
sas [MPa] =tensiunea admisibila la strivire. Valoarea acesteia depinde de
duritatea superficiala a dintilor rotii de clichet:
sas=2,5DB [MPa]
unde: DB-duritatea Brinell a flancurilor dintilor, in HB
Þ sas=2,5 ·3000=7500 [MPa]
sas de la surub: 228 MPa
Astfel, cu relatia (2.52) , se obtine:
Þ m =5 [mm]
b) Verificarea la forfecare
-se face cu relatia:
(2.53)
taf =0,8σat(c) =cc0,8s =87,5 [MPa] (2.54)
Inlocuind, in relatie, se va obtine:
c) Verificarea la incovoiere
- se face cu relatia:
(2.55)
cu: sai sat,c=91 [MPa]
Þ ![]()
d) Se pozitioneaza boltul clichetului astfel incat componenta fortei de contact intre clichet si roata de clichet sa aiba valoarea cat mai mica si gabaritul dispozitivului sa fie minim.
Material
STAS
Simbol
Starea
Caracteristici mecanice
Limita de curgere
[MPa]
Rezist. de rupere la tractiune
Otel de uz general pentru constructii
OLC 60
Cr
(2.58)
unde: pa=15 [MPa]
unde:
(2.59)
![]()
Inlocuind in (2.58), vom obtine:
unde: g1=4mm
STAS
Simbol
Starea
Caracteristici mecanice
Limita de curgere
[MPa]
Rezist. de rupere la tractiune
Otel de uz general pentru constructii
OL 70
Din solicitarea de contact dintre placile corpului manivelei si roata de clichet se determina grosimea placilor g1:
Tabel: 2.9.
|
Material |
STAS |
Simbol |
Starea |
Caracteristici mecanice |
|
|
Limita de curgere [MPa] |
Rezist. de rupere la tractiune |
||||
|
Otel carbon de calitate pentru tratament termic |
|
OLC 45 |
|
|
|
|
|
|||||
Tabel: 2.10.
|
Material |
STAS |
Simbol |
Starea |
Caracteristici mecanice |
|
|
Limita de curgere [MPa] |
Rezist. de rupere la tractiune |
||||
|
Otel aliat pentru tratament termic |
|
40Cr10 |
|
|
|
|
|
|||||
Rolul sectoarelor dintate in angrenare este de a impiedica rotirea cupei in plan vertical (prin modul de legare al parghiilor cu restul pieselor se formeaza un mecanism patrulater).
Doua dintre dimensiuni au fost stabilite anterior lp si g2.Latimea parghiilor se determina din solicitarea de compresiune:

Material
STAS
Simbol
Starea
Caracteristici mecanice
Limita de curgere
[MPa]
Rezist. de rupere la tractiune
Otel de uz general pentru constructii
OL 52
Din solicitarea la strivire se determina marimea lor:
(2.82)
unde ![]()
![]()
Forma talpii am considerat-o ca fiind circulara pentru mai multa stabilitate. In acest scop am considerat suprafata de contact dintre batiu si sol fiind de forma inelara.
Grosimile cupei, talpii, suportilor cricului se iau constructiv:
g1=(1,2.1,5)g2, (2.83)
g1=30mm
2.7.6. Verificarea suportilor.
Strivirea suportilor cupei si talpii (CT) cu boltul.
(2.84)
Forfecarea boltului in planul dintre suporti si parghii:
(2.85)
Incovoierea boltului. Pericolul incovoierii boltului apare cand jocul intre bolt si bucsa creste. Verificarile la incovoiere ale boltului se efectueaza cu relatia:
(2.86)
unde:
,
sunt tensiunea efectiva, respectiv, admisibila
la incovoiere a boltului din asamblarea suportului cupei cu parghiile.
,
sunt tensiunea efectiva, respectiv, admisibila
la incovoiere a boltului din asamblarea talpii cu parghiile.
![]()
Fisa de predare a proiectului
Proiectul contine:
Partea scrisa:
1. 24 pagini scrise grupate in doua capitole;
Partea grafica 1 capitol:
2. 1 desen de ansamblu al cricului;
3. 1 desen de subansamblu Mecanism de actionare;
FCE
|