PROIECT
Specializarea : mecanic auto
ARBORELE COTIT
Civilizatia moderna nu poate rezista fara folosirea mijlocului rapid de deplasare, automobilul, chiar daca are si consecinte negative, respectiv accidentele.
Se cunoaste ca, automobilul a evoluat rapid, mai ales dupa realizarea motorului cu aprindere prin scanteie ( 1885 Karl Benz ) si apoi a celui cu aprindere prin compresie ( 1924 Diesel ).
Romania a fost una din primele zece tari din lume care a introdus automobilul in circulatie.
Pana la 1 martie 1906 s-au importat 150 de automobile, dupa care anual numarul automobilelor importate a crescut, ajungandu-se in anul 1912 sa se importe 850.
Industria automobilelor s-a dezvoltat exponential, atat prin calitati cat si prin numar. In momentul de fata se poate spune ca, lumea este sufocata de numarul automobilelor in circulatie.
Acestea au atras inevitabil si dezvoltarea in acelasi ritm a numeroase alte industrii ce au dus la revolutia economica in lume.
De automobil sunt legati, atat cei ce il construiesc, cei ce il folosesc, dar si cei ce trebuie sa se ocupe de mentinerea lui in stare de functionare.
Mecanismul motor, fiind ,,inima automobilului este in permanenta in centrul atentiei .
Ca parte a mecanismului motor, organele mobile au un rol important in transmiterea si transformarea miscarii. Din acest motiv, organele automobilului trebuie sa fie de cea mai buna calitate oferind un randament foarte bun.
Capitolul I. PARTI MOBILE ALE MECANISMULUI MOTOR
Mecanismul motor constitue principalul ansamblu al motorului cu ardere interna cu piston. El are rolul de a transmite lucrul mecanic realizat prin evolutia ciclica a fluidului motor in cilindru , la admisia automobilului. Aceasta transmitere se realizeaza prin transformarea miscarii rectilinii alternative a pistonului in miscare de rotatie continua a arborelui cotit.
Mecanismul motor se compune din :
I.5.ARBORELE COTIT
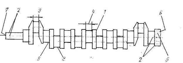
Primeste (fig.I.5.1.) miscarea de la piston prin biela, o transforma in miscare de rotatie, pe care o transmite in exterior pentru antrenarea diferitelor subansambluri ale motorului si la transmisia automobilului pentru autodeplasare.El se construieste din otel carbon (OLC50S) si otel aliat (cu CR, Ni, Mo, V) prin forjare si matritare ori din fonta cu grafit nodular prin turnare. Dupa prelucrare, fusurile arborelui se calesc superficial cu CIF si se aplica revenirea, dupa care se finiseaza la masini de rectificat. Ovalitatea si conicitatea admisibila a fusurilor este de 0,005 mm la autoturisme si de 0,012 0,02 mm la autocamioane. Arborele cotit este piesa cea mai important si cea mai scumpa a motorului si are urmatoarele parti componente : capatul (fusul) anterior 1, capatul posterior 6, fusurile paliere (de sprijin) 2, fusurile manetoane (de biela) 3, bratele manetoane (de biela) 4.

fig.I.5.1. Arborele cotit nedemondabil :
1-capatul anterior, 2-fusurile paliere (de sprijin), 3-fusurile manetoane (de biela), 4-bratele manetoane (de biela), 5-contragreutatile (masele de echilibrare), 6-capatul posterior, 7-flansa de fixare a volantei, 8-canal de pana, 9-locasul arborelui primar al cutiei de viteze, 10-racul de pornire
Pe capatul anterior se monteaz 626i88g a, prin pene : pinionul pentru antrenarea distributiei si fulia pompei de apa pe care, la unele MAC, se monteaza si amortizorul de vibratii. Tot pe capatul anterior se afla si racul de pornire manuala. Etansarea arborelui spre capacul de distributie este asigurata prin deflectorul de ulei sau prin simering.
Capatul posterior 6 este gaurit pentru fixarea bucsei din bronz sau a rulmentului de sprijin al arborelui ambreiajului. El contine o flansa 7, pentru montarea volantei prin suruburi. Etansarea impotriva scurgerii uleiului este asigurata prin simering sau garnitura de snur de azbest sau pasla, montate intr-un capac special ( unele au si canale laterale in care se preseaza pene de lemn pentru etansarea suplimentara ARO).
In interior, arborele are canale pentru circulatia uleiului de ungere care corespund cu orificiile de alimentare a lagarelor paliere si manetoane ; cei mai multi arbori au un singur canal de-a lungul lor.
Arborele cotit are un numar de fusuri paliere egal cu numarul cilindrilor plus unul. Fusurile paliere sunt plasate pe aceeasi axa geometrica, iar latimea lor este diferita. Numarul fusurilor manetoane este egal cu cel al cilindrilor, la motoarele in linie si redus la jumatate, la motoarele in V. Fusul maneton impreuna cu cele doua brate manetoane formeaza manivela (coturile). Diametrul fusurilor manetoane este mai mic decat cel al fusurilor paliere. Decalarea fusurilor manetoane intre ele, se face in functie de numarul lor, asigurand prin aceasta o functionare uniforma a motorului si o echilibrare a arborelui cotit.
Arborele cotit se echilibreaza cu ajutorul contragreutatilor 5 plasate in prelungirea bratelor de manivela(opuse lor) si a decalarii corecte a manivelelor. Verificarea echilibrarii se face pe masini speciale, iar ponderea arborelui prin degajari partiale de material (gaurirea sau frezarea contragreutatilor).
Exista si arbori cotiti prevazuti cu filtre centrifugale de ulei (ARO), care au niste racorduri din canalele interioare, pentru depunerea impuritatilor de ulei, in timpul rotirii.
Arborele cotit se sprijina in blocul motor pe lagarele paliere cu cuzineti. Cuzinetii, care imbraca fusurile paliere, sunt asemanatori cu cei folositi la biele.
Motoarele in doi timpi, au arborele cotit demontabil. Elementele unui astfel de arbore sunt turnate si prelucrate separat, fiind apoi asamblate cu suruburi. Bratele se rezeama pe rulmenti, jucand si rol de fusuri paliere. Se asambleaza impreuna cu bielele si se echilibreaza dinamic pe masini speciale (formand asa-zisul ambreiaj).

fig.I.5.2. Arborele cotit demontabil (Oltcit) :
1-capatul anterior, 2-fusurile paliere, 3-fusurile manetoane, 4-bratele manetoane, 5-contragreutatile, 6-capatul posterior, 10-12-semicuzinetii, 11-piciorul bielei, 13-capul bielei nesectionat.
Ruperea arborelui cotit (mai rar), are drept cauze : uzura execesiva in lagare, solicitari la incovoiere sau rasucire datorate necoaxialitatii lagarelor, detonatii puternice, lipsa ungerii.
Remedierea consta in inlocuirea arborelui cotit si a celorlalte organe deteriorate.
Repararea arborelui cotit se face dupa o functionare indelungata cand apar defectiuni ca :
incovoierea sau torsiunea ;
uzarea fusurilor paliere si manetoane ;
uzarea canalelor de pana ;
uzarea locasului bucsei arborelui ambreiajului ;
uzarea filetului pentru racul de pornire ;
uzarea orificiilor filetate de la flansa de fixare a volantei ;
modificarea lungimii fusurilor manetoane si a fusurilor paliere ;
bataia frontala a flansei de prindere a volantei.
Dupa demontare, arborele cotit se curata cu solvent, se desfunda canalele de pana, se sufla cu aer si se supune controlului.
Vizual, se observa starea suprafetei fusurilor si filetelor, loviturile, zgarieturile superficiale se inlatura cu o piatra abraziva de granulatie foarte fina, iar cele accentuate constatate prin feroflux, numai prin rectificare.
Incovoierea si torsiunea se controleaza pe o placa de control, arborele cotit asezandu-se pe doua prisme, iar cu ceasul comparator plasat la fusul central se verifica incovoierea ; aceeasi verificare se face si la flansa arborelui pe circumferinta. Pentru torsionare, verificarea cu comparatorul se executa in partea frontala a flansei.
Incovoierea si rasucirea se inlatura prin indreptarea arborelui cotit, la rece, cu o presa hidraulica ; dupa indreptare se face rectificarea fusurilor. Abaterea admisa este de 5 ΅m pentru autoturisme si de 0,02 0,05 mm pentru autocamioane. La arborii cotiti din fonta nodulara, indreptarea se face numai cand sageata are valoare mica.
Uzarea fusurilor (ovalitate si conicitate) se constata prin masurarea cu micrometrul, stabilindu-se si treapta de reparatie (egala cu manetoane si paliere, tinandu-se cont de cel mai uzat fus). Fusurile manetoane au o uzura mai redusa fata de cele paliere ; cel mai uzat este palierul central. Fusurile uzate se reconditioneaza prin :
rectificare la trepte de reparatie ;
incarcare (compresarea uzurii prin aport de material).
Rectificarea se face pe masini de rectificat arbori cotiti. Fusurile paliere se rectifica respectand coaxialitatea lor. La palierul central se va mentine, in limitele tolerantelor, latimea cat si raza de curbura. Dupa paliere se rectifica fusurile manetoane.
Rectificarea finala este de finisare (slefuire sau lustruire cu un disc de panza imbibat cu pasta de rodat sau cu panza abraziva foarte fina). La Dacia 1300 se va respecta roluirea (galetarea) fusurilor pe o portiune de 140s pentru asigurarea ungerii laterale.
Orificiile de ungere se tesesc la margine, canalele se spala si se sufla cu aer comprimat.
Dupa verificarea rectificarii se face echilibrarea dinamica a arborelui cotit si echilibrarea statica impreuna cu volanta si ambreiajul.
Cand rectificarea arborelui a atins cota maxima, reconditionarea se face prin incarcare folosind una din metodele :
metalizare cu aliaje dure;
sudare in mediul protector de gaze (75% argon si 25%CO²);
vibrocontact;
cromare poroasa.
Dupa incarcare, fusurile sunt tratate termic, rectificate si finisate.
Canalul de pana uzat se incarca cu sudura si se frezeaza altul decalat cu 90s
Locasul bucsei arborelui ambreiajului se reconditioneaza prin alezare si presarea altei bucse cu diametrul exterior majorat. Daca este rulment, atunci locasul se alezeaza si se bucseaza. Se mai poate folosi un rulment cu diametrul exterior majorat prin cromare dura.
Filetele uzate se refileteaza la trepte de reparatie.
Bataia frontala a flansei se inlatura odata cu indreptarea arborelui.
Arborele cotit se deformeaza cand:
prezinta fisuri, crapaturi,
diametrul fusurilor este sub cota minima,
lungimea fusurilor este peste limita,
este torsionat,
este rupt
Inlocuirea semicuzinetilor arborelui cotit se face cand motorul este demontat, pentru a se putea efectua masuratori ale fusurilor si ale semicuzinetilor.
Prin calcule, se constata jocurile si treapta de reparatie, tinand cont si de uzura si abaterea de la forma cilindrica a fusurilor.
Semicuzinetii se inlocuiesc cu altii noi, la treapta de reparatie corespunzatoare diametrului rectificat al fusurilor.
La biele, procedeul este asemanator, verificarea facandu-se pentru fiecare semicuzinet in parte.
Inlocuirea semicuzinetilor se face cand nu mai corespund treptelor de reparatie, suprafata interioara este deteriorata sau proeminentele de fixare in locas sunt distruse, ca urmare a rotirii in lagar.
Capitolul I Arborele cotit
III.1. Rolul arborelui cotit si cerinte pe care trebuie sa le indeplineasca
Arborele cotit, numit si arborele motor, are rolul de a transforma, impreuna cu biela, miscarea de translatie a grupului piston in miscare de rotatie. Arborele cotit transmite aceasta miscare de rotatie (respectiv cuplul motor), prin intermediul organelor de transmisie, la rotile motoare ale automobilului. De asemenea, pune in miscare diferite mecanisme si agregate ale motorului (mecanismul de distributie, pompa de apa, ventilatorul, etc.).
In timpul functionarii motorului, arborele cotit este supus urmatoarelor eforturi: forta rezultanta transmisa prin biela, fortele de inertie ale maselor excentrice proprii, fortele de frecare si reactiunile in lagare.
Tinand seama de conditiile de lucru, arborele cotit trebuie sa satisfaca urmatoarele cerinte:
-sa asigure o rezistenta si rigiditate mari,
-suprafetele de frecare sa prezinte o buna rezistenta, la uzura,
-sa evite rezonanta oscilatiilor de rasucire,
-sa fie echilibrate static si dinamic.
Deoarece functioneaza in conditii deosebite de dezavantajoase, arborele cotit are o constructie complicata. Aceasta constructie este influentata si de tipul motorului pe care-l echipeaza (in linie, in V, etc.).
III.2.Descrierea constructiva a arborelui cotit
Partile componente, exemplificate pentru arborele cotit al motorului diesel cu trei cilindri in linie D 115 (fig.III.2.1) sunt urmatoarele: capatul din fata 1, fusurile paliere 2, fusurile maneton 3, bratele 4, contragreutatile 5 si capatul din spate 6, pe care se fixeaza volantul. Acesta are rolul de a uniformiza miscarea de rotatie a arborelui cotit. Cand energia este transmisa consumatorului depaseste necesitatile acestuia, volantul acumuleaza surplusul, pe care-l cedeaza cand energia consumata devine mai mare decat energia transmisa de arborele cotit.

fig.III.2.1.
Partile componente ale arborelui cotit
In general elementele arborelui cotit sunt supradimensionate, pentru a realiza rigiditatea necesara limitarii deformatiilor. Trebuie insa evitata dimensionarea exagerat de larga, care ar antrena cresterea inadmisibila a masei arborelui cotit. Aceasta atinge 7 15% din masa motorului.
Dintre toate organele motorului, arborele cotit este supus la cele mai mari solicitari produse de forta de presiune a gazelor si fortele de inertie ale maselor cu miscare de translatie si de rotatie. Sub actiunea acestor forte in elementele arborelui cotit apar solicitari importante de intindere, compresiune, incovoiere si rasucire, solicitari care au caracter de soc datorita jocurilor de montaj, vitezei mari de crestere a presiunii in perioada arderii si schimbarii sensului de aplicatie a fortelor.
Fortele fiind variabile produc solicitari periculoase de oboseala mai ales in zonele concentratorilor de tensiune, cum sunt trecerile de la fusuri la brate si orificiile pentru uleiul de ungere. In afara de acestea arborele cotit este solicitat de tensiunile suplimentare produse de vibratiile de incovoiere si de rasucire. Vibratiile de rasucire ale arborelui cotit produc perturbatii si in functionarea mecanismului de distributie, distribuitorului de aprindere, iar la motoarele de autovehicule se propaga in transmisia mecanica. Ansamblul solicitarilor provoaca deformarea arborelui cotit ceea ce are ca urmare uzura prematura a cuzinetilor sau chiar ruperea arborelui cotit.
Date fiind conditiile grele de functionare, constructia si materialul arborelui cotit trebuie sa satisfaca urmatoarele cerinte mai importante: rigiditate si rezistenta mecanica ridicate, rezistenta mare la uzura a suprafetelor fusurilor, rezistenta la oboseala inalta, precizie de fabricatie ca forma si dimensiuni, echilibrare statica si dinamica, evitarea rezonantei atat pentru vibratiile de rasucire cat si pentru cele de incovoiere.
Constructia si dimensiunile arborelui cotit depind de tipul de motorului, numarul si dispozitia cilindrilor, ordinea de lucru, echilibrarea motorului,etc.
Lungimea arborelui cotit depinde de numarul, distanta dintre cilindri si amplasarea acestora. La MAS in care se dezvolta presiuni de ardere mai reduse, arborele cotit se poate realiza cu i-1 fusuri paliere, i fiind numarul cilindrilor, solutie folosita mai ales la motoarele pentru automobile de mic litraj. Pentru a obtine o mai buna rezistenta la incovoiere, la cele mai multe MAS si la toate MAC se utilizeaza frecvent solutia cu i+1 fusuri palier. La motoarele cu cilindri in V, arborele cotit se executa in mod obisnuit cu fusuri paliere dupa fiecare grup de doi cilindri. Reducerea numarului de reazeme necesita marirea diametrelor fusurilor si grosimii bratelor pentru a nu se reduce rigiditatea arborelui.
Arborii cotiti se executa in doua variante principale: nedemontabili si demontabili, prima solutie fiind cea mai utilizata.
Capatul din fata al arborelui se realizeaza constructiv tinand seama ca el serveste in principal pentru actionarea distributiei, ventilatorului, pompei pentru lichidul de racire (cu exceptia motoarelor racite cu aer) si generatorului de curent (alternator sau dinam). De asemenea se are in vedere amplasarea elementului de etansare pentru ulei, de exemplu semering, iar la unele motoare amplasarea amortizorului de vibratii de rasucire; amplitudinile vibratiilor de rasucire ating valori maxime la capatul din fata al arborelui cotit, ceea ce justifica montarea amortizorului, daca este necesar, la acel capat.
La MAS capatul din fata cuprinde in mod obisnuit elementele aratate in fig. III.2.2.; deflectorul de ulei 1, simeringul 2, pinionul 3 pentru actionarea distributiei, fulia 4 pentru antrenarea ventilatorului, pompei pentru lichidul de racire si generatorului de curent si clichetul (racul) 5 pentru pornirea manuala. Cand masa mare a motorului nu permite pornirea manuala, ceea ce se intampla la MAC, clichetul 5 lipseste.

fig.III.2.2.
Capatul din fata al arborelui cotit pentru un MAS
Amortizoarele de vibratii utilizate frecvent la motoarele de automobile si tractoare sunt amortizoare cu frecare. Amortizorul din fig. III.2.3.a, este format din discul de inertie 1 si elementul de cauciuc 2 vulcanizat cu discul si carcasa 3 care este fixata pe arborele cotit. Cand arborele nu vibreaza, organele amortizorului au aceeasi viteza unghiulara. Daca arborele cotit intra in vibratie, intre carcasa si disc apare o miscare relativa, provocand deformarea elementului de cauciuc prin frecare interioara. Se consuma astfel o parte din lucrul mecanic produs asupra arborelui cotit de momentul excitant.

fig.III.2.3.a Amortizoare de vibratii de rasucire
Amotizorul cu frecare lichida (fig.III.2.3.b) cuprinde discul de inetie 1, carcasa 2 montata pe arborele cotit si bucsa de sprijin 3, fabricata din bronz. Elementul de cuplare este un ulei siliconic, de mare vascozitate, care se introduce in jocul minim existent intre disc si carcasa. Ulterior, carcasa este inchisa etans. Miscarea relativa care apare intre disc si carcasa in timpul vibratiilor este franata de fortele de frecare vascoasa.

fig.III.2.3.b Amortizor cu frecare lichida
Fusurile si bratele arborelui cotit. De obicei, fusurile palier se executa cu aceleasi dimensiuni pentru a simplifica fabricarea cuzinetilor si inlocuirea acestora la reparatii. Uneori fusul palier mijlociu este mai lung cu 30 60% intru-cat suporta incarcari mai mari. Fusurile maneton au de asemenea dimensiuni identice, diametrul lor fiind mai mic decat diametrul fusurilor palier.
In vederea reducerii masei arborelui si deci a fortelor de inertie, fusurile se prevad adesea cu gauri axiale (fig.III.2.4.) ceea ce asigura totodata o distributie mai favorabila a fluxului de forte si ca urmare cresterea rezistentei la oboseala.

fig.III.2.4. Solutii de executie a gaurilor axiale din fusurile arborelui cotit
Bratele arborelui se construiesc in diferite forme (fig. III.2.5.a, d). Pentru micsorarea masei, ele se tesesc in zonele T, care nu sunt solicitate. Cand se urmareste micsorarea lungimii arborelui prin reducerea grosimii h a bratelor rezistenta necesara este obtinuta prin marirea latimii b; deseori se ajunge astfel la o forma eliptica a bratelor(fig. III.2.5.a.)
In scopul atenuarii efectului de concentrare a eforturilor, la trecerile dintre fusuri si brate se prevad racordari. Efectul urmarit este cu atat mai substantial cu cat raza de racordare ρ este mai mare. Adoptarea racodarilor largi determina insa scaderea lungimii importante a fusurilor si deci cresterea presiunii dintre fusuri si cuzineti, care trebuie sa fie limitata. O solutie ce rezolva satisfacator ambele cerinte consta in realizarea racordarii in mai multe arce de cerc ale caror raze cresc dinspre fus spre brat. Pentru a usura rectificarea fusurilor se prevad pragurile P (fig.III.2.5.), cu grosimea de 0,5 1 mm si diametrul mai mare decat diametrul fusului adiacent cu 8 15 mm.
Rigiditatea si rezistenta la oboseala se maresc cand se asigura o acoperire a sectiunii fusurilor A (fig. III.2.5.d) cu ∆=15 25 mm. Solutia se aplica mai ales la motoarele cu valori mici ale cursei pistonului S si deci ale razei manivelei r =S/2: datorita acoperirii, se pot folosi diametre mai mari ale fusurilor, permitand incadrarea presiunilor dintre ele si cuzineti in domeniul admisibil.
Contragreutatile Cg (fig.III.2.5.c, d) se dispun in prelungirea bratelor, servind la echilibrarea motorului si la descarcarea elementelor arborelui cotit de fortele si momentele care le solicita, pe aceasta cale se obtine si o functionare mai linistita a motorului. Contragreutatile introduc si dezavantaje cum sunt cresterea masei arborelui, sporirea dificultatilor de executie, etc., la motoarele de autovehicule contragreutatile fac de multe ori corp comun cu bratele, ceea ce este posibil datorita dimensiunilor lor reduse si totodata simplifica fabricatia. In alte cazuri contragreutatile sunt demontabile, fiind asamblate la brate cu suruburi.

fig.III.2.5.
Forme constructive ale bratelor arborelui cotit
Capatul din spate este conic sau contine o flansa pentru montarea volantului. Solutiile constructive difera dupa modul de realizare a etansarii pentru ulei si de ghidare a volantului. Pentru etansarea s-a raspandit in ultimul timp utilizarea semeringurilor, ca de exemplu la motorul D-115 (fig.III.2.6).
Flansa 1 are pragul de ghidare p pentru volantul 2, care se fixeaza cu suruburile 3, iar pentru etansare este prevazut simeringul 4. Alte elemente de etansare intalnite sunt garnituri de pasla sau cauciuc, deflectoare, etc.

fig.III.2.6. Capatul din spate al arborelui cotit
Ungerea fusurilor arborelui cotit se efectueaza sub presiune. Din rampa centrala de ungere uleiul este trimis la lagarele paliere prin canalele din carter. Trecerea uleiului la fusurile maneton se realizeaza in mai multe feluri. Daca fusurile nu au gauri axiale, uleiul este transmis prin canale care strabat bratele si fusurile. La arborii cu fusuri gaurite axial circulatia uleiului este asigurata de canalele 1 sau tevile presate 2 (fig.III.2.7). Pentru a impiedica scaparea uleiului pe la capetele fusurilor se prevad capacele 3 sustine de tiranti sau tuburile subtiri 4 , valtuite la extremitati.

fig.III.2.7.
Circulatia uleiului prin arbori cu fusuri gaurite axial
Pe suprafata fiecarui fus, orificiul de acces al uleiului trebuie sa se afle in zona unde se realizeaza, in medie pe ciclu, presiunea cea mai mica. In acest fel se limiteaza presiunea de refulare din pompa de ulei si se favorizeaza formarea peliculei necesare ungerii.
Arborii cotiti demontabili se utilizeaza rar la motoarele de autovehicule, de exemplu la unele motoare racite cu aer, cu carter tip tunel. Elementele unui astfel de arbore sunt turnate si prelucrate separat, fiind apoi asamblate cu suruburi. Bratele se reazema pe rulmenti (fig.III.2.8), jucand si rol de fusuri palier, ceea ce reduce lungimea arborelui si atenueaza frecarea.

fig.III.2.8.
Cotul unui arbore demontabil
Jocul axial al arborelui cotit este realizat fata de un singur lagar palier, permitand astfel arborelui si carterului sa se dilate independent. In acest scop se folosesc semiinele sau cuzineti cu bordura, cu strat antifrictiune. Fusul palier la care se prevede jocul axial al arborelui cotit este ales in functie de unele particularitati ale motorului. Cand lungimea arborelui cotit este mai mare si distributia este antrenata prin lant, se asigura jocul la primul fus palier. In acest caz jocul din ambreiaj se modifica in limite relativ largi. Daca se urmareste limitarea jocului din ambreiaj, jocul axial al arborelui cotit este preluat de ultimul fus palier. In alte cazuri se prefera ghidarea axiala a arborelui fata de fusul palier de la mijloc. La toate variantele jocul este de 0,05 0,20 mm.
III.3. Forme (tipuri) de arbori cotiti
Constructia arborelui cotit este in functie de numarul si pozitia cilindrilor, fiecarui cilindru corespunzandu-i cate un cot numit maneton, format din doua brate manivela si un fus pe care se monteaza lagarul de biela. Coturile nu sunt dispuse in acelasi plan, ci decalate intre ele in functie de numarul cilindrilor si de asezarea lor (in linie sau in V).
La motoarele cu patru cilindri in linie in patru timpi in cursul a doua rotatii ale arborelui cotit (720s) au loc patru curse utile ale pistonului. Pentru ca functionarea motorului sa fie uniforma, trebuie ca succesiunea curselor utile in cilindri sa se faca la 180s (720:2) de rotatie a arborelui cotit.
Succesiunea curselor utile incepand cu primul cilindru, sau ordinea de aprindere, in acest caz, este 1 2 3 4 sau 1 3 4 2 . In acest caz, manivelele arborelui cotit sunt decalate cu 180s (fig.III.3.1).

fig.III.3.1.
Mecanismul biela manivela al motorului Dacia 1300: 1-piston, 2-segment de ungere, 3 si 4 segmenti de compresiune, 5- bolt, 6-camasa amovibila, 7-biela, 8-capacul bielei, 9-surub de biela,10-piulite, 11-inel de etansare, 12-cuzinet de biela, 13-rac de pornire cu manivela, 14-pinion de distributie, 15-comtragreutati, 16-fus maneton, 17-fus palier, 18-brate maneton, 19-cuzinet arbore, 20-flansa de fixare a volantului, 21-corpul volantului, 22-coroana dintata, 23-surubul de fixare a volantului.
La motoarele cu sase cilindri in linie in patru timpi, cursele utile trebuie sa se succeada dupa 120s (720:6) de rotatie a arborelui cotit. De aceea, manivelele arborelui la motorul cu sase cilindri sunt decalate cu 120s. Ordinea de aprindere posibila pentru un astfel de motor poate fi: 1 5 3 6 2 4 sau 1 4 2 6 3 5.
La motorul cu opt cilindri in V, cursele utile se succed la 90s (720:8) de rotatie a arborelui cotit.
In cazul cand unghiul dintre planurile cilindrilor este de 90s, mersul motorului este uniform, iar cilindrul este complet. Cea mai raspandita ordine de aprindere este : 1 5- 4 2 6 3 7 8 .
In fig.III.3.2 sunt reprezentate cele mai raspandite forme ale arborilor cotiti in functie de numarul de cilindri si de modul lor de dispunere.

fig.III.3.2.
Diferite forme ale arborelui cotit: a-la motorul cu patru cilindri in linie, b-la motorul cu sase cilindri in linie, c- la motorul cu sase clindri in V, 1-8-numarul cilindrilor
Decalarea coturilor favorizeaza echilibrarea arborelui cotit in timpul functionarii si in obtinerea unui moment motor cat mai uniform. Pentru a realiza un echilibru cat mai bun, bratele arborelui sunt prevazute cu contragreutati. In acelasi scop, fusurile de biela ale arborelui cotit sunt dispuse intr-o astfel de succesiune incat timpii de acelasi fel (de exemplu, timpii motor), in diferiti cilindri ai motorului, sa se produca la intervale egale de timp, astfel incat fortele de inertie care i-au nastere sa se echilibreze reciproc.
III.4. Materiale folosite pentru constructia arborelui cotit
Arborii cotiti se construiesc curent din otel. Dimensionarea larga reclamata de asigurarea rigiditatii permite uneori utilizarea otelului carbon de calitate, fiind intalnite marci folosite si pentru fabricarea bielei. Pentru arborii mai solicitati, in general de MAC, sunt necesare oteluri aliate cu Cr, Ni, Mo si eventual V, cu rezistenta la rupere pana la 1450 N/mm².
Semifabricatul se elaboreaza prin deformare la cald matritare sau forjare libera. Primul procedeu este aplicat la arborii mici si mijlocii, a caror masa finala nu depaseste 250 kg, folosind succesiv matrite inchise (mai multe incalziri). El prezinta avantajul ca asigura continuitatea fibrelor materialului, intru-cat semifabricatul are forma arborelui. Aceasta forma nu este realizata in cadrul forjarii libere (arborii mari), astfel incat coturile se obtin indepartand materialul dintre brate prin aschiere, ceea ce determina intreruperea fibrelor si mareste substantial costul fabricatiei; tehnologii mai noi se bazeaza pe forjarea individuala a fiecarui cot, utilizand un dispozitiv care permite deplasarea excentrica a fusului maneton respectiv si apoi refularea bratelor; se respecta astfel fibrajul continuu, iar omogenitatea materialului si rezistenta la oboseala sunt imbunatatite.
Dupa elaborare, semifabricatul este supus tratamentului de normalizare, pentru usurarea prelucrarii. Arborii mari forjati cu fibraj continuu necesita de obicei redresarea axiala, iar normalizarea se efectueaza in pozitie verticala. Inainte de finisare se amelioreaza calitatile arborelui printr-un tratament chimic sau termochimic. Pentru sporirea rezistentei la uzura, fusurile se durifica superficial. Pe scara larga se aplica in acest scop calirea prin inductie CIF sau la flacara, pe o adancime de 3 5 mm, realizand o duritate minima de 50 HRC. De mare importanta este structura obtinuta prin tratamentul de revenire, care urmeaza calirii. Se prefera de obicei structura sorbitica de revenire inalta, deoarece are omogenitate mare, capacitate ridicata de amortizare a vibratiilor si de sensibilitate mica la actiunea concentratorilor de tensiuni. Alteori se realizeaza o structura martensitica de revenire joasa, interioara sub aspectele aratate, dar cu rezistenta mai mare la rupere si oboseala. Tot pentru durificarea fusurilor se practica uneori cementarea sau carburarea, mai ieftine decat calirea. La arborii de otel Cr Mo sau Cr Mo V , este foarte eficienta nitrurarea fusurilor, care mareste nu numai duritatea, ci si rezistenta la oboseala; tratamentul este mai scump.
Se raspandeste si cromarea superficiala a fusurilor (pe adancimea 0,03 0,06 mm), prin care li se mareste considerabil durabilitatea.
Rezultatele deosebite s-au obtinut construind arborii cotiti ai unor motoare de tractiune din oteluri speciale microaliate. In cazul otelului 49 Mn VS 3, semifabricatul este uniform racit cu aer, fara a fi necesare normalizarea sau corectarea formei geometrice, si are rezistenta la rupere de 800 900 N/mm². Din acest material se construieste, de exemplu, arborele cotit al unui motor de automobil, cu sase cilindri in linie; arborele are contragreutati nedemontabile la toate bratele si masa de 35,5 kg. Optimizand forma sa geometrica, s-au redus adaosurile de prelucrare, prilejuind scaderea masei semifabricatului cu 10% si volumul operatiilor de aschiere cu 35%.
Procedee mai noi de fabricatie a arborelui cotit se realizeaza semifabricatul prin turnare.
Caracteristicile generale ale arborelui prezinta unele elemente de superioritate fata de cele ale arborilor executati din semifabricat deformat la cald: caracteristicile mecanice se pot situa peste nivelul celor transversale ale piesei forjate, rezistenta la fluaj este putin mai ridicata, iar comportarea la cald mai buna. Dificultatile tehnologice, structura mai putin omogena, susceptibilitatea mai pronuntata de dispersie a proprietatilor fizico mecanice de la o turnare la alta si comportarea mai slaba la oboseala au franat mult timp turnarea arborilor cotiti. Asemenea obstacole au fost inlaturate datorita progreselor inregistrate in domeniul turnarii. In consecinta, turnarea arborilor cotiti introduce avantaje importante, in raport cu forjarea lor. Astfel, consumul de metal se reduce cu 30 70%, intrucat turnarea ofera precizie inalta de executie, diminuand mult adaosurile de prelucrare (cu 40 80%), deoarece cantitatea de aschii se micsoreaza de 2,5 3 ori si numarul de operatii cu 20 25%. Masa arborelui finit este cu 10 15% mai mica, fiindca se pot realiza cu usurinta orificii in lungul fusurilor, care asigura in plus solidificarea uniforma si sporirea rigiditatii.
Pentru turnarea arborelui cotit se utilizeaza indeosebi fonta (motoarele autovehiculelor Dacia 1300, ARO L-24, Ford Taunus, etc.), care s-au dovedit foarte avantajoase. Fata de otel, fonta are calitati mai bune de turnare, ceea ce simplifica fabricatia si-i reduce costul. Distributia mai defavorabila a eforturilor unitare si prezenta zonelor de grafit in structura, impun adoptarea de dimensiuni sporite ale elementelor arborelui si alternarea fusurilor palier cu fusurile maneton, solutie in acord cu tendinta moderna de rigidizare a arborelui. Se pot atribui bratelor forme adecvate cresterii rezistentei la oboseala si contragreutatilor solidare cu bratele, forme si dimensiuni care asigura o corelatie justa intre echilibraj si descarcarea lagarelor. Datorita grafitului, fonta are bune calitati antifrictiune si suporta presiuni superioare, ceea ce micsoreaza uzura fusurilor. La unele motoare s-au obtinut rezultate deosebite, uzura fusurilor maneton scazand de patru ori, prin inlocuirea arborelui cotit de otel cu cel de fonta. Intrucat modulul de elasticitate este mai mic la fonta (14 19)*104 N/mm2 fata de 21*104 N/mm2 la otel frecventele proprii sunt mai coborate, insa fonta are capacitate mai mare de amortizare a vibratiilor, antrenata tot de incluziunile de grafit.
Unii constructori realizeaza arborii cotiti turnati din fonte speciale slab aliate, a caror compozitie variaza in domenii relativ largi: C= 1,5 4,7%; Si= 1 2,4%; Mo= 0,7 1,1%; Cu= 0,11 0,14% sau pana la 1,7% cand continutul de carbon este redus; Cr= 0,10 0,28%; Ni= 1 1,5% si Mo= 0,8 1%, la un continut mediu de carbon. Dupa tratament, rezistenta la rupere a acestor fonte atinge 600 800 N/mm2. Pentru arborii la care diametrul fusurilor palier nu depaseste 150mm, se mai utilizeaza fonta cu grafit nodular (de exemplu fonta Fng 700-2 STAS 6017-82). Daca structura ei este perlitica, rezistenta la rupere ajunge la 650 800 N/mm2 si duritatea la 210 290 HB. Aceste caracteristici sunt mai coborate daca se realizeaza structura feritica, prin recoacerea dupa turnare, dar se mareste astfel rezistenta la oboseala. Comportarea la oboseala se imbunatateste mai mult in cazul fontei cu grafit nodular aliate, care este mai scumpa. Caracteristicile mecanice ale fontelor cu grafit nodular, apropiate de cele ale otelului forjat (la fonta cu compozitia C= 3,7%; Si= 2,3%; Mn= 0,3%; Mg= 0,05%; S= 0,08%; P= 0,02% s-a obtinut rezistenta la rupere de 1200 N/mm2), si comportarea lor buna la calirea superficiala le recomanda pentru turnarea arborilor cotiti. Prin calire si revenire, duritatea se ridica la 340 400HB. Costul fabricatiei arborilor cotiti turnati din fonta cu grafit nodular scade pana la 40% din cel al arborilor obtinuti prin forjare din otel.
Tot pentru turnarea arborelui cotit se foloseste si otel aliat, (avand, de exemplu, compozitia: C= 1,2 1,45%; Si= 0,8 1,2%; Mn=0,5 0,8%; Cu= 1,5 2%; Cr= 0,3 0,6%; Ni< 0,2%; S+P= 0,1%, avand rezistenta la rupere de 550 700 N/mm2) sau otel grafitat.
Capitolul IV. Defecte, intretinere si reconditionarea arborelui cotit
In timpul functionarii, arborele cotit este supus sarcinilor variabile datorita fortelor de presiune a gazelor fortelor de inertie, care in anumite perioade ale ciclului au un caracter de soc.
Aceste forte provoaca aparitia unor eforturi compuse de incovoiere, torsiune, intindere si compresiune. Ca urmare a acestor solicitari complexe, arborele cotit trebuie sa satisfaca urmatoarele cerinte: rezistenta ridicata la oboseala; mare rigiditate; rezistenta ridicata la uzura a suprafetelor fusurilor; sa fie echilibrat dinamic; sa nu ajunga la rezonanta datorita oscilatiilor; sa fie executat la o inalta precizie de fabricatie ca dimensiuni si forma.
Ca urmare a exploatarii normale a motorului, arborele cotit se uzeaza sau poate prezenta anumite defectiuni, care in majoritatea cazurilor pot fi remediate prin reconditionare.
In vederea reconditionarii, arborele cotit este supus unui control minutios, pentru stabilirea marimii si caracterului uzurilor, precum si a defectiunilor. In acest scop, arborele cotit se curata si se spala cu un solvent si se sufla cu aer comprimat, acordand o atentie deosebita curatarii canalelor de ungere. In continuare se controleaza daca suprafetele fusurilor au lovituri, zgarieturi, urme de gripaj, fisuri sau crapaturi. Determinarea corecta a fisurilor si crapaturilor se face prin defectoscopie electromagnetica sau cu ultrasunete.
Se controleaza starea de uzura a fusurilor, masurandu-se diametrul fiecaruia in plan orizontal si vertical, pentru a se determina abaterea de la forma cilindrica (ovalitatea si conicitatea) rezultata in urma uzurii. Defectele mici se pot retusa cu o piatra de granulatie foarte fina, iar cele mai mari prin rectificare. Daca uzura depaseste limitele tolerantelor indicate, fusurile se vor rectifica.
In continuare se vor prezenta defectele si posibilitatile de reconditionare ale arborelui cotit pentru motoarele D 2156 HMN8 si D 2156 HMN6U (fig.IV.1)

IV.1. Conditii de reformare
In cazul in care in urma controlului se constata urmatoarele defecte : fisuri, indiferent de natura sau pozitia pe fusuri si care nu dispar prin rectificare la ultima treapta de reparatie (sau dupa rectificare in vederea metalizarii); fisuri pe suprafetele neprelucrate; rupturi ale arborelui cotit, torsionarea arborelui; uzura fusurilor paliere sub cota de ψ 94,950 mm sau ψ 92,00 mm daca se reconditioneaza prin metalizare cu sarma; uzura fusurilor de biela sub cota de ψ 81,950 mm sau ψ 79,00 mm daca se metalizeaza, arborele cotit se va inlocui.
IV.2. Tehnologia de reconditionare a defectelor
Defectele localizate in fig. cu numarul de ordine respectiv, sunt:
1. Incovoierea arborelui cotit se inlatura prin indreptarea la rece, cu o piesa hidraulica, arborele cotit fiind asezat pe doua prisme, cu sageata in sus, pana la incadrarea bataii in limita admisa. Sageata se masoara cu ajutorul unui dispozitiv complex de control cu cadran 1:100. Bataia fusului palier central la asezarea pe palierele extreme, max. 0,01 mm.
2. Filetul gaurilor de prindere a pinionului arborelui cotit si cele pentru fixarea volantului se reconditioneaza prin majorarea diametrului gaurilor la ψ 12 mm, respectiv 14 mm, si refiletarea la cota mojorata M 14 · 1,5 si respectiv M 16 · 1,5 . Se admite o singura majorare de filet si corespunzator se vor majora gaurile de trecere prin pinion la ψ 14,5+ 0,1 mm si volant la ψ 16,5+ 0,1mm.
3. Uzura in lungime a fusurilor de biela se reconditioneaza prin:
a) incarcarea prin metalizare cu sarma, urmata de rectificare la cota nominala;
b) rectificarea la cota de 42,300 + 0,030 mm si utilizarea la biele cromate dur si prelucrate la cota de 42,020 + 0,060 mm.
4. Uzura in lungime a fusului palier central se reconditioneaza prin:
a) rectificarea suprafetelor frontale pe adancimea de maxim 0,3 mm, respectand cota treptei de reparatie RI si montand cuzinetii pentru treapta I de reparatie la exterior la cota corespunzatoare asigurarii jocului nominal;
b) incarcarea prin metalizare cu sarma, urmata de rectificare la cota nominala;
c) incarcarea cu sudura electrica si prelucrare la cota nominala sau la RI . Trebuie avut grija ca, dupa rectificare, suprafata sa fie lustruita cu pasta abraziva.
5. Uzura locasului pentru rulmentul de ghidare al arborelui primar de la cutia de viteze se reconditioneaza prin rectificare la cota treptei de reparatie RI si folosirea de rulmenti incarcati la exterior, prin cromare dura si rectificati la cota treptei de reparatie RI = ψ 52,187 + 0,013 mm.
Abaterea admisa de la coaxialitate, max. 0,02 mm dupa rectificare.
6. Bataia suprafetei frontale a flansei de fixare a volantului se reconditioneaza prin rectificarea suprafetei frontale a flansei pe adancimea de max. 0,50 mm, respectand cota max. 12 mm, si refacand sanfrenul la 5 · 15s.
7. Bataia suprafetei frontale de fixare pentru pinionul arborelui cotit se reconditioneaza prin rectificarea suprafetei frontale a arborelui pe adancimea de max. 0,50 mm, respectand cota min. 68 mm si refacand sanfrenul la 1 · 45s.
8. si 9. Uzura, ovalitatea si conicitatea fusurilor de biela si palier se reconditioneaza prin :
a) rectificarea celor sase fusuri manetoane si sapte fusuri paliere la una din cotele treptelor de reparatie RI - RIV , urmata de lustruirea acestora;
b) incarcarea prin metalizare cu sarma, urmata de rectificarea la cota nominala sau la una din cotele treptelor de reparatie.
Atentie! Se vor respecta cu strictete razele de curbura de la extremitatile fusurilor maneton si palier si se vor rotunji cu R= 2mm toate iesirile canalelor de ungere din fusurile arborelui cotit. In cazul fusului palier central realizarea razei de racordare corecta se asigura prin taierea pietrei de rectificat la o raza egala cu cea prescrisa pentru fusul palier principal. O raza prea mica provoaca suprasolicitarea arborelui cotit, iar o raza prea mare suprasolicita cuzinetii, datorita nepotrivirii dintre raza cuzinetului si cea a arborelui cotit.
Rectificarea se face pe masini de rectificat arbori cotiti. Pentru rectificarea fusurilor manetoane, arborele cotit se fixeaza in universalele masinii de rectificat la o distanta fata de axa masinii egala cu raza manivelei arborelui cotit. Prin aceasta deplasare, axa geometrica a fusurilor manetoane devine coaxiala cu cea a varfurilor masinii de rectificat. In timpul rectificarii, fusul respectiv este racit cu solutie.
Piatra de rectificat se confectioneaza din carbura de siliciu si are urmatoarele caracteristici: granulatia 60, duritatea M si liant ceramic. Regimul de lucru este urmatorul: turatia fusurilor, 30 45 rot/min; turatia pietrei de rectificat, 900 rot/min; avansul transversal, 0,025 mm/rot, iar avansul longitudinal se face manual.
Dupa rectificare, se lasa avansul transversal egal cu zero, pana la disparitia scanteilor (8 10 curse ale pietrei de-a lungul fusului). Apoi, fusurile se lustruiesc cu panza abraziva cu granulatia 400.
Dupa rectificarea si tesirea tuturor canalelor de ulei, acestea se vor spala si sufla cu aer comprimat.
In final, se face controlul, care trebuie sa corespunda prescriptiilor, si ca cuprinde urmatoarele:
- masurarea cotelor treptelor de reparatie a fusurilor, controlul procente de 100%;
- masurarea fusurilor de la forma cilindrica regulata; control in procente de 20%;
- rugozitatea fusurilor, in comparatie cu suprafata etalon; control in procente de 100%;
- masurarea bataii radiale a fusurilor paliere si a fusurilor manetoane in raport cu axa fusurilor paliere; controlul in procent de 100%;
- conicitatea fusurilor paliere si manetoane; control in procent de 20%;
- echilibrarea dinamica a arborelui cotit impreuna cu contragreutatile.
In timpul functionarii arborelui, iau nastere oscilatii de torsiune a caror actiune periodica la anumite turatii ale motorului pot sa produca fenomenul de rezonanta, periculos prin efectele sale distrugatoare.
Pentru a se preintampina acest fenomen, in constructia motoarelor se utilizeaza amortizorul oscilatiilor de torsiune, care diminueaza oscilatiile de torsiune ale arborelui cotit, inlaturand fenomenul de rezonanta care apare atunci cand frecventa oscilatiilor proprii ale arborelui coincide cu frecventa exploziilor care se produc in cilindru.
Principiul de functionare al acestor amotizoare se bazeaza pe absorbirea unei parti din energia care poate sa produca oscilatii de torsiune ale arborelui cotit si cheltuirea ei intr-un lucru mecanic de frecare efectuat in amortizor. Amortizoarele se monteaza, in general, la capatul din fata al arborelui cotit sau in imediata sa apropriere, in aceasta zona amplitudinea vibratiilor care se produc atingand valoarea maxima.
Cel mai raspandit in prezent este amortizorul cu frecare interioara. La acest amortizor, discul masiv care are rolul unei mase de inertie, este vulcanizat cu elementul de cauciuc de flansa profilata prin presare si fixata rigid prin suruburi de butucul rotii de curea a ventilatorului. Oscilatiile de torsiune a arborelui cotit produc o miscare oscilatorie a discului masiv fata de varful arborelui. Ca urmare a deformatiilor elastice din straturile masei de cauciuc ia nastere o frecare interioara care absoarbe o parte din energia vibratiilor de torsiune ale arborelui. Aceasta energie se transforma in caldura si se degaja in admosfera.
Se mai folosesc si amortizoarele cu frecare lichida in care se utilizeaza siliconul, un lichid cu vascozitate mare, cu care se umple un spatiu circular inchis. In acelasi spatiu este inchisa si o masa libera confectionata sub forma unui inel oscilant. Frecarea care ia nastere intre lichidul vascos si aceasta masa mobila este folosita pentru amortizarea oscilatiilor de torsiune ale arborelui.
IV.3. Inlocuirea semicuzinetilor arborelui cotit
in timpul functionarii motorului, cuzinetii se uzeaza sau pot prezenta anumite defectiuni, fapt pentru care se necesita inlocuirea lor. Pentru aceasta, trebuie sa se masoare jocurile dintre fusurile arborelui cotit si semicuzineti. Pentru masurarea jocului, se aseaza semicuzinetii in locasurile paliere sau biele, se monteaza capacele si se strang suruburile cu momentul prescris. Se masoara, cu ajutorul unui comparator de interior, diametrul interior al semicuzinetilor si dupa aceea cu un micrometru fusurile, determinandu-se totodata si abaterea de la forma cilindrica regulata. Diferenta dintre diametrele semicuzinetului si fusului reprezinta jocul si se constata daca se incadreaza sau nu in limitele prescrise. In cazul cand jocul maxim admis sau abaterea maxima de la forma cilindrica regulata la unul sau mai multe fusuri ale arborelui cotit sunt depasite, fusurile se rectifica la treapta de reparatie imediat inferioara si se monteaza semicuzinetii noi la treapta de reparatie corespunzatoare.
Inainte de rectificarea fusurilor arborelui cotit, se verifica diametrul interior al semicuzinetilor noi, asezandu-i in locasurile lor si strangand suruburile capacelor cu momentul prescris. Diametrul masurat al semicuzinetilor se are in vedere la rectificarea fusurilor respective, astfel ca sa se asigure jocurile prevazute.
In cazul in care, in urma verificarii uzurii si a jocului dintre semicuzinti si arborele cotit, se constata ca acestea se incadreaza in prescriptii, inainte de folosirea in continuare a semicuzinetilor, trebuie sa se controleze si aspectul suprafetei de alunecare a semicuzinetilor. Aceasta suprafata trebuie sa indeplineasca urmatoarele conditii:
-sa nu aiba zgarieturi pronuntate sau impuritati in materialul antifrictiune;
-sa nu prezinte zone lustruite datorita unei apasari incorecte a fusului;
-sa nu prezinte urme de gripaj sau exfolieri, ca urmare a ungerii insuficiente;
-sa nu prezinte urme de material suprapus sau exfolieri locale datorita oboselii.
Deoarece cuzinetii sunt prelucrati cu mare precizie, ei sunt interschimbabili in cadrul unei grupe de dimensiuni si nu mai necesita la montaj operatii suplimentare de pasuire. In cazul in care, pentru realizarea unei pasuiri corespunzatoare, se intervine asupra suprafetei de alunecare a semicuzinetilor, durata de functionare a acestora va fi substantial redusa, deoarece in prezent in constructia motoarelor de automobile se utilizeaza in general cuzineti cu pereti subtiri (bimetalici sau trimetalici).
IV.4. Echilibrarea arborilor cotiti
Conditiile de functionare impun pentru arborii cotiti ai masinilor rapide necesitatea unei ehilibrari dinamice.
In planul de operatii, echilibrarea se prevede dupa rectificarea de finisare a suprafetelor cilindrice exterioare.
In cazul cand procesul tehnologic prevede si operatii de netezire a fusurilor si manetoanelor, echilibrarea se executa inaintea acestei operatii.
Echilibrarea arborelui cotit se realizeaza pe masini speciale de echilibrare dinamica. Pe aceste masini se determina marimea neechilibrarii si pozitia mesei neechilibrate, iar suplusul de metal, constatat la echilibrare, se inlatura pe masini de gaurit sau masini de frezat. La fabricatia de masa, pentru echilibrare se folosesc agregrate specializate la care atat operatia de determinare a marimii si pozitia dezechilibrului, cat si inlaturarea suplusului de metal, se fac automat. Arborii masinilor lente (cu turatie sub 1000 rot/min) precum si arborii cu 1 cot sau 2 coturi, se admite a fi echilibrati numai static.
IV.5. Controlul arborilor cotiti
Controlul final al arborilor cotiti cuprinde un mare numar de masuratori si necesita un timp mare, daca se face cu aparate de masura uzuale, universale. De aceea s-au construit si se folosesc dispozitive de control complexe, pentru verificarea simultana a mai multor parametri la o singura asezare a piesei in dispozitiv.
La arborii cotiti, in cadrul controlului final este caracteristica verificarea urmatorilor parametri:
-diametrele fusurilor si manetoanelor;
-paralelismul axelor fusurilor si manetaonelor;
-raza manivelei;
-pozitia unghiulara a manetoanelor;
-lungimile manetoanelor si fusurilor;
-dimensiunile si pozitia canalului de pana fatta de primul fus palier;
Pentru controlul paralelismului fusurilor paliere si manetoanelor se folosesc frecvent dispozitive de control pneumatice si electrice.
Majoritatea parametrilor dimensionali si de pozitie reciproca a arborelui cotit se controleaza pe dispozitive de control sau cu contacte electrice.
Bibliografie
Sef. lucr. ing. Bohosievici Cazimir, Conf. Dr. ing. Pruteanu Octavian, 1979, ,,Tehnologia fabricarii masinilor, II
Fratila Gh., Fratila Mariana, Samoila St., ,,Automobile: cunoastere, intretinere si reparare Manual pentru scoli profesionale anul I, II, III.
Dr. ing. Caleui Gheorghe, Ing. Groza Alexandru, Dr. ing. Saviuc Samoil, 1985, ,,Metode si prelucrari practice pentru repararea automobilelor, Bucuresti
Ing. Cazacu Claudia, Ing. Crasmaru Ion, Ing. Dornescu Renata, ,,Tehnologia meseriei mecanic auto
|