REDUCTORUL
DISTRIBUITOR (CUTIA DE DISTRIBUTIE)
1. Destinatia cutiei de distributie si a reductorului distribuitor.
1.1. Distribuitor cu dispozitiv pentru decuplarea puntii fata
1.2. Reductorul distribuitor cu diferential interaxial asimetric
1. Reductorul distribuitor al autocamionului SR 132
1.4. Reductor-distribuitor dreapta asamblat (TAB 77)
1.5. Reductor distribuitor stanga asamblat (TAB 77)
1.6. Reductor-distribuitor (TAB B-33)
1.7. Reductorul distribuitor cu dispozitiv tip roata libera
Pentru transmiterea momentului motor la toate puntile motoare, automobilele
sunt echipate cu un distribuitor sau cu un reductordistribuitor.
Distribuitorul asigura distribuirea momentului motor
la puntile motoare fara ai modifica valoarea.
Reductorul-distribuitor asigura distribuirea momentului motor, de regula, cu
doua etaje, unul de priza directa si unul de demultiplicare (treapta redusa) la
puntile motoare iar in unele cazuri si la alte agregate (troliu etc.) prin
intermediul unei prize de putere. Reductorul-distribuitor (sau cutia de
distributie) primeste momentul motor de la cutia de viteze prin intermediul
unui arbore cardanic si-l distribuie prin doi sau mai multi arbori cardanici,
puntilor motoare.
Reductorul distribuitor asigura:
demultiplicarea miscarii in cazul cuplarii treptei a doua;
distribuirea miscarii la puntile motoare in cele doua trepte de
viteza;
marirea raportului total de transmitere;
dublarea numarului de trepte al cutiei de viteze;
inregistrarea distantei parcurse de autocamion (in km).
Pe automobile, ca solutii constructive, se pot intalni urmatoarele tipuri de
distribuitoare:

Fig. 1. Distribuitor cu dispozitiv pentru decuplarea puntii din fata:
1- roata
dintata a arborelui intermediar;
2- arbore primar
3- roata dintata a arborelui primar
4 arbore intermediar; 5 roata dintata a arborelui secundar; 6 mufa de
cuplare; 7 arbore secundar;

Fig.2. Distribuitor cu cuplaj unisens:
1-arbore primar
distribuitor
2arbore pentru antrenarea puntii din spate; 3,4 si 5roti dintate;
6arbore secundar; 7cuplaj cu crichet pentru mers inainte;
7 - cuplaj cu crichet pentru mers inapoi; 8 arbore intermediar;
- cu dispozitiv pentru decuplarea puntii fata (fig.1.);
- cu cuplaje unisens (fig.2.);
Distribuitor cu dispozitiv pentru decuplarea puntii din fata:
Carterul distribuitorului (fig. 1.) este fixat de carterul cutiei de viteze,
iar arborele secundar 2 al cutiei de viteze este in acelasi timp si arbore
primar al distribuitorului. Transmiterea momentului la puntea din spate se face
direct de la arborele secundar al cutiei de viteze, iar la puntea din fata de
la arborele secundar 7 al distribuitorului. Pentru cuplarea puntii din fata ,
mufa 6 se deplaseaza spre stanga pana cand dantura sa interioara va cupla cu
dantura auxiliara a rotii 5 solidarizand-o cu arborele 7.
Distribuitorul cu cuplaj unisens:
La puntea din spate, momentul se transmite direct de la arborele secundar 1 al
cutiei de viteze (fig. 2.) prin intermediul arborelui 2, iar puntea din fata
este antrenata de la arborele 6.
La mersul inainte al automobilului, sub actiunea fortei axiale, pinionul cu
dinti inclinati 5 se deplaseaza spre dreapta si, prin intermediul cuplajului cu
clichet 7, solidarizeaza pinionul cu arborele 6.
In cazul distribuitorului cu cuplaj unisens (sau al reductorului-distribuitor)
raportul de transmitere la puntea posterioara are o valoare mai redusa (cu 6
8 %) decat la partea anterioara. In aceasta situatie, la rostogolirea tuturor
rotilor fara patinare, viteza unghiulara a rotilor posterioare este mai mare
decat a rotilor anterioare, iar viteza unghiulara a pinionului 5 este mai mare
decat viteza unghiulara a arborelui 6. In felul acesta, cuplajul unisens se
decupleaza, iar intreg momentul motor se transmite la rotile puntii
posterioare. In situatia in care rotile posterioare vor incepe sa patineze,
atunci cuplajul cu clichet se cupleaza automat si rotile puntii anterioare
devin si ele motoare.

Fig. Reductorul distribuitor cu diferential
interaxial asimetric cu roti cilindrice:
1 arbore primar; 2 si 6 arbori secundari; 3 si 3 - roti dintate de pe
arborele primar; 4 si 4 roti dintate de pe arborele intermediar; 5
roata dintata;
7 mufa pentru cuplarea puntii din fata; 8 diferential interaxial; 9
arbore intermediar ; 10 mufa pentru cuplarea celor doua trepte.
In figura se reprezinta constructia unui
reductor distribuitor cu diferential interaxial asimetric cu roti cilindrice.
Cuplarea celor doua trepte se realizeaza cu ajutorul mufei 10. Mufa 7 serveste
la cuplarea si decuplarea puntii din fata.
Reductoruldistribuitor cu dispozitiv pentru decuplarea puntii anterioare.
Reductorul distribuitor al autocamionului SR-132
(fig. 4.) doua trepte: una cu raportul de transmitere egal cu unitatea si a
doua cu raportul de transmitere 1,928.

Fig. 4.
Reductorul distribuitor al autocamionului SR 132:
a constructie; b schema de cinematica; 1 - flansa; 2 arbore primar;
3 pinionul arborelui primar; 4 pinionul arborelui secundar pentru puntea din
spate; 5 arbore secundar; 6 tamburul franei de mana; 7 si 11 roti dintate
de pe arborele intermediar; 8 roata dintata de pe arborele secundar al puntii
din fata; 9 carter; 10 arbore secundar; 12 arbore intermediar; 13 mufa
de cuplare a puntii din fata.
Treapta cu raportul de transmitere 1 se obtine prin cuplarea pinionului 3 de pe
arborele primar cu dantura interioara a pinionului 4 de pe arborele secundar 5.
In felul acesta, miscarea se transmite direct de la arborele primar la arborele
puntii din spate. Cuplarea puntii din fata se realizeaza prin deplasarea spre
dreapta a mufei de cuplare 13, pana, cand dantura sa exterioara va angrena cu
dantura interioara a pinionului 8, care este liber pe arborele 10. Treapta cu
raportul de transmitere 1,928 se obtine prin cuplarea pinionului 3 cu pinionul
11, de pe arborele intermediar 12. Reductorul distribuitor prezentat are un
randament ridicat la deplasarea cu puntea anterioara decuplata, deoarece rotile
dintate ale reductorului-distribuitor nu sunt sub sarcina. In schimb, cand este
cuplata puntea anterioara si apare circulatia de puteri' aceasta se
transmite prin toate rotile reductorului-distribuitor.
|
|
|
|
|
|
|
|
|
Capitolul precedent |
Cuprins |
Capitolul urmator |
Index Cursuri |
|

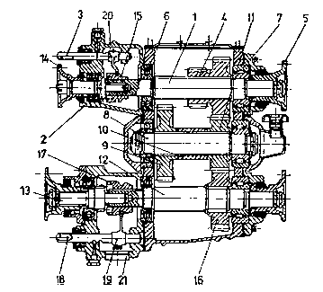
Fig. 5.
Reductor-distribuitor dreapta asamblat (TAB 77)
1 ax primar; 2 priza de putere troliu; 3 tija; 4 balador; 5 flansa; 6
rulment cu bile; 7 rulment cu role; 8 ax intermediar; 9 roata dintata; 10
bucsa de dintare; 11 roata dintata; 12 ax secundar; 13 ax antrenare
punte fata; 14 flansa ; 15 manson de cuplare punte fata; 18 tija furcii
prizei de putere punte fata; 19 furca prizei de putere punte fata; 20 furca
prizei de putere troliu; 21 dop.
|
|
|
|
|
|
|
|
|
Capitolul precedent |
Cuprins |
Capitolul urmator |
Index Cursuri |
|

Fig. 6.
Reductor distribuitor stanga asamblat (TAB 77)
1 ax primar; 2 rulment cu bile; 3 roata condusa pentru actionare
kilometraj; 4 balador; 5 flansa; 6 roata antrenare; 7 rulment cu role; 8
ax intermediar; 9 roata dintata; 10 bucsa de distantare; 11 roata
dintata;12 ax secundar; 13 ax antrenare punte; 14 roata; 15 manson
cuplare; 16 tija furcii prizei de putere punte; 17 furca prizei de putere
punte; 18 dop.

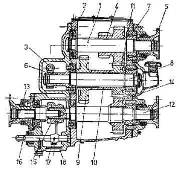
Fig. 7.
Reductor-distribuitor (TAB B-33)
1 axul furcii de blocare a diferentialului; 2 piulita axului; 3 pinion
conducator fata; 4 manson de comanda a blocarii diferentialului; 5 cater
superior; 6 axul furcii de cuplare a treptelor; 7 axul de cuplare a
troliului;
8 piulita axului; 9 mansonul de cuplare a troliului; 10 furca de cuplare
a troliului; 11 capac superior; 12 carcasa satelitilor stanga; 13 blocul
pinioanelor; 14 satelit; 15 furca de cuplare a treptelor; 16 pinionul
treptei superioare; 17 carcasa satelitilor dreapta; 18 capacul comenzii vitezometrului;
19 pinion condus de actionare a vitezometrului; 20 pinion conducator de
actionare a vitezometrului; 21 corpul pompei de ulei; 22 arborele prizei de
putere pentru propulsor; 23 pinion condus al prizei de putere pentru
propulsor; 24 axul furcii de cuplare a propulsorului; 26 manson cuplare
propulsor; 27 arbore de actionare propulsor; 28 flansa de fixare a
arborelui cardanic; 29 arbore primar; 30 pinion condus spate; 31 pinion
conducator actionare propulsor; 32 arbore intermediar spate; 33 deflector
de ulei; 34 piulita arborelui intermediar; 35 capacul spate al arborelui
intermediar; 36 si 78 stuturi; 37 teava de presiune pompa diferential; 38
capacul receptorului de ulei; 39 - cot; 40 arbore secundar de actionare a
puntilor II si IV; 41 tambur frana;
42 carter inferior; 43- pinion planetar; 44 pinion condus; 45 surub de
strangere; 46 furca de cuplare a puntii II; 47 manson de cuplare a puntii
II; 48 carterul mecanismului de cuplare a puntii II; 49 axul furcii de
cuplare a puntii II; 50 arbore actionare punte II; 51- pinion planetar; 52
pinionul treptei reduse; 53 arbore secundar de actionare al puntilor I si
III; 54 butucul tamburului interior al ambreiajului; 55 tambur conducator
al ambreiajului; 56- tambur condus al ambreiajului; 57 pinion condus; 58
furca de cuplare a puntii I; 59 bila; 60 carterul mecanismului de cuplare a
puntii I; 61 axul furcii de cuplare a puntii I; 62 role; 63 arbore de
actionare punte I; 64 manson de cuplare punte I; 65 arbore intermediar fata;
66 flansa; 67 tambur frana; 68 arbore de actionare troliu; 69 roate
conducatoare a transmisiei cu lant de actionare pe troliu; 70 furca de
blocare a diferentialului; 71 surub de blocare; 72 gura de umplere cu ulei;
73 indicator de nivel al uleiului; 74 buson de scurgere; 75 buson de
scurgere cu magnet; 76 buson de scurgere; 77 pompa de ulei; 79 sesizor
presiune ulei; 80 stutul furtunului; 81 stut de trecere.
Reductorul distribuitor cu cuplaj unisens. In figura 5. se reprezinta
constructia unui reductor distribuitor, la care cuplajul unisens este un
dispozitiv tip roata libera, utilizat la autocamioane 6x6. Cand este cuplata
treapta inferioara, momentul se transmite la arborii 6 si 9, prin intermediul
pinioanelor 3,4 si 5, iar la arborele 2, prin intermediul pinioanelor 3,4,4
si 3 .
In treapta a doua, momentul se transmite la arborii 6 si 9, prin intermediul
pinioanelor 3 , 4 , 4 si 5, iar la arborele 2, prin cuplarea
directa (cu mufa10), cu arborele 1. La deplasarea automobilului in linie
dreapta pe un drum cu coeficient de aderenta mare, motoare va fi numai puntea
posterioara ce primeste momentul de la arborele 2.
|
|
|
|
|
|
|
|
|
Capitolul precedent |
Cuprins |
Capitolul urmator |
Index Cursuri |
|

Fig. 8.
Reductorul distribuitor cu dispozitiv tip roata libera:
1 arbore primar; 2 arbore secundar pentru puntea din spate;3 pinionul
arborelui primar; 3 pinionul arborelui secundar; 4 si 4 -
pinioanele arborelui intermediar; 5 pinionul mecanismului tip roata libera;6
arbore secundar pentru puntea din fata;7 si 7 - mecanisme tip roata
libera; 8 si 8 - mufe de cuplare pentru blocarea mecanismelor tip roata
libera la mersul inapoi; 9 arbore secundar pentru puntea din mijloc; 10
mufa de cuplare; 11 arbore intermediar.
Puntea din mijloc si puntea din fata devin motoare numai la patinarea puntii
posterioare, cand intra in actiune mecanismele tip roata libera 7 si 7
. Pentru ca momentul motor sa poata fi transmis la cele trei punti, la
deplasarea inapoi a automobilului, reductorul distribuitor este prevazut cu
mufele de cuplare 8 - 8 , care blocheaza mecanismele tip roata libera
cand se cupleaza treapta pentru mersul inapoi. La aparitia circulatiei
de puteri mecanismul tip roata libera se decupleaza.
Pe autocamionul DAC-665T, reductorul distribuitor G 450 este de tip mecanic, cu
doua trepte de viteze. Transmite un moment de maxim 450 daN.m, cu instalatie de
ungere a angrenajelor asigurata de o pompa cu piston, antrenata de un excentric
fixat pe platoul portsatelit al diferentialului din reductorul distribuitor.
Puntea motoare fata fiind cuplata permanent, evita suprasolicitarea celorlalte
doua punti la deplasarea in teren accidental.
2. Elementele componente ale reductorului-distribuitor la autocamionul DAC 665
T
2.1. Cutie de distributie
2.2. Arborele primar si arborele intermediar
2. Parghii de comanda. Antrenare vitezometru
2.4. Pompa si conductele de ulei
2.5. Flansele de antrenare
2.6. Suspensia cutiei de distributie
2.7. Comanda cutiei de distributie la autocamionul DAC 665T
Elemente componente ale reductorului-distribuitor G 450 sunt urmatoarele:
carcasa (carter); subansamblul arborelui primar; subansamblul arborelui
intermediar; subansamblul arborelui secundar anterior; subansamblul arborelui
secundar posterior; diferentialul cu dispozitivul de blocare; dispozitivul de
actionare.
La nivel repere, elementele componente ale reductorului - distribuitor sunt
prezentate in fig. 9 15

Fig. 9.
Sectiune in cutia de distributie G 450
1 arbore primar; 2 arbore intermediar; 3 arbore secundar pentru puntea
din fata; 4 arbore secundar pentru puntea din spate; 5 si 6 pinioane pe
arborele primar; 7 si 8 pinioane pe arborele intermediar; 9 pinion pe
arborele secundar; 10 portsateliti stanga; 11 portsateliti dreapta; 12
roata cu dantura interioara; 13 pinion satelit; 14 roata dintata pentru
inregistratorul de kilometraj; 15 parghie de comanda; 16 furca de cuplare;
17 parghie de cuplare; 18 conducta de ulei; 19 carcasa; 20 conducta de
ulei; 21 inel de comanda; 22 flansa de antrenare a arborelui primar; 23
melc; 24 flansa de antrenare a arborelui cardanic spate.

Fig. 10. Cutie
de distributie
CUTIA DE DISTRIBUTIE
(TRANSFER BOX)
Tabelul 1
|
Pozitia |
|
||
|
Denumirea |
Nr.Buc. |
||
|
|
|
|
|
|
14 |
R 12215 DFAEM
|
1 |
|
ARBORII
SECUNDARI SI PORTSATELITIIMAIN SHAFTS AND PLANET CARRIER
Tabelul 3
|
Pozitia |
|
||
|
Denumirea |
Nr.Buc. |
||
|
|
|
|
|
|
10 23 |
R 12215 DFAEM
|
|
|
|
35 |
Saiba de
reglaj (120x139x0,5) Adjusting washer |
NB |
|

Fig. 11.
Arborele primar si arborele intermediar
ARBORELE PRIMAR SI ARBORELE INTERMEDIAR
INPUT SHAFT AND INTERMEDIATE SHAFT
Tabelul 2.
|
Pozitia |
|
||
|
Denumirea |
Nr.Buc. |
||
|
|
|
|
|
|
1 |
Arbore primar
Input shaft |
1 |
|

Fig. 12.
Parghii de comanda. Antrenare vitezometru
PARGHII DE COMANDA. ANTRENARE VITEZOMETRU.
GEAR CHANGING. SPEEDDOMETER DRIVE.
Tabelul 4.
|
Pozitia |
|
||
|
Denumirea |
Nr.Buc. |
||
|
|
|
|
|
|
1 9 26 |
R 12215 DFAEM
|
1 1 |
|

Fig. 1 Pompa si
conductele de ulei
POMPA SI CONDUCTELE DE ULEI
OIL PUMP AND PIPES
Tabelul 18.
|
Pozitia |
|
||
|
Denumirea |
Nr.Buc. |
||
|
|
|
|
|
|
1. |
R. 12.215
DFAM. |
1 |
|
FLANSELE DE ANTRENARE
DRIVING FLANGES
Tabelul 19
|
Pozitia |
|
||
|
Denumirea |
Nr.Buc. |
||
|
|
|
|
|
|
1. |
R. 12.215
DFAEM. |
3 |
|

Fig. 14. Flansele de antrenare

Fig. 15.
Suspensia cutiei de distributie
SUSPENSIA CUTIEI DE DISTRIBUTIE
TRANSFER BOX SUSPENSION
Tabelul 20
|
Pozitia |
|
||
|
Denumirea |
Nr.Buc. |
||
|
|
|
|
|
|
1. |
R. 12.215.
DFAEM. |
1 NB. |
|
COMANDA CUTIEI DE DISTRIBUTIE
TRANSFER BOX CONTROL
Tabelul 21.
|
Pozitia |
|
||
|
Denumirea |
Nr.Buc. |
||
|
|
|
|
|
|
1. |
R-12215 DFAEM
|
1 |
|

Fig. 16. Comanda cutiei de distributie la autocamionul DAC 665T
Solutii constructive ale comenzii
cutiilor de distributie la autovehicule cu destinatie militara
1. Mecanismul de schimbare a vitezelor cutiilor de distributie, de cuplare si
decuplare a puntilor din fata si
de comanda a prizei de putere troliu
2. Reglarea comenzilor directiei si treptei reduse.
Mecanismul de actionare a schimbarii
treptelor in cutia de distributie, de cuplare a puntilor din fata si
blocare a diferentialului interaxial, si de cuplare a
troliului

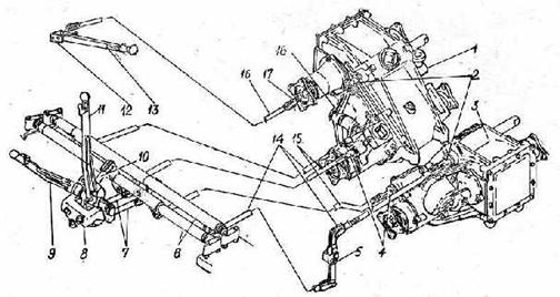
Fig.
17. Mecanismul de schimbare a vitezelor cutiilor de distributie, de cuplare si
decuplare a puntilor din fata si de comanda a prizei de putere troliu
1 cutia de distributie dreapta; 2, 4 si 17 axe; 3 cutia de distributie
stanga; 5 parghie oscilanta; 6 arbori; 7, 10, 14, 15, si 16 tije; 8 si 12
suporti; 9 parghia de cuplare a puntilor din fata; 11 maneta de schimbare
a vitezelor; 13 parghia de cuplare a cutiei prizei de putere pentru troliu;
18 parghie oscilanta.

Fig. 18. Reglarea
comenzilor directiei si treptei reduse.
1 volan; 2 coloana de directie; 3 tija directie dreapta; 4 tija
directie stanga; 5 distribuitor de directie; 6 parghie distribuitor pentru
viraj dreapta; 7 parghia distribuitor de directie; 6 parghie distribuitor
pentru viraj stanga; 8 maneta treapta redusa; 9 placa de indexare; 10
coloana treapta redusa;11 tija de comanda a treptei reduse la ambreiaj
lateral dreapta; 12 tija de comanda a treptei reduse la ambreiaj lateral
stanga;
13 dopul sertarului de directie dreapta; 14 dopul sertarului de directie
stanga; 15 limitator de cursa maxima a volanului; Md, Ms manometre 0 χ 25
bar racordate in locul dopurilor; 13 si 14 manometre 0 χ 25 bar racordate la
orificiile franelor.

Fig. 19.
Mecanismul de actionare a schimbarii treptelor in cutia de distributie, de
cuplare a puntilor din fata si blocare a diferentialului interaxial, si de
cuplare a troliului
1 parghia de cuplare a puntilor fata si de blocare a diferentialului;2
maneta de schimbare a treptelor in cutia de distributie; 3 maneta de cuplare a
troliului; 4 cama suportului parghiilor de comanda a cutiei de distributie; 5
suportul manetei de cuplare a troliului; 6 arbore vertical; 7 ax pentru
blocarea diferentialului; 8 piulita opritor; 9 arborele din fata de cuplare
a puntilor din fata si blocare a diferentialului; 10 tija fata de cuplare a troliului;
11 tija fata de schimbare a treptelor in cutia de distributie;12, 24 si 27
tije de cuplare a puntilor fata; 13, 20 si 23 parghii; 14 tija intermediara
de cuplare a troliului; 15 tija intermediara de schimbare a treptelor in CD;
16 ax cuplare punte I; 17 tija spate comanda cuplare troliu; 18 axul de
cuplare a troliului; 19 ax decuplare a puntii II; 21 ax schimbare a
treptelor in cutia de distributie; 22 tija spate de schimbare a treptelor in
cutia de distributie; 25 tija de cuplare a blocarii diferentialului; 26
arbore spate de actionare a cuplarii puntii II si de blocare a diferentialului.
|
|
|
|
|
|
|
|
|
Capitolul precedent |
Cuprins |
Capitolul urmator |
Index Cursuri |
|
4. Principiul de functionare al reductorului distribuitor.
Functionarea reductorului distribuitor in cele doua trepte se realizeaza prin
transmiterea momentului motor prin arborele primar la arborii secundari cu
ajutorul arborelui intermediar si al unor angrenaje (fig.9.). Pentru cuplarea
treptei I se actioneaza contactul basculant din bordul autocamionului catre in
sus. Prima treapta se realizeaza prin rigidizarea pinionului 5 cu arborele
primar 1 prin deplasarea parghiei de cuplare 15 spre dreapta, lantul cinematic
fiind format din pinioanele 5, 7 si 9 ultimul fiind montat pe diferentialul 11,
va antrena cei doi arbori secundari 3 si 4. Raportul de transmitere realizat
este 1.
Pentru cuplarea treptei a II-a se actioneaza acelasi contact basculant catre in
jos, operatiune urmata de aprinderea unui bec. A doua treapta se obtine prin
deplasarea inelului de cuplare 21 spre stanga, rigidizandu-se pinionul 6 cu
arborele primar 1 si realizandu-se lantul cinematic format din pinioanele 6 si
8, in angrenare permanenta, arborele intermediar, pinioanele 7 si 9. Intru-cat
pinionul 9 este montat pe diferentialul 11, acesta va transmite miscarea de
rotatie la cei doi arbori secundari 3 si 4, raportul de transmitere realizat
este de 1,8
Functionarea diferentialului.
Miscarea primita de pinionul 9 este transmisa carcasei diferentialului 11 si
capacului 10. Satelitii 13 sunt in angrenare permanenta cu rotile dintate 14 si
12 fixate pe arborii secundari 3 si 4 (anteriori si posteriori sau fata si
spate).
Atat timp cat reactiunile pe sateliti vor fi egale, diferentialul lucreaza ca
un tot unitar. In momentul cand raportul reactiunilor pe rotile puntilor din
fata si spate difera de raportul razelor rotilor dintate 12 si 14,
diferentialul intra in functiune, Satelitii incep sa se roteasca efectuandu-se
echilibrarea fortelor la rotile puntilor din fata si spate, deci si pe
sateliti. Astfel automobilul poate sa foloseasca intreaga forta de aderenta pe
orice teren, fara sa dea nastere la circuite de putere parazitare. Pentru a evita
patinarea rotilor unuia dintre punti, in reductorul distribuitor s-a montat un
inel de cuplare 16, care se actioneaza manual, prin deplasarea spre spate, in
vederea blocarii diferentialului.
Se interzice cuplarea treptei a II-a in timpul mersului; aceasta operatiune
executandu-se numai cu autocamionul in stationare si cu ambreiajul decuplat.
|