REZISTOARE LINIARE FIXE
1. Scopul lucrarii: Cunoasterea structurii constructive a diverselor tipuri de rezistoare, a parametrilor caracteristici si realizarea unor masuratori specifice.
2. Notiuni teoretice: Rezistorul este o componenta electronica pasiva, cu caracter predominant rezistiv pīna la o anumita frecventa. Rezistenta, parametru esential al rezistorului, reprezinta raportul dintre tensiunea de la bornele sale si curentul ce strabate rezistorul.
Rezistoarele pot fi liniare sau neliniare, fixe sau variabile. Īn prezenta lucrare se studiaza rezistoarele fixe liniare, care prezinta o caracteristica U(I) liniara si valoarea rezistentei nu poate fi modificata īn timpul utilizarii rezistorului.
Unitatea de masura a rezistentei este ohmul (1W = 1V / lA) cu multiplii si submultiplii sai:
mW W, 1mW W, 1kW W, 1MW W, 1GW W
2.1 Parametrii rezistoarelor
Rezistenta nominala Rn, reprezinta valoarea rezistentei rezistorului dorita a se obtine īn procesul de fabricatie si este īnscrisa pe corpul rezistorului. Valorile nominale sunt standardizate international si sunt prezentate īn anexa 13.
Toleranta t[%], reprezinta abaterea maxima relativa a valorii reale R a rezistentei fata de valoarea nominala Rn. Se poate determina cu relatiile:
aR, [ppm/°C], exprima abaterea relativa a rezistentei rezistorului la modificarea temperaturii. Se defineste cu relatia:
(9)
Rezistenta rezistoarelor are o variatie liniara cu temperatura, rezultīnd īn acest caz:
(10)
unde: DR este variatia valorii rezistentei R0 la variatia temperaturii corpului sau cu 1°C.
Factorul de zgomot F [mV/V], reprezinta raportul dintre valoarea medie a tensiunii de zgomot ce apare la bornele rezistorului la aplicarea unei tensiuni continue de 1 V.
Elemente reactive parazite L, C
Orice rezistor prezinta elemente reactive de tip inductanta si capacitate ce depind de structura constructiva a rezistorului. Schema echivalenta a rezistorului cu valoarea rezistentei R la frecventa īnalta este data īn figura 1.

Fig.1 Schema echivalenta a unui rezistor.
2.2 Structura constructiva a rezistoarelor
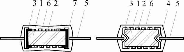
Rezistoarele prezinta īn general o structura constructiva conform figurii 2.
|
|
Fig.2 Structura constructiva a rezistorului.
Principala clasificare a rezistoarelor fixe liniare o constituie tehnologia de realizare a elementului rezistiv, diferentiindu-se din acest punct de vedere rezistoarele peliculare, bobinate si de volum. Cele mai utilizate sunt rezistoarele peliculare, al caror element rezistiv este o pelicula rezistiva cu grosimi de la mm la sute mm. Se disting mai multe tipuri si anume: pelicula de carbon, pelicula metalica, glazura metalica, pelicula obtinuta prin tehnologia straturilor groase, pelicula obtinuta prin tehnologia straturilor subtiri.
Rezistoarele cu pelicula de carbon prezinta o structura conform figurii 3.

Fig.3 Structura constructiva a rezistoarelor
cu pelicula de carbon.
Conform figurii 3 rezistorul cu pelicula de carbon are urmatoarele parti constituente:
1 - suportul izolant, sub forma cilindrica de diverse dimensiuni īn functie de puterea nominala a viitorului rezistor. Se realizeaza din materiale ceramice.
2 - elementul rezistiv, o pelicula de carbon depusa prin piroliza pe suportul izolant. Pentru cresterea valorii rezistentei, pelicula rezistiva, initial sub forma cilindrica, se fileteaza cu discuri abrazive, rezultīnd īn final un element rezistiv spiralat cu efecte asupra cresterii inductantei si capacitatii parazite a viitorului rezistor.
3 - o pelicula de nichel depusa electrochimic la capetele suportului izolant, īn scopul realizarii conexiunii terminal - element rezistiv.
4 - zona de lipire, ce realizeaza conexiunea terminalului la pelicula de Ni. Se realizeaza prin lipire cu aliaj Sn-Pb.
5 - terminal, din Cu cositorit, sub forma cilindrica de diverse diametre.
6 - elementul de protectie realizat dintr-un lac termorezistent.
Structura constructiva prezentata īn figura 3.a corespunde rezistoarelor cu pelicula de carbon cu Pn [0,25;2] W. Cele cu puterea nominala de 0,125 W, au structura constructiva din figura 3.b, diferind doar prin zona de contactare si anume terminalul se sudeaza la un capacel de Ni(7), iar acesta la pelicula de Ni(3).
Rezistoare cu pelicula de Ni
Rezistoarele cu pelicula de carbon depusa prin piroliza se pot obtine numai pentru Rn > 330 W. Pentru completarea seriilor de valori pīna la 1 W, se utilizeaza rezistoarele cu pelicula de nichel depusa chimic pe suprafata suportului izolant. Structura constructiva a acestor rezistoare este asemanatoare cu cea prezentata īn figura 3, singura diferenta fiind doar elementul rezistiv realizat din pelicula de nichel.
Rezistoarele cu glazura metalica au structura constructiva prezentata īn figura 4.

Fig.4 Structura constructiva a rezistorului cu glazura metalica.
Conform figurii 4, rezistorul cu glazura metalica este alcatuit din urmatoarele elemente:
1 - suportul izolant este realizat din alumina, un material cu o mare rezistenta mecanica, ceea ce permite obtinerea lui sub o forma aproape plana, grosimea fiind relativ mica, iar celelalte dimensiuni sunt proportionale cu puterea nominala a viitorului rezistor.
2 -elementul rezistiv, format dintr-o pelicula obtinuta prin depunerea serigrafica a unei paste rezistive. Este de forma dreptunghiulara sau palarie. Dupa depunerea serigrafica, tratament termic si alte operatii tehnologice, pelicula rezistiva se ajusteaza la valoarea dorita cu ajutorul unui praf abraziv, adica se īnlatura o anumita portiune din pelicula pīna cīnd se obtine valoarea nominala cu toleranta dorita.
Aceasta ajustare are uneori ca efect obtinerea peliculei sub forma de semispirala ceea ce influenteaza comportarea īn frecventa a viitorului rezistor.
3- pelicula de Ag-Pd, depusa serigrafic īn scopul conectarii terminalului la elementul rezistiv.
4 - ambaza, o placuta de pertinax, utilizata īn scopul cresterii rezistentei mecanice a rezistorului. Nu toate rezistoarele sunt prevazute cu ambaza.
5 - terminal din cupru cositorit, cu diametru de 0,64 mm.
6 - element de protectie din rasina termodura.
Terminalele se conecteaza la pelicula de Ag-Pd prin lipire.
a
3 - pelicula de Ag-Pd.
4 - capacel de Ni.
5 - strat de aliaj de lipit (Pb 60%, Sn 40%).
6 - pelicula de lac electroizolant.
2.3 Codificarea rezistoarelor
Rezistoarele sunt caracterizate de un cod specific tuturor componentelor electronice. Cele de productie romāneasca au codul de forma:LLLCCCC, īn care L reprezinta o litera si C o cifra.
Partea literala a codului (LLL) este puternic dependenta de tipul elementului rezistiv al rezistorului, iar partea cifrica (CCCC) de puterea nominala.
Cīteva exemple, concludente īn acest sens, sunt prezentate īn tabelul 1
Tabelul 1
|
Pn [W] |
Cod rezistor cu pelicula de carbon |
Cod rezistor cu pelicula de Ni |
Cod rezistor cu glazura metalica |
Cod rezistor bobinat cimentat |
Cod rezistor bobinat in corp ceramic patrat |
Cod rezistor bobinat in corp ceramic profilat |
|
|
RCG 2012 |
RMG 2012 |
RPM 3012 |
|
|
|
|
|
RCG 1025 |
RMG 1025 |
RPM 3025 |
|
|
|
|
|
RCG 1050 |
RMG 1050 |
RPM 3050 |
RBC 1005 |
|
|
|
|
RCG 1100 |
RMG 1100 |
RPM 3100 |
RBC 1001 |
|
|
|
|
RCG 1200 |
RMG 1200 |
|
RBC 1002 |
RBA 3002 |
|
|
|
|
|
|
RBC 1003 |
|
|
|
|
|
|
|
|
RBA 3004 |
RBE 4004 |
|
|
|
|
|
RBC 3007 |
|
RBE 4007 |
|
|
|
|
|
|
RBA 3010 |
RBE 4010 |
2.4 Marcarea rezistoarelor
Pe corpul oricarui rezistor se inscriptioneaza o parte din parametrii ce īl caracterizeaza.
Rezistenta nominala se marcheaza pe corpul oricarui rezistor, utilizīndu-se fie codul culorilor (prezentat īn anexa 13), fie marcarea īn clar, cānd pe corpul rezistorului nu se marcheaza simbolul W ci numai cifrele corespunzatoare valorii; pentru valori mari, de ordinul KW sau MW, īn locul virgulei se pune ordinul de multiplicare K, respectiv M. Īn tabelul 2 sunt prezentate cīteva exemple.
Tabelul 2
|
Inscriptionare |
|
|
|
|
|
1k |
3k3 |
33k |
820k |
1M |
1M8 |
10M |
|
Rn [W |
|
|
|
|
|
|
|
|
|
|
|
|
Toleranta se marcheaza pe corpul oricarui tip de rezistor, utilizīndu-se marcarea īn codul culorilor (conform anexei 13), codul literal conform tabelului 3 sau marcarea īn clar, cīnd se inscriptioneaza pe corpul rezistorului valoarea tolerantei cu sau fara simbolul %.
Tabelul 3
|
Toleranta |
|
|
|
|
|
|
|
|
|
|
|
|
|
|
Cod literal |
E |
L |
P |
W |
B |
C |
D |
F |
G |
H |
J |
K |
M |
Coeficientul de variatie cu temperatura, aR, se marcheaza pe corpul rezistoarelor la care aR poate avea mai multe valori. Pentru marcare se utilizeaza codul culorilor (conform anexei 13) sau codul literal:
a pentru ± 50ppm/° C, b pentru ± 100ppm/°C si c pentru ± 250 ppm/° C.
Puterea nominala se marcheaza (īn clar) numai la rezistoarele bobinate.
Pe corpul unui rezistor cu pelicula de carbon (RCG) sau cu pelicula de Ni (RMG) se marcheaza rezistenta nominala īn clar si toleranta īn clar sau cod literal. Pe corpul unui rezistor cu glazura metalica (RPM) se marcheaza rezistenta nominala īn clar, toleranta īn clar si coeficientul de variatie cu temperatura īn cod literal. La rezistoarele bobinate se marcheaza rezistenta nominala, toleranta si puterea nominala, toate īn clar.
2.5. Influenta tolerantei globale a rezistoarelor asupra parametrilor circuitelor electronice
Valoarea unui rezistor utilizat īntr-un circuit electronic poate avea o abatere mai mare sau mai mica fata de valoarea nominala, dependenta de toleranta rezistorului, variatia temperaturii si a coeficientului de variatie cu temperatura precum si alte abateri datorate diversilor factori cum sunt: umiditatea, vibratiile, socurile termice si electrice, etc.
Toate aceste influente pot fi puse īn evidenta prin toleranta globala, data de relatia:
unde:
tg este toleranta globala;
tf - toleranta de fabricatie;
ti - toleranta datorata influentei factorului i;
tT - toleranta datorata variatiei temperaturii ce se determina cu relatia: tT = aR D Tmax
D Tmax=max
unde: To = 25°C, temperatura la care se masoara valoarea nominala Rn.
Tmax, Tmin reprezinta temperatura maxima, respectiv minima la care poate ajunge tempearatura unui rezistor functionīnd īntr-un mediu ambiant cu Ta [Tamin, Tamax] si disipīnd puterea P.
Considerānd un circuit electronic caracterizat de un parametru f, dependent de valorile rezistentelor utilizate īn circuit prin relatia:
(12)
Cunoscīndu-se tolerantele rezistoarelor se poate determina toleranta parametrului f cu relatia:
(13)
unde tf este toleranta parametrului f datorata tolerantelor ti ale rezistoarelor Ri.
Cunoscīndu-se coeficientii de variatie cu temperatura ai ale rezistoarelor Ri, coeficientul de variatie cu temperatura al parametrului f se determina cu relatia:
(14)
3. Desfasurarea lucrarii:
3.1.Cu ajutorul mostrelor existente īn laborator se evidentiaza principalele faze de realizare a rezistoarelor cu pelicula de carbon, cu pelicula de nichel, cu glazura metalica si a celor bobinate.
3.2.Se masoara rezistenta rezistoarelor plantate pe montajul a carui vedere frontala este prezentata īn figura 9

Fig.9 Schema electrica a montajului pentru masurarea rezistoarelor.
Pentru aceleasi tipuri de rezistoare prezentate īn figura 9 se determina parametrii marcati si ceilalti parametri ce caracterizeaza rezistoarele respective cu ajutorul catalogului. Toate datele, atīt cele masurate, cīt si cele determinate se trec īntr-un tabel de forma celui prezentat īn 4.
|
Tip Rezistor |
Parametrii marcati |
Parametrii masurati |
Parametrii marcati sau determinati |
|||||||||
|
Rn [W |
t[%] |
Rm [W |
tm[%] |
Pn [W] |
aR[ppm/oC] |
VM [V] |
Tm [oC] |
TM [oC] |
TN [oC] |
F[mV/V] |
||
|
RCG 2012 |
4,7K |
|
4,63K |
|
|
|
|
|
|
|
|
|
|
RCG 1025 |
27K |
|
25,9K |
|
|
|
|
|
|
|
|
|
|
RCG 1050 |
18K |
|
17,2K |
|
|
|
|
|
|
|
|
|
|
RCG 1100 |
8,2K |
|
7,87K |
|
|
|
|
|
|
|
|
|
|
RCG 1200 |
27K |
|
28K |
|
|
|
|
|
|
|
|
|
|
RMG 2012 |
|
|
|
|
|
|
|
|
|
|
|
|
|
RMG 1025 |
|
|
|
|
|
|
|
|
|
|
|
|
|
RMG 1050 |
|
|
|
|
|
|
|
|
|
|
|
|
|
RMG 1100 |
|
|
|
|
|
|
|
|
|
|
|
|
|
RMG 1200 |
|
|
|
|
|
|
|
|
|
|
|
|
|
RPM 3025 |
24K |
|
21,4K |
|
|
|
|
|
|
|
|
|
|
RPM 3050 |
|
|
|
|
|
|
|
|
|
|
|
|
|
RPM 3100 |
|
|
|
|
|
|
|
|
|
|
|
|
|
RBC 1001 |
|
|
|
|
|
|
|
|
|
|
|
|
|
RBC 1003 |
|
|
|
|
|
|
|
|
|
|
|
|
|
RBC 1005 |
|
|
|
|
|
|
|
|
|
|
|
|
|
RBC 1007 |
4,7K |
|
4,57K |
|
|
|
|
|
|
|
|
|
|
RBA 3002 |
|
|
|
|
|
|
|
|
|
|
|
|
|
RBA 3004 |
|
|
|
|
|
|
|
|
|
|
|
|
|
RBA 3006 |
5,6K |
|
5,48K |
|
|
|
|
|
|
|
|
|
|
RBA 3008 |
1,8K |
|
1,69K |
|
|
|
|
|
|
|
|
|
Īn tabelul 4 s-a notat cu Rm, valoarea rezistentei masurate si cu tm toleranta rezultata īn urma masurarii si se determina cu relatia:
4.Īntrebari, concluzii:
4.1. Avānd īn vedere rezultatele obtinute la punctul 3.2 (tabelul 1.4) comparati din punct de vedere al parametrilor tipurile de rezistoare masurate.
R:
La rezistoarele cu pelicula de carbon (RCG) puterea nominala Pn variaza in limitele 0,125W si 2W dupa cum se observa si din componentele aflate pe placa RCG 2012 are Pn=0,125W iar RCG 1200 are Pn=2W. Valoarea nominala de la care pornesc rezistoarele de tip RCG este de 330W. Rezistoarele cu pelicula de nichel (RMG) au valori nominale cuprinse intre 1W si 330W pe placa de lucru avand RMG 1050 cu Rn=12W si RMG 2012 cu Rn=270W. Rezistoarele cu glazura metalica (RPM) au puterea nominala Pn 1W. Toate aceste 3 tipuri de rezistoare sunt rezistoare de mica putere. Rezistoarele bobinate cimentat (RBC) si cele bobinate in corp ceramic patrat sunt rezistente de putere dupa cum se observa RBA 3008 are Pn=10W si RBC 3007 are Pn=7W.
4.2. Comparati toleranta masurata tm cu cea marcata t, conform datelor obtinute īn tabelul 1.4. De ce exista diferente īntre tm si t?
R:
T fiind toleranta maxima admisa se observa dupa cum era si normal ca t>tm existand totusi abateri RMG 2012 t=5% si tm=5,9% , RPM 3025 t=5% si tm=10,8% , RBA 3002 t=5% si tm=7% , RBA 3008 t=5% si tm=6% . Aceste excepti provin fie din erori de masurare sau din erori de fabricare.
4.3. Determinati coeficientii de disipatie termica D, respectiv rezistentele termice de convectie pentru rezistoarele: RCG 2012, RCG 1100, RPM 3012 si RPM 3100. Comparati coeficientii de disipatie termica ai rezistoarelor de acelasi tip, dar de puteri diferite si cei ai rezistoarelor de tipuri diferite, dar de aceeasi putere. De ce exista diferente īntre acesti coeficienti?
R:
D=PN/ TM-TN Rt=1/ D
RCG 2012 : D=0,125/ 125-70 =2,2*10-3 W/ C Rt=55/ 0,125 =440 C/ W
RCG 1100 : D=1/ 55 =18*10-3 W/ C Rt=55 C/ W
RPM 3012 : -------
RPM 3100 : D=1/ 155-70 =11*10-3 W/ C Rt=85 C/ W
RPM 3025 : D=0,25/ 85 =2,9*10-3 W/ C Rt=340 C/ W
La rezistoarele de acelasi tip diferentele provin din dependenta lui D de puterea nominala Pn . La rezistoarele care au aceeasi putere nominala dar de tipuri diferite diferentele provin din TM care ditera de la un tip de rezistoare la altul .
4.4. Determinati tensiunea nominala Un a rezistoarelor de tip RMG masurate.
R:
Vn=(Pn*Rn)1/2 VM
RMG 2012 : Vn= (0,125*270)1/2=5,8 V
RMG 1025 : Vn=(0,25*100)1/2= 5 V
RMG 1050 : Vn=(0,5*12)1/2= 2,44 V
RMG 1100 : Vn=(1*200)1/2=14,1 V
RMG 1200 : Vn=(2*120)1/2= 15,4 V
Se observa ca nici una dintre valorile calculate nu depaseste valoarea maxima pentru fiecare rezistor 125 V , 250 V , 350 V , 500 V , 700 V .
4.5. Determinati puterea admisibila Pa a rezistoarelor de tip RCG 1100 si RPM 3100, considerīnd ca acestea functioneaza la temperatura de 100°C.
R:
T=100 C
Pa=Pn , pentru Ta TN
Pa=Pn*(TM-Ta)/(TM-TN)
RCG 1100 : TN= 70 C , Pn=1 W , TM=125 C
Pa=0,45 W
RPM 3100 : TN=70 C , Pn=1 W , TM=155 C
Pa=0,64 W
4.6. Determinati tolerantele globale ale rezistoarelor de tip RCG si RPM, de valoare maxima dintre cele masurate, considerīnd ca acestea au tolerantele de fabricatie t = ± 2,5% si ca functioneaza īntr-un mediu ambiant cu temperatura Ta [-10,100]°C. De ce toleranta globala a rezistorului de tip RCG este mult mai mare decīt cea a rezistorului de tip RPM ? Ce concluzie rezulta din aceasta comparatie ?
R:
tg=tf + tT , tT=aR*D*Tmax
RCG 1200 RN=27 K , D=36*10-3 W/ C , tT= -230*36*10-3*100 = -828 tT= -3,06%
tg 1= -5,56% tg 2= 0,56%
RPM 3025 RN=24 K , D=2,9*10-3 W/ C , tT= .. (nu avem aR pentru rezistorul cerut )
4.7. Explicati influenta solutiei constructive asupra elementelor parazite ale tipurilor de rezistoare masurate. Comparati din acest punct de vedere rezistoarele, īncercīnd o aproximare a inductantei si capacitatii parazite.
R:
Rezistoarele bobinate fie cimentate fie in profil ceramic aptrat au inductanta si capacitate parazita relativ mare . Rezistoarele cu pelicula de carbon au inductanta parazita relativ mare . Rezistoarele cu pelicula de nichel au capacitate parazita relativ mare .
4.10. De ce rezistoarele bobinate se contacteaza prin strīngere si nu prin lipire?
R:
Rezistoarele bobinate sunt rezistoare de putere si se folosesc la temperaturi mari astfel nu se poate utiliza procedeu de lipire deoarece se pot topi materialele cu care sunt prinse terminalele.
4.11. Īn functie de frecventa semnalului la care este utilizat un rezistor, acesta poate avea:
R:
1) o comportare rezistiva;
2) o comportare inductiva;
3) o comportare capacitiva;
4.12. Puterea nominala a unui rezistor este dependenta de:
R:
2) dimensiunile geometrice ale rezistorului;
4) tipul materialului utilizat la realizarea elementului rezistiv.
5. Īntrebari suplimentare
a. Explicati influenta elementului rezistiv asupra parametrilor unui rezistor.
R:
Daca pastram un curent constant in rezistor temperatura rezistorului este proportionala cu rezistenta sa.
b. Explicati influenta elementelor componente ale unui rezistor, realizate din materiale izolante (suportul izolant, elementul de protectie) asupra parametrilor sai.
R:
Elementele de protectie trebuie sa indeplineasca urmatoarele : sa aiba coeficient de conductie termica mare , sa aiba o rezistenta mecanica mare si sa fie impermeabile .
Suportul izolant trebuie sa aiba rezistenta mecanica mare sa aiba permitivitate electrica si permeabilitate magnetica mici .
c. Explicati influenta zonei de contactare asupra parametrilor unui rezistor.
R:
Pentru a nu influenta parametrii rezistorului zona de contactare trebuie sa aibi rezistenta efectiva cat mai mica si temperatura de topire cat mai mare .
d. Ce influenta are asupra functionarii unui rezistor depasirea puterii nominale? Dar depasirea tensiunii nominale, respectiv a tensiunii maxime?
R:
La o depasire a puterii nominale apare o modificare la valoarea efectiva a rezistentei.
La o depasire a tensiunii nominale se depaseste puterea nominala si implicit se va modifica valoarea rezistentei.
La o depasire a tensiunii maxime se poate produce o strapungere a dielectricului , pot aparea fisuri si astfel se pot modifica parametrii rezistorului
e. Cum influenteaza functionarea unui rezistor depasirea temperaturii minime?
R:
Se stie ca la o temperatura foarte mica apare fenomenul de supraconductibilitate si totodata o temperatura scazuta poate influenta negativ si materialele din care rezistorul este fabricat
f. Cum considerati ca este influentata functionarea unui rezistor de socurile termice, respectiv electrice?
R:
Socurile termice pot produce fisuri in rezistoare pe cand socurile electrice pot produce fisuri in dielectricul rezistoarelor.
|