Am uitat parola
x
Creaza cont nou
Home
Exploreaza
Upload
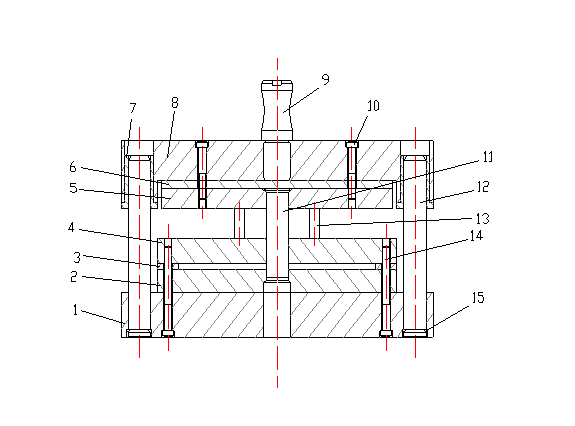
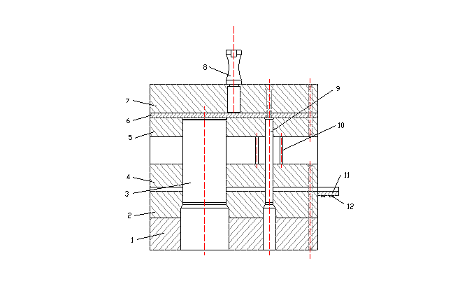
Stanta de decupat
tehnica mecanica
ALTE DOCUMENTE
Verificarea penelor
PROCEDURA DE LUCRU VERIFICARE ETICHETE
DISPOZITIVE MULTIJONCŢIUNE
Principiul antropic
inactivarea termica
Cum se poate masura inaltimea unei cladiri cu un barometru?
Efectul de miscare
ENERGIA VALURILOR
AMPLIFICATOARE OPERATIONALE
Normarea tehnica in constructia de masini
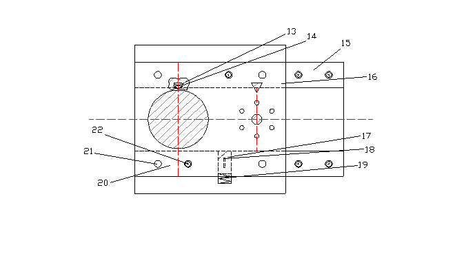
Varianta
I:
Varianta
II:
stanta
de
decupat
stanta
de
perforat
:
Document Info
Accesari: 3813
Apreciat:
Comenteaza documentul:
Nu esti inregistrat
Trebuie sa fii utilizator inregistrat pentru a putea comenta
Creaza cont nou
A fost util?
Daca documentul a fost util si crezi ca merita
sa adaugi un link catre el la tine in site
Copiaza codul:
in pagina web a site-ului tau.
Stanta de decupat
eCoduri.com - coduri postale, contabile, CAEN sau bancare
Politica de confidentialitate
|
Termenii si conditii de utilizare
Copyright
©
Contact
(
SCRIGROUP Int. 2025
)