TEHNOLOGIA PRELUCRARII SUPRAFETELOR CILINDRICE SI CONICE EXTERIOARE
1. Rolul functional, formele constructive si conditiile
tehnice de executie a arborilor
Arborii sunt organe de masini cu lungimi mai mari decat diametrele, care, prin rotire in jurul axei longitudinale, transmit miscarea, puterea si momentele primite prin intermediul altor organe pe care le sustin sau cu care sunt asamblati (roti, biele, cuplaje etc.). in timpul functionarii, arborii sunt solicitati la torsiune si incovoiere, fapt ce impun masuri suplimentare la elaborarea tehnologiei de prelucrare a acestora.
Principalele criterii de clasificare a arborilor sunt: forma, lungimea, diametrul, greutatea, conditiile functionale si complexitatea tehnologica.
Dupa forma constructiva, arborii pot fi: arbori netezi, arbori in trepte simetrici si arbori in trepte asimetrici. Dupa lungime, arborii por fi: arbori scurti, arbori mijlocii, arbori lungi si arbori foarte lungi.
Clasificarea arborilor trebuie sa se faca in asa fel incat sa se creeze posibilitatea prelucrarii unei anumite clase de arbori, pe cat posibil pe aceleasi masini-unelte, asigurandu-se o precizie ridicata si o productivitate superioara. Astfel, clasificarea arborilor in grupa de arbori de dimensiuni mici sau mijlocii trebuie sa permita prelucrarea lor pe masini cu mai multe cutite, pe strunguri revolver, pe semiautomate sau automate.
Prin impartirea arborilor in clase se realizeaza o simplificare a operatiilor de pregatire si o scurtare a ciclului de fabricatie, folosindu-se procese tehnologice tip.
Pe baza procesului tehnologic tip, pentru clasa de piese respectiva, tehnologii proiectanti vor putea cu usurinta sa intocmeasca procesul tehnologic pentru piesa ceruta,eliminand sau adaugand anumite operatii, faze, treceri etc., in functie de complexitatea arborelui a carei tehnologie se proiecteaza.
Precizia de prelucrare a arborilor este determinata de conditiile functionale ale acestora. Astfel, dimensiunile diametrale ale fusurilor se executa in treptele de precizie 7-8, iar in cazurile speciale in treptele 5-6 de precizie. Ovalitatea si conicitatea fusurilor trebuie sa fie cuprinse in limitele tolerantelor dimensiunilor diametrale. Bataia fusurilor pe care urmeaza sa se monteze diferite piese, in raport cu fusurile de reazem, nu trebuie sa depaseasca (5070) /mi, iar in unele cazuri mai deosebite (3050) /zm. Toleranta la lungimea treptelor este cuprinsa intre (60 150) fim. Rugozitatea suprafetelor fusurilor se Ca metode de rectificare plana se deosebesc:
2. Materialele si semifabricatele utilizate la arbori
La executarea arborilor se utilizeaza ca materiale fontele, otelurile carbon, otelurile aliate si neferoasele in functie de scopul si conditiile de rezistenta impuse acestora.
Pentru arborii de dimensiuni mici si precizie scazuta, fara solicitari mecanice mari, dar care sunt supusi in exploatare la uzare se folosesc otelurile AUT8, AUT12, sau AUT23/STAS 1350-89.
Arborii supusi la solicitari mecanice medii se executa din oteluri carbon obisnuite OL37, OL42, OL50, OL60 (STAS 500/2-80;, din oteluri carbon de calitate OLC25, OLC35 si, in special, OLC45 (STAS 880-88).
Pentru arborii cu tenacitate ridicata a miezului supusi la uzare pronuntata si la solicitari mecanice reduse se recomanda otelurile de cementare OLC15 si OLC15T iar pentru arborii supusi la solicitari mecanice mari si care lucreaza in conditii grele de uzare otelurile aliate cu nichel, crom-nichel, crom-titan, mangan, STAS 791-88, ca de exemplu 15CN15, 13CN30, 28TMC12, 21TMC12, 31CMS
Otelurile aliate se utilizeaza numai in cazurile absolut necesare impuse de conditiile de rezistenta la uzare si oboseala. Aceste oteluri scumpe se pot inlocui cu otelurile sau fontele slab aliate, ale caror proprietati mecanice se imbunatatesc prin tratamentele aplicate stratului superficial al piesei (mecanice, termice sau termochimice).
Pentru piesele de tip arbore, in functie de scop, importanta si dimensiuni, semifa- bricatele se obtin: prin turnare (in cazul arborilor de dimensiuni mari); din laminate trase la rece sau la cald (d < 150 mm); din laminate, care apoi se forjeaza pentru imbunatatirea proprietatilor fizico-mecanice; prin forjarea libera (la arborii de dimensiuni mari pentru motoare statice, navale etc.); prin matritare, in cazul productiei de serie mijlocie si mare.
Pentru arborii netezi si in trepte cu diametrul maxim pana la 150 mm si care au o diferenta de cel mult (4050) mm intre diametrele treptelor se folosesc drept semifabri- cate barele laminate.
Pentru arborii netezi si in trepte cu lungimi pana la 500 mm si diametre mai mici de 100 mm, executati in productia de serie mijlocie si mare, semifabricatele se obtin prin matritare.
in cazul arborilor mari si.grei (/ > 800 mm si <j> > 60 mm), executati in productie de serie mica sau de unicate, semifabricatele se obtin prin forjare libera, cu adaosuri mari de prelucrare.
Pentru arborii cu flanse mari si pentru arborii grei se pot folosi semifabricate din fonta de mare rezistenta cu grafit nodular sau fonta modificata, care au insa o rezistenta mai mica decat a celor din otel, d 939i85j ar au in schimb o capacitate mai mare de amortizare a solicitarilor dinamice.
Procesul de obtinere a semifabricatului este conditionat de urmatorii factori: felul si proprietatile materialului din care este executat, forma si dimensiunile piesei si volumul de productie. Indicarea metodei si procedeului de elaborare a semifabricatului este conditionata insa si de factorii economici.
Obtinerea unor semifabricate cu forme si dimensiuni apropiate de cele ale piesei finite este mai scumpa decat a semifabricatelor mai putin precise, in prima varianta, adaosul de prelucrare si costul prelucrarii mecanice sunt mici si, in plus, rezulta o economie de metal, in varianta a doua, adaosul de prelucrare va fi mai mare, deci consumul mai mare de manopera si metal.
In vederea stabilirii metodei si procedeului de obtinere a semifabricatului se face o analiza tehnico-economica a mai multor variante, in urma careia se va stabili varianta optima (care sa asigure costul minim).
3. Operatii pregatitoare pentru prelucrarea arborilor
Operatiile pregatitoare au rolul de a crea bazele tehnologice de prelucrare. Tinand seama de varietatea mare a formei si dimensiunilor arborilor, a procedeelor de obtinere a semifabricatelor, numarul si felul operatiilor pregatitoare vor fi diferite. De aceea, pentru stabilirea operatiilor pregatitoare trebuie sa se cunoasca caracteristicile semifabri- catului folosit
3.1. Debitarea semifabricatelor
Operatia de debitare a semifabricatelor se executa atunci cand semifabricatul folosit este bara laminata, calibrata sau necalibrata. Cand semifabricatul este obtinut prin forjare libera sau in matrita, la dimensiuni mai mari decat cele prescrise, operatia se numeste taiere si urmareste indepartarea capetelor ramase de la forjare sau matritare.
Operatia de debitare se poate executa pe: ferasiraie mecanice cu miscare alternativa sau circulara, ferastraie cu frictiune, foarfeca-ghilotina, strunguri special amenajate sau cu ajutorul masinilor automate sau semiautomate, in functie de programul de fabricatie, masini cu discuri abrazive sau freze disc. Debitarea se mai poate executa si prin procedee speciale, cum sunt: procedeul anodo-mecanic cu disc sau banda, cu flacara, cu jet de plasma sau laser.
Prin debitare se pierde o anumita cantitate de material, de obicei egala cu latimea sculei de debitat. Astfel, la debitarea pe ferastraul cu miscare alternativa pierderile sunt de (12,5) mm, insa productivitatea este redusa, iar la ferastraul cu miscare circulara pierderile prin debitare sunt mai mari (37) mm, pentru diametre cuprinse in limitele (80200) mm, dar productivitatea este inai ridicata.
Debitarea cu ghilotina produce strivirea materialului si inclinarea suprafetelor de capat.
Debitarea anodo-mecanica asigura prelucrarea metalelor cu duritate mare, obtinandu-se in acelasi timp si o calitate superioara a suprafetelor.
3.2. indreptarea semifabricatelor
Indreptarea semifabricatelor pentru arbori se face in vederea eliminarii deformatiilor spatiale. Aceasta deoarece marimea curburii semifabricatelor ce se prelucreaza nu trebuie sa depaseasca 1/4 din adaosul de prelucrare, indreptarea se poate face Ia cald sau la rece, in functie de materialul si dimensiunile arborilor.
Indreptarea in stare rece are o raspandire mai larga, datorita posibilitatii de a se efectua in orice atelier de prelucrari mecanice, obtinandu-se o precizie si o calitate de suprafata ridicata; operatia este insotita insa de tensiuni remanente.
In cazul semifabricatelor cu rigiditate scazuta, indreptarea se poate efectua de mai multe ori in timpul procesului tehnologic.
Indreptarea in stare rece se poate executa pe prese cu surub, cu excentric, hidraulice sau pneumatice, manuale sau automate sau pe masini-unelte speciale de indreptat (fig. 1), care efectueaza in acelasi timp si calibrarea pieselor

Masina de indreptat si calibrat (fig. 1) se compune din trei perechi de role hiperbolice, inclinate sub un unghi de (2025)°. Rolele sunt fixate pe cadrul 4, in asa fel incat, la miscarea de rotatie a cadrului, rolele sa capete miscare de rotatie in jurul axei lor. in timpul miscarii de rotatie, perechea de role l realizeaza miscarea de avans a semifabri- catului 5, iar rolele 2 si 3 efectueaza indreptarea. Prin inversarea sensului de rotatie, semifabricatul poate fi trecut de mai multe ori printre role, in vederea indreptarii. Uneori, pe langa indreptarea barelor, se poate efectua si calibrarea cu ajutorul filierei 6.
Masina poate fi utilizata pentru indreptarea si calibrarea barelor cu diametrele cuprinse in limitele (6 150) mm, asigurand o precizie la diametru de (0,30,5) mm.
3.3. Prelucrarea suprafetelor frontale si centruirea arborilor
Operatia are o importanta deosebita, deoarece suprafetele rezultate in urma acestor prelucrari constituie bazele de orientare si fixare pentru prelucrarile ulterioare.
Corectitudinea suprafetelor frontale are o mare influenta asupra preciziei de prelucrare a arborilor. Astfel, inclinarea suprafetei frontale face ca gaura de centrare sa fie deplasata sau sa capete o forma eliptica, ceea ce va atrage dupa sine o orientare si fixare necorespunzatoare.
|
M. Ci X L/V^l 11V/ J. iHtli l ^»1 J^lWi/. Pentru ridicarea preciziei si in fig. 2 se prezinta schema |
In cazul productiei in serie mica si in lipsa unor masini speciale, prelucrarea suprafetelor frontale se executa pe strunguri obisnuite, prin fixarea in raandrina, pe freze sau pe masini de alezat si frezat (cum este cazul arborilor mari si grei).

In fig. 2 se prezinta schemade lucru a unei masini pentru prelucrat suprafetele frontale si pentru executarea gaurilor de centrare ale arborilor. Semi- fabricatul / se fixeaza in dispozitivul cu prisme autocentrante 2. Se executa mai intai prelucrarea simultana a ambelor suprafete, cu ajutorul capetelor de frezat 5, dupa care semifabricatul trece in pozitia urmatoare, la care se executa operatia de prelucrare a gaurilor de centrare, cu ajutorul burghielor combinate 4. Semifabricatele corect debitate sunt supuse direct operatiei de centruire, fara prelucrarea prealabila a suprafetelor frontale.
Gaurile de centrare trebuie sa aiba nu numai o anumita dimensiune (conditionata de diametrul si greutatea arborelui care trebuie prelucrat), ci si o conicitate precisa, care sa corespunda intocmii cu conicitatea varfurilor strungului. Nerespectarea acestei conicitati (fig. 3) duce la uzarea prematura a gaurilor de centrare, precum si la aparitia erorilor de forma la prelucrarea arborelui.
>,
De asemenea, aceeasi importanta o are si coaxialitatea gaurilor de centrare. Neres - pectarea acestei conditii (fig. 4) face ca piesa sa nu se reazeme pe varfuri cu intreaga suprafata conica a gaurilor de centrare, fapt ce conduce la deteriorarea rapida atat a gau- rilor de centrare, cat si a varfurilor, ceea ce influenteaza negativ precizia de prelucrare.
Gaurile de centrare trebuie date in asa fel incat adaosul de prelucrare de pe suprafetele semifabricatului sa fie uniform distribuit. Daca adaosul de prelucrare nu este uniform, atunci, in timpul prelucrarii, apar forte de aschiere diferite, datorita adancimii de aschiere diferite ji. ca rezultat, in cazul rigiditatii scazute a strungului, se vor inregistra abateri de la forma geometrica a piesei.
Gaurile de centrare date la ambele capete ale arborelui trebuie sa aiba aceeasi adancime, in raport cu suprafetele de capat, pentru toate semifabricatele lotului respectiv.

La prelucrarea arborelor in trepte pe masini cu scule reglate la cota, adancimea si distanta dintre suprafetele de centrare au o importanta deosebita. Abaterile acestor dimensiuni conduc la erori dimensionale ale lungimilor treptelor arborilor, deoarece se schimba pozitia suprafetei de orientare, in timp ce baza de masurare pentru pozitionarea sculei ramane neschimbata. Aceste erori pot fi evitate prin utilizarea de varfuri reglabile axial.
Pentru strunjirea suprafetelor frontale ale arborilor se folosesc varfurile de centrare frezate, in cazul prelucrarii de finisare a pieselor (strunjire, rectificare), cand se lucreaza cu viteze mari de aschiere, este necesar sa se foloseasca varfurile mobile (cu rulmenti cu bile sau role), pentru a evita frecarea si griparea suprafetelor de asezare.
Dezavantajul acestor varfuri de strung este acela ca au o rigiditate mult mai redusa decat a varfurilor fixe, fapt ce influenteaza precizia si rugozitatea suprafetelor prelucrate.
Pentru antrenarea si fixarea arborilor de dimensinui mici se pot folosi dornurile cu varf striat, cu suprafata striata interioara sau inima de antrenare (fig. 5).
In mod practic, la centruirea semifabricatelor pe masinile de centniit se poate obtine o precizie de (0,30,8) mm, in functie de diametrul semifabricatului (..200) mm.
In cazul semifabricatelor forjate, datorita neregularitatilor suprafetelor exterioare si a curburii, nu se poate obtine o precizie mai mare de (l.. .3) mm. Daca centrele gaurilor se obtin prin trasare, eroarea de centmire este de (0,4l,5) mm, in functie de precizia cu care s-a efectuat operatia de trasare.
3.4. Particularitati la prelucrarea arborilor grei
Tehnologia de prelucrare a arborilor mari (arborii de motoare navale, de turbine hiadraulice, de transmisie, arborii principali ai masinilor-unelte grele etc.) prezinta o serie de particularitati fata de tehnologia de prelucrare a arborilor de dimensiuni obisnuite.
Semifabricatele pentru arborii de dimensinui mari se obtin prin forjare, mai rar din laminate. Dupa forjare, semifabricatele se supun tratamentului de normalizare si recoacere, uneori de recoacere izoterma. De cele mai multe ori, acesti arbori se executa din oteluri aliate. Ciclul tratamentului termic se stabileste in acest caz in functie de calitatea otelului. Dupa tratamentul termic, de la unul dintre capetele arborelui se taie o proba si se executa controlul calitatii materialului folosit
Prelucrarea mecanica a arborilor de dimensiuni mari este precedata de operatia de trasaj. Trasajul este necesar pentru a verifica dimensiunile semifabricatului si pentru a stabili pozitia corecta a centrelor gaurilor.
Centruirea se executa pe o masina de gaurit si alezat orizontala, cu asezarea pe prisme.
Strunjirea arborilor cu masa pana la 150 t se face pe strunguri mari cu distanta intre varfuri de (3040) m. Puterea acestor strunguri este de (l50300) kW. Aceste masini-unelte au mai multi suporti de o parte si de alta a batiului, iar lunetele mobile si cele fixe sunt prevazute cu role.
Arborii de dimensiuni mari se prelucreaza dupa principiul concentrarii prelucrarilor. Datorita dificultatilor de manipulare a arborilor, se cauta sa se execute pe aceeasi masina-unealta un numar cat mai mare de prelucrari. La arborii mari prevazuti cu alezaje axiale, succesiunea fazelor este diferita. La inceput se executa aleza) u l, apoi se introduc la cele doua capete dopuri cu gauri de centrare, folosite ca baze tehnologice pentru fixarea intre varfuri a arborelui.
De exemplu, la prelucrarea arborilor grei, pentru masinile-unelte, in afara conditiilor tehnice obisnuite, se impune conditia sa se realizeze si coaxialitatea axei alezajului conic cu axa de rotatie a arborelui. De asemenea, este necesar sa se asigure si perpendicularitatea suprafetei de capat a arborelui in raport cu axa sa de rotatie. Nerespectarea acestor conditii duce la rebutarea pieselor.
4. Tehnologia prelucrarii arborilor prin strunjire
4.1. Strunjirea arborilor netezi
Arborii netezi scurti sunt mai putin utilizati in constructia de masini. Sub forma de piese ii intalnim in productia de rulmenti cu role si ace, bolturi si pistoane, pistonase .
Spre deosebire de arborii netezi scurti, arborii netezi lungi au o pondere mai mare in constructia de masini.
Arborii netezi se clasifica, in functie de raportul dintre lungime si diametru, in arbori rigizi (l/d < 12) si arbori nerigizi sau elastici (IId > 12).
Semifabricatele pentru obtinerea acestor piese sunt, de obicei, laminate sub forma de bara trasa, calibrata sau necalibrata.
Realizarea acestor tipuri de arbori se executa pe masini-unelte de tipul strungurilor universale, automate monoax sau multiaxe, masini de rectificat etc.
in constructia de masini, arborii netezi cu ponderea cea mai mare au diametrele de (2550) mm si lungimea de (50500) mm si se executa in mod obisnuit in productie de serie mica, mijlocie si de unicat.
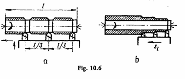
Stniiijirea de degrosare a arborilor netezi se poate executa cu unul sau mai multe cutite, in functie de lungimea arborelui si adancimea de aschiere, prin impartirea adaosului de prelucrare in lungime sau adancime, dintr-o trecere sau din mai multe treceri (fig. 6).

Ca si cazul operatiei dedegrosare, operatia de finisare se poate executa cu unul sau mai multe cutite, adaosul de prelucrare fiind distribuit in lungime sau adancime. Operatia se caracte-rizeaza prinir-un regim de aschiere mai usor, un avans mult mai mic si viteze de aschiere mari.
Aceasta operatie se poate executa pe aceeasi masina-unealta pe care s-a facut si operatia de degrosare. Pentru a realiza insa o precizie dimensionala si de forma, precum si o calitate superioara de suprafata, se recomanda ca operatia de finisare sa se execute pe masini-unelte cu precizie mai ridicata.
Arborii netezi pot fi prelucrati si prin brosare, daca volumul de productie este de serie mijlocie, mare sau de masa si justifica tehnic si economic folosirea acestui procedeu de prelucrare.
Strunjirea arborilor netezi, scurti si lungi cu mai multe cutite simultan prezinta avantaje fata de Strunjirea cu un singur cutit, datorita reducerii timpului de masina. In cazul productiei de serie mica sau de unicat a pieselor tip arbore este rational sa se foloseasca insa strungurile universale prevazute cu suporti hidraulici de prelucrat.
Printre procedeele speciale de prelucrare a arborilor netezi se pot enumera: netezirea prin rulare, alunecare si lovire; Strunjirea anodo-mecanica; prelucrarea prin electroeroziune etc.
Arborii netezi de lungimi mari nu se pot prelucra pe strunguri obisnuite, cu fixare intre varfuri, in acest caz se folosesc masini speciale, dotate cu dispozitive de ghidare. Centrarea arborilor se asigura prin intermediul a doua perechi de role hiperbolice.
Uneori, pentru prelucrarea suprafetelor cilindrice exterioare, la piesele grele, care nu pot fi antrenate in miscare de rotatie, se folosesc capete cu cutite zburatoare.
4.2. Strungirea arborilor in trepte
Prelucrarea arborilor in trepte se poate face pe strunguri paralele, strunguri si cu comanda program, masini de frezat cilindric, de rectificat, de brosat etc.
Alegerea procedeului tehnologic de prelucrare este determinata de caracterul produc{iei, dimensiunile si forma arborelui, gradul de precizie si calitatea suprafetelor. De aceste elemente depinde numarul precum si succesiunea operatiilor.
Scheme de prelucrare prin strunjire. In constructia de masini o pondere mare o au arborii cu diametre de (25.. .50)mm si lungimi intre 150 si 500 mm si rar de 1000 mm sau mai mult.
Procesul tehnologic tip pentru prelucrarea mecanica a arborilor in trepte este dat, sub forma de fisa tehnologica, in tabelul 1. Utilizand acest proces tehnologic tip, se poate proiecta procesul tehnologic detaliat (plan de operatii) pentru orice fel de arbore in trepte, adaugand sau eliminand anumite operatii fata de procesul tehnologic tip, in functie de fiecare caz concret in parte.
Procesul tehnologic tip pentru prelucrarea arborelor
|
Nr. operatiei |
Denumirea operatiei |
|
|
|
|
|
|
|
|
|
|
|
Debitarea semifabricatului (aceasta operatie se elimina daca semifabricatul este matritat, forjat sau turnat |
Presa-ghilotina pentru bare cu diametrul pana la aproximativ 60 mm Ferastru circular Masina speciala de debitat cu disc abraziv |
Ferastrau circular sau cu brat Strung Masina de frezat orizontala |
|
|
|
Prelucrarea suprafetelor de capat si centruirea (aceasta operatie se poate divide in doua operatii, functie de utilaj) |
Masina speciala de frezat si centruit cu tambur si actionare continua Masina speciala de frezat si centruit cu tambur si actionare intermediara |
Masina speciala de frezat si centruit Masina de frezat la ambele capete simultan Masina speciala de centruit |
Masina de frezat orizontala Strung universal Masina de centruit |
|
|
Strungire de degrosare la unul din capetele arborelui (toate treptele cu diametru crescator) |
Strung semiautomat cu un singur ax si mai multe cutite Strung semiautomat de copiat Strung semiautomat cu comanda dupa program |
Strung semiautomat de copiat Strung semiautomat cu comanda dupa program Strung universal |
|
|
|
Strunjire de degrosare la al doilea capat al arborelui |
Acelasi utilaj la operatia precedenta |
||
|
|
Strunjire de finisare la primul capat al arborelui |
Acelasi utilaj ca la operatia precedenda |
||
|
|
Strunjire de finisare la al doilea capat al arborelui |
Acelasi utilaj ca la operatia precedenda |
||
|
|
Frezarea canelurilor |
Semiautomat special pentru executarea canelurilor cu freza melc. |
Masina universala de frezat cu frezadisc profilata |
|
|
|
Frezarea canalelor de pana |
Masina semiautomata de frezat canale de pana |
Masina semiautomata de frezat canale de pana Masina de frezat universala |
Masina de frezat universala |
|
|
Executarea filetului |
Masina semiautomata speciala de filetat Strung prevazut cu cap de filetat dupa metoda “in vartej” |
Strung universal |
|
|
|
Tratament termic |
|
||
|
|
Sablare |
|
||
|
|
Indreptare |
Prese de diferite feluri |
||
|
|
Rectificare de degrosare la unul din capete (toate treptele cu diametrul crescator) |
Masina speciala de rectificat cu doua sau multe discuri si cu sisteme de control activ al diametrilor |
Masina de rectificat exterior (sau universala rotund) |
|
|
|
Rectificare de finisare la celelalt capat al arborelui |
Masina speciala de rectificat cu doua sau multe discuri si cu sisteme de control activ al diametrilor |
Masina de rectificat exterior (sau universala rotund) |
|
|
|
Rectificarea canelurilor |
Masina speciala de rectificat caneluri |
Masina de rectificat plan |
|
|
|
Rectifixcare de finisare la celalt capat al arborilor |
Acelasi utilaj ca la rectificarea de degrosare |
Acelasi utilaj ca la operatiile de degrosare |
|
|
|
Rectifixcare de finisare la celalt capat al arborilor |
Acelasi utilaj ca la rectificarea de degrosare |
Acelasi utilaj ca la operatiile de degrosare |
|
|
|
Rectificarea |
Masina de rectificat filetare |
||
|
|
Controlul final |
Aparate de control speciale |
Aparate si instrumente de control universale |
|
La strunjirea arborilor in trepte pe strunguri multicutite gradul de concentrare a operatiilor este ridicat, putandu-se prelucra cu maximum 10 cutite simultan.
Arborii in trepte rigizi se prelu- creaza in productia de serie mare si masa pe strunguri verticale cu mai multe axe (fig. 7).
La prelucrarea de semifinisare pe strunguri semiautomate multicutite se obtine o precizie de prelucrare corespun- zatoare treptelor 10-1, iar la prelucrarea de finisare - treptei 9. Precizia diametrelor arborelui in trepte poate fi ridicata pana la treapta 7 sau chiar a 6-a, daca prelucrarea se face cu cutite late.

Strunjirea cu mai multe cutite simultan se poate executa dupa metoda divizarii lungimii (fig. 8) sau a adaosului de prelucrare, cand semifabricatul este bara laminata
(fig. 9).
Strunjirea pe strunguri semiautomate de copiat a arborilor in trepte prezinta o serie de avantaje fata de strunjirea cu mai multe cutite simultan, si anume: timpul pentru reglarea masinii este mai mic, datorita faptului ca strunjirea se face cu un singur cutit, precum si datorita simplitatii modului de fixare a sablonului. Acest lucru face ca prelucrarea pe strunguri semiautomate de copiat sa fie avantajoasa chiar in cazul loturilor mici de piese.
Productivitatea muncii la prelucrarea pe strunguri semiautomate de copiat se mareste nu numai pe seama reducerii timpului necesar pentru reglarea masinii, ci si pe seama lucrului cu viteze de aschiere si avansuri mari, a posibilitatii mai bune de utilizarea puterii masinii.La strunjirea de finisare prin copiere se asigura o precizie de prelucrare de (0,050,06) mm, care este superioara preciziei obtinute la prelucrarea pe strunguri cu mai multe cutite

Prelucrarea pe strunguri semiautomate de copiat se recomanda, in special, in cazul executarii arborilor cu rigiditate scazuta, cu lungimi mari ale treptelor si cu precizie ridicata.
Tipurile noi de strunguri semiautomate de copiat hidraulice permit prelucrarea in trepte cu diametrul pana la 350 mm si lungimea pana la 1200 mm sau chiar 1600 mm, cum sunt, de exemplu, strungurile tip Georg Fischer.

In afara prelucrarii pe strunguri semiautomate de copiat, in productia de serie este rationala prelucrarea arborilor pe strunguri universale prevazute cu suporti idraulici de copiat. Timpul de lucru se reduce de 2,53 ori comparativ cu prelu- crarea pe strunguri obisnuite.
In productia de unicate si serie mica se utilizeaza, ca semifabricat, bara laminata
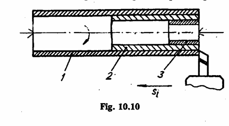
sau forjata, functie de marimea arborelui si de diferenta dintre diametrele treptelor. Prelucrarea se face pe strunguri universale, dupa metoda concentrarii operatiilor, executandu-se succesiv fiecare treapta, in acest caz, prelucrarea se incepe cu strunjirea treptei care are diametrul cel mai mare. Treapta cu diametrul cel mai mic se prelucreaza la urma, pentru a nu reduce rigiditatea arborelui (fig. 10).
• Strunjirea racordarilor, degajarilor, tesiturilor si canalelor, in fig. 11 se dau formele cele mai uzuale de racordare a arborilor in trepte. Este bine sa se prevada, in general, o raza de racordare cel putin egala cu inaltimea umarului (fig. 11, a), iar in locurile supuse unor tensiuni mari se va prevedea o raza cat mai mare cu putinta, mergandu-se pana la (r > 2/0 sau, daca este necesar, se va executa o racordare conica (fig. 11, b). De asemenea, in cazurile in care este necesara o rectificare, desi partile unui arbore au aceeasi cota nominala, se va prevedea o degajare (fig. 11, c).
Principalele forme de racordare a arborilor in trepte, in cazurile in care umerii servesc la sprijinirea unor piese ca rulmenti, roti de curea etc. sunt date in fig. 12. in aceste cazuri este necesar sa se execute o raza de racordare determinata in functie de raportul diametrelor sectiunilor si in functie de tensiunile din arbore (fig. 12, a). La diferente mici intre diametrele sectiunilor se executa o degajare, care serveste pentru rectificare, astfel incat discul abraziv sa nu strice suprafata invecinata sau sa nuo prelucreze daca nu este prevazut (fig. 12, b), in fig. 12, c se prezinta un model de degajare folosit la arbori cand este posibil sa se prevada o racordare sau o tesire.

Degajarile si canalele pe suprafetele cilindrice sau frontale la arborii in trepte suntprelucrate in scopuri tehnologice sau functionale. Formele geometrice ale degajarilor potfi, in functie de scop, drepte, profilate sau rotunde (fig. 13).Cand degajarile au un rol functional, acestea pot fi mai complexe (fig. 14).

Sculele pentru executarea degajarilor si canalelor sunt cutitele profilate si cutitele speciale (fig. 15, a si b).
Formele si dimensiunile degajarilor, canalelor, precum si razele de racordare sunt standardizate prin STAS 7446-66.
Tesirea muchiilor arborilor la 45° (in locul unei racordari) este indicata pentru simplificarea procesului tehnologic, inaltimea acestei tesituri trebuie sa fie cel putin egala cu raza de racordare.
• Strunjirea suprafetelor conice exterioare. Suprafetele conice exterioare se pot strunji pe strunguri universale, pe strunguri revolver, sau pe strunguri carusel.
Degajarile si canalele pe suprafetele cilindrice sau frontale la arborii in trepte sunt prelucrate in scopuri tehnologice sau functionale. Formele geometrice ale degajarilor pot fi, in functie de scop, drepte, profilate sau rotunde (fig. 13).Cand degajarile au un rol functional, acestea pot fi mai complexe (fig. 14).
• Strunjirea suprafetelor conice exterioare. Suprafetele conice exterioare se pot strunji pe strunguri universale, pe strunguri revolver, sau pe strunguri carusel.
Prelucarea pe strunguri se realizeaza prin urmatoarele metode: deplasarea transversala a papusii mobile, rotirea saniei portcutit, cu rigla de copiat, cu cutite tate.
Metoda deplasarii trasversale a papusii mobile se foloseste la prelucrarea suprafetelor conice lungi cu conicitatea mica, pentru ca deplasarea pe directie trasversala a papusii mobile este limita

Corpul papusii mobile (fig. 16) se deplaseaza perpendicular pe linia varfurilor strungului cu distanta h (m plan orizontal) si, datorita acestei deplasari, axa semifabrica- tului formeaza un anumit unghi cu linia varfurilor. Ca urmare, la miscarea de avans longitudinal a caruciorului, cutitul va prelucra o suprafata conica.
Deplasarea varfului papusii mobile.
![]()
unde a este unghiul de inclinare (jumatate din unghiul la varf al conului). Se observa ca:
![]()
si deci
![]()
sau
![]()
unde
marimea
se numeste conicitate conform
STAS 2285/1 - 81. Pentru toate
valorile a £ 8°, adica pentru
toate valorile conicitatii K £ l:3,5, cosa < 0,99. Prin
urmare, daca este admisa o eroare de ordinul a l %, atunci se obtine
h = (L/2)K = (L/2)(D- d)/l .
In cazul particular cand L = /, adica piesa are suprafata conica pe toata lungimea, deplasarea necesara a papusii mobile este
h= (l/2)K= (D - d) 12 .
Dezavantajul acestei metode este ca gaurile si varfurile de centrare se uzeaza neuniform, deoarece rezemarea nu se face corect pe intreaga suprafata a gaurilor de centrare. Pentru a evita uzarea neuniforma a gaurilor de centrare se pot folosi varfuri sferice. De asemenea, datorita faptului ca adancimea gaurilor de centrare nu este identica la toate piesele din lot, se va obtine o valoare variabila a conicitatii suprafetei strunjite la diferite piese ale lotului.
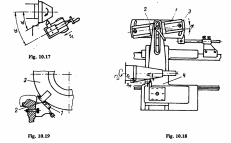
Metoda inclinarii saniei portcutit se foloseste la strunjirea suprafetelor conice precise, cu lungime mica. Lungimea conului este limitatade cursa saniei portcutit (fig. 17).
Sania portcutit este rotita in jurul axei verticale cu unghiul a. Unghiul de rotire se citeste pe scala circulara a placii rotative pe care este montata sania portcutit. Avansul saniei portcutit este manual, de aceea metoda are o productivitate mica si se foloseste la productia de serie mica si individuala.
Metoda utilizarii riglei de copiat se foloseste la prelucrarea suprafetelor conice cu inclinare mica si lungime mare (fig. 18). Rigla l se fixeaza la inclinarea necesara pe placa 3, atasata la batiu. Pe rigla sau liniai se deplaseaza patina 2, solidarizata printr-un brat cu sania transversala 4. Avansul transversal este decuplat. La deplasarea longitudinala cu avans automat a copiat sa se deplaseze simultan si in directie transversala, obtinandu-se suprafata conica.

Metoda strunjirii cu cutite late se foloseste pentru suprafete conice cu lungimea generatoarei pana la (50 70) mm. Cutitul se fixeaza cu taisul paralel cu generatoarea conului si strunjirea se face numai cu avans transversal.
Prelucrarea suprafetelor conice exterioare pe strunguri revolver se poate face cu cutite late cu tais inclinat in cazul unor suprafete scurte sau cu dispozitiv de copiere pentru suprafete cu lungime mare. in fig. 19 se prezinta schema unui dispozitiv pentru strunjirea conica prin copiere pe strung cu disc revolver. Pe peretele din spate al batiului se fixeaza rigla de copiat 7, care este urmarita de un surub, 2, solidarizat printr-un suport:cu discul revolver 3, in timpul deplasarii longitudinale cu avans automat a capului revolver, surubul 2 obliga discul portscula sa se roteasca, astfel incat cutitul se va ndeparta de axa piesei care se prelucreaza, realizand suprafata conica, in timpul strunjirii, iurubul de copiere este apasat pe rigla de copiat manual, de la roata de mana pentru rotirea liscului portscula.
Pentru strungurile cu turela-revolver strunjirea suprafetelor conice se face, dea semenea, cu dispozitive cu rigla de copiat. Pe acelasi principiu de lucru se realizeaza si strunjirea suprafetelor profilate pe strunguri revolver, sablonul avand profilul necesar.
Strunjirea suprafetelor conice pe strunguri carusel se poate realiza prin inclinarea saniei portcutit verticala, cu un unghi egal cu jumatate din unghiul la varf al conului. Pentru suprafete conice scurte cu lungimea generatoarei pana la 70 mm se pot folosi cutite late cu taisul paralel cu generatoarea conului.
Suprafetele conice se pot, de asemenea, strunji pe strungul carusel cu ajutorul unor dispozitive de copiat. Daca prin inclinarea suportului portcutit se pot obtine conicitati
2 a < 90°, cu dispozitivele de copiat se pot obtine conicitati 2 a > 120°.
5. Tehnologia prelucrarii arborilor prin frezare
Prelucrarea arborilor in trepte se poate realiza si prin frezare. in acest caz piesa executa miscarea de rotatie in jurul axei sale (si uneori o miscare de avans axial), iar scula de frezat executa atat miscarea de rotatie corespunzatoare vitezei economice de aschiere, cat si o miscare de avans transversal sau longitudinal

Operatia de frezare se poate executa pe strunguri orizontale, verticale, revolver sau pe masini-unelte speciale, in functie de volumul de productie, de precezia dimensionala si de forma, de material etc.
Sculele folosite la executarea operatiei de frezare pot fi: freze-disc, cilindro-frontale, capete de frezat etc.
Alegerea frezelor se face in functie de felul suprafetelor de prelucrat,
Dupa forma arborelui si metoda de aschiere, frezarea poate fi: cilindrica, frontala si combinata.
Frezarea arborelor in trepte se poate executa in sensul avansului sau contra avansului (fig. 20), ultimul procedeu asigurand o precizie mai buna, insa avansul pe dinte trebuie sa fie mic. La prelucrarea de degrosare se folosesc freze cu diametrul mic, cu dinti mari si rari, care sa permita aschierea cu avans pe dinte mare si adancime de aschiere mare. in cazul prelucrarii de p re finisare si finisare se utilizeaza freze cu diametrul mare, cu dinti multi si mici.
Pentru prelucrarea materialelor cu duritate mare se utilizeaza freze cu dinti mici si desi, iar pentru materialele cu duritate mica se folosesc freze cu dinti mari si rari.
Statabilirea regimului optim de aschiere se face tinand seama de procedeul de frezare, de masina-unealta, de dimensiunile, tipul si constructia frezei, de diametrul arborelui, de marimea adaosului de prelucrare, de calitatea suprafetei de obtinut.
Pentru determinarea regimului de aschiere prin frezare sunt necesare urmatoarele date: desenul de executie al arborelui, desenul semifabricatului, date despre masina-unealta si volumul de productie al arborelui. Cunoscandu-se aceste date, se stabileste mai intai adancimea de aschiere, apoi dimensiunile si tipul frezei. Apoi se stabileste avansul pe diate sd si avansul pe minut sm. Marimea avansului pe dinte este determinata in functie de rigidi- tatea masinii-unelte. Pentru frezarca arborilor care se executa din materiale cu duritate mare, cu freze din otel de scuie sau otel rapid, se aleg avansuri de (0,030,08) mm/dinte iar pentru materiale moi de (0,60,1) mm/dinte. Valorile minime se aleg pentru freze cu diametre mari.
La preiucarea cu freze, cu placute din carburi nicialice avansul pe dinte creste cu 40%. Precizia de prelucrare ce se poate obtine la frezare este de (0,010,05) nmi/l100 mm. La prelucrarea cu joc (grup) de freze, precizia de prelucrare este de (0,050,3) mm/1000 mm.
Productivitatea muncii la prelucrarea prin frezare creste comparativ cu strunjirea, in special in cazul prelucrarii arborilor mari turnati, forjati sau matritati, ca urmare a cresterii durabilitatii sculelor aschietoare si a prelucrarii cu viteze de aschiere mari. In acest scop por fi uitilizate strungurile cu turatii joase sau strungurile carusel, care pot fi transformate, fara investitii mari, pentru prelucrarea prin frezare, prin adaptarea unor capete de frezat, iri cazul volumului mare de arbori, prelucrarea se face pe masini speciale de frezat.
Frezarea arborilor in trepte se poate efectua prin urmatoarele metode: frezarea cu capete de frezat tubulare; frezarea cu freze cilindrice, frezarea cu capete de frezat frontale.

Dupa prima metoda se frezeaza, de obicei, arborii scurti (fig. 21). Capetele de frezat tabulare pot fi executate din otel rapid sau cu dinti dcroontabiii, cu placute din carburi metalice.
In cazul prelucrarii cu freze cilindrice, arborele se fixeaza in pozitie verticala cu un capat in universal si cu celalalt capat in varful strungului. Frezele cu care se face prelucrarea se fixeaza pe doua axe diametral opuse, avand aceleasi sensuri de rotatie (fig. 22). Dupa cum se observa din figura, jocul de freze de pe ambele axe este identic. Acest lucru permite ca prelucrarea arborelui sa fie terminata dupa o rotatie a acestuia cu 180°, Pentru a efectua prelucrarea pe intreaga suprafata a arborelui se recomanda sa se
imprime acestuia o rotatie cu 5° mai mult, adica pe 185°. Daca jocul de freze de pe cele doua axe nu este identic, atunci prelucrarea arborelui se face dupa o rotatie de 370°.
La formarea jocurilor de freze de pe cele doua axe, in cazul reprezentat in fig. 23, trebuie sa se aiba in vedere ca incarcarea celor doua axe portfreze sa fie egala (forte de aschiere egale), pentru a evita deformatia arborelui in timpul prelucrarii. Productivitatea muncii la aceste metode de prelucrare este foarte mare. Precizia de prelucrare ce se poate obtine este de 0,1 mm. Timpul de reglare a masinii-unelte pentru frezarea unui arbore in trepte de complexitate medie este de aproximativ (6080) min.

Frezarea cu capete de frezat frontale (fig. 24) se deosebeste de primele doua variante prin aceea ca scula cu care se face prelucrarea este mai simpla. Aschierea se desfasoara mai linistit, datorita contactului permanent ce se asigura intre scula si suprafata ce se prelucreaza.
6. Tehnologia prelucrarii arborilor prin brosare
Prelucrarea prin brosare este o metoda foarte productiva care asigura, in acelasi
timp, obtinerea unei precizii si unei .calitati a suprafetei prelucrate ridicate (Ra /*m).
in afara de aceasta, prelucrarea prin brosare se poate executa intr-un ciclu semiautomat, ceea ce permite folosirea muncitorilor cu un grad de calificare mai scazut.
In ultimul timp prelucrarea prin brosare s-a extins si asupra suprafetelor exterioare
de revolutie. La
prelucrarea prin brosare a arborilor, adaosul de prelucrare se indeparteaza
succesiv de numarul mare
de munchii aschietoare ale brosei.
Brosarea arborilor netezi si in trepte se poate executa cu brose plane (fig. 25), cu brose circulare exterioare (fig. 26, a) si cu brose circulare interioare (fig. 26, b). in fig. 27 se prezinta o brosare cu miscare planetara a piesei.
Dupa miscarile de lucru, brosarea poate fi libera, cand brosa are o miscare rectilinie sau circulara (dupa felul brosei) iar piesa o miscare de rotatie (care da viteza de

aschiere) sau forjata, cand piesa are o miscare de rotatie lenta in jurul centrului sectorului circular care se prelucreaza (fig, 28). La brosarea fortata dintii brosei nu au suprainal- tare. Brosarea libera se executa cu viteze mari de rotatie a piesei si cu avansuri mici ale brosei, iar brosarea fortata cu viteze mici de rotatie a piesei si avansuri mari ale brosei.

La brosarea suprafetelor cilindrice cu brosa circulara cu cutite la exterior, grosimea aschiei va varia de-a lungul arcului MN (fig. 29), corespunzator variatiei continue a razei semifabricatului rv , care se poate exprima ca o functie:
Deci, variatia razei ry va da tocmai variatia grosimii aschiei, care depinde direct de viteza de deplasare a sculei. Deci, avansul radial sr este in functie de avansul circular sc.
Pentru a se asigura conditii normale de desfasurare a procesului de aschiere la care se obtine forma corespunzatoare a piesei care se prelucreaza este necesar ca turatia piesei np sa fie mai mare ca turatia brosei np > nb , Astfel, din cele doua miscari relative luate in acest caz, la periferia piesei se va genera o hipocicioida in triunghiul OMOl (fig. 29) rezulta valoarea razei rv :
,
sau
;
,
in care: A este distanta dintre centrul brosei si centrul piesei, mm; R - raza de la centrul brosei pana la muchia aschietoare a dintelui, mm; fi - unghiul format intre A si-/?, in momentul primului contact intre dinte si piesa; rv - raza variabila a piesei, mm; /y - raza finala a piesei prelucrate, mm.
Asa dupa cum se observa, relatia (10) reprezinta legea de miscare a fiecarui punct de pe muchia aschietoare si este tocmai ecuatia hipocicloidei.
Derivand relatia (10) in raport cu timpul, se obtine
Tinand seama de relatia (10), se obtine
![]()
adica
![]()
Din relatia (12) se trage concluzia ca grosimea aschiei pe dinte este variabila,
dupa o sinusoida, iar marimea ei depinde direct de valoare variabila a unghiului b, adica de rotirea sculei.

La inceputul prelucrarii, se poate observa (v. fig. 29) ca unghiul b are valoarea maxima in M, apoi ajunge egal cu zero in punctul N, cand procesul de ashiere pentru un dintre se termina, iar grosimea aschiei ajunge sa fie zero. Aceasta are o influenta deosebit de mare asupra imbunatatirii preciziei de preciziei de prelucrare a pieselor.
In
urma brosarii exterioare a arborilor apar abateri de forma, cauzate de insusi cauzate de insusi procesul de
prelucrare. Astfel, in cazul brosarii libere abaterea
de la forma circulara a sectiunii piesei
(fig. 30) se poate determina cu relatia
[mm]
in care:Sc este avansul circular al brosei la o rotatie a piesei, in mm/rot; - raza suprafetei brosate, in mm.
Valoarea avansului sc in comparatie cu 2 ir r (de la numitor) este foarte mica, de aceea se poate neglija, in acest caz
[mm].
Se observa ca micsorarea erorii de forma la prelucrarea prin brosare libera se
poate obtine prin marirea diametrului piesei de prelucrat sau prin folosirea unei brose cu dinti de calibrara si prin micsorarea avansului brosei.
In cazul brosarii fortate, marirea erorii de forma A (fig. 31) se poate determina cu relatia:
![]()
![]()
in care Pb este pasul dintilor brosei si S0 – avansul circular al piesei, conform fig. 28.
7. Tehnologia prelucrarii arborilor prin rectificare
•v
Rectificarea este operatia de finisare a suprafetelor care se executa cu ajutorul discurilor abrazive. Procesul de aschiere la rectificare este conditionat de natura abrazivului folosit si de regimul de aschiere. Alegerea pietrei abrazive se face, in general, tinandu-se seama de felul operatiei (de degrosare, de finisare, rectificare exterioara, interioara, plana etc.), calitatea materialului ce se prelucreaza (otel calit sau necalit, fonta etc.), granulatia pietrei, liantul folosit si duritatea acesteia.
7.1. Alegerea si utilizarea discurilor abrazive
La alegerea discului abraziv trebuie ca parametrii acestuia si conditiile de aschiere sa se interconditioneze, astfel incat discul abraziv sa se autoascuta (adica granulele abrazive uzate sa se desprinda sub actiunea fortelor de aschiere).
a.Alegerea naturii materialului abraziv. Materialele abrazive pot fi naturale sau artificiale. Principalele materiale abrazive naturale sunt: cuartul (SiO2), corindonul (Al2O3) si
smirghelul (amestec de corindon, cuart si diferiti silicati). Aceste materiale se folosesc in mai mica masura la confectionarea pietrelor abrazive, deoarece nu se gasesc in stare pura decat in cantitati mici. Cel mai frecvent se folosesc materialele abrazive artificiale ca: electrocorindonul, carborundul si carbura de bor.
Electrocorindonul se utilizeaza la prelucrarea materialelor cu rezistenta mare la rupere, cum ar fi, de exemplu, otelurile calite si necalite.
Carborundul se recomanda la prelucrarea'materialelor dure si casante, ca fonta, carburile metalice, bronzul etc., la prelucrarea unor materiale foarte moi, ca aluminiul, cuprul etc., si la prelucrarea materialelor nemetalice, ca marmura, portelanul, sticla, masele plastice etc.
Carbura de bor are duritate foarte mare si de aceea se foloseste la netezirea placutelor din carburi metalice.
b.Alegerea liantului. Liantii sunt materialele care asigura coeziunea granulelor abrazive. Cel mai utilizat este liantul ceramic (circa 70% din totalul pietrelor abrazive). Acesta se caracterizeaza prin stabilitate la temperaturi ridicate, rezistenta mecanica buna si rezistenta la umiditate. Utilizarea discurilor cu liant ceramic este limitata insa de fragilitatea acestora. Viteza periferica maxima admisibila a discurilor cu liant ceramic este de (30 35) m/s.
Liantul pe baza de magneziu are o utilizare limitata (rezistenta relativ redusa, sensibilitate Ia umiditate), fiind folosit pentru prelucrarea materialelor moi (Al, Zn).
Liantul pe baza de bachelita este rezistent, elastic, dar se distruge sub actiunea lichidelor de aschiere alcaline; se utilizeaza la finisare. Permite executarea discurilor cu grosime mica (pana la l mm - pentru debitare) si cresterea vitezei de aschiere pana la 60 m/s.
Liantul pe baza de cauciuc este compact si are elasticitate mare; se utilizeaza Ja lustruire, netezire, taiere; se pot confectiona discuri subtiri (0,5 mm) si de diametru relativ mare (125 150 mm); este rezistent la umiditate insa se imbacseste repede.
c..Alegerea granulafiei. Materialele abrazive se clasifica in functie de marimea granulelor in trei grupe (STAS 1753/1-90 si 1753/2-90): granule, (2000160) /im; pulberi (l6040) ^m; micropulberi, (403) fim.
Grupa granulelor cuprinde douasprezece sorturi de granulatii, notate 200, 150, 125, 100, 80, 63, 50, 40, 32, 25, 20, 16, numerele respective reprezentand dimensiunile minime ale granulelor in sutimi de milimetru.
Grupa pulberi cuprinde sase sorturi de granulatii, notate 12, 10, 8, 7, 5, 4, numerele avand aceeasi semnificatie ca si la granule.
Grupa micropulberi cuprinde sapte sorturi de granulatii, notate cu M40, M28, M20, M14, M10, M7, M5, numarul care urmeaza dupa M reprezentand dimensiunea maxima a micropulberii, exprimata in fim (respectiv marimea deschiderii libere a ochiului sitei, in micrometri, care retine pulberea).
d..Alegerea duritatii. Duritatea corpului abraziv si rezistenta cuplului abraziv- liant la tendinta de desprindere a granulelor abrazive de pe suprafata discului, sub influenta fortelor ce apar in timpul lucrului, sunt date in STAS 1469-83. Se observa ca duritatea apare ca un factor functional, care depinde de cantitatea si calitatea liantului, forma si microgeometria granulelor, regimul de aschiere, materialul prelucrat, felul rectificarii s. a.
Corpurile abrazive sunt impartite in cinci grupe de duritate: foarte moale EFG, moale HIJK, mijlocie LMNO, tare PQRS, foarte tare TU V.
e..Structura corpului abraziv. Raportul cantitativ dintre volumul porilor si volumul total al pietrei da structura discului abraziv. Marimea porilor usureaza evacuarea caldurii. Pietrele abrazive cu porozitate mare detaseaza aschiile mai usor, in schimb au o rezistenta mai mica la solicitarile mecanice si viteze periferice mai mici.
7.2. Rectificarea suprafetelor cilindrice exterioare
Rectificarea pieselor tip arbore se poate face intre varfuri dupa una din metodele prezentate in cele ce urmeaza.
Rectificarea cu avans
longitudinal. Aceasta metoda
este cea mai raspandita. Dupa cum se vede din fig. 32, miscarea de avans
longitudinal poate fi facuta de catre arbore, in fata discului de rectificat,
fie de catre discul de rectificat in lungul arborelui. Avansul transversal
pentru realizarea adancimii de aschiere il face discul de rectificat, la fiecare sfarsit de cusa dubla ) mm. Metoda este avantajoasa pentru
rectificarea arborilor
netezi, intrucat timpul necesar pentru reglarea limitatoarelor de cursa fiecare sfarsit de cursa dubla
(0,0050,05) mm. Metoda este avantajoasa pentru
(pentru inversarea
sensului de avans) este foarte mic in comparatie cu timpul de masina.
La rectificarea
arborilor in trepte, in productia de serie mare si masa, timpul
necesar pentru reglarea
opritoarelor este foarte mare, in special atunci cand adancimea
gaurilor de centrare
este variabila.
• Rectificarea cu avans longitudinal si adancime mare. Discul de rectificat se
regleaza la dimensiune,
la diametrul nominal al arborelui si, dintr-o singura trecere in
lungul axei, se
indeparteaza intregul adaos de prelucrare. Avansul longitudinal este manual
si intermitent; la
fiecare doua rotatii ale arborelui se avanseaza cu 5 10 mm. Dupa reali-
zarea avansului
longitudinal, masa masinii de rectificat se readuce in pozitia initiala, iar
pentru rectificarea
arborelui urmator se da saniei portdisc o miscare de avans transversal
pentru a compensa uzura
radiala a discului, rezultata de la prelucrarea anterioara.
in cazul prelucrarii
dupa aceasta metoda, partea stanga a discului de rectificat se
uzeaza foarte mult,
intrucat aproape intregul adaos de prelucrare este indepartat de granu-
lele abrazive de pe aceasta parte a discului. Pentru a asigura conditii mai
bune de aschiere,
astfel incat la
indepartarea adaosului de prelucrare sa participe un numar cat mai mare de
granule abrazive,
discul se teseste cu o panta de 1:20 pe o lungime de 6 12 mm (fig. 33).

Rectificarea cu avans transversal. La rectificarea dupa aceasta metoda discul de rectificat trebuie sa fie cu (35) mm mai mare decat lungimea suprafetei de rectificat (fig. 34). Pentru obtinerea diametrului prescris al arborelui, se imprima un avans trans- versal discului de rectificat, manual sau automat, pana la dimensiunea respectiva. Metoda este indicata la rectificarea pieselor scurte, executate in productie de serie mare si masa, deoarece este mai productiva cu 30-40% decat celelalte metode de rectificare intre varfuri.
Rectificarea cu avans transversal pe segmente si cu avans longitudinal. La rectificarea arborilor netezi dupa aceasta metoda, timpul de masina se reduce la jumatate in comparatie cu rectificarea cu avans longitudinal. Se realizeaza in urmatoarea succesiune:
rectificarea de degrosare cu avans transversal pe segmente ce se suprapun pe o lungime de (35) mm (fig. 35);
- rectificarea de finisare cu avans longitudinal automat, pentru care a fost prevazut un adaos de prelucrare de 0,02 mm, adaos care se indeparteaza prin 2 - 3 treceri longitudinale.
7.3. Rectificarea suprafetelor conice
Rectificare suprafetelor conice se poate realiza prin mai multe metode:
• rectificarea cu ajutorul discurilor tronconice se aplica in cazul suprafetelor de lungime mica si se poate lucra cu avans transversal st sau longitudinal S (fig. 36, a);
rectificarea prin inclinarea mesei superioare se aplica in cazul pieselor lungi avand conicitatea mica, de maxim 10° (fig. 36, b);
rectificarea prin rotirea papusii portpiesa se aplica in cazul pieselor scurte si de conicitate mare (fig. 36, c);
rectificarea prin rotirea papusii portpiatra se aplica in cazul pieselor de lungime relativ mare si conicitate mare, prinse intre varfuri (fig. 36, d).
7.4. Rectificarea exterioara fara centre
Arborii in trepte scurti si cei netezi se rectifica pe masina de rectificat fara centre, cu rezultate foarte bune, in special, in cazul productiei de serie mare si de masa. Pentru arborii netezi lungi si foarte lungi, rectificarea fara centre reprezinta singura metoda posibila de aplicat.
Rectificarea fara centre a arborilor se poate executa in doua moduri:
Cu un singur disc abraziv 2 (fig. 37), arborele l care se rectifica, sprijinit pe doi suporti metalici 3, avand miscarea de rotatie si de avans. Procedeul este folosit rar, fiind neeconomic.
Cu doua discuri abrazive (fig. 38), dintre care discul l este de rectificat, iar 2 de antrenare. Ambele discuri se rotesc in acelasi sens, insa cu turatii diferite. Discul de rectificat are o viteza periferica egala cu a celor de la masinile de rectificat intre varfuri, adica 25 30 m/s. Discul de antrenare are o viteza periferica mult mai mica, 0,3 m/s (18 m/min), si este inclinat fata de discul de rectificat cu un unghi a (fig. 38, c). Pentru a mari frecarea dintre piesa si discul conducator, acesta se executa cu un liant de vulcanita. Piesa 3, sprijinita pe linealul 4, este antrenata de discul conducator, care are un coeficient de frecare mai mare decat a discului de rectificat, cu o viieza periferica data de relatia
in care:
este viteza periferica
a arborelui, m/min;
- viteza discului de
antrenare, m/min; K - coeficientul care tine seama de alunecarea care are loc
intre discul de antrenare si piesa (valoarea lui este data in functie de
unghiul a al axei de rotatie a discului
de antrenare: pentru a = 1,5°, K =0,97; pentru a = 3°, K =0,95; pentru a = 5°,
K = 0,93, iar pentru a = 6°, K = 0,92).

Rectificarea fara centre se poate efectua cu avans longitudinal s{ (fig. 38) sau cu avans transversal st (fig. 39).
Rectificarea cu avans longitudinal se recomanda, in special, la prelucrarea arborilor netezi. Rectificarea arborilor in trepte sau a pieselor conice se face cu intreruperea avansului longitudinal de catre un opritor fix.
Avansul longitudinal al arborelui intre cele doua discuri abrazive se asigura
datorita inclinarii discului de antrenare cu un unghi a, care creeaza o componenta suplimentara a fortei de frecare indreptata in lungul axei de rotatie a arborelui. Viteza de avans longitudinal se determina cu relatia
![]()
Marimea unghiului a depinde atat de natura materialului care se prelucreaza, cat si de lungimea arborelui de rectificat. Valoarea unghiului a este cuprinsa intre 1,5° si 6°. La arborii scurti, din otel, se recomanda un unghi a de l ,5° 2,5°, iar la cei lungi pana la 3,5°.
La arborii din fonta, unghiul a poate ajunge pana la 4,5°, deoarece alunecarea este mai mare.
Rectificarea cu avans transversal este procedeul care permite prelucrarea arborilor in trepte si profilati.
La rectificarea cu avans transversal cele doua discuri abrazive au axele de rotatie paralele sau au o inclinare redusa de 0,5° 1°. Avansul se realizeaza prin deplasarea transversala a discului de antrenare pana la opritor, piesa asezandu-se pe linealul de sustinere. Dupa rectificare, discul de antrenare se retrage in pozitia initiala, iar piesa se indeparteaza, de asemenea, manual sau automat.
Valoarea avansului se ia in functie de precizia de prelucrare, de calitatea suprafetei impusa arborelui, fiind cuprinsa intre limitele de (0,0030,02) mm/rot.
La rectificarea fara centre se poate obtine o precizie de prelucrare la diametru de 0,005 mm si de (0,0020,003) mm la forma geometrica (dupa un numar de 6-7 treceri ale piesei printre discurile abrazive).
In cazul rectificarii fara centre se va avea in vedere ca centrul arborelui sa nu fie pe axa celor doua discuri abrazive (fig. 38, a si b) , deoarece favorizeaza aparitia erorilor de forma (poligonalitatea). Distanta h, care reprezinta deplasarea liniei centrelor discurilor abrazive in raport cu centrul piesei, nu trebuie sa aiba mai mult de 20 mm, obisnuit (.. 15) mm, peste linia centrelor discurilor abrazive, in cazul rectificarii arborilor cu diametrul mai mare de 15 mm, sau circa (23) mm sub linia centrelor, cazul prelucrarii arborilor cu diametrul mai mic de 15 mm.
De asemenea, valoarea optima a unghiului /} (unghiul de inclinare al linealului de reazem) este de circa 30°.
Rectificarea fara centre ofera o serie de avantaje fata de rectificarea intre varfuri, dintre care cele mai importante sunt:
- elimina din procesul tehnologic de prelucrare a arborelui operatia de centruire, realizandu-se economie de timp pe bucata;
- elimina erorile de centrare, dand posibilitatea folosirii unui adaos mic de prelucrare, care ajunge, in unele cazuri, pana la (0,020,03) mm, ceea ce conduce in afara de economia de metal, la ridicarea productivitatii si a preciziei de prelucrare;
- da posibilitatea automatizarii complete a intregului ciclu de lucru al masinii;
posibilitatea rectificarii axelor lungi si subtiri care la prelucrarea pe masini de rectificat intre varfuri, necesita utilizarea lunetelor si a regimurilor de aschiere neproductive.
Rectificarea fara centre prezinta si unele dezavantaje, si anume:
- necesita un timp de reglare mai mare decat in cazul rectificarii intre varfuri; aceasta impiedica aplicarea procedeului in cazul productiei individuale si de serie mica de piese;
- nu asigura concentricitatea suprafetelor interioare cu cele exterioare care se rectifica; la rectificarea arborilor in trepte nu se poate realiza dispunerea suprafetelor tuturor treptelor pe aceeasi axa de simetrie decat daca se utilizeaza dispozitive speciale, fapt ce scumpeste operatia de rectificat.
8. Tehnologia netezirii arborilor
Prelucrarea de netezire asigura, indeosebi, imbunatatirea calitatii (rugozitatea) suprafetelor, cu respectarea dimensiunilor indicate in desen, precum si a conditiilor tehnice.
In unele cazuri se obtine, in afara imbunatatirii calitatii suprafetei prelucrate, si o marime a preciziei dimensionale. Cele mai utilizate metode de netezire a suprafetelor cilindrice exterioare sunt: strunjirea de netezire, severuirea, rectificarea de netezire, honu-irea, rodarea, lepuirea, lustruirea, vibronetezirea (superfinisarea), netezirea insotita de durificarea prin lovire, rulare, alunecare, vibroapasare s.a.
8.1. Strunjirea de netezire
Acest procedeu de netezire a suprafetelor se caracterizeaza prin viteze de aschiere foarte mari, adancimi de aschiere mici si avansuri reduse, utilizandu-se in acest scop cutite cu placute din carburi metalice (P10 , P01, pentru prelucrarea otelului si K01, pentru fonta sau cu varf de diamant. Cutitele cu varf de diamant se utilizeaza pentru strunjirea aliajelor de aluminiu, de magneziu, de siliciu etc., care nu pot fi prelucrate prin rectificare, intrucat imbacsesc discul abraziv.
Precizia dimensionala ce se obtine prin stunjirea de netezire este IT6 IT4 , iar
rugozitatea suprafetei Ra = (0,2l,6) mm.
Strunjirea de netezire se realizeaza cu urmatorul regim de aschiere:
viteza de aschiere v = (l80300) m/min, pentru cutite cu placute din carburi metalice si v = (20003000) m/min, pentru cutite cu varf de diamant;
- adancimea de aschiere t = (0,050,3) mm;
- avansul s = 0,030,l mm/rot.
Adaosul de prelucrare prevazut pentru aceasta operatie este de (0,050,3) mm.
8.2. Severuirea suprafetelor cilindrice si conice
Netezirea prin severuire se aplica in cazul productiei de serie mare si de masa a arborilor netezi si in trepte (fig. 40), dupa strunjirea de finisare, inlocuind operatia de rectificare.
Acest procedeu este mult mai productiv decat rectificarea, dar se poate aplica
numai in cazul arborilor netratati termic, avand duritatea HRC < 38 daN/mm .
Severuirea asigura o precizie de prelucrare de (0,002 0,05) mm si o rugozitate
a suprafetei Ra = (0,20,8) mm.
Regimul de aschiere folosit se aseamana cu cel de la rectificare, adica scula aschietoare are o viteza periferica mai mare, iar piesa se roteste cu o viteza mai mica.

Adaosul de prelucrare prevazut pentru aceasta operatie este de circa 0,25 mm si se indeparteaza dintr-o singura trecere.
Prelucrarea se realizeaza cu racire abundenta. Pentru severuire sunt necesare masini-unelte si scule speciale, scula aschietoare avand insa durabilitatea mai mare.
8.3. Rectificarea de netezire (rectificarea rapida)
Procedeul se deosebeste de rectificarea obisnuita prin regimul de aschiere folosit,
cu scopul de a realiza o rugozitate foarte buna a suprafetelor prelucrate, Ra = (0,20,l) mm, si o precizie dimensionala corespunzatoare IT5, IT4.
Viteza periferica a discului de rectificat este de (50.. .60) m/s, iar viteza periferica a piesei care se prelucreaza este de (4050) m/min, adica de l,5.,.2 ori mai mare decat la rectificarea obisnuita, in cazul pieselor grele, viteza periferica este de (1525) m/min.
La rectificarea de netezire cu avans longitudinal se recomanda sa se lucreze cu un l avans de (l2) mm/rot si cu adancimea de aschiere de (0,003.. .0,006) mm, la o cursa dubla.
Aplicarea acestei metode necesita insa o serie de masuri privind constructia si rigiditatea masini i-unei te, si anume:
- la masinile existente de rectificat exterior cilindric, pentru rectificarea rapida, se va mari puterea motorului electric, pentru antrenarea discului de rectificat, in medie cu 50%;
- se va asigura o ungere cat mai buna a lagarului arborelui principal al masinii de rectificat (arborele portdisc);
- pentru a asigura protectia muncitorului , in cazul spargerii discului abraziv, va trebui imbunatatita constructia carcasei discului de rectificat;
se va mari debitul lichidului de racire si ungere de aproximativ 2 ori, in comparatie cu cel care se consuma la rectificarea obisnuita.
Rectificarea de netezire se realizeaza cu consum mare de timp, de aceea aplicarea procedeului poate fi considerata rationala cand, din lipsa de utilaje, nu se poate aplica o alta metoda mai productiva.
8.4. Honuirea exterioara
Honuirea exterioara se executa cu un dispozitiv special (cap de honuit sau hon), pe care sunt fixate un numar de (4-6-8) bare abrazive cu granulatie fina (fig. 41). Barele abrazive pot fi din electrocorund (pentru prelucrarea pieselor din otel, alama, bronz, aluminiu, materiale sintetice etc.), carbura de siliciu (pentru fonta) sau diamant (pentru cazuri speciale) si sunt montate extensibil in capul de honuit, asigurand o presiune de (..15) daN/cm2, la prelucrarea prealabila a pieselor din otel calit si de (28) daN/cm2, pentru piesele din otel necalit; la finisare presiunea este mai mica.
Granulatia barelor abrazive pentru honuirea prealabila a suprafetelor este intre 16 si 4, iar pentru finisare intre M28 si M7, folosindu-se liant ceramic sau de bachelita cu duritatea KP (cu cat materialul prelucrat este mai dur, eu atat se alege un grad de duritate mai mic pentru discul abraziv).

Miscarile de lucru la honuire sunt:
- miscarea de rotatie a piesei cu viteza vr = (10 ..35) m/min;
miscarea
de translatie alternativa a capului de honuit cu
viteza de deplasare axiala a dispozitivului este ![]()
Miscarile de lucru fiind combinate, traiectoriile granulelor abrazive pe suprafata care se prelucreaza au forma unor linii elicoidale, care se intretaie formand o retea de hasuri, caracteristica pentru acest procedeu.
Adaosul de prelucrare pentru aceasta operatie este de (0,020,2) mm.
rugozitatea Ra = (0,050,5) mm.
Productivitatea procedeului este mare in comparatie cu strunjirea sau rectificarea, datorita suprafetei de contact mare dintre barele abrazive si suprafata de prelucrat.
Prelucrarea se realizeaza cu ungere abundenta, utilizand 90% petrol si 10% ulei, in cazul prelucrarii otelului si numai petrol, in cazul prelucrarii fontelor.
Operatia premergatoare honuirii poate fi strunjirea de finisare sau brosarea.
8.5. Lepuirea
Lepuirea este operatia de netezire executata cu granule sau pulberi abrazive in suspensie, introduse intre suprafata de prelucrat si dispozitivul de lepuit, care executa miscarea principala, semifabricatul efectuand miscarile de avans.
Caracteristica acestui proces aschietbr o constituie constructia sculei folosite pentru prelucrare - dispozitivul de lepuit. Aceste dispozitive se executa din fonta, bronz, plumb, compozitie de lagare, lemn etc., avand forma semifabricatului de prelucrat.
Granulele sau pulberea abraziva se imprima pe suprafata dispozitivului, fie in prealabil (cu ajutorul unor placi sau bare de otel). In unele cazuri, materialul abraziv se depune pe suprafata activa a dispozitivului de lepuit sub forma de pasta, la care liantul este o substanta activa din punct de vedere chimic, avand diferite compozitii (ceara si parafina, amestec de seu si petrol lampant etc.). Procesul de lepuire este intensificat in acest caz de substanta activa din punct de vedere chimic, care formeaza o pelicula de metal oxidat, ce se indeparteaza sub actiunea granulelor abrazive.

In fig. 42 s-a reprezentat schematic un dispozitiv de lepuit piese - de tipul bucselor. Semifabricatele l sunt introduse intre discurile excentrice 2 si 3, care se rotesc in sens invers, cu turatii diferite. Semifabricatele sunt introduse intre tijele separatorului 4, care se rotesc liber in jurul arborelui 5. Discurile 2 si 3 imprima o miscare de rotatie si, m acelasi timp, o miscare rectilinie alternativa in directia tijelor, cauzata de excentricitatea e. Datorita vitezelor diferite de lucru a celor doua discuri, se va produce si o alunecare relativa intre discuri si semifabricatele de prelucrat.
Lepuirea se poate face mecanic sau manual, viteza de aschiere in cazul lepuirii mecanice este de circa 100 m/min, iar in cazul lepuirii manuale de (..30) m/min. Presiunea de lucru este de (0,73,5) daN/cm 2.
La lepuirea manuala, dispozitivul de lepuit (fig. 43) este constituit din bucsa cilindrica l, prevazuta la interior cu un inel elastic 2, care se poate regla la dimensiune cu ajutorul suruburilor 3.
Lepuirea se executa in cazul suprafetelor cilindrice exterioare prin rotirea piesei pe strung, pe masina de rectificat sau pe o masina speciala si prin deplasarea axiala alternativa a dispozitivului de lepuit.
Prin lepuire se mareste precizia dimensionala si se obtin suprafete de cea mai buna
calitate, Ra = 0,012 /«n. Deoarece prin lepuire nu se poate corecta decat in foarte mica masura forma geometrica a piesei, aceasta trebuie sa fie corect executata de la prelucrarile anterioare.
Adaosul de prelucrare este mic, avand valori de (5.. .20) fim pe diametru.
Prin lepuire se prelucreaza suprafetele active ale instrumentelor de masurare de mare precizie, a sculelor aschietoare, a bielelor, rolelor si inelelor pentru rulmenti, fusurile arborilor cotiti, bolturile de pistoane etc.
8.6. Rodarea

Rodarea este operatia de netezire a suprafetelor cilindrice exterioare cu pulberi sau granule abrazive in suspensie, introduse intre piesele care, in serviciu, lucreaza in contact (piesele conjugate).
Rodarea poate fi efectuata manual, semimecanizat (cu ajutorul unei masini-unelte rotative oarecare, strung, masina de burghiat) sau mecanizat (cu ajutorul unei masini de rodat).
Materialele abrazive folosite la rodare sunt: corindonul, electrocorindonul, smirghelul, diamantul, piatra ponce, diatomi-tul etc. Pentru a mari productivitatea de rodare se utilizeaza pasta abraziva cu actiune chimico-mecanica.
Un exemplu clasic de prelucrare prin rodare il constituie rodarea supapei si a scaunului de supapa (fig. 44). intre cele doua suprafete de etan,sare se introduce pasta abraziva si se imprima supapei o miscare oscilatorie /, apasand-o in acelasi timp spre scaunul supapei, //. Pozitia relativa dintre cele doua suparfete conjugate se schimba periodic, dupa un anumit numar de miscari, pentru a se obtine un contact bun intre suprafete, in orice pozitie relativa a lor.
8.7. Lustruirea
Lustruirea este operatia de prelucrare fina a suprafetelor, executata cu panze abrazive sau cu abrazivi in suspensie, in scopul obtinerii unei suprafete cu aspect lucios, fara a impune insa respectarea unor conditii dimensionale.
Suprafetele lustruite sunt mai rezistente la uzare si la coroziune si au un coeficient de frecare mai mic.
Lustruirea mecanica se face cu ajutorul unor discuri din lemn, pasla, carton presat sau masa plastica, pe suprafetele carora se depune o pasta abraziva, formata din ulei, parafina, stearina si material abraziv cu granulatie foarte fina. Discul are o viteza periferica mare, (12 15) m/s.
Materialul abraziv se poate introduce in zona de aschiere si direct sub forma de pulbere (uscat) sau aflat in suspensie in ulei, petrol sau apa. Lustruirea se poate face si cu panza abraziva.
Lustruirea se utilizeaza in mod deosebit la finisarea decorativa a diferitelor piese din industria de automobile, aparate de masura si control, articole de larg consuni etc., precum si ca operatie pregatitoare in vederea acoperirilor galvanice (cromare, nichelare etc.).
8.8. Vibronetezirea. (superfinisarea)
Vibronetezirea este o metoda de prelucrare foarte fina care se aplica atat arborilor tratati, cat si celor netratati termic.
Superfinisarea se face cu ajutorul a 2-4 sau 6 bare abrazive, cu granulatia M5, apasate elastic pe suprafata arborelui, care executa o miscare de rotatie (fig. 45).

Pentru efectuarea operatiei de superfinisare sunt necesare urmatoarele miscari de lucru:
semifabricatul executa miscarea de rotatie /, cu viteza periferica (l215) m/min pentru prelucrarea de degrosare si de 30 m/min pentru finisare; barele abrazive 2, fixate prin intermediul suportului elastic 3 in jugul 4, executa miscari scurte rectilinii – alternative (vibratorii) // - cu o frecventa de (5001500) curse duble/min, in functie de materialul prelucrat, lungimea cursei fiind de (l,56) mm, precum si o miscare lenta de-a lungul axei arborelui de prelucrat, cu un avans longitudinal de 0,1 mm/rot; presiunea barelor abrazive pe suprafata de prelucrat este de(l,42,8)daN/cm2.
Forma barelor abrazive trebuie sa corespunda identic cu suprafata de prelucrat (pentru a asigura un contact cat mai intim). Latimea totala a barelor abrazive trebuie sa reprezinte (3060)% din diametrul semifabricatului, iar lungimea barelor se ia aproximativ egala cu lungimea semifabricatului.
Daca lungimea suprafetei de prelucrat este mai mare de 100 mm, se va da o miscare de avans axial semifabricatului sau sculei.
Dimensiunile suprafetelor cilindrice care se prelucreaza prin vibronetezire sunt cuprinse in limitele ¯ (6450) mm si lungimi de (..200) mm. Prin vibroneiezire se realizeaza numai imbunatatirea calitatii suprafetei prelucrate, precizia dimensionala si a formei geometrice prescrise trebuie sa fie obtinute de la prelucrarile anterioare.
Rugozitatea suprafetei prelucrate prin vibronetezire poate fi Ra = (0,010,2) /mi si este influentata de granulatia materialului abraziv folosit, de viteza semifaricatului si de viteza medie a miscarii vibratorii.
Superfinisarea se face in prezenta unui lubrifiant ce contine 80-90 % petrol si 10-20 % ulei de turbina.
La productia individuala sau de serie mica, superfinisarea suprafetelor cilindrice se poate face pe strunguri normale, prin montarea unui dispozitiv de vibronetezire pe caruciorul strungului.
in cazul productiei de serie mare se folosesc masini de vibronetezire specializate, de diferite constructii, in functie de forma semifabricatului, cum ar fi de exmplu masinile de vibronetezire a arborilor cotiti, a tijelor supapelor etc.
8.9. Netezirea insotita de durificarea arborilor prin deformare plastica
O mare parte dintre arborii utilizati in industria constructoare de masini trebuie sa aiba suprafetele rezistente la uzare, coroziune, oboseala, cu rugozitatea redusa si rigiditate mare, caracteristici pe care acestia le pot capata prin netezire si durificare prin lovire, rulare, alunecare, vibroapasare etc.
Netezirea si ecruisarea suprafetelor arborilor prin lovire se poate face cu un jet de bile proiectat pe o suprafata de prelucrat sau cu bile (sau role) fixate intr-un dispozitiv, pe unul sau mai multe randuri, care executa lovituri uniforme si bine dirijate pe suprafata semifabricatului.
Instalatia de ecruisare cu jet de bile este voluminoasa si costisitoare. In plus, prin acest procedeu nu se pot obtine suprafete cu calitati corespunzatoare suprafetelor de contact (fusuri, camasi de cilindri, cuzineti etc.).
Ecruisarea cu role prezinta, de asemenea, o serie de dezavantaje legate in mod special de presiunea relativ mare a acestora pe suprafata semifabricatului care se prelucreaza. Datorita presiunii de contact mari, nu se pot prelucra decat arbori cu rigiditatea foarte buna.
O metoda moderna de netezire si durificare, care prezinta o serie de avantaje fata de metodele mentionate, este aceea care foloseste la ecruisare forta centrifuga a unui numar de bile ce se pot misca liber in canalele radiale ale unui disc.
Fiecare bila, intalnind in drumul ei suprafata piesei care se ecruiseaza, o loveste cu o forta
![]()
in
care: m este masa bilei, in kg;
- viteza periferica a discului cu bile, m/s; R - raza
discului, egala cu distanta de la axa discului la centrul bilei, in m.
unde g este acceleratia caderii libere.
![]()
Daca viteza de rotatie a capului cu bile se exprima in functie de numarul de rotatii pe minut, atunci
![]()
Efectuand reducerile respective, se obtine relatia dupa care se calculeaza forta cu care fiecare bila loveste suprafata piesei:
![]()
In fig. 46 este data schema de principiu a unui dispozitiv de ecruisat, montat pe o masina de rectificat (sau pe strung). Piesa efectueaza miscarea de avans longitudinal si o miscare de rotatie in sens invers discului cu bile, iar impreuna cu sania poate executa si o miscare de avans transversal pentru realizarea valorii optime h de respingere fortata a bilei de catre piesa care se ecruiseaza (fig. 47).
Prin ecruisarea arborilor dupa aceasta metoda se obtine o serie de avantaje fata de prelucrarea obisnuita, si anume: imbunatatirea calitatii suprafetei prelucrate; marirea rezistentei la oboseala, la uzare si la coroziune a piesei; duritatea stratului ecruisat creste cu (2060) % iar adancimea stratului ecruisat variaza intre 0,25 si 0,7 mm; cresterea preciziei dimensionale (treapta 6-a dupa ISO) si a productivitatii muncii.

Elementele regimului de prelucrare la netezirea si durificarea arborilor sunt:
viteza periferica a arborilor de netezire v = (3090) m/min;
viteza de rotatie a capului cu bile (1240) m/s;
avansul longitudinal (0,06l,6) mm/rot;
marimea cu care este respinsa bila h = (0,050,8) mm.
In afara de acesti factori, asupra netezirii si durificarii suprafetelor mai influenteaza si numarul de treceri.
Avansul longitudinal este materializat prin numarul de lovituri pe unitatea de suprafata a arborelui si exercita o influenta deosebita asupra calitatii suprafetei prelucrate.
Un factor foarte comod cu ajutorul caruia se poate regla regimul de ecruisare este marimea h de respingere a bilei de catre piesa de prelucrat. Prin variatia acestei marimi se poate modifica, in limite foarte largi, forta de lovire a bilei. Astfel, de exemplu, variind pe h de la 0,1 mm la 0,3 mm, forta de lovire a bilei creste de 3,5 ori. Astfel, la prelucrarea cu aceeasi viteza de rotatie a bilelor, se pot obtine valori diferite ale duritatii suprafetei si a adancimii stratului durificat.
O atentie deosebita trebuie sa se acorde alegerii regimului de lucru la ecruisarea pieselor din fonta, intrucat se pot usor supraecruisa. Supraecruisarea se caracterizeaza prin aceea ca suprafata piesei se exfoliaza (cojeste).
La ecruisarea pieselor din metale neferoase trebuie ca forta de lovire a bilei sa fie de doua ori mai mica decat la ecruisarea pieselor din otel de constructie. Perspectivele utilizarii acestei metode de netezire si ecruisare a suprafetelor fara preluare de aschii sunt foarte mari. Astfel, dupa aceasta metoda pot fi netezite urmatoarele piese: arbori cotiti, camasi de cilindri, inele de rulmenti, cuzineti de lagare, bolturi de pistoane, tijele supapelor, glisierele batiurilor masinilor-unelte, caile de rulare ale inelelor de rulmenti etc.
In ultimul timp metoda a inregistrat imbunatatiri in sensul ca sistemul se leaga Ia o sursa de curent continuu de joasa tensiune. Rezultatele obtinute sunt superioare datorita insumarii efectului de incalzire locala cu cel al socului bilelor.
Netezirea si ecruisarea prin rulare sau vibrorulare este mai larg utilizata in cav'il arborilor cu rigiditate mai ridicata si se poate realiza in conditii mult mai simple si mai economice ca in primul caz.

Rularea, in general, se realizeaza atat pe masinile pe care se face prelucrarea prinaschiere (strunguri, masini de burghiat, de alezat si frezat etc.), cat si pe masini speciale. Astfel, netezirea si ecruisarea se realizeaza prin apasarea unei role sau bile cu o anumita forja (50200 daN) pe suprafata care trebuie netezita. Rola sau bila este fixata . intr-un suport in locul cutitului (fig. 48). Ca urmare, piesa l se roteste, iar rola sau bila 2, fixata in suportul 5, ruleaza pe suprafata arborelui de prelucrat, efectuand totodata si o miscare de avans axial.
Tipurile de role folosite sunt foarte diversificate (fig. 49), iar utilizarea lor depinde de scopul urmarit. Astfel, daca se urmareste netezirea si ecruisarea pe adancime mica, sau netezirea si ecruisarea suprafetei pe adancime mai mare, in scopul cresterii rezistentei la oboseala, rolele vor fi diferite. Diametrul rolelor se alege constructiv. Se folosesc obisnuit role de (50 150) mm diametru.
Procesul de netezire si ecruisare a suprafetelor prin rulare este conditionat de numerosi factori constructivi si functionali. Tratarea stiintifica a problemei impune stabilirea unei ierarhizari a acestor factori si gasirea unei metodologii adecvate privind influenta acestora.
in fig. 50 sunt prezentati, sub forma modelului iconic, factorii ce influenteaza procesul de rulare.
Optimizarea fortei de rulare prezinta o importanta deosebita pentru desfasurarea procesului de prelucrare, fiind elementul principal de care depinde in final gradul de netezire a suprafetei prelucrate.
Cercetarile experimentale efectuate au condus la urmatoarele concluzii mai importante:
- rugozitatea Ra a suprafetei prelucrate creste o data cu cresterea avansului; pentru acelasi avans, rugozitatea creste prin marirea lungimii de contact lc;
- se inregistreaza o crestere apreciabila a calitatii suprafetei prelucrate cu cresterea turatiei n; experienta probeaza existenta unui
numar optim de treceri (si anume i =2); calitatea suprafetei scazand pana la exfoliere la un numar mai mare de treceri (34);

- rugozitatea finala este direct influentata de rugozitatea initiala a suprafetei de prelucrat, precum si de cresterea lungimii de contact lc ; prin prelucrare se obtine o
netezime a suprafetei cuprinsa in limitele Ra =(1,60,4) mm, iar urmele ramase de la prelucrarea anterioara dispar;
- este de remarcat faptul ca erorile de forma nu se elimina prin aceasta prelucrare, ceea ce impune ca precizia de forma sa fie asigurata de la prelucrarile precedente;
- alegerea avansului se face in functie de latimea b a rolei; in mod obisnuit, se lucreaza cu avans de (0,10,2) mm/rot; viteza de rulare a sculei si a arborelui nu sunt limitate practic, dar in literatura de specialitate se recomanda ca viteza arborelui sa ajunga pana la 100 m/min;
- duritatea suprafetelor prelucrate prin rulare creste cu (20.. .40) %, iar economia de manopera scade cu circa (6080) % fata de operatiile clasice de finisare (honuire, rodare, rectificate etc.);
- prin aplicarea metodelor de netezire si ecruisare prezentate se pot inlocui, in constructia de masini, otelurile aliate cu oteluri de constructie; procedeul se aplica obisnuit, asa cum s-a subliniat, la prelucrarea otelurilor de constructie (nealiate), dupa aschierea de finisare, eliminand tratamentul termic si operatia de rectificare;
marele avantaj al acestor metode consta in faptul ca prelucrarea se face, in general, pe masinile-unelte pe care se face obisnuit strunjirea, rectificarea etc., utilizand in acest scop mana de lucru cu calificare

Netezirea si ecruisarea prin vibroapasare este un procedeu relativ nou, care permite sa se obtina pe suprafata arborelui o rugozitate corespunzatoare scopului si importantei suprafetei respective. Procedeul de netezire consta in aceea ca o bila sau un con de diamant, de o anumita dimensiune (2 10) fim, sunt apasate pe suprafata arborelui de prelucrat cu o anumita forta (fig. 51). Astfel, arborele l executa o miscare de rotatie, iar bila 2 o miscare
9 Caracteristici specifice tehnologiilor de prelucrare a discurilor
Discurile sunt piese de revolutie care au raportul dintre lungime si diametru mult mai mic ca unitatea.
Ca forma si dimensiuni, discurile sunt foarte diversificate (fig. 53) si utilizate practic la toate tipurile de masini, in aceasta grupa se pot indica, de exemplu, urmatoarele piese: roti de curea, roti dintate cilindrice, conice, volanti, discuri de turbina, roti de vagoane, locomotive etc.
Modul de intocmire a unui proces tehnologic depinde de complexitatea discurilor, dimensiunile, precizia, greutatea si de volumul de productie.
Discurile pot fi cu sau fara butuc, cu butuc unilateral sau bilateral, simetric sau asimetric, cu alezaj strapuns sau infundat etc.

Conditiile tehnice de prelucrare ce se impun la piesele de tip disc sunt aproape identice cu cele pentru piesele de tip bucse. Problema cea mai importanta este respectarea coaxialitatii dintre alezaj si suprafata exterioara si a perpendicularitatii suprafetelor frontale pe axa discului. Adica, se impune ca discul sa mi fuleze si, in acelasi timp, sa nu aiba bataie radiala mai mult decat limitele admisibile date de rolul functional al discului. Aceste abateri de pozitie trebuie sa se incadreze in mod obisnuit in treptele de precizie 68.
O alta conditie este respectarea paralelismului suprafetelor pentru care se admite o abatere in limitele (0,030,05) mm.
Metodele de obtinere a semifabricatelor pentru piesele de tip disc sunt: turnarea, deformarea plastica la cald, deformarea plastica la rece si sudarea.
Turnarea se aplica la discurile din fonta sau otel intr-o gama mare de tipodimen-siuni si forme, grele sau usoare, simple sau complexe, in functie de volumul de productie, turnarea se poate realiza in forme de pamant (nepermanente), in cazul seriilor mici, sau in forme metalice (permanente), in cazul seriilor mari.
Deformarea plastica la cald se realizeaza prin forjare libera, in cazul seriilor mici, sau prin matritare, in cazul seriilor mari si mijlocii, la piesele mici si mijlocii.
Discurile cu forme simple si diametre mai mici se pot decupa sau stanta. Decuparea are avantajul, fata de stantare, ca necesita o prelucrare ulterioara mai simpla, deci cu un adaos de prelucrare mai mic.
La unele tipuri de discuri de dimensiuni mai mari, semifabricatul poate fi executat prin laminare, pe laminoare speciale, unde materialul capata o forma finala. Numarul de treceri la laminare depinde atat de forma semifabricatului initial, cat si de forma finala a discului.
In productia de unicate se intalnesc frecvent discuri sudate, caz in care semifabricatul este o constructie sudata, formata din platbande si profiluri (morile de carbune), avantajele principale fiind economia de materiale si manopera.
Semifabricatele pentru piese disc complexe se obtin prin metode combinate, forma acestora fiind descompusa in elementele simple, executate fie prin turnare, fie prin deformare plastica, dupa care sunt apoi asamblate prin sudare.

Pentru prelucrarea pieselor tip disc sunt tot mai utilizate masinile cu comanda program si mai ales cele cu comanda numerica. In cazul strungurilor carusel cu comanda numerica dotate cu mai multe suporturi portcutit, se pot utiliza mai multe sisteme de axe triortogonale. Astfel, in afara de sistemul de axe primar X,Y.Z, se mai pot utiliza sistemul de axe secundar sau de ordinul doi – U,V,W si respectiv, sistemul de axe tertiar sau de ordinul trei – P, Q, R. Dar avantanjul cel mai mare consta in faptul ca alegerea originii sistemelor de referinta este arbitrara. Aceasta libertate de fixare a originii asigura anumite fascilitati la reglarea si punerea in stare de functionare a masinii-unelte comandate numeric. Dupa montarea traductoarelor de deplasare si efectuarea operatiilor de reglare initiala, originea sistemului dereferinta capitala o determinare univoca, devenind un punct fix si bine stabilit in spatiu. In felul acesta, sistemul de referinta, cu originea univoc precizata, devine un sistem rigid din punct de vedere geometric, fata de care sunt raportate toate miscarile efectuate de masina. Pentru a usura munca de programare a tehnologiei de prelucrare, originea sistemului de referinta este atribuita mai intai piesei , dupa care, cu ajutorul ECN-ului se traspune originea piesei peste originea masinii-unelte.
l
|