TRANSPORTOR CU PLaCI

Sa se proiecteze un transportor cu placi care
face parte din linia tehnologica de prelucrare a fructelor; transportorul
aflandu-se in zona de spalare fructe. Transportorul are urmatoarele
caracteristici tehnice si corespunde schemei cinematice din figura:
|
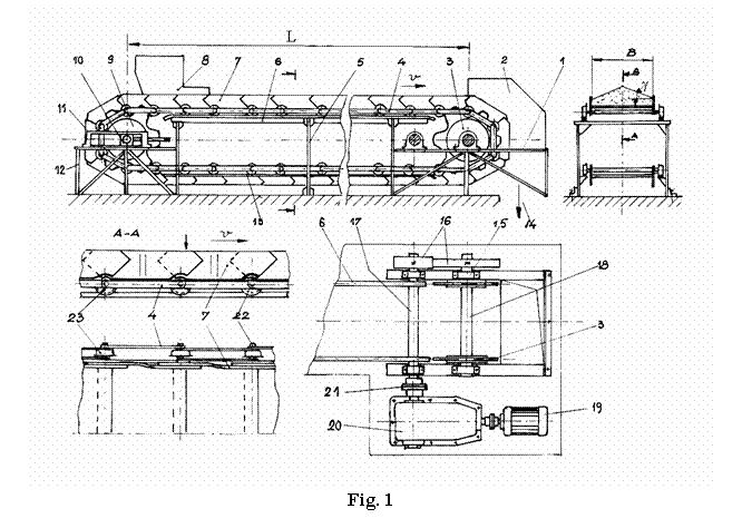
1-S 343c25d uport cap actionare |
7-Placi |
13-Sina ghidare inferioara |
19-Motor electric |
|
2-Carcasa evacuare |
8-Buncar de aliment. |
14-Gura evacuare |
20-Reductor |
|
3-Roata lant actionare |
9-Roata de lant de intindere |
15-Lagare |
21-Cuplaj |
|
4-Lant |
10-Lagar roata de intindere |
16-Treapta roti dintate |
22-Bolt |
|
5-Suport role |
11-Dispozitiv de intindere |
17-Arbore principal |
23-Rola |
|
6-sina ghidare superioara |
12 Suport cap intindere |
18-Arbore cap actionare |
|
|
Materialul transportat |
|
|
|
|
Densitatea materialului |
r |
|
[t/m3] |
|
Productivitatea |
Pm |
|
[t / h] |
|
Lungimea de transport |
L |
|
[m] |
|
Viteza de transport |
v |
|
[m / s] |
|
Unghiul de taluz natural |
g |
|
|
|
Transportorul functioneaza in plan orizontal. Placile pot avea forma din figura 2. |
|||


Fig. 2
Prezentarea generala a utilajului
2.Proiectare utilaj.
2.1 Dimensionarea placilor
2.2 Determinarea fortei in ramura ce se infasoara pe roata de actionare.
2.3 Alegerea si verificarea lantului .
2.4.Dimensionarea rotii de lant
2.5 Cinematica transmisiei mecanice.
2.6 Alegerea motorului electric si verificarea la demaraj.
2.7.Alegerea cuplajului elastic motor -reductor.
2.8.Alegerea reductorului de turatie.
2.9.Alegerea cuplajului reductor - arbore principal.
2.10.Dimensionarea treptei de roti dintate intermediare.
2.11.Stabilirea variantei constructive si a dimensiunilor ansamblului arbore principal.
2.11.1. Stabilirea variantei constructive si a dimensiunilor arborelui principal.
2.11.2. Stabilirea variantei constructive si a dimensiunilor lagarelor.
2.12 Stabilirea variantei constructive si a dimensiunilor ansamblului cap de actionare.
2.12.1 Stabilirea variantei constructive si a dimensiunilor arborelui capului de actionare
2.12.2 Alegerea penelor rotilor de lant.
2.12.3 Stabilirea formei geometrice si a dimensiunilor rotilor de lant.
2.12.4 Stabilirea variantei constructive si a dimensiunilor lagarelor.
12.13. Stabilirea variantei constructive si a dimensiunilor ansamblului cap de intindere.
2.13.1 Stabilirea variantei constructive si a dimensiunilor arborelui capului de intindere.
2.13.2 Alegerea penelor rotilor de lant.
2.13.3 Stabilirea variantei constructive si a dimensiunilor lagarelor
2.13.4 Stabilirea formei geometrice si a dimensiunilor rotilor de lant
2.14. Dimensionarea intinzatorului cu surub
3.Instructiuni de montaj, ungere, exploatare.
4.Tehnologie de reparare utilaj.
5 Norme de protectie si tehnica securitatii muncii.
|