Tipuri constructive de stante si matrite
stantele si matritele folosite la prelucrarile prin deformare plastica la rece au o foarte mare varietate constructiva si functionala,fiind proiectate si realizate pentru diferite tipuri d 24324v219y e piese si operatii de prelucrare.
Astfel pentru productie de serie mare si masa se utilizeaza stante si matrite de mare durabilitate si productivitate, care au dispozitive si mecanisme de alimentare automata si de evacuare a pieselor prelucrate. Pentru productia de serie si serie mica se utilizeaza stante si matrite de constructie simpla, universale si reglabile, iar pentru productia individuala si de serie mica au început sa se foloseasca stante si matrite universale din elemente modulate asamblate.
Din punct de vedere al schemei de lucru, pe baza careia se proiecteaza stantele si matritele acestea pot fi: de constructie simpla;de constructie complexa: cu actiune succesiva; cu actiune simultana; cu actiune simultana succesiva.

Figura 9
În ( figura 9 ) este prezentata o stanta simpla pentru perforare a doua gauri într-o piesa ambutisata. stanta se compune din palca de taiere 1, pe care se face si asezarea piesei în vederea perforarii. Operatia de perforare se executa cu doua poansoane 2. Dupa efectuarea operatiei de perforare, piesa este scoasa de poansoane cu ajutorul extractorului 3, actionat cu tija împingatoare 4, atunci când se executa cursa de ridicare a culisoului presei.

Figura 10
În figura 10 este prezentat un exemplu de matrita pentru îndoire în V. La aceasta matrita, semifabricatul se aseaza cu ajutorul elementului de pozitionare 3, care se gaseste deasupra placii active pentru îndoire 2. Deformarea se face cu ajutorul poansonului 1 care se fixeaza în culisoul presei .

Figura 11
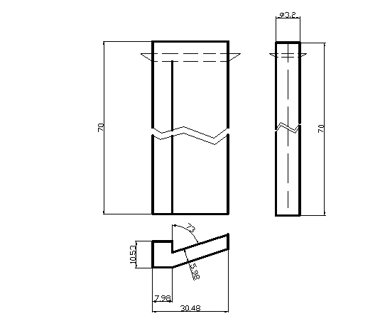
Pentru obtinerea reperului din figura 11 se realizeaza o scula de stantare cu urmatoarele caracteristici:
Dimensiunile placii active care este realizata
din OSC 8 ( S235) cu o duritate de 54-58 HRC si rugozitatea de 3,2
.
B= 100 mm ; A = 90mm; g= 30mm
b 0,02 b = 30,5 d = 6,4 0,012mm
Dimensiunile poansoanelor realizate
din OSC 8 ( S235 ) cu duritatea de 54-58 HRC si rugozitatea de 3,2
, respectiv 0,8
.
L= 70 mm;

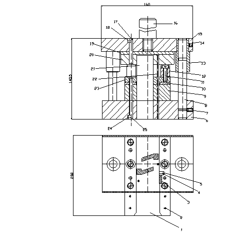
Figura 12
Elementele componente sunt urmatoarele:
1-jgheab; 2-surub de fixare; 3-cutit de pas; 4-stift centrare; 5-pastila cutit pas;6-placa de baza; 7-stift filetat; 8-coloana ghidare; 9-placa activa; 10- rigle ghidare; 11-surub fixare; 12-distantier; 13-bucsa ghidare; 14-stift filetat; 15- placa superioara ; 16- cep fixare; 17- stift centrare; 18- surub fixare; 19- placa presiune; 20-placa portpoanson; 21, 22-poanson; 23- placa ghidare; 24- surub fixare; 25-stift centrare.
Acest tip de stanta se va monta pe PAI 10 împreuna cu un grilaj de protectie. Se introduce materialul prin jgheabul 1 iar apoi datorita fortei exercitate de catre presa poansoanele perforeaza materialul. Poansoanele sunt prinse pe placa port-poanson, în partea superioara a stantei. Elementele de ghidare se folosesc pentru a asigura o deplasare relativa precisa a poansoanelor fata de placa activa a stantei. Acestea sunt simple din punct de vedere constructiv putând fi realizate cu o precizie foarte ridicata si rezistenta la uzura.
Elementele active ale stantei sunt :
placa activa ( figura 13 );
poansoane ( figura 14 ).

Figura 13

Figura 14
|