Documente online.
Zona de administrare documente. Fisierele tale
Am uitat parola x Creaza cont nou
 HomeExploreaza
upload
Upload




VERIFICAREA CALITATIVA A REZISTENTEI IMBINARII LA SUDAREA IN PUNCTE

tehnica mecanica


ALTE DOCUMENTE

DETERMINAREA ENERGIEI DE ACTIVARE
DATE TEHNICE ALE CAZANULUI "G 300"
STABILITATEA INITIALA A NAVEI . CALCULUL COTEI METACENTRULUI TRANSVERSAL KM
Primul ajutor
NAVE SPECIALIZATE IN TRANSPORTUL MARFURILOR SOLIDE IN VRAC . CARACTERISTICI TEHNICE SI DE EXPLOATARE
UTILIZAREA TRANSFORMATOARELOR DE MASURARE IN CIRCUITE TRIFAZATE FARA CONDUCTOR NEUTRU
Amplificator 8 - 25 W
AMPLIFICATORUL CU CIRCUITE CUPLATE
Antene
GHID DE UTILIZARE A MASELOR PLASTICE

VERIFICAREA CALITATIVĂ A REZISTENŢEI ĪMBINĂRII LA SUDAREA ĪN PUNCTE





Lucrarea are ca obiectiv alegerea regimului de lucru la sudarea īn puncte prin verificarea experimentala a rezistentei punctelor de sudura.

Sursa de sudare foloseste efectul Joule produs de curentul electric, din circuitul de sudare, asigurat de un transformator de sudare.


Fig. 1

Schematic, principiul sudarii electrice īn puncte este redat īn fig. 1: piesele de sudat 1 sunt strānse cu forta F īntre electrozii de contact 3, acestia fiind legati la un transformator 2, alimentat de la reteaua electrica.

Tehnologia sudarii īn puncte presupune corelarea parametrilor principali ai regimului de sudare:

Stabilirea parametrilor regimului de sudare se poate face analitic (cu ajutorul relatiilor de calcul) sau dupa normative (parametrii se aleg din tabele īn functie de grosimea tablelor).Verificarea alegerii corecte a parametrilor    regimului de sudare se poate face experimental, verificānd calitatea punctului de sudura. Calitatea īmbinarii este data de rezistenta punctului sau punctelor de sudura, determinata de regimul adoptat.

O īmbinare este considerata buna daca ruptura se produce īn jurul punctului de sudura si nu se foarfeca punctul. Cu ajutorul unui plan de experiente se poate verifica masura īn care regimul de sudare a fost corect stabilit.

Īn cadrul lucrarii se aleg ca parametrii variabili ai regimului de sudare intensitatea curentului de sudare, I si durata de apasare, t.

Pentru cei doi parametri se considera doua valori recomandate de literatura de specialitate:

I1 = 4700 A;    t1 = 0,8 s;

I2 = 6500 A;    t2 = 1 s.

Ceilalti parametri ai regimului de sudare se pastreaza constanti:

Prin permutarea intensitatii curentului si a duratei de apasare se obtin patru regimuri de sudare:

3. Metode si mijloace de experimentare

Utilajul folosit pentru sudarea īn puncte este de tipul BOSWA si are posibilitatea de reglare a intensitatii curentului si a duratei de apasare. Epruvetele au forma si dimensiunile prezentate īn fig. 2 si sunt realizate din tabla de otel calitatea A5, STAS 11318-80

Fig. 2

Fig. 3

 

Fig. 4

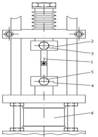
Pentru verificarea calitatii īmbinarii, epruveta este pregatita īn vederea īncercarii la tractiune conform schitei din fig. 3. Īn acest scop se utilizeaza un dispozitiv actionat hidraulic (fig. 4) care asigura o forta de tragere F = 500 daN.

Epruveta 1, pregatita pentru īncercare, (fig. 3) se fixeaza la un capat cu surubul 3 īn dispozitivul de prindere 2 iar la celalalt capat īn dispozitivul 4 cu surubul 5 (fig. 4).

Forta de tragere se realizeaza cu ajutorul motorului hidraulic 6 la introducerea uleiului sub presiune īn camera superioara a acestuia.

Dispozitivul de prindere 2 este fix.

4. Modul de lucru

Se regleaza parametrii pentru primul regim de sudare (I = 4700 A; t = 0,8 s; F = 150 daN ), se aleg electrozi cu diametrul de 8 mm si se sudeaza cinci epruvete.

Fiecare epruveta se exfoliaza (fig. 3) si se fixeaza īn dispozitivul de tractiune hidraulic.

Se modifica durata de apasare (t = 1 s), ceilalti parametrii ai regimului pastrāndu-se constanti si se sudeaza alte cinci epruvete.

Se realizeaza verificarea rezistentei punctelor de sudura.

Īn continuare se sudeaza cinci epruvete cu regimul trei ( I = 6500; t = 0,8 s) si alte cinci cu regimul de sudare patru (I = 4700; t = 1s).

Dupa fiecare experiment se acorda calificative dupa cum urmeaza:

Rezultatele obtinute se noteaza īn tabelul 1.


Nr.

exp.

Regimul de sudare

Calificative (B/N)

I [A]

t [s]

F [daN]

d

[mm]

epruv. 1

epruv. 2

epruv. 3

epruv. 4

epruv. 5




















































Tab. 1


5.Prelucrarea datelor experimentale si concluzii

Pentru a aprecia rezultatele obtinute se stabileste nivelul de calitate al fiecarui experiment cu relatia:

[%]

unde: i reprezinta numarul experimentului;

k, numarul epruvetei

, numarul de calificative bune;

, numarul de calificative nesatisfacatoare.

Rezultatele obtinute se noteaza īn tabelul 2.

Tab. 1

Regimul de sudare

Nci

I [A]

t [s]

F [daN]

d [mm]



































Document Info


Accesari: 3830
Apreciat: hand-up

Comenteaza documentul:

Nu esti inregistrat
Trebuie sa fii utilizator inregistrat pentru a putea comenta


Creaza cont nou

A fost util?

Daca documentul a fost util si crezi ca merita
sa adaugi un link catre el la tine in site


in pagina web a site-ului tau.




eCoduri.com - coduri postale, contabile, CAEN sau bancare

Politica de confidentialitate | Termenii si conditii de utilizare




Copyright © Contact (SCRIGROUP Int. 2025 )