Documente online.
Zona de administrare documente. Fisierele tale
Am uitat parola x Creaza cont nou
 HomeExploreaza
upload
Upload


Instalatii de propulsie - clasificarea propulsoarelor




INSTALATII de propulsie - ClasiFicarea propulsoarelor



Pentru invingerea rezistentei la inaintare RT generate la deplasarea navei in regim de mars este necesara aplicarea unei forte egale si de sens contrar, numita tractiune (impingere). Tractiunea este generata de un aparat numit propulsor, ce consuma putere de la o instalatie de forta, ce poate fi interioara sau exterioara navei.


Instalatiile de forta (de propulsie) de la bordul unei nave sunt:


  1. Instalatii de forta cu abur
  2. Instalatii de forta cu gaze
  3. Instalatii de forta cu motoare cu ardere interna
  4. Instalatii de forta cu motoare electrice si
  5. Instalatii de forta atomice.

A.    Instalatii de forta cu abur




Functie de masina principala de propulsie, instalatiile de forta cu abur (IFA) pot fi: Masini alternative de abur cu piston (MAAP) sau Turbine cu abur (TA).


IFA foloseste destinderea aburului produs de generatorul de abur GA in interiorul unei masini principale (MAAP sau TA) si il transforma in lucru mecanic. Randamentul efectiv al IFA este scazut (22.30)%.


Schema de principiu a unei IFA:


1-generator de abur (GA), numit si caldare navala

2- masina principala cu abur (MAAP sau TA)

3- ax portelice

4- propulsor

5-condensator, racit cu apa de mare

6- pompa extractie condens

7- basa

8- pompa alimentare caldare

9- preincalzitor apa de alimentare



Principiu de functionare al unei IFA:


Apa din caldarea (1) se incalzeste, incepe vaporizarea, iar aburul obtinut se transforma treptat din abur saturat umed in abur saturat uscat. Acesta intra in masina principala (2) unde se destinde, actionand asupra pistonului (MAAP) sau paletelor (TA), si produce lucru mecanic, necesar actionarii propulsorului (4) prin axul portelice (3).


Aburul destins este evacuat intr-un condensator K (5) unde prin schimb de caldura cu temperatura apei de mare devine apa = condens. Condensul este aspirat de pompa (6) si trimis in basa (7) unde se filtreaza mecanic si chimic. Din basa, pompa de alimentare (8) a caldarii aspira apa si o refuleaza la presiune mare in caldare. Inainte de GA, apa e trecuta printr-un schimbator de caldura PI (9) pentru a-si mari temperatura, preluand caldura de la aburul prelucrat in instalatiile auxiliare.


Instalatiile auxiliare livreaza aburul necesar altor necesitati decat propulsia, cum ar fi:

instalatia de incalzire cabine

instalatia de incalzire tancuri de combustibil

instalatia de apa tehnica (apa calda bucatarii)

suflare valvule Kingstone la instalatia de balast

actionare mecanisme de punte la navele tancuri petroliere etc.


Generatorul de abur este deservit si de o instalatie de aer (ce asigura procesul combustiei printr-un ventilator actionat de electromotor, TA sau TG) si una de combustibil. Instalatia de combustibil e compusa din tancuri de comb., tubulaturi, filtre reci, pompe combustibil (de regula cu roti dintate), preincalzitor de combustibil, filtru cald si pulverizatoare.


MAAPMasina Alternativa de Abur cu Piston


Nu se mai regasesc la navele actuale ca masini principale de propulsie. In prezent sunt instalate la bordul tancurilor petroliere ca masini auxiliare, datorita sigurantei deosebite ce o au in prezenta atmosferelor inflamabile. Sunt folosite cu predilectie pentru antrenarea mecanismelor de punte (vinciuri, cabestane etc.) si a pompelor de marfa, de strip etc.

Prima MAAP a fost construita in 1807 si avea 18 CP. Ca observatie, Titanicul avea 2 MAAP pentru propulsie ce dezvoltau cate 16.000 CP (un exemplu de MAAP cu tripla expansiune ca cele de la bordul Titanicului, in imaginea de mai jos).

   

  • Avantajele MAAP in comparatie cu celelalte instalatii de forta:

schimbarea rapida a sensului de mers al motorului principal de propulsie

timp foarte scurt (5 min) de punere la cald si functionare al motorului principal.

  • Dezavantajele MAAP constau in:

putere dezvoltata mica

gabarit mare si centru de greutate ridicat

consum specific de combustibil mare (0,74 g/kWh) – cel mai ridicat in comparatie cu celelalte instalatii de propulsie.

randament efectiv cel mai scazut 16..20%.

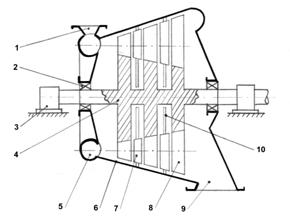
  • Principiu de functionare al unei MAAP:



   


1-     cilindru

2-     piston

3-     canal introductie

4-     orificiu evacuare abur

5-     camera de distributie

6-     sertar

7-     tija piston


8-     cap cruce

9-     tija sertar

10-  biela MAAP

11-  biela sertar

12-  manivela arbore cotit

13-  excentric


Imaginea prezinta momentul de introductie maxima a aburului (sertarul are pozitia extrema, iar pistonul pozitia medie). Ambele canale sunt descoperite. Prin rotirea A.C., pistonul continua sa se deplaseze spre dreapta (in realitate in jos). Aburul lucrat, din ciclul anterior, va fi evacuat prin canalul 4, iar sertarul incepe sa se deplaseze in sens opus (spre stanga), acoperind la un moment dat canalele.


Etansarea sertarului pe canale este asigurata de presiunea aburului de admisie. In acest moment, procesul de introductie al aburului este intrerupt. Prin rotirea in continuare a A.C., sertarul se deplaseaza, procesul fiind reluat cu un nou ciclu.


TATurbina cu Abur


  • Turbina cu abur (TA) este o masina de forta ce transforma energia acumulata in aburul produs de o caldarina (energie termica) in energie mecanica, prin intermediul unor palete in miscare de rotatie. Este folosita la navele foarte rapide (distrugatoare) sau la cele de puteri mari (peste 50.000 CP).
  • Ansamblul ajutajelor (al retelelor de palete) ce servesc la transformarea en. potentiale EP a aburului in en. cinetica EC poarta numele de STATORUL turbinei, iar ansamblul paletelor solidare cu arborele, al pieselor ce executa miscare de rotatie in jurul axului poarta numele de ROTORUL turbinei. Elementele fixe ale unei TA sunt: carcasa. postamentul, lagarele, diafragmele si ajutajele, iar elementele mobile ale TA sunt: paletele mobile, discurile rotorului, arborele, cuplajele si virorul.
  • Avantajele TA in comparatie cu celelalte instalatii de forta:

uzura extrem de mica a pieselor ce compun o turbina cu abur

compartiment masina redus, datorita gabaritului mai mic al grupului de turbine, in comparatie cu MAAP

posibilitatea realizarii de turatii si puteri foarte mari.

  • Dezavantajele TA constau in:

consum specific de combustibil mediu (0,40 g/kWh)

turatia mare impune folosirea unui reductor pentru propulsie

randament efectiv redus 25..30%

la mers inapoi, puterea generata scade cu 30% fata de cea dezvoltata la mers inainte.

  • Principiu de functionare al unei TA:



1-    Racord intrare abur

2-    Etansare exterioara

3-    Lagar de sprijin

4-    Rotor

5-    Canal inelar

6-    Carcasa

7-    Ajutaje

8-    Palete mobile

9-    Racord iesire abur

10- Diafragme


Aburul intra in turbina prin racordul de intrare (1), repartizand-se prin canalul inelar (5) la unul sau mai multe ajutaje (7). Interiorul carcasei TA e impartit in mai multe compartimente de presiuni diferite prin niste pereti numiti diafragme (10). In aceste diafragme, perpendicular pe axul de rotatie, sunt fixate pe un cerc concentric ajutajele (7). In timpul trecerii prin ajutaje, aburul se destinde marindu-si viteza, fiind apoi dirijat catre paletele mobile (8), fixate pe discuri ale rotorului. Rotorul se pune astfel in miscare, producand energie cinetica.


B.    Instalatii de forta cu gaze


In acest caz, masina principala de propulsie este o Turbina cu gaze (TG).

  • Turbina cu gaze (TG) este o masina de forta ce functioneaza dupa ciclul Joule. Este folosita in special la navele militare (putere specifica mare si greutate mica) sau in industria aeronautica.
  • Agentul motor la TG navale il reprezinta de regula gazele de ardere de la motorul principal. Componentele de baza ale unei TG sunt: turbina, camera de ardere (de combustie) si compresorul. Turbina, ca si in cazul TA, poate fi radiala, axiala, cu actiune sau cu reatiune, monoetajata sau multietajata.
  • Avantajele TG in comparatie cu celelalte instalatii de forta:

pornirea rapida chiar cu motoarele reci (max.5 min)

consumul redus de apa

putere dezvoltata mare si turatii ridicate

inlocuirea cu usurinta a motorului

lipsa vibratiilor in functionare

greutate si dimensiuni medii.

  • Dezavantajele TG constau in:

consum specific de combustibil mediu spre mare(0,50 g/kWh)

pret de cost ridicat

turatia mare impune folosirea unui reductor-inversor.

randament efectiv mediu 25..35%

la mers inapoi, puterea generata scade cu 30% fata de cea dezvoltata la mers inainte.

  • Principiu de functionare al unei TG:




Aerul atmosferic este comprimat la presiune inalta in compresor si trimis apoi in camera de ardere. In camera de combustie este injectat combustibil (la avioane sau elicoptere kerosene, propan sau gaze naturale). La nave, gazele de ardere sunt rezultate in urma procesului de ardere al motorinei sau pacurii din cilindru motor. Combustibilul este ars rezultand gaze de ardere de inalta presiune si viteza. Turbina transforma energia gazului in energie cinetica de rotatie a paletelor. La iesirea din turbina (grup turbocompresor) gazele sunt dirijate pe coloane catre cos.


C.    Instalatii de forta cu motoare cu ardere interna


In acest caz, masina principala de propulsie este un motor Diesel navalizat.

  • Motoarele Diesel sunt cele mai raspandite in industria navala. La bordul navelor comerciale, exista in general doua tipuri:

lente (in 2 timpi), cu turatia n = 60.150 rot/min. Acestea sunt direct cuplate cu elicea (nu necesita reductor) si sunt reversibile (nu necesita inversor).

semirapide (in 4 timpi), cu turatia n = 160.1000 rot/min. Acestea nu sunt direct cuplate cu elicea (poseda reductor) si sunt ireversibile (au si inversor).

  • Avantajele MAI in comparatie cu celelalte instalatii de forta:

cel mai bun randament efectiv (40.55)% (in special cele lente)

consum specific de combustibil scazut (0,150 g/kWh)

timp relativ scurt pentru pregatirea motorului pentru lnsare

asigura autonomie mare navelor

nivel relativ scazut dal temperaturii in CM

  • Dezavantajele MAI constau in:

pretul de cost pentru constructie este ridicat

gabaritul mare al motorului

zgomot (la cele semirapide) si vibratii in functionare

motoarele semirapide sunt retentioase in exploatare.

ClasiFicarea propulsoarelor


In functie de principiul de actionare, propulsoarele pot fi divizate in doua mari categorii, si anume:


  • Propulsoare active - vela care functioneaza in regim portant cu vant din pupa si ca aripa de avion (navigatie in depresiune) cu vant prova;
  • Propulsoare reactive – se bazeaza pe principiul actiunii si reactiunii. Acestea deplaseaza o masa de apa in sens opus inaintarii navei. Aici se incadreaza majoritatea propulsoarelor navale utilizate in prezent.

O clasificare sumara a propulsoarelor reactive poate fi facuta tinand cont de principiul de functionare. Astfel, propulsoarele se clasifica in:


  1. Roata cu zbaturi (Paddle wheels sau steam paddle)
  2. Propulsorul cu aripioare Voith-Schneider
  3. Propulsorul azimutal Schottel
  4. Propulsorul cu reactie sau cu jet (waterjet propeller)
  5. Propulsorul magneto-hidro-dinamic
  6. Elicea navala.

1.     Roata cu zbaturi


Navele dotate cu acest tip de propulsor au jucat un rol hotarator in trecut in segmentul navelor fluviale. In prezent sunt inlocuite de propulsoarele cu jet de apa. Mai se regasesc pe Mississippi sau Elba ca muzee sau cu intrebuintare exclusiv turistica.

Roata cu zbaturi este un propulsor rotativ cu ax orizontal-transversal

Zbaturile sunt de doua feluri: rigide sau articulate

Amplasarea rotilor cu zbaturi poate fi facuta in zona centrala (side-wheeler) sau la pupa (stern-wheeler). Cele cu roata in zona centrala au manevrabilitate crescuta, nava putand manevra numai cu o roata, cealalta fiind blocata.







Document Info


Accesari: 3374
Apreciat: hand icon

Comenteaza documentul:

Nu esti inregistrat
Trebuie sa fii utilizator inregistrat pentru a putea comenta


Creaza cont nou

A fost util?

Daca documentul a fost util si crezi ca merita
sa adaugi un link catre el la tine in site


in pagina web a site-ului tau.




eCoduri.com - coduri postale, contabile, CAEN sau bancare

Politica de confidentialitate | Termenii si conditii de utilizare




Copyright © Contact (SCRIGROUP Int. 2026 )