Documente online.
Zona de administrare documente. Fisierele tale
Am uitat parola x Creaza cont nou
 HomeExploreaza
upload
Upload


Impingerea pamantului asupra zidului de sprijin - definirea notiunii de impingere a pamantului


IMPINGEREA PAMANTULUI ASUPRA ZIDULUI DE SPRIJIN - DEFINIREA NOTIUNII DE IMPINGERE A PAMANTULUI

Proiectarea si executarea lucrarilor de infrastructura ale constructiilor, precum si lucrarile de sustinere a pamantului, sunt probleme complexe ale ingineriei geotehnice in calculul carora intervine ca actiune principala impingerea pamantului. Marimea impingerii pamantului si natura actiunii sale, depind de posibilitatile de deplasare si deformare ale constructiilor de sprijin dar si de caracteristicile fizico – mecanice ale pamantului din masivul sprijinit.



Dupa modul si directia de deplasare a elementului de sprijin, in raport cu masivul de pamant sprijinit, exista urmatoarele cazuri de manifestare a actiunii de impingere a pamantului:

- impingerea pamantului in stare de repaus, P0;

- impingerea activa a pamantului, Pa;

- rezistenta pasiva a pamantului Pp.

Actiunea de impingere a pamantului in stare de repaus, Po, se manifesta asupra elementelor de fundatii, sau de sprijin, care sunt absolut rigide, nu se deplaseaza si nu se rotesc sub actiunea de impingere a pamantului. Acest caz poate fi intalnit in cazul peretilor unui tunel, fig. 5.1. La nivelul de adancime z va actiona presiunea verticala sgz g z, data de greutatea coloanei de pamant numita si sarcina geologica. Aceasta presiune verticala va genera presiunea orizontala sgx, asupra peretelui vertical, care se exprima prin relatia:   

sgx = Ko sgz = Ko g z;             (2.1)

in care:            Ko – este coeficientul de impingere laterala in stare de repaus, avand valori

Ko = 0,40 0,70, in functie de natura pamantului.

Aplicand relatia de calcul 5.1 la partea superioara si cea inferioara a peretelui, se determina diagrama de presiuni din impingerea pamantului in stare de repaus care actioneaza pe peretele vertical considerat nedeformabil. Forta totala in stare de repaus, Po, care actioneaza asupra peretelui se determina prin calculul ariei diagramei de presiuni.

Atunci cand elementul de sprijin se poate deplasa, sau sufera o rotire, departandu-se de masivul de pamant sprijinit, pamantul sprijinit din spatele sau se destinde iar impingerea pamantului devine mai mica decat cea corespunzatoare starii de repaus.

Actiunea de impingere activa a pamantului se produce la desprinderea din masiv a volumului de pamant ABC, dupa suprafata de alunecare AC, volum care actioneaza direct asupra elementului de sprijin, pe suprafata AB. Experimental, s-a constatat ca suprafata de alunecare AC se formeaza la o deplasare D a elementului de sprijin de D = 0,001 H, moment in care se manifesta si impingerea activa a pamantului, Pa.

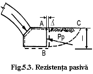
Rezistenta pasiva a pamantului, Pp, se manifesta atunci cand elementul de infrastructura al constructiei, sau de sprijin, are deplasari D inspre masivul de pamant, astfel ca elementul de fundatie exercita o compresiune asupra pamantului, pe suprafata de contact AB, fig.2.3. Rezistenta pasiva se manifesta atunci cand deplasarea elementului de sprijin este D’ = 0,01 H.

Marimea fortei sub care are loc ruperea si alunecarea prismului de pamant ABC, dupa suprafata BC, este egala cu rezistenta maxima opusa de pamant si reprezinta rezistenta pasiva a pamantului, Pp.

Pentru un pamant cu aceleasi caracte-ristici fizico – mecanice, aceleasi suprafete de sprijin, de aceeasi inaltime si de aceeasi forma, cele trei actiuni de impingere a pamantului se afla in urmatorul raport:

Pa < Po < Pp;                                           (2.2)





Document Info


Accesari: 7259
Apreciat: hand-up

Comenteaza documentul:

Nu esti inregistrat
Trebuie sa fii utilizator inregistrat pentru a putea comenta


Creaza cont nou

A fost util?

Daca documentul a fost util si crezi ca merita
sa adaugi un link catre el la tine in site


in pagina web a site-ului tau.




eCoduri.com - coduri postale, contabile, CAEN sau bancare

Politica de confidentialitate | Termenii si conditii de utilizare




Copyright © Contact (SCRIGROUP Int. 2025 )