RĪGAS TEHNISKA UNIVERSITATE
Būvniecības fakultate
Siltuma , gazes un ūdens tehnologijas institūts
![]()
![]()
![]()
Anotacija.
Bakalaura darba tēma ir “Gazes vadu pretkorozijas aizsardzība”.
Šinī darba tiek apskatītas apakšzemes gazes vadu aizsargašanas metodes no korozijam, tiek aplūkots jēdziens par korozijas procesiem, kuri ietekmē gazes vadu tehnisko stavokli (augsnes ietekmes korozija, klejojošas stravas vai elektrificēto transportlīdzekļu maiņstravas iedarbības ietekme).
Rezultata man sanaca diezgan interesanti secinajumi, ka var veikt pretkorozijas gazes vada aizsardzību.
Es ceru , ka mans darbs ir labi uzrakstīts , atspoguļo galvenos problēmas un arī labi paskaidrots , jo es uzrakstīju visu man zinamo par koroziju un to rašanas veidiem pazemes apstakļos.
Jēdziens par korozijas procesiem.
Ievads
Par metalu koroziju (no latīņu valodas varda corossio - saēšana ) sauc metalu patvaļīgu sairšanu apkartējas vides ķīmiskas vai elektroķīmiskas iedarbības rezultata.
Atkarība no gazes sastava, cauruļvada materiala, iebūves apstakļiem un grunts fiziski-mehaniskam īpašībam gazes cauruļvadi ir pakļauti iekšējai un arējai korozijai. Cauruļvadu iekšpuses korozija galvenokart ir atkarīga no gazes īpašībam. Korozija veidojas no citiem agresīviem savienojumiem. Cīņa ar iekšējo koroziju būtība nozīme agresīvo savienojumu atdalīšanu no gazēm un labaka gazes attīrīšana, vai antikorozijas slaņa uzklašana uz cauruļvada iekšējam sieniņam. Pēdējo paņēmienu pielieto retak, jo tehnoloģiskais process ir sarežģīts un ekonomiski neizdevīgs. Daudz vairak grūtības sastopamas pie gazes cauruļvadu arējo sienu koroziju. To sauc par augsnes koroziju.
Augsnes korozija iedalas uz :
1. ķīmisko koroziju ;
2. elektroķīmisko koroziju .
Ķīmiska korozija rodas iedarbojoties uz metalu dažadam gazēm 444j98e un šķidriem neelektrolītiem, ka arī sausa atmosfēra dažadu agresīvu vielu (O2, H2S, SO2 u.c.) klatbūtnē. Šaja gadījuma metala oksidēšanas process noris uz metala un gazes vai uz metala un šķidruma robežvirsmas. Metala elektroni saistas ar oksidētaju molekulam tieši to saskaršanas vietas. Metala oksidēšana un vides oksidējoša komponenta reducēšana notiek viena akta, neizraisot uz fažu robežvirsmas galvaniskas stravas rašanos.
Šados apstakļos metala oksidēšana
xMe+ yO MexOy
un uz metala virsmas izveidojas oksīdu plēve, kura var aizkavēt talaku oksidēšanas procesu.
Metalu oksidēšanas atrums ir atkarīgs no pašas ķīmiskas reakcijas atruma un arī no oksidētaja difūzijas atruma caur oksīdu plēvi. Plēves spēja aizkavēt oksidētaja difūziju ir jo lielaka, jo ta ir blīvaka. Oksīdu plēves blīvumu var raksturot ar oksīda tilpuma un oksīdu veidojoša metala tilpuma attiecību.
Oksīdu plēves aizsargajošas īpašības liela mēra ir atkarīgas no plēves mehaniskajam īpašībam – mehaniskas izturības, elastības, plastiskuma u.c. Visbiežakas aizsargajošas īpašības ir blīvai, pietiekami biezai, izturīgai un elastīgai oksīdu plēvei, kura ir cieši saistīta ar gluda metala virsmu un kuras termiskas izplēšanas koeficients ir vienads ar metala termiskas izplešanas koeficientu.
Tadas īpašības piemīt alumīnija, hroma, cinka un citu materialu oksīdiem. Šie metali jau zemas temperatūras parklajas ar blīvu, līdz 40 nm biezu oksīdu plēvi un, lai gan metalu ķīmiska aktivitate ir samēra liela, ir izturīgi pret koroziju. Arī dzelzs parklajas ar oksīdu plēvi, taču ta ir poraina un caur to pie metala virsmas samēra viegli piekļūst gaisa skabeklis. Tadēļ dzelzs izstradajumu virsmu termodifūzijas procesa bieži vien piesatina ar hromu vai alumīniju, kuri veido blīvu oksīdu plēvi un labi aizsarga izstradajumus no korozijas.
Elektroķīmiska korozija
Atšķirība no ķīmiskas korozijas elektroķīmiska korozija notiek vidēs, kuras vada elektrisko stravu. Metali saskaras ar elektrolītiem, ne tikai iegremdējot metalu šķīdumos, bet arī tiem atrodoties apkartēja atmosfēra. Atmosfēra vienmēr atrodas ūdens tvaiks, kas uz metala virsmas veido planu ūdens slanīti (no vienas līdz vairaku simtu molekulu biezuma). Atmosfēra esošas gazes ( CO2, SO2, slapekļa oksīdi u.c.) izšķīst ūdens slanītī, un ta rezultata metals ir kontakta ar elektrolītu šķīdumu.
Elektroķīmiska korozija pēc savas būtības atgadina procesus, kas norisinas īsi saslēgta galvaniskaja elementa, jo jebkurš tehnika lietojamais metals nav viendabīgs un satur dažadu metalu vai to savienojumu ieslēgumus. Ieslēgumi, kuriem ir pozitīvaks elektroda potencials, ir katodiecirkņi, bet ieslēgumi, kuriem ir negatīvaks elektroda potencials, ir anodiecirkņi. Potencialu starpību starp šiem iecirkņiem uztur savstarpēji saistīti nepartraukti anodprocesa un katodprocesa elementarakti, kuri parasti ir telpiski atdalīti. Šos procesus pavada elektronu un jonu parvietošanas noteiktos virzienos starp anodiecirkņiem un katodiecirkņiem.
Daži elektroķīmiskas korozijas veidi
Elektroķīmiskas korozijas veidi ir dažadi. Tie atkarīgi no vides, kada atrodas gazes cauruļvadi, ar kuriem iespējams korozijas process, no saskarē esošo metalu un citu vielu dabas.
Kontaktkorozija.
Korozijas atrums liela mēra ir atkarīgs no ta, ar kadu metalu dota caurule ir kontakta. Korozijas process noris tad, gazes cauruļvada aizsargparklajums ir bojats un konstrukcija saskaras ar ūdens šķīdumu vai mitru gaisu. Kontaktkorozijas pamata ir mikrogalvanisko paru darbība.
Kontaktkorozijas procesa uz gazes cauruļvadu virsmas pie anodiecirkņiem uzkrajas metala joni, bet pie katodiecirkņiem – OH- joni. Tiem savienojoties, rodas mazšķīstoši hidroksīdi. Tie parklaj cauruļvada virsmu, un līdz ar to notiek anodprocesa palēninašanas. Anods polarizējas, izrasiot korozijas stravas samazinašanos, un korozijas process kļūst lēnaks.
Apakšzemes korozija
Gazesvadu, ūdensvadu un citu apakšzemes maģistraļu vai konstrukciju korozija notiek, metalam tieši saskaroties ar grunti vai grūntsūdeņiem. Gruntī korodē pat augstvertīgu tēraudu konstrukcijas. Apakšzemes korozijas elektroķīmiska procesa cēlonis ir nevienmērīga gaisa skabekļa pieplūšana gruntī (dažada aeracija). Ta gazesvadu konstrukcijas daļa pie kuras ir lielaka O2 koncentracija, kļūst par katodiecirkni, ne ta konstrukcijas daļa, pie kuras skabekļa koncentracija ir mazaka, – par anodiecirkni. Skabeklis var piekļūt pie metala konstrukcijas atrazdamies šķidra fazē (ļoti mitra gruntī) vai gazes fazē caur grunts poram (sausa vai mazak mitra gruntī).

Zīm.1
Apakšzemes korozijas shēma :
1 – gaisu caurlaidīga grunts (smiltis), 2 – blīva grunts (mali), 3 – cauruļvads.
Ka redzams 1.attēla, anodiecirkni izvietoti zem blīvakas grunts daļas (mala). Apakšzemes korozijas procesi noris samēra lēni neitrala vai vaji sarmaina vidē, jo uz anoda uzkrajas grūti šķīstoši produkti ( hidroksīdi, baziskie saļi), kuri izraisa anoda polarizaciju un korozijas stravas ievērojamu samazinašanos. Sevišķi intensīvi apakšzemes korozija notiek skabas gruntīs
( pH<7).
Atmosfēras korozija ir metalu korozija mitra gaisa parasta temperatūra. Atmosfēras korozija praktiski nenotiek sausa gaisa ( relatīvais mitrums mazaks par 55%), lēni notiek vidēji mitra gaisa ( relatīvais mitrums 5570%) un visstraujak notiek mitra gaisa ( relatīvais mitrums lielaks par 90%). Koroziju veicina dažadi piemaisījumi (CO2, SO2, putekļi u.c.)
Korozija klaidstravu iedarbība
Klaiņojošo stravu avoti var būt tramvajs, metro, elektriskais dzelzceļš, elektrometinašanas ierīces, elektrolīzes vannas un citas iekartas, kuras izmanto līdzstravu un kuras iespējamas stravas noplūdes. Sevišķi lielas stravas noplūdes var rasties, ja elektriskajam dzelzceļam ka otru vadu izmanto sliedes. Noplūstoša strava var svarstīties no dažiem ampēriem līdz bīstamam stravas vērtībam – 100300 ampēriem. Arī maiņstravas noplūšana, var izraisīt gazes cauruļvada koroziju, bet korozijas atrums tad ir mazaks. Gruntsūdenī izšķīduša veida ir dažadas vielas – saļi, organiskas vielas, skabeklis, dažadi degšanas produkti u.c. Tadēļ gruntsūdens ir elektrolīts. Būtība korozija klaiņojošo stravu iedarbība ir elektrolīzes process, kura anods ir šķīstošs. Lai izprastu šo procesu, apskatīsim apakšzemes cauruļvada un tramvaja sliežu koroziju , pieņemot, ka gruntsūdenī ir izšķīdis tikai skabeklis un vide ir neitrala (pH=7).

Zīm.2
Klaiņojošo stravu iedarbība norisošas korozijas shēma :
1 – līdzstravas ģenerators, 2 – elektriska transporta vagons, 3 – sliedes,
4 – sliežu savienojums, 5 – apakšzemes cauruļvads.
Tramvaja sliežu savienojuma vietas var būt slikts elektriskais kontakts 4, kas rada lielu pretestību elektronu plūsmai. Tadēļ pirms sliežu savienojuma – 1. posma sliedes elektriskais potencials ir negatīvaks par tuvuma esoša cauruļvada potencialu. Līdz ar to sliede ir katods un neitrala vidē pie tas var notikt skabekļa depolarizacija, bet cauruļvads ir anods un uz ta virsmas var notikt dzelzs atomu oksidēšanas :
1.posms sliede K(-) O2+2H2O+4e- 4OH-
cauruļvads A(+) 2Fe – 4e- 2Fe2+
Stravas plūsmu starp sliedi un cauruļvadu nodrošina OH- un Fe2+ jonu parvietošanas pretējos virzienos. 2.posma slidē aiz savienojuma vietas elektronu koncentracija ir mazaka neka 1.posma. Savukart cauruļvada 1.posma dzelzs oksidēšanas reakcija atbrīvojušie elektroni parvietojas uz 2.posmu un cauruļvada potencials tur kļūst negatīvaks par sliedes potencialu. Šaja posma sliede ir anods, bet cauruļvads – katods. 2.posma noris šadas reakcijas :
sliede A(+) 2Fe – 4e- 2Fe2+
cauruļvads K(-) O2+2H2O+4e- 4OH-
Ka redzams, dotaja piemēra parmaiņas notiek gan sliedē, gan cauruļvada,
pie tam cauruļvadu korozija ir bīstamaka.
Korozijas aktivitate augsnē un elektriskie mērītaji.
Aizsargašanas veida izvēlei no apakšzemes gazes vadu korozijam nepieciešami noteikt koroziju aktivitati augsnē un klejojošo stravu izklīšanas raksturu gar gazes vada trasi. Augsnes korozijas aktivitate ir atkarīga no tas sastava, mitruma pakapes, gaisa piekļūšanas un elektronvadīšanas. Mitras augsnes aktīvak iedarbojas uz metalu neka sausas. Vislielaka koroziju aktivitate ir augsnēm ar mitrumu 12 – 13 %. Mitruma palielinašanas līdz 24 % noved pie augsnes korozijas aktivitates samazinašanas.

Augsnes korozijas aktivitates
novērtēšanai izvēlas tadu raksturojumu, kurš vienlaikus
ņem vēra visus galvenos faktorus. Par tadu pamata raksturojumu ir augsnes
elektriska īpatsvara pretošanas. Augsnes koroziju
aktivitati var noteikt ar lauku vai laboratorijas metodēm. Ar lauku metodi
gazes vada trasē pēc katriem 150 – 500m veic elektriska
īpatsvara pretošanas izmērīšanu augsnē. Šim
mērķim lieto četrelektrodu ierīces ar instrumentu MC – O8 vai
divelektrodu ierīci augsnes ommetram. Šo ierīču darbības
principa noslēgums ir līdzstravas caurlaide caur augsnē
noteikta attaluma novietotiem elektrodiem. Saņemtie pie tam
spēka nozīme un stravas
spriedze atļauj pēc Oma likuma noteikt augsnes elektrisko pretošanos.
3 zīmējuma attēlota principala augsnes
pretošanas spēju izmērīšanas shēma ar divu elektrodu
ierīces palīdzību.
Zīm.3
1-katodu elektrods; 2- līdzstravas avots; 3 – voltmetrs; 4 – ampermetrs; 5-anodu elekrods.
Izmērot pretošanas spējas uzgali novieto gazes vada starpplatnes dziļuma.
Augsnes īpatnējas pretošanas ;lieluma noteikšanai lieto formulu
![]()
kur p – augsnes īpatnēja pretošanas,
OM-M; U – baterijas elektriskais spēks V;
I – stravas spēks, A;
K – ierīces pastavīgais koeficients.
Iekšzemes rūpniecība ražo dažadas ierīces augsnes īpatnējas pretošanas lieluma noteikšanai. Ierīce MC –08 lietojama komplekta ar tērauda elektrodiem garuma 250 – 350 mm un diametra 15 – 20 mm.
Ierīce MC –OS lietota ampērmetra – voltmetra metode. Stravas avots ir līdzstravas ģenerators ar rokas ierīci caur reduktoru. Ampērmetrs un voltmetrs konstruktīvi izpildīti magnetoelektriska logometra veida, kas praktiski izslēdz ierīces uzradīšanas atkarību no ģeneratora griešanas atruma, tas ir izmēramas stravas spēks. Augsnes īpatnējas pretestības noteikšanai lietojama arī ierīce M – 416. Augsnes īpatnējas pretestības noteikšanas shēma ar ierīcēm MC –OS un M – 416 ir analoģiska.
Elektrisko īpatnējo pretošanos pa gazes vada trasi noteic ar intervaliem starp izmērīšanas punktiem 100 – 500m. Pēc augsnes īpatnējas pretestības lieluma noteikšanas, nosaka viņas vērtību pēc 1. tabulas.
1. tabula. Augsnes korozijas aktivitate atkarība no viņas īpatnējas elektriskas pretošanas.
|
Īpatnējas augsnes pretošanas |
Līdz 5 |
Vairak par 100 |
|||
|
Augsnes korozijas aktivitate. |
Visai augsta |
Augsta |
Paaugstinata |
Viduvēja |
Zema |
Jo augstaka ir augsnes elektriska pretošanas, jo mazaka ir viņas korozijas aktivitate. Augsnes elektriskas pretošanas lielums nav pastavīgs gada laika. Vislielaka pretestība augsnei ir vasara, bet vismazaka pavasarī un rudenī, lielakaja mitruma perioda. Augsnes vērtējumu noteic pēc augsnes vismazakas elektriskas pretestības gada. Augsnes korozijas aktivitates noteikšana ar laboratorijas metodēm visvairak izplatīta ir pēc masas zaudējuma noteikšanas parauga metodes. Priekš tam augsnes paraugu nolaiž speciala tērauda trauka, augsnē nolaiž cauruli izolētu no trauka un uzliek uz caurules pozitīvo potencialu. Uz trauka uzliek negatīvu potencialu. Pēc elektriskas iedarbības 24 h laika notiek parauga masas zaudējumi. JO lielaks ir parauga masas zaudējums, jo lielaka ir korozijas aktivitate izpētes augsnē.
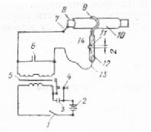
Gazes vadu koroziju noteikšanai lieto elektriskos mērītajus ar specialu ierīču palīdzību, ko pievieno specialajiem vadītajiem, kurus sauc par kontrol – izmērītajiem punktiem. (zīm. 4.) Shēmas –4 un 5.
Kontrol-izmçritaju punkts

1-vaks ;2-uzgrieznis ;3-paplaksne ; 4-uzgrieznis ; 5-starplika ; 6-tekstolitu ieliktnis ;7-vaditajs ; 8,10 –apvalks ; 9-izolacija ; 11- piltuve ; 12, 15-bitums ; 13-paklajs;
14-betonu poduðka ; 16- minusu aizspiednis ; 17- plûsu aixspiednis; 18- gazes vads.
Kontroles izmērītajus punktus novieto uz gazes vadiem pēc katriem 200m, ka arī gazes vadu krustojuma ar elektrificēta transporta sliežu ceļu tais vietas, kur gazes vads iet caur ūdens šķēršļiem 50m platuma un vairak. Ja gadījuma nav kontrolizmērītaju punktu, drīkst lietot izmērīšanai aizbīdņus, kabeļa vadus un citus priekšmetus uz gazes vadiem.
5. zīmējuma paradīti potencialu starpības izmērīšanas paņēmieni.

Korozijas bīstamības vērtējumu gazes vados un klejojošo stravu var noteikt pēc sekojošiem radījumiem: klejojošas stravas daudzums zemē; potencialu starpība starp gazes vadu un (zemi) elektrificēta transporta sliedēm un citam blakus esošam būvēm; stravas lielums un virziens gazes vada; stravas blīvums, kurš tek no gazes vada zemē.
Gazes vada potenciali attiecība uz zemi tiek mērīti ar voltmetru, kurus pieslēdz gazes vadam un piezemētam elektrodam. Potencialu visīsakais izmērīšanas ilgums katra punkta ir 20 min ar intervalu starp radījuma pierakstiem 5s. Izmērīšanas rezultatus pieraksta protokola. Pēc tam saskaita pozitīvo un negatīvo radījumu summu, noteic viņu vidējo nozīmi, dalot vienas zīmes potencialu summu ar vidējo ierīces radītaja summu. Saņemtas potencialu maksimalas, minimalas un vidējas nozīmes pieraksta kopsavilkuma saraksta, pēc kura veido potencialas diagrammas.
Sakara ar pastavošiem drošības noteikumiem, noteicot koroziju uz gazes vada zonam, gazes vada īpašniekam tas ir jalikvidē vai jalieto aizsargierīces pret korozijam uz gazes vadiem. Ja uz apakšzemes gazes vadiem anodos zīmes mainīgas zonas pozitīvo potencialu vidēja starpība neparsniedz 0.1 V, gazes vadu elektrisko aizsargašanu veic planveidīgi. Ja anodu un zīmesmainīgas zonas, klejojošas stravas rezultata, vidēja pozitīvo potencialu starpība 'gazes vads - zeme' ir no 0.1 līdz 0.5 V, tad elektrisko gazes aizsargu izpilda gada laika no gazes vada būves sakuma. Ja vidēja pozitīvo potencialu starpība parsniedz 0.5 V, tad elektrisko aizsargu veic 6 mēnešu laika.
Pēc gazes vada ekspluatacijas sakuma vajag periodiski izmērīt elektropotencialus.
Pozitīvo potencialu atrašanas gadījuma papildus noteic potencialu starpību starp gazes vadu, elektrificēto ceļu sliedēm un citam apakšzemes būvēm. (skat. 54 zīm.)
Klejojošo stravu virzienu gazes vada noteic ar milivoltmetriem, pieslēdzamiem gazes vadam. Ja ierīces radītajs noliecas pa labi, var darīt slēdzienu, ka pozitīvais potencials uz ta paša gazes vada punkta, kuram pieslēgts pozitīvais ierīces polus. Bet ta ka strava tek no punkta ar pozitīvo potencialu uz punktu ar negatīvo potencialu, tad pie radītaja nolieces pa labi stravas kustības virziens būs no labas puses uz kreiso.
Stravas stiprumu, kas plūst pa gazes vadu, var noteikt pēc formulas

kur U - sprieguma kritiens sektora
r - izmērama gazes vada iecirkņa pretošanas.
Pretošanas r notiek pēc formulas

kur R - gazes vada
īpatnēja pretošanas,
L - mērama gazes vada garums, M;
D - gazes vada diametrs, mm;
d - gazes vada sienas biezums, mm.
Ja ir zinama gazes vada 1m pretošanas, tad visparējo pretošanos sektora var noteikt pēc formulas
r=Rl
kur L - īpatpretošanas, parasti tēraudam pielīdzinama 0,140 m-mm2/m;
l - izmērama gazes vada sektora garums, m.
Klejojošas stravas iedarbības zonas noteikšanai sastada kopīgas gaze4s vadu potencialas diagrammas un tai pieguļošas elektrificēto ceļa sliedes pēc kopīgam gazes vadu un sliežu shēmam. Pēc gazes vadu un sliežu potencialu izmērīšanu attiecības uz zemi, sastada kopīgu to potencialo diagrammu.
Pēc izmērīšanas rezultatiem noteic gazes vadu pozitīvo un negatīvo potencialu vidējo nozīmi. Pēc šīm ziņam rasē gazes vada potencialu diagrammu. Uz doto ziņu pamata par augsnes korozijas aktivitati un elektrisko mērījumu rezultatiem uz gazes vada izvēlas gazes vada korozijas aizsarglīdzekļa veidu.
3. Gazes vadu aizsargašana ar izolacijas segumu.
Apakšzemes gazes vadus aizsarga no augsnes korozijas un no korozijas, kas rodas klejojošo stravu rezultata, divējadi: ar pasīvo un aktīvo. Pasīvais veids rodas gazes vadu izolējot no kontakta ar apkartējo grunti un klejojošo stravu iekļaušanas norobežojuma no apkartējas vides. Aktīvais veids rodas veidojot gazes vada aizsargpotencialu attiecība uz apkartējo vidi.
Visiem tērauda gazes vadiem, kas liekami augsnē, vajadzīgi attiecīgi aizsardzības līdzekļi, tadi ka bitummineralie segumi ar ietinamiem stikla šķiedras materialiem; segumi no polimēru materialiem, uzliekami lentu veida vai pulverveida stavoklī un citi aizsarglīdzekļi atbilstoši prasībam.
Tēvijas praksē (atkarība no augsnes korozijas aktivitates) lieto trīs cauruļu veidus: normalo, stipro un stiprako.
Uz tērauda gazes vadiem, lies liekami augsnē pilsētu, apdzīvoto vietu un rūpniecības uzņēmumu tuvuma, uzliek aizsarglīdzekļa segumu sevišķi stipru. Gazes vadu sektoriem, izgaztuvēm, švakam, dzelzceļa un automobiļu ceļiem, ūdens šķēršļiem un upēm vajadzīga īpaši stipra izolacija, neatkarīgi no augsnes korozijas aktivitates. Pretkoroziju aizsarglīdzekļa segumiem vajag: būt blīvam, ķīmiski noturīgam, mehaniski stipriem un noturīgiem, lipīgiem, elastīgiem un ūdensnoturīgiem.
Parauga konstrukcijas un aizsarglīdzekļa seguma biezums ir atkarīgs no izolacijas un viņas nozīmes (tab. 2.)
2. tabula. Sevišķi stipro izolacijas segumu konstrukcijas.
|
Aizsargajamie seguma slaņi. |
Slaņu biezums. |
Kopējais biezums un pieļaujamais novirziens. |
|
Iegruntēšana, bitumgumijas, bituma polimēra, bituma – mineralmastika. Segums no stikla dranas, bituma – gumijas, bitumpolimēra vai bituma minerala mastika. Segums un stikla dranas, bituma – gumijas, bituma polimēra vai bituma minerala mastika. |
Īpaši stipras izolacijas konstrukcija no polimēra lentēm sastav no sekojošiem slaņiem ar biezumu mm:
Iegruntēšana – 0.1
Lipīga lenta trīs slaņos – 1.1
Arējais segums – atkarīgs no materiala.
Aizsargseguma pirmais slanis ir iegruntēšana, to lieto izolacijas lipīguma vairošanos uz gazes vada virsmas. Gruntēšana ir bituma maisījums ar benzīnu šadas proporcijas: 1:3 (pēc apjoma). Gruntēšanas sagatavošanai ir vajadzīgi IV markas bituma gabali vai III un V bituma maisījumus ielikt katla, sildīt līdz temperatūrai 200 C un izkausēt, pēc tam izkausēto bitumu turēt aukstuma līdz 70 C, ieliet ar tievu strūklu benzīna un samaisīt. Liet benzīnu bituma kategoriski aizliegts, jo tas var beigties ar nelaimes gadījumu. Izolēta seguma noturības palielinašanai bituma pieliek dažadas lietas: gumijas gabalus, dolomitizeto kaļķakmeni, asfalta kaļķakmeni, dolomītu. Tadu maisījumu sauc par bituma maisījumu (mastiku). Pie arējas gaisa temperatūras 5 C un zemakas bituma mastikas pieliek plastifikatorus (līdz 5% pēc masas), kas dod viņai noteikt plastikas īpašības.
Pilsētas apstakļos cauruļu izolaciju veic cauruļu izgatavošanas bazēs. Uz gazes vada trases izolē tikai metinašanas savienojumus un labo atsevišķas bojatas izolacijas vietas.
Izolacijas seguma kvalitate ir atkarīga no bituma masas sagatavošanas tehnoloģijas. Šo darbu veic sekojoša kartība: Bituma katlu ar ¾ viņa tilpuma pieliek ar bituma gabaliem un pakapeniski silda to līdz 150 C. Pastavīgi maisot, katla pieliek piepildījumu un silda līdz 18 C, pēc tam mastika ir gatava, lai ieziestu cauruli. Ja mastika rodas burbuļi un putas, tad tas liecina par to, ka viņa ir mitrums. Šinī gadījuma mastiku vajag varīt pie t C līdz mitruma izzušanai. Gatava mastika var atrasties katla ne vairak par stundu.
Gazes vada izolacija notiek sekojoša kartība. Izolējamo gazes vadu tīra no rūsas un sarņiem līdz metaliskam spīdumam ar cauruļu tīramo mašīnu. Pēc tam gruntē biezuma no 0,1 – 0,2 mm. Dažadiem seguma veidiem lieto dažadus gruntēšanas sastavus. Segumiem uz bituma pamata lieto bituma gruntēšanu, segumiem ar plastmasu lentēm – gruntēšana no līmes, kas izšķīdinata benzīna.
Pēc tam, kad gruntējums izkaltis, uz gazes vadiem liek bituma mastiku. Izolacijas segums uz bituma pamata ir sekojoša kartība viens uz otra uzlikti bituma mastikas slaņi. Nodrošinajumam bituma mastikas seguma slaņus aptin ar rulona materialu (stikla dranu). Seguma aizsargašanai no t maiņas iedarbības no apkartēja gaisa, ka arī no mehaniskiem bojajumiem, pēdējo bituma slani aptina ar kraft-papīru. Izolacijas darbu veikšana tiek uzticēta stradniekiem, kuri ir ieguvuši specialas zinašanas un bijuši medicīniskaja apskatē. Bituma mastiku nogada specialajos parvietojamos katlos, samontētus uz vienas ass piekabes. Pēc katlu novietošanas tos stingri piestiprina, lai nenotiktu apgašanas. Katlus novieto 40 – 50m attaluma no tuvakajam majam un celtnēm.
Nedrīkst varīt un parnest bitumu lietaina laika, jo var būt izkausēta bituma izmešanas gadījumi no trauka mitruma iekļūšanas gadījuma. Bituma mastikas parnešanai no katla līdz daba vietai ir vajadzīga speciala lejkanna ar aiztaisamu vaku. Lejkannas japiepilda līdz ¾ tilpuma ar kausa palīdzību, kam ir garš rokturis. Bituma mastikas un gruntēšanas darbs, liešana, parliešana stradniekiem ir jaizpilda specapģērba, brezenta cimdos, adas apavos un aizsargbrillēs. Gruntēšanai lietojamo benzīnu vajag turēt (slēgtos hermētiski slēgtos traukos un atrasties ne mazak par 30m no varama katla.
Pēdējos gados izplatītas polimēra izolacijas segumi, kuri tiek ražoti lipīgi lentu veida (40/g 450 mm platuma, līdz 0.3 mm biezuma). Izolacijas segumus veida no gruntslaņa un vairakiem lipīgas polimēra lentes slaņiem. Pie tam vienslaņu segumi atbilst normalajai, divslaņu – pastiprinatajai, trīsslaņu – sevišķi stiprai izolacijas konstrukcijai. Polimēru lentas uz gazes vada uzliek uzreiz, tiklīdz izkalst gruntējums.
Polivinilhlorīda lentu liek uz gazes vada pie gaisa temperatūras ne zemak ka 5 C. Pie negatīvas temperatūras (līdz mīnus 5 C) izolaciju var likt tikai pēc rulona uzturēšanas silta telpa ne mazak par diennakti.
Ražošanas darba procesa nepieciešams sekot tam, lai būtu ievērota pareiza apmetne un uz seguma nerastos grumbas, burbuļi. Defekta rašanas gadījuma lentu nepieciešams attīt, novērst defektus un atkal aptīt. Pie vienslanīga seguma aptīšanas apmetnēm jabūt 2 – 2.5 cm. Pie divslanīga seguma tinamas lentas apmetnei uz agrak uzlikta vijuma veido 50% lentas platuma plus 2 cm.
Aizsargajamo tinumu ar dažadiem rulona materialiem arī nepieciešams izpildīt ar vīteņu aptinumiem. Aizsargajama aptinuma galus vajag stingri pielīmēt ar karstu bituma mastiku vai līmi.
Polimēra lipīgas lentas kalpo cauruļu savienojumu aizsargašanai, kas ir izolētas ar bituma segumiem, ka arī izolacijas cauruļu remontdarbu ražojumam ka ar bituma segumu, ta arī ar segumu no polimēr lentam. Parastas polimēru lentas derīgas tikai darbam vasaras perioda. Ziemeļu rajoniem izstradatas un ir lietojamas aukstuma iecietīgas lentas PBC CL un PBC LML markas. Lemtu PBC CL izgatavo no polivinilhlorīdas plastikas, kas ir parklata ar līmes slani un lieto temperatūras līdz -20 C. Lipīgo polivinilhlorīda lentu PBC LML drīkst lietot pie t režīma no 50 līdz mīnus 60 C, bet uzlikt to uz gazes vada var tikai pie gaisa temperatūras līdz mīnus 40 C.
Visiem materialiem, kuri tiek lietoti izolacijas lentu ražošanai, ir jabūt pasēm vai citiem dokumentiem, kuri liecina par to kvalitati. Ja tadu dokumentu nav, tad nepieciešami veikt materialu laboratorijas izpēti. Uzlikto uz caurules izolaciju parbauda: uz tranšejas (lipīgums, vienmērīgums un biezums uz visas caurules); pēc caurules nolaišanas un apbēršanas ar grunti 20 – 25 cm (tieša kontakta trūkums starp caurules metalu un grunti). Arēji apskatot augsni un izolaciju, parbauda seguma vienmērīgumu un gludumu ka arī meklē bojatos sektorus.
Bituma izolacijas biezuma parbaude ne retak ka pēc katriem 100 m un ne mazak ka četros punktos caurules apkartmēra. Bituma seguma lipīguma parbaudi caurulei un savienošanas blīvumu, kas palielina savienošanos ar bituma mastiku, ražo pēc pieredzes bīstamas ekspluatacijas vietas, veikto pa divam savienotajam leņķa 60 līnijam. Ja seguma kvalitatē apmierinoša, tad izolaciju ļoti grūti atdalīt no caurules, bet spēcinošo materialu – no bituma. Parbaudot izolacijas seguma kvalitati ar polimēra lentē parbauda: lentu lipīgumu viena pie otras un caurules virsmas, uzmetņa platumu, slaņu skaitu, vai nav grumbuļu un burbuļu, kontaktu starp caurules metalu un augsni; izolacijas seguma vienmērīgumu.
Lentu lipīgumu gazes vadam noteic atraujot tas pēc diennakts. Pirms tam apseguma izdara divus iegriezumus ar nazi pēc leņķa 60 ; ja lentu slaņi paši par sevi neizplūst, bet pacelt ar nazi var tikai ar pūlēm, lipīgumu uzskata par labu esam. Lentu lipīgumu parbauda pēc katriem gazes vada 100m, ka arī pēc izvēles (vairak bīstamas vietas).
Vienmērīguma parbaudi gazes vadu aizsarglīdzekļu segumam, kas nav apbērti ar zemi, veic ar defektoskopiem Lengasa, Orggasa, BHИИCTa (ДИ – 64. ДИР-69) un citam konstrukcijam, bet gazes vadus apbērtus ar zemi – izolacijas bojajuma meklētajus tipa ИРИТ vai ИР-60.
Apskatīsim darba principu izplatītakajas (vietas) ierīcēs.

6. zīmējuma ir
principala defektoskopa shēma gazes vada izolacijas
kontrolei.
Darbu izolacijas bojajumu noteikšanai veic sekojoša kartība. Aizsargajamam gazes vada galam 8 piestiprina augstspriedzes vadu 7. Elektrisko defektoskopa ķēdi savieno ar izslēdzēju 1. 9. defektoskopa meklētaju liek virs caurules 8 un parvieto gar to. Sliktas izolacijas vietas radīsies dzirksteles
sitiens, kas fiksēsies ar signala neona lampu 14, kas ir iemontēta rokturī 12.

Izolacijas bojajumu meklētaja principala shēma ИПИТ paradīta 7. zīmējuma.
Darba ierīces principa slēdziens ir tads, ka uz gazes vada 7 dod elektrisko stravu, kura satek no gazes vada augsnē tajas vietas, kur ir bojata izolacija. Šī strava atgriežas uz ierīci caur piezemēto elektrodu. Tajas vietas apkart gazes vadam, kur strava satek augsnē, rodas elektriskais laiks, kuru fiksē divi indikatoru elektrodi 6 un nodod attiecīgos signalus spolei 5. Pēc maksimalas skaņas var noteikt bojajuma vietu. Pēc tam ķeras pie izolacijas bojato vietu labojuma.
4.Elektriskas metodes gazes vadu aizsargašanai.
Galvenas elektriskas metodes (apakšvadu) apakšzemes vadu pasargašanai no korozijam klejojošo stravu dēļ ir elektriska drenaža, katodu, protektora aizsargs. Elektrodrenažas aizsargs. Par elektrisko drenažu sauc organizēto klejojošas stravas novirzi no gazes vada uz viņas (pusi) avotu. Lieto sekojošos elektriskas drenažas veidus: taisnas, polarizētas un pastiprinatas.
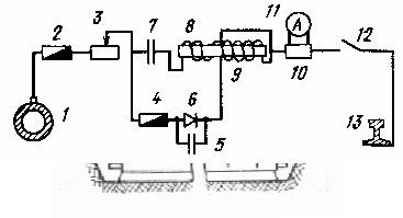
Katra no šīm drenažam veicama ar gazes vada savienošanu caur drenažas ierīci ar dzelzceļa sliedēm. Tiešai drenēšanai ir divpusīga novadīšana, tapēc to var lietot tikai sektoros ar stabilu anodu potencialu, tas ir tais gadījumos, kad ir izslēgta stravas notecēšanas iespēja no sliedēm. Polarizētai drenēšanai ir vienpusīga novadīšana. Pie šī veida drenēšanas ka likums pieslēdz pie dzelzceļa sliedēm, lai novadītu klejojošas stravas. Drenažas ar pastiprinatu enerģijas avotu sauc par pastiprinatam. Viņas lieto pie neievērojamas potencialu starpības starp sliedēm un aizsargajamam celtnēm, pie pozitīvas polarizacijas uz sliedēm, arī tad, kad kabeļa cena ir lielaka par gada ekspluatacijas (cenu) patēriņiem. Viņas ir apakšzemes gazes vadu galvenais aizsarglīdzeklis no elektroķīmiskas korozijas. Viena tada ierīce var aizsargat gazes vadu 6 km garuma. Principala pastiprinata drenažas shēma paradīta 8. zīmējuma.

Drenažas princips ir sekojošs:
Pozitīva potenciala rašanas gadījuma uz gazes
vada 1 attiecība uz sliedēm 13 strava iziet caur aizsargu
2, pretošanas 3, aizsargs 4, diods 6, tinums9, šunts 10 un
svirslēdzis 12 uz sliedēm 13.
Stravas kustība turpinasies, kamēr potencialu starpība nesasniegs 1 – 1.2 V, pretēja gadījuma strava tek ne caur tinumu S, bet pa nozarojumu – caur kontaktiem 5k pie dioda 6.
Drenažu ķēde partrūkst samazinoties potencialu starpībai līdz 0.1 V kontaktu atslēgšanas pēc. Ja sliežu potencials būs lielaks par caurules potencialu, tad diods 6 nelaidīs cauri stravu. Pastiprinatajs drenažas lietojamas tajos gadījumos, kad ir vairaki klejojošo stravu avoti, pie ievērojamas aizsargajama gazes vada paziešanas no elektrificētas dzelzceļa līnijas sliedēm, pie novērojamiem un zīmju maiņstravas potencialiem uz sliedēm. Tadu drenažu lietojums ļauj ievērojami samazinat drenaža kabeļa diametru.
Gazes vadu katodu aizsargs no korozijam notiek uz katodu polarizacijas rēķina ar arējam avota stravas palīdzību.
No pastavīgas stravas 5 speciala avota uz gazes vadu ved negatīvs potencials. Tada veida aizsargajamo gazes vada sektoru makslīgi parvērš par katodu zonu. Anodu zonu veido ap gazes vadu ieraktie elektrodi, (grafīta, čuguna, grafitoplastiskie), kurus pieslēdz līdzstravas pozitīvajiem avota polam caur kabeli 4. Šinī gadījuma stravas kustība notiks no pozitīva avota pola pa kabeli 4 uz anoda iezemojumu 6, bet no ta augsnē un caur bojatiem gazu vada I sektoriem uz aizsargajamo gazes vadu. No gazes vada strava plūst pa kabeli 4 uz avota negatīvo polu. Rezultata notiks pakapeniska nevis gazes vada, bet elektrodu sabrukšana. Pilsētas apstakļos par līdzstravas avotiem kalpo katodu aizsargstacijas, kas pieslēgtas pie maiņstravas tīkliem.
Ka liecina pieredze katodu aizsargs ir efektīvs maģistralajos gazes vados, kuru pieļaujams augsts aizsargpotencials. Pilsētas apstakļos, kur aizsargpotencials ir ierobežots, vienas katodu stacijas aizsargzonas labvēlīgos apstakļos (blakus nav komunikaciju) sastada 0.5 – 1 km gazes vada garumu. Tapēc pilsētas gazes vados katodu aizsargu lieto tad, ja ir liela augsnes koroziju aktivitate vai kompleksa aizsarga ne tikai gazes vadiem, bet arī visam blakus esošam metala būtnēm.

Protektoru aizsargs pamatojas uz to,
ka aizsargajama gazes vada katodu polarizacija sasniedzama
pieslēdzoties tam anodu iezemojumus (protektorus no metala), kam
negatīvo elektroķīmisko potencialu augsnes vidē ir
vairak neka pašam gazes vadam. Protektoru aizsarga
principala shēma ir paradīta 10.
zīmējuma.
Viņas darbības princips noslēdzas ar to, ka materialiem, no kuriem izgatavoti protektori (alumīnijs, cinks, magnijs) ir vairak negatīvs potencials, neka aizsargajama gazes vada caurules materials (tērauds), ka rezultata klejojošas stravas pariet no gazes vada uz protektoru. Tada veida rodas slēgta sistēma: gazes vads – savienojošais kabelis – protektors – augsne. Klejojošas stravas kustēsies pa šo slēgto riņķi līdz tam laikam, kamēr nesabruks protektors. Par šīs sistēmas negatīvo polu (katodu) ir gazes vads, bet par pozitīvo polu (anodu) – protektors. Protektorus novieto līdz 4.5 m attaluma no gazes vada. Lielu izplatīšanos piedzīvoja protektori MTA tipa (magnija, galvanija anodi) no kausējuma МЛ un ВЛ-5. Vidējais protektoru kalpošanas laiks ir 8 – 10 gadu – masai līdz 10 kg. Protektorus lietderīgi lietot gazes vadu aizsargašanai pret korozijam neizolētos futlaros u.c. Gazes aizsargzona ar vien protektora palīdzību sastada 25 – 30m .
Elektriska sekcionēšana. Papildus elektriska aizsarga ierīcei lieto elektrisko sekcionēšanu. Šīs aizsargmetodes būtība ir ta, ka gazes vadu sadala atsevišķas sekcijas ar starpsienu izolējošo ieliktņu montažu, kuri zinama mēra ierobežo klejojošo stravu zonas darbību.

Šim nolūkam kalpo
izolacijas flanci. 11. zīmējuma paradīta
izolējoša flanca ierīce uz gazes vada.
Klejojošo strava panakama ar divflancu savienošanu, kura starp flanciem atrodas izolējošais ieliktnis (Zem katras skrūves un izolējošas paklatnes ir ieslēgtas).
Izolējošos flancus liek akas kopa ar atslēdzamajam ierīcēm. Apakšzemes gazes vadiem efektīvaks ir kompleksa aizsargs no korozijam, kas apvieno pasīvo un aktīvo aizsargmetodi.
5.Aizsargierīču ekspluatacija.
Elektroķīmisko aizsarglīdzekļu ekspluataciju pret korozijam un periodisko koroziju stavokļa apskati apakšzemes gazes vados izpilda specializētie kantori. Apakšzemmetalaizsargs, gazes saimniecību uzņēmumi, kuru sastavi ir iemacīti un izglītoti cilvēki ar atļauju stradat tada veida darbus stradnieki un inženiertehniskie darbinieki. Periodiskums un darba apjoms apseko koroziju stavokli apakšzemes gazes vados, novadot tehnisko apkalpi, efektīvas iedarbības parbaude, daba režīma regulēšana tiek veikta pēc noteiktiem noradījumiem “Instrukcija par pilsētu apakšzemes cauruļu vadu aizsargašanu no elektroķīmiskas korozijas” (M: Strojizdat 1982).
Atrodot gazes vadu korozijas bojajumu, notiek viņu stavokļa vērtējumu kantora Apakšzemmetalaizsargs (Подземметаллзащита) parstavim piedaloties un sastada aktu par koroziju apsekošanu pēc noteiktas formas. Tekošo un kapitalo darbu remontu apjomu un grafiku noteic ik gadu sastadītais un attiecīgo organizaciju apstiprinatais plans.
Aizsargierīču tekošais remonts tiek veikts pēc nepieciešamības, bet ne retak ka 1 reizi gada. Tas satur sekojošos darbu veidus:
visas tehniskas apkalpes operacijas; skapju krasa un ierīču apkalpe; stravas līniju remonts; elektrisko ierīču bojajumu novēršana.
Kapitalais remonts. Elektrisko ierīču aizsardzības kapitalremontu veic tehniskas apkalpes līguma pamata, kas veic darbus, saistītus ar galveno mezglu maiņu aizsargierīcēs. Apskatot elektroķīmiska aizsarga ierīci, veic sekojošos darbus:
a) pēc protektora aizsarga; parbauda kontaktu blīvumu, mehaniskos un citus bojajumus kontaktu ierīcēs,
b) pēc drenaža aizsarga: parbauda kontaktu blīvumu, dažadu bojajumu neesamību, aizsargu un kontaktu releju stavokli, ka arī tīra drenažu no netīrumiem, tīra kontaktus un maina aizsargus,
c) pēc katodu aizsarga: parbauda kontaktu blīvumu, ierīces tehnisko stavokli, vajadzīgo stravas spriedzi.
Kontrolējot samērus veic sekojošos darbus:
a) pēc protektoru aizsarga: izmēra gazes vada potencialus attiecība uz zemes dažadu režīmu darbos, (atslēgtu un ieslēgtu aizsargu) stravas stiprumu, ķēdē tekošo protektoru – gazes vadu; pretošanas ķēdē protektors – gazes vads,
b) pēc katodu aizsarga: izmēra stravas stiprumu ķēdē, enerģijas avota spriedzi un gazes vada potencialus attiecība uz zemes aizsargajamo gabalu,
c) pēc drenažas aizsargašanas: izmēra stravas virzienu un stiprumu; potencialu starpību starp gazes vadiem un sliedēm, kur iedarbojas polarizēta drenaža, ka arī gazes vada potencialus attiecība uz zemi aizsargajama josla; parbauda kontrolsignala darbu;
d) pēc izolējošiem caurules atlokiem: izmēra potencialu starpību starp gazes vadu un zemi izolēto atloku uzstadīšanas vieta, noteic stravas stiprumu un virzienu, vienlaicīgi izmēra gazes vada potencialus attiecība uz zemi pēc kontroles slēdziena abam izolēto atloku pusēm.
Potencialu izmērīšanas rezultatus uz gazes vadiem un aizsargbūvju kontaktierīcēm atzīmē speciala žurnala.
Darbu elektrisko aizsardzības ierīču apkalpošana var veikt tikai stradnieki ar specialu sagatavošanos un apliecību par elektroierīču (līdz 1000V spriedzes) apkalpošanas atļauju. Elektrības izmērīšanu aizsargajot elektrokoroziju, veic brigade, kura ir ne mazak par dieviem cilvēkiem, no kuriem viens ir nozīmēts par vecako.
Izmērot elektrību uz automobiļu braucama ceļa un uz elektrificēta transporta sliedēm vienam no stradniekiem vajag novērot transporta kustību un sekot darba drošībai. Ilgajos mērīšanas darbos nepieciešamas ierīces droša zona pieslēdzot tas kontrolpunktiem ar speciala kabeļa palīdzību, izolēto vai slēgto gumijas cauruļu vada.
Potencialu izmērīšanai caur gazes vadu elementiem, kuri ir akas vai kolektoros, aku vakus, koverus un lūkas nepieciešami atvērt ne ar roka, bet ar specialu aķīti. Pēc aku vaku un kolektoru atvēršanas nepieciešami ar gazes analizatora palīdzību parbaudīt, vai tie nav piepildīti ar gazi. Gazes atrašanas gadījuma nolaišanas akas un kolektoros elektromērīšanas operaciju nolūkos ir aizliegta.
Nolaisties aka drīkst tikai ar apsietu jostu un piestiprinatu pie ostas lencēm virvi.
Otrais virves gals ir jatur stradniekam, kurš atrodas augša. Aizliegts tīrīt metala skapjus no sniega, dubļiem putekļiem ar kailam rokam, ka arī aizskart drenažu un protektoru elektriskas daļas, iepriekš neatslēdzot no enerģijas avota.
Secinajums
Mana bakalaura darba tēma ir par pazemes gazes vada koroziju , par to veidiem un rašanas iemesliem .
Darba tika apskatītas dažadas korozijas veidi (ķīmiska un elektroķīmiska), ko arī to rašanas veidi . Vēl es aprakstīju dažadas aizsardzības metodes , ka var labak aizsargat gazes vadus no korozijas un kas ir jadara bojajumu gadījuma . Aprakstīju arī veidus , ka parbaudīt gazes vada kvalitati . Kontroles veidi arī tika aprakstīti .
Visvairak šaja darba ir par elektroķīmisku koroziju un to veidiem .
Viss augstak aprakstītais ir mana darba mērķis un to visu jūs atradat mana darba .
IZMANTOTAS LITERATŪRAS SARAKSTS
, 1987 , c
Е. И. Яковлев “Современные методы диагностики магистральных газопроводов” изд. “Недра” Ленинград , 1987 .
i
Н. Л. Стаскевич , Г.Н. Северинец , Д. Я. Вигдорчик “Справочник по газоснабжению и использованию газа” изд. “Недра” Ленинград , 1990 .
V. Brunere , L. Kamzole, A. Blūms, J. Kacens , “Ķīmija augstskolu inženiertehniskajam specialitatēm” , izd. “Zvaigzne” 1986, parstradats .
|