UNIVERSITATEA TEHNICA DIN CLUJ-NAPOCA
FACULTATEA DE MECANICA
SPECIALIZAREA MECANICA FINA
PROIECT
MASURAREA TEMPERATURILOR
1.1. Notiuni generale
Temperatura este o marime de stare termica ce caracterizeaza gradul de incalzire al corpurilor .
Pentru masurarea temperaturii se recurge la un corp termometric ale carui proprietati fizice variaza cu temperatura. Indicarea temperaturii se obtine prin stabilirea echilibrului termodinamic intre corpul al carui temperatura se doreste a fi stabilita si corpul termometric, stare in care, transferul de caldura dintre acestea se anuleaza.
Metodele si aparatele folosite pentru masurarea temperaturii se clasifica in functie de proprietatea fizica a corpului termometric utilizata in acest scop. In general, se foloseste variatia urmatoarelor proprietati fizice ale materialelor sau corpurilor termometrice functie de temperatura:
-variatia dimensiunilor liniare ale unor corpuri solide cu temperatura (termometre cu tub si tija, termometre cu lama bimetalica);
-variatia volumului functie de temperatura a unor lichide in tuburi capilare (termometre cu lichid);
-variatia presiunii functie de temperatura a unor vapori, gaze sau lichide aflate intr-un volum inchis (termometre manometrice);
-variatia functie de temperatura a rezistentei electrice a unor conductoare (termorezistente) si semiconductoare (termistoare) (traductoare termorezistive);
-aparitia unei tensiuni termoelectromotoare (t.t.e.m.) la capetele libere a doua conductoare diferite, sudate intre ele, cand sudura se afla la temperatura de masurat iar capetele libere la o temperatura cunoscuta si constanta (termocupluri);
-actiunea termica si distributia spectrala a energiei radiate de un corp incalzit (pirometre optice cu radiatie totala, pirometre optice cu benzi de radiatie, pirometre spectrale si pirometre cu dispersie sau de culoare);
-alte metode bazate pe variatia proprietatilor fizice si chimice ale corpurilor.
In general, aparatele care servesc pentru masurarea temperaturilor sub 660oC - se numesc termometre, iar peste 660oC,- pirometre. Domeniul de utilizare a principalelor aparate folosite pentru masurarea temperaturii sunt prezentate in tabel.
Domeniile de utilizare ale unor aparate de masurat temperatura
|
Domeniul de masura oC |
Materiale |
Aparat de masurat |
|
|
|
|
|
pana la 1000 - 200 ... 30 |
Mercur Mercur si atmosfera de azot la 10 bar Idem la 20 bar Idem la 70 bar Umplutura de galiu Aliaj de mercur cu taliu Umplutura de toluen Umplutura de pentan tehnic |
Termometre cu lichid |
|
pana la 100 pana la 350 |
Umplutura de gaz lampant Umplutura de mercur |
Termometre cu presiune de lichid |
|
|
Bioxid de carbon |
|
|
|
Eter |
Termometre cu |
|
|
Hidrocarburi |
presiune de vapori |
|
|
Mercur |
|
|
|
Invar cu continut de 36% Ni |
Termometre cu dilatarea metalelor |
|
pana la 150 |
Fier |
|
|
|
Nichel |
|
|
|
Cupru |
Termorezistente |
|
pana la 400 |
Wolfram |
|
|
|
Platina |
|
|
pana la 100 |
Bismut-platina |
Termoelemente |
|
pana la 600 |
Cupru-constantan |
|
Tabel. Continuare
|
|
|
|
|
pana la |
Argint-constantan |
|
|
pana la |
Fier-constantan |
|
|
pana la |
Manganina-constantan |
Termoelemente |
|
pana la 1000 |
Nichelcrom-constantan |
|
|
pana la 1300 |
Nichel-nichelcrom |
|
|
pana la 1600 |
Platina-platinarodiu |
|
|
|
(Cu diafragma) |
Pirometre de |
|
|
|
radiatie totala |
|
|
|
Pirometre de radia- |
|
|
( Cu filtru fumuriu) |
tie monocromatica |
|
|
|
Con Seger |
In sistemul international de unitati de masura, pentru masurarea temperaturii corpurilor, se utilizeaza scara de temperatura termodinamica stabilita pe baza a sase temperaturi fixe reproductibile definite de starile de echilibru ale unor materiale la presiunea normala de 101325 Pa. In cadrul acestei scari, unitatea de temperatura termodinamica este Kelvinul (K) definit ca fractiunea 1/273,16 din temperatura termodinamica a punctului triplu al apei.
In afara de temperatura termodinamica (T), exprimata in Kelvin (K), in sistemul international de unitati de masura se foloseste si temperatura exprimata in scara Celsius (t), (ca unitate de masura tolerata), intre ele existand relatia:
Fig.1.1. Termometre de sticla cu mercur:
a- cu contacte fixe
b- cu contacte mobile.
Cele mai utilizate termometre sunt cele cu mercur (- 38oC ... 700oC). Dezavantajul acestora consta in faptul ca au inertie termica mare nefiind adecvate masurarii temperaturii in regim variabil.
Din punct de vedere constructiv se deosebesc: termometre capsulate, la care tubul capilar si scala gradata sunt introduse impreuna intr-un tub de protectie, precum si termometre tija, a caror scala este gradata direct pe tubul capilar. In afara de acestea exista si alte constructii speciale ca de exemplu: termometre cu contacte fixe, cu contacte mobile etc. Termometrele cu lichid indica corect temperatura numai atunci cand intreaga masa a lichidului termometric se afla la temperatura care trebuie masurata, deci cand elementul sensibil este cufundat in intregime in mediul de masurat. Daca coloana de mercur este incomplet cufundata in mediul de masurat, se efectueaza corectia de temperatura D t cu relatia:
D t n a ( t - t1 ) oC
in care: n este numarul de diviziuni ale portiunii necufundate a coloanei de mercur, exprimat in grade din scala termometrului;
t - temperatura indicata de termometru, in oC ;
t1 - temperatura firului capilar necufundat in mediul de masurat (de obicei egala cu cea a mediului ambiant), in oC ;
a - coeficientul de dilatare aparenta a lichidului termometric ( pentru mercur a 0,000166 grd-1), in grd -1.
Corectia de temperatura se adauga temperaturii indicate de termometru.
Termometre electrice cu rezistenta
Functionarea acestor termometre se bazeaza pe variatia rezistentei electrice a metalelor cu temperatura. In figura 1.2 se prezinta variatia rezistentei electrice cu temperatura pentru cateva materiale mai des utilizate.
|
|
Fig. Variatia rezistentei electrice a metalelor in functie de temperatura. |
Aceste termometre se folosesc pe scara larga in industrie avand un domeniu larg de temperaturi, - 120oC ... 850oC.
Materialele din care se confectioneaza termorezistentele trebuie sa satisfaca urmatoarele conditii: sa nu-si schimbe proprietatile fizice si chimice, coeficientul de variatie a rezistentei electrice cu temperatura sa fie mare, variatia rezistentei electrice cu temperatura sa fie cat mai liniara iar proprietatile materialului sa poata fi usor reproduse. Materialele care satisfac aceste cerinte sunt platina (- 183oC ... 700oC), cuprul, nichelul, fierul
(- 50oC ... 150oC) si unele aliaje.
Rezistenta electrica a conductoarelor utilizate variaza cu temperatura dupa relatia:
Rt Ro ( 1 a t b t2 c t3
unde:
Rt este rezistenta electrica la temperatura t,
Ro - rezistenta electrica la temperatura de etalonare (in general 0oC),
a, b, c, ... - constante.
La majoritatea materialelor, pentru masurarea temperaturii se iau in considerare numai primele doua constante din paranteza relatiei precedente.
In practica, relatia de mai sus este utilizata sub forma ecuatiei lui
Callender:
in care: Ro, R100, Rt sunt rezistentele electrice ale materialului la 0oC; 100oC
si la temperatura t, d - coeficient.
In figura se prezinta schema de infasurare a unui termometru cu rezistenta din platina (a) precum si aspectul exterior al termometrului (b).
|
|
Fig.. Schema de infasurare si aspectul exterior al unui termometru cu rezistenta din platina. |
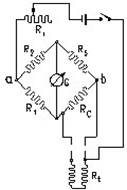
Masurarea rezistentei electrice a elementului sensibil al termometrului se poate face cu ajutorul urmatoarelor instrumente electrice:
- punti echilibrate (fig.1.4) in
care rezistentele R1, R2, R3 sunt constante,
iar
la valoarea curentului prin galvanometru IG=0;
- punti neechilibrate (fig.1.5), la care curentul prin galvanometru
IG =f (Rt);
-logometre (fig.1.6), la care unghiul de deviere al cadrului mobil
j tj (Rt);
-milivoltmetre digitale (electronice).
|
|
Fig..Schema de principiu a puntii echilibrate. |
|
|
Fig. Schema de principiu a puntii neechilibrate. |
|
|
Fig.. Schema de principiu a unui logometru.. |
Pirometre termoelectrice
Termocuplul reprezinta un mijloc de masurare a temperaturii cu o larga raspandire datorita avantajelor pe care le ofera fata de alte mijloace de masurare a temperaturii si anume: are o constructie simpla, pret de cost redus, interval mare de masura (-200oC ... 3000oC), poate fi conectat la diferite indicatoare, inregistratoare, semnalizare si comanda.
Termocuplul impreuna cu aparatul electric de masurat, poarta denumirea de pirometru termoelectric. Masurarea temperaturii cu ajutorul termocuplurilor se bazeaza pe legile fenomenelor termoelectrice. Tensiunea termoelectromotoare (t.t.e.m.), care apare in circuitul celor doi conductori omogeni care compun termocuplul, este rezultatul actiunii concomitente a efectului Thomson si a efectului Seebeck.
Efectul Thomson reprezinta aparitia unei t.t.e.m. Ea intr-un conductor "a" (fig.1.7) a carui capete se afla la temperaturi diferite:
a este coeficientul Thomson pentru conductorul respectiv.
Efectul Seebeck consta in aparitia unei t.t.e.m. e ab T e ab(T ), la locul de contact al celor doi conductori "a" si "b".
T.t.e.m. totala care este functie numai de valorile temperaturilor T si
T , se poate prezenta prin relatia:
Eab T1,T2) te ab(T2) - e ab(T1)
unde: eab(T1), eab(T2) sunt t.t.e.m.care apar la cele doua capete ale termocuplului ca rezultat comun al celor doua efecte.
Aplicatiile practice se bazeaza pe trei legi de baza empirice si anume:
- legea metalelor omogene.Intr-un circuit termoelectric format dintr-un singur metal omogen, nu poate aparea un curent termoelectric prin incalzirea acestuia;
- legea metalelor intermediare. Suma algebrica a t.t.e.m. intr-un circuit compus dintr-un numar oarecare de materiale diferite este zero, daca intreg circuitul se afla la aceeasi temperatura;
- legea temperaturilor succesive sau intermediare. Daca doua metale omogene, de natura diferita, produc o t.t.e.m. E , cand jonctiunile sunt la temperaturile T si T si o t.t.e.m. E cand jonctiunile sunt la temperaturile T si T , t.t.e.m. generata cand jonctiunile sunt la temperaturile T si T va fi
E E
Din aceste legi rezulta ca daca
intre jonctiunile 1 si
|
|
|
Fig.. Schema de principiu a unui termocuplu Fig. Circuit termoelectric elementar
Daca una din temperaturi, de exemplu T ,
se mentine
Eab(T , T ) =f (T
Circuitele termoelectrice
utilizate pentru masurarea temperaturii (fig.1.8), se compun din termocuplul
format din doua materiale de natura diferita a si b sudate la jonctiunea 1
(sudura calda), cablurile de prelungire CP confectionate din acelasi material
ca si conductorii termocuplului, care au rolul de a deplasa jonctiunea de
referinta 2 (cu fluctuatii mari de temperatura) in zona
Etalonarea milivoltmetrelor pentru termocupluri se face in general la temperatura de 0oC sau 20oC a sudurii reci. Daca, in conditiile de masurare temperatura sudurii reci variaza in raport cu temperatura de etalonare se efectueaza corectia acesteia dupa relatia:
treal =tind k (t - to) (oC) , (1.8)
unde:
treal este temperatura reala, in oC;
tind - temperatura indicata de aparat, in oC;
to - temperatura sudurii reci la etalonare (to t=0oC,in cadrul
lucrarii), in oC;
t - temperatura sudurii reci in timpul masurarii, in oC;
k - coeficient care depinde de tipul termocuplului si de intervalul
de temperatura.
In tabelul 1.2 se dau valorile coeficientului k pentru cele mai uzuale termocupluri.
Tabelul Valorile coeficientului k
|
T E R M O C U P L U L |
|||||||
|
Cromel-copel |
Fier- copel |
Fier- Constan-tan |
Cupru- Copel |
Cupru- Constan-tan |
Cromel- Alumel |
Nichel- Crom- nichel |
Platina Rodiu-platina |
|
|
|
|
|
|
|
|
|
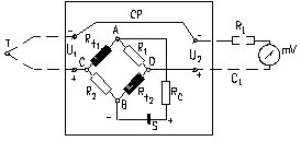
Compensarea influentei variatiei temperaturii sudurii reci se poate face automat prin folosirea unor dispozitive numite punti compensatoare (fig.1.9) alimentate la curent continuu, constant si alcatuite din doua rezistente (R1, R2) independente de temperatura (din manganina sau constantan) si doua rezistente (Rt1, Rt2) dependente de temperatura(Cu, Ni). Puntea este alimentata in curent continuu de la sursa S prin rezistenta aditionala Ra necesara reglarii curentului in punte. Cand are loc modificarea temperaturii jonctiunii de referinta fata de temperatura de etalonare, se dezechilibreaza puntea iar diferenta de potential, proportionala cu variatia temperaturii care apare in diagonala CD, compenseaza t.t.e.m. dezvoltata de termocuplu.
In tabelul 1.3 sunt prezentate termocuplurile cele mai uzuale si caracteristicile lor, iar in fig.1.10, ansamblul unui termocuplu pentru masurarea temperaturii in spatii inchise.
|
|
Fig.. Compensarea automata a variatiei de temperatura. |
|
|
Fig.1. Termocuplu: 1-termoelectrozi; 2- teaca de protectie; 3- cutia de co- nexiuni; 4- placa de borne. |
Tabelul Termocupluri si caracteristicile lor
|
|
|
|
Limita de utilizare (oC) |
T.t.e.m. |
||
|
Termocuplul |
Sim- |
Polaritatea |
Minima |
Maxima |
maxima |
|
|
|
bol |
|
continuu |
intermitent |
(mV) |
|
|
|
|
|
|
|
|
|
|
Fier-Constantan |
J |
Fe Const - |
|
|
|
|
|
Cupru-Constantan |
T |
Cu Const - |
|
|
|
|
|
Cromel-Constantan |
E |
Cromel Const - |
|
|
|
|
|
Cromel-Alu- Mel(NiCr-Ni) |
K |
Cromel Alumel - |
|
|
|
|
|
Cupru-Copel |
|
Cu Copel - |
|
|
|
|
|
Cromel-Copel |
|
Cromel Copel - |
|
|
|
|
|
PtRh(lo%) -Pt |
S |
PtRh(l0) Pt - |
|
|
|
|
|
PtRh(13%)- Pt |
R |
PtRh(13) Pt - |
|
|
|
|
|
PtRh(30%)- PtRh(6%) (PtRh-18) |
B |
PtRh(30) PtRh(6) - |
|
|
|
|
|
PtRh(20%)- PtRh(5%) |
|
PtRh(20) PtRh(5) - |
|
|
|
|
|
IrRh(40%)-Ir |
|
IrRh(40) Ir - |
|
|
|
|
|
IrRh(5o%) -Ir |
|
IrRh(50) Ir - |
|
|
|
|
|
IrRh(60%) - Ir |
|
IrRh(60) Ir - |
|
|
|
|
Tabel Continuare
|
|
|
|
|
|
|
|
|
WRo(5%) - WRo(25%) |
|
WRo(5) WRo(25) - |
|
|
|
|
|
WRo(3%) - WRo(25%) |
|
WRo(3) WRo(25) - |
|
|
|
|
|
Cromel - FeAu(0,07) |
|
Cromel FeAu(0,07) - |
|
|
|
|
Termometru Digital
Tensiunea termoelectromotare care apare in circuit poate fi masurata si cu un termometru digital. Senzorul de temperatura este un termocuplu.
Acest aparat permite citirea
temperaturii direct
Domeniul de masurare pentru
termocuplul digital este 200-
|
Fig.1.Termometru Digital |
Pirometre
cu radiatie
Legile care stabilesc legatura dintre
energia radiata si temperatura sunt legile radiatiei emise de Stefan-Boltzmann
si Plank. Aceste legi arata ca un corp radiaza energie termica la orice
temperatura si ca o crestere a temperaturii provoaca o crestere a energiei
radiate.
Dupa principiul lor de functionare
pirometrele cu radiatie se impart in : pirometre cu radiatie totala avand la
baza legea Stefan-Boltzmann, pirometre optice cu disparitia filamentului (cu
radiatie partiala) bazate pe legea lui Plank si pirometre fotoelectrice.
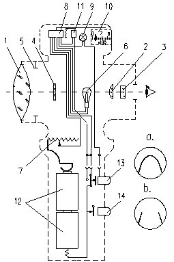
Pirometrele optice monocromatice cu disparitia filamentului sunt larg raspandite in practica industriala deoarece sunt simple, suficient de robuste si usor de manevrat. Schema de principiu a unui pirometru optic cu disparitia filamentului este prezentata in figura 1.12. El se compune dintr-o parte optica si una electrica. Partea optica se compune din: obiectivul 1, ocularul 2, filtrul 3, sticla absorbanta 4 si diafragma 5. Partea electrica este formata din lampa pirometrica 6, reostatul 7, aparatul de masura 8, becul 9 pentru iluminarea scalei aparatului de masura, scala 10, releul 11, bateriile uscate (de 1,5V) 12, butonul 13 pentru inchiderea circuitului electric al aparatului de masura si butonul 14 pentru alimentarea becului. Masurarea temperaturii se face prin compararea intensitatii radiatiei emise de corpul cercetat cu intensitatea radiatiei filamentului lampii pirometrice a carei incandescenta se regleaza cu ajutorul reostatului. Citirea temperaturii se efectueaza pe scala superioara a aparatului pana la temperatura de 1400oC. Peste aceasta valoare este necesar a se introduce intre obiectiv si lampa pirometrica sticla absorbanta 4 pentru evitarea volatilizarii filamentului. In felul acesta se pot masura temperaturi pana la 2000oC. Temperatura unui corp care nu este negru, masurata cu pirometrul optic monocromatic, este totdeauna mai mica decat temperatura reala a corpului. Corectiile de temperatura ce se impun in asemenea cazuri se efectueaza cu relatia:
real =tind D t oC
unde: D t este corectia de temperatura determinata din nomograma din figura 1.13, in care e reprezinta coeficientul de absorbtie al corpului a carui temperatura se masoara si care se obtine din tabelul 1.4.
|
|
Fig.1. Schema unui pirometru cu radiatie partiala. |
1.3. Mersul lucrarii
Masurarea temperaturii cu ajutorul termometrelor de sticla cu lichid se efectueaza asupra mediului ambiant. Pentru masurarea temperaturii cu ajutorul termometrelor cu rezistenta, a pirometrelor termoelectrice si a pirometrelor cu radiatie cu disparitia partiala a filamentului, se foloseste instalatia din figura 1.14, a carei schema electrica este prezentata in figura 11.2. (Lucrarea 11). Dupa cuplarea instalatiei la reteaua de energie electrica cu ajutorul intrerupatoarelor 15 si 7, se efectueaza masurarea temperaturii cu ajutorul termorezistentelor din Pt si Cu, pirometrului termoelectric din Pt-RhPt si a pirometrului cu radiatie partiala.
|
|
|
Fig Nomograma pentru corectia temperaturii la pirometrul cu radiatie partiala.
1.4. Prelucrarea si interpretarea rezultatelor
Valorile citite se vor trece in tabelul 1.5, dupa ce in prealabil s-au indicat caracteristicile si clasa de precizie a aparatelor. Se va efectua de asemenea corectarea temperaturilor cu ajutorul relatiilor (1.8) si (1.9).
Tabelul Coeficientii de absorbtie e ai unor materiale la diferite
temperaturi pentru l m
|
Materialul |
Temperatura oC |
e |
|
|
|
|
|
Fier solid |
|
|
|
Fier lichid |
|
|
|
Cupru solid |
|
|
|
Cupru lichid |
|
|
|
Nichel |
|
|
|
Wolfram |
|
|
|
Wolfram |
|
|
|
Wolfram |
|
|
|
Carbon grafit |
|
|
|
Carbon grafit |
|
|
|
Carbon grafit |
|
|
|
Otel topit |
|
|
|
Oxid de cupru |
|
|
|
Oxid de cupru |
|
|
|
Oxid de fier |
|
|
|
Oxid de fier |
|
|
|
Oxid de nichel |
|
|
|
Oxid de nichel |
|
|
|
Al2O3 |
|
|
|
Al2O3 |
|
|
|
MgO |
|
|
|
MgO |
|
|
|
Portelan |
|
|
|
Samota |
|
|
Valorile citite se vor trece in tabelul 1.5, dupa ce in prealabil s-au indicat caracteristicile si clasa de precizie a aparatelor. Se va efectua de asemenea corectarea temperaturilor cu ajutorul relatiilor (1.8) si (1.9).

Fig.1. Instalatia utilizata pentru masurarea temperaturii: 1- cuptor electric; 2- bare de silita; 3- termorezistente din Pt; 4- termocuplu Pt-RhPt; 5- termorezistenta din Cu; 6- logometru; 7- intrerupator alimentare curent continuu; 8- panou; 9- tablou de comanda; 10- reostat; 11- intrerupator alimentare retea; 12- logometru; 13- voltmetru; 14- milivoltmetru; 15- intrerupator alimentare bare de silita; 16- ampermetru.
Tabelul Rezultatele masuratorilor
|
|
|
Caracteristici |
Clasa de pre- cizie |
Temperatura |
Modul cum s-a facut corectia |
|||||
|
Aparatul |
Ele- mentul |
Limita de masurare |
citita |
corectata |
||||||
|
|
sensibil |
min. |
max |
C |
K |
C |
K |
|||
|
Termometru de sticla cu lichid |
Hg |
|
|
|
|
|
|
|
|
|
|
Termometre |
|
Pt |
|
|
|
|
|
|
|
|
|
cu |
|
Pt |
|
|
|
|
|
|
|
|
|
rezistenta |
|
Pt |
|
|
|
|
|
|
|
|
|
|
|
Cu |
|
|
|
|
|
|
|
|
|
Pirometru termoelectric |
Pt-RhPt |
|
|
|
|
|
|
|
|
|
|
Pirometru cu radiatie partiala |
|
|
|
|
|
|
|
|
|
|
Monitorizare Mediu
|
Instalatia de masurare si reglaj automat a temperaturii.
Realizarea regimului de temperatura impus de procesul tehnologic al incalzirii este posibila prin utilizarea instalatiei de masurare si reglaj automat a temperaturii. Aceasta instalatie se compune dintr-un element sensibil la temperatura-traductorul, si dispozitivul de masurare si reglare.
Traductoarele care se pun in contact cu incarcatura a carei temperatura urmeaza a fi determinata se numesc termometre (de contact) si se impart in doua categorii:
-neelectrice,bazate pe dilatarea solidelor (metale), lichidelor (Hg,etc) sau a gazelor (manometrice)
-electrice, cu rezistoare, cu termistoare si cu termocupluri.
Pentru aprecierea temperaturii se mai intrebuinteaza si conuri Seger, culori termoscopice, corpuri fuzibile si cristale lichide.
Alegerea tipului termometrului sau pirometrului, (când temperatura este extrem de ridicata se utilizeaza aceste pirometre bazate pe masurarea radiatiilor termice), in conformitate cu procesul tehnologic dat, depinzând de:
-factori metrologici, adica domeniul de masurare, inertia termica a traductorului.
-factori de tehnica a masurarii, adica distributia masuratorilor in timp (permanente, unice), agresivitatea mediului.
-factori derivati din modul de utilizare al rezultatului masuratorii.
In afara de valoarea temperaturii masurate trebuie sa se cunoasca si eroarea de masurare. Gradul de precizie al masurarii este reprezentat prin eroarea tolerata pe care instalatia de masurare nu trebuie sa o depaseasca.
Datorita inertiei termice, indicatia traductorului de temperatura creste exponential in timp, constanta de timp a acestuia depinzând de tipul traductorului, rezistenta termica dintre traductor si incarcatura, precum si de starea de agregare si de agitatie a mediului si de locul de montare al traductorului.
Dispozitivul de masurare a temperaturii este un aparat indicator sau inregistrator magnetoelectric(milivoltmetru sau miliampermetru) sau electronic.
Termometre cu termistoare
Temistoarele refractare sunt rezistoare variabile cu temperatura, avand un coeficient de temperatura negative.
B 1/T - 1/To
R = R * e
T To
In care: R este rezistenta la temperatur masurata, T(K)
T
R este rezistenta la temperatura de referinta To
To
B =constanta de material
R are valori de 1.sute de KΩ iar B cuprinsa in-
To
tre 2500-500 pentru temperaturile ce nu depasesc 300șC si 6000-13000șC.
Avantajele termistoarelor fata de termorezistente sunt urmatoarele:
-au dimensiuni reduse, realizate sub forma de perla, disc sau bagheta.
-permit masurari precise la distante mari intre termometru si aparatul indicator.
-au domenii mici de masura.
-pot fi utilizate la masurarea diferentelor mici de temperatura.
Ca dispozitiv de masurare a rezistentei termistorului, se utilizeaza puntea Wheatstone neechilibrata.
Puntea Wheatstone se utilizeaza in doua variante:
-puntea neechilibrata, se mareste cu milivoltmetru magnetoelectric cu amplificatori de masura.
-puntea echilibrata, cu compensator automat cu semnal de intrare a variatiei de tensiune.
|