Am uitat parola
x
Creaza cont nou
Home
Exploreaza
Upload
Administratie
Arta cultura
Biologie
Casa gradina
Diverse
Economie
Geografie
Gradinita
Istorie
Jurnalism
Limba
Literatura romana
Management
Medicina
Personalitati
Profesor scoala
Sociologie
Stiinta
Arhitectura constructii
Astronomie
Chimie
Drept
Fizica
Informatica
Matematica
Stiinte politice
Tutorials
Tehnica mecanica
Timp liber
CALCULUL SI ARMAREA SCARILOR
Arhitectura constructii
ALTE DOCUMENTE
MEMORIU TEHNIC - LUCRARI CIVILE
BOLILE APARATULUI DIGESTIV
PROIECTAREA FORMEI CONSTRUCTIVE A ARBORILOR
Arhitectura populara romaneasca
ELASTOSTICK G2 CZ
Design for all/design for every body/universal design
INCARCARI SI ACTIUNI CARE SOLICITA CONSTRUCTIILE
INFORMATII PRIVIND TEHNOLOGIA TERMOSISTEMULUI
Nivelmentul geometric
CAIET DE SARCINI INSTALATII ELECTRICE
CALCULUL SI ARMAREA SCARILOR
Materiale:
Beton
Bc
20 si otel PC 52
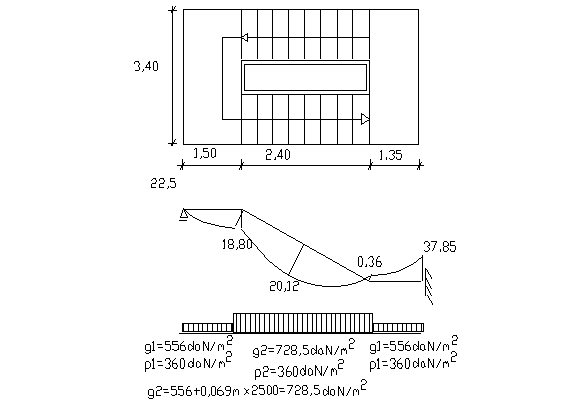
8. 1.
CALCULUL
8. 2.
ARMAREA IN CAMP
8. 3.
ARMAREA PE REAZEME
Prin urmare, armarea scarilor va fi facuta in felul urmator:
Document Info
Accesari: 9373
Apreciat:
Comenteaza documentul:
Nu esti inregistrat
Trebuie sa fii utilizator inregistrat pentru a putea comenta
Creaza cont nou
A fost util?
Daca documentul a fost util si crezi ca merita
sa adaugi un link catre el la tine in site
Copiaza codul:
in pagina web a site-ului tau.
<a href="https://www.scritub.com/stiinta/arhitectura-constructii/CALCULUL-SI-ARMAREA-SCARILOR34544.php" target="_blank" title="CALCULUL SI ARMAREA SCARILOR - https://www.scritub.com">CALCULUL SI ARMAREA SCARILOR</a>
eCoduri.com - coduri postale, contabile, CAEN sau bancare
Politica de confidentialitate
|
Termenii si conditii de utilizare
Copyright
©
Contact
(
SCRIGROUP Int. 2025
)