In cursul exploatarii unui zacamant de hidrocarburi, din fluidele care se deplaseaza din strat, in sonda si in instalatiile de suprafata se separa, in anumite conditii de presiune si temperatura, o mare cantitate de particule sub forma solida, care se depun in diferite puncte ale acestui traseu.
Parafina sau ceara de petrol reprezinta faza solida de formula CnH2n+2 incepand de la C16H34 pana la C64H130. Parafina ca faza solida asa cum este cunoscuta in santier reprezinta un amestec de componenti lichizi, de produse solide (parafina, cerezine) sub forma de cristale fine, la care se adauga substante asfaltoase, rasini, nisip, marna, argila.
Dupa continutul in greutate al parafinei, titeiurile din tara noastra se impart in trei categorii: 242b14c
- titeiuri parafinoase cu un continut mai mare de 2 % parafina;
- titeiuri semiparafinoase cu un continut de 1 - 2 % parafina;
- titeiuri neparafinoase cu un continut mai mic de 1 % parafina.
Separarea si depunerea parafinei din titei este mult influentata de temperatura si de presiune.
Prin scaderea temperaturii se atinge o temperatura de inceput de cristalizare a parafinei, iar prin scaderea presiunii o parte din hidrocarburi ies din solutie, astfel incat capacitatea de dizolvare a particulelor solide scade. Temperatura de inceput de cristalizare este cuprinsa intre 35¤- 38¤ C, ceea ce ar corespunde unei adancimi de depunere a parafinei intre 600 si 1000 m. conform gradientului geotermic si in functie de calitatea titeiului.
Parafina se separa din titei in cristale mici, care, din cauza miscarii fluidului, vin in contact unele cu altele, aglomerandu-se in jurul unui nucleu, care poate fi un corp strain ca nisip, marna sau chiar particule fine metalice provenite ca urmare a fenomenelor de coroziune Aceste aglomerari de cristale de parafina se depun pe peretii tevilor de extractie, fenomenul fiind accentuat de rugozitatea tevilor de extractie.
Depunerea de parafina este accentuata la sondele care produc cu intermitenta, datorita scurgerilor repetate ale titeiului pe peretii interiori ai tevilor de extractie.
Zonele in care are loc depunerea de parafina conform conditiilor mentionate sunt:
- in porii stratului - in zona din imediata apropiere a gaurii de sonda;
- la iesirea din strat pe coloana de exploatare la sondele de adancimi mici
- in interiorul coloanei de tevi de extractie pe prajinile de pompare la sondele care produc in pompaj de adancime;
- in interiorul instalatiei de suprafata si al conductelor de amestec.
Depunerile de parafina produc micsorarea capacitatii de productie a sondelor, datorita infundarii porilor la iesirea din strat si pe de alta parte prin micsorarea sectiunii de curgere a fluidelor prin tevile de extractie.
Metode pentru diminuarea si combaterea depunerilor de parafina sunt:
- metode de prevenire prin care se evita sau se intarzie precipitarea si depunerea parafinei;
- metode de curatire si indepartare a parafinei depuse in echipamentul prin care circula titeiul parafinos de la talpa la separator.
Mentinerea parafinei in suspensie si antrenarea ei sub forma de cristale sau aglomeratii de cristale la suprafata si solubilitatea parafinei in titei depinde de regimul de curgere a amestecului si de regimul termodinamic al sondei..
Din aceste considerente rezulta urmatoarele mijloace pentru prevenirea depunerii parafinei:
a) Mentinerea gazelor in solutie prin alegerea unui ritm de exploatare corespunzator unei presiuni superioare presiunii de saturatie si prin asigurarea unor pierderi de presiune cat mai mici in tevile de extractie.
b) Evitarea schimbarii bruste de presiune prin urmatoarele masuri:
- evitarea folosirii duzelor de fund;
- evitarea utilizarii coloanelor de tevi de extractie telescopice;
- evitarea pe cat posibil a utilizarii supapelor de pornire in zona de pa- rafinare a tevilor de extractie;
- controlarea atenta a etanseitatii mufelor si a corpului tevilor de extractie.
c) Influentarea conditiilor de temperatura prin:
- prevenirea pierderilor de caldura pe traseul parcurs de titei;
- incalzirea titeiului inainte de a se ridica din talpa sondei cu o temperatura favorabila depunerii parafinei.
d) Evitarea intermitentelor si a pulsatiilor in functionarea sondei.
e) Utilizarea unor agenti cu activitate de suprafata cum ar fi inhibatorii de parafina, care lucreaza in sensul preintampinarii acumularii de cristale de parafina prin mentinerea in suspensie a unei mari cantitati de cristale fine.
f) Asigurarea unei suprafete netede de circulatie, prin acoperirea la interior a tevilor de extractie cu lacuri speciale sau materiale plastice, pentru a impiedica aderarea cristalelor de parafina. In cazul acestor acoperiri cu lacuri sau materiale plastice, chiar daca nu se realizeaza prevenirea totala a depunerii parafinei, procesul de depunere a parafinei in interiorul tevilor de extractie este mult intarziat si curatirea acesteia se face relativ usor, datorita adeziunii slabe a parafinei la pelicula de material plastic.
g) Utilizarea unui generator cu ultrasunete cu impulsuri, cu efect de acumulari de bule de gaze pe peretii interiori ai tevilor, care vor modifica structura moleculei de parafina cu influenta asupra micsorarii temperaturii de formare a cristalelor.
Metodele de indepartare a parafinei depuse pe peretii interiori ai coloanei de tevi de extractie din sonda, pe prajinile de pompare sau pe peretii interiori ai conductelor de amestec, constau in:
. curatirea pe cale mecanica;
. curatirea termica;
. curatirea chimica.
Fiecare din aceste metode difera in functie de sistemul de exploatare al sondelor si de modul de echipare al acestora.
Instalatii pentru deparafinare mecanica.
Metodele mecanice de deparafinare constau in razuirea parafinei, care se depune in timpul procesului de exploatare a hidrocarburilor parafinoase pe suprafetele metalice prin care acestea circula, cu ajutorul unor dispozitive speciale numite cutite.
Cutitele pentru curatirea mecanica a parafinei se introduc periodic in tevile de extractie la sondele exploatate in eruptie naturala si eruptie artificiala care sunt prevazute cu instalatie speciala de deparafinare.
Ansamblul de deparafinare se compune din urmatoarele elemente:
. cutitul de deparafinare;
. o prajina grea (sau tija) montata deasupra cutitului pentru a asigura coborarea acestuia in sondele ce produc cu debit mare sau in rafale;
. un racord special pentru cablu sau sarma;
. cablul sau sarma de lansare si manevra a cutitului;
. un burlan de deparafinare (cap de pistonare sau cap de deparafinare);
. o rola de ghidare a cablului sau sarmei;
. un troliu.
Dupa dimensiunile si constructia elementelor componente se deosebesc trei tipuri de instalatii de deparafinare:
- tip greu;
- tip mediu;
- tip usor.
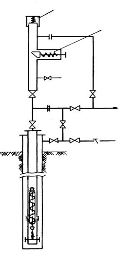
1.Instalatia de tip greu (fig. 4.4) consta din:curatitor tubular tip A sau lamelar greu tip B, prajina grea, racord fix, cablu cu diametru de 12 - 16 mm, cap de coloana pentru pistonat si un troliu de interventie. Ghidarea cablului se face peste geamblacul turlei de productie.
2. Instalatia de tip mediu (fig. 4.5) consta din: curatitor de parafina lamelar usor tip C sau curatitor cu cutite tip D, prajina grea, racord demontabil, cablu cu diametru de 7 - 8 mm, cap de lansare tip A pentru deparafinare si troliu mobil de deparafinare. Ghidarea cablului se face peste geamblacul montat pe mastul de productie.
3.Instalatia de tip usor consta din: curatitor lamelar usor tip C, prajina grea, racord demontabil, sarma cu diametru de 1,9 - 2,2 mm, cap de lansare pentru sarma tip B, peste a carui rola se face ghidarea sarmei si un troliu manual de tipul Iakovlev sau Halliburton, care de obicei sunt folosite la diferite masuratori in sonda.
Deparafinarea mecanica a tevilor de extractie la sondele eruptive se realizeaza folosind curatitoare de parafina standardizate ce sunt schematizate in figurile 4.7. si 4.8.
Toate aceste cutite au la partea superioara un cep cu filet cu ajutorul caruia sunt infiletate la o prajina grea.
Prajina grea este o bara de otel cilindrica, prevazuta la un cap cu cep si la celalalt cu mufa cu filet de prajina de pompare.
Rolul acesteia este de a asigura greutatea necesara pentru coborarea cutitului, mai ales la sondele in eruptie naturala cu presiuni mari, respectiv la sondele ce produc cu debite mari sau in rafale.
![]()
![]()
![]()
![]()
![]()
![]()
![]()
![]()
Fig. 4.4. Instalatie de deparafinare de tip greu
![]()

![]()
![]()
![]()

Fig. 4.5. Instalatie de deparafinare de tip mediu

a. b.
Fig.4.6.Curatitoare de parafina pentru sondele in eruptie
a. curatitor tubular tip A; b. curatitor lamelar greu tip B.
♦ Curatitorul tubular (teaca) - tip A (fig. 4.6.a.) consta dintr-un corp tubular cu o taietura longitudinala, avand diametrul mai mare la partea inferioara (cu cativa mm mai mic decat diametrul interior al tevilor prin care se introduce). Partea terminala a corpului este taiata la 450, pentru a asigura o avansare mai usoara, dar si o razuire mai buna a parafinei de pe peretii tevilor de extractie. La partea superioara este sudata o reductie pentru legatura cu prajina grea.
♦ Curatitorul lamelar greu tipB (fig. 4.6.b.) este format dintr-o lama de otel de 15 mm grosime, si lungime de 1200 mm rasucita intr-un sens in partea superioara si in sens contrar in partea inferioara, evitand posibilitatea de rotire a curatitorului in tevi.
|
|
|
a. b.
Fig. 4.7. Curatitoare de parafina pentru sondele in eruptie
a. curatitor lamela usor tip C; b. curatitor cu cutite tip D.
♦ Curatitorul lamelar usor tip C (fig. 4.7.a) este format dintr-o lama de otel cu grosimea de 7 mm si lungimea de 500 mm.
Pe suprafata corpului curatitorului, care este rasucit sus si jos in sensuri contrarii, sunt prevazute niste ferestre prin care poate trece usor titeiul din tevile de extractie.
♦ Curatitorul cu cutite tip D (fluture) din figura 4.7.b. este format dintr-o tija de otel pe care sunt sudate trei etaje de cate patru cutite
cu o forma speciala. De la un etaj la altul asezarea cutitelor se face decalat cu un unghi de 300, astfel incat cutitele sa asigure intreaga circumferinta, fapt care asigura o curatire completa a peretilor coloanei de extractie.
Ghidarea curatitorului este asigurata de patru lame arcuite, sudate de corpul tijei la partea de jos.
|
|
|
Fig. 4.8. Racorduri pentru cabluri si sarme
a. racord fix pentru cablu; b. racord demontabil pentru cablu; c. racord demontabil pentru sarme.
Racorduri pentru cabluri. Din punct de vedere al modului de fixare al cablului sau sarmei se deosebesc urmatoarele tipuri de racorduri:
a) Racordul fix pentru cabluri cu diametrul de 12 - 18 mm (fig. 4.8.a). El este construit dintr-o bucata de teava de otel care are la partea inferioara filet pentru insurubarea la prajina grea, iar la partea superioara are diametrul mai redus si prevazut la exterior cu santuri circulare pentru a putea fi prins cu corunca in cazul ramanerii in sonda. In interior racordul are o gaura care este cilindrica jumatate din lungime, iar cealalta jumatate este conica. Din acest tip de racord cablul nu se poate scoate decat prin taiere;
b) Racord demontabil pentru cabluri cu diametrul de 7 - 8 mm (fig. 4.8.b) nu necesita taierea cablului pentru demontare. In interiorul corpului de otel se fixeaza o pana din otel compusa din doua bucati si o teaca din tabla galvanizata, care se asambleaza peste nodul cablului.
c) Racordul demontabil pentru sarme de 1,7 - 2,2 mm este reprezentat in figura 4.8.c. La acest tip de racord, capul sarmei se indoaie in jurul unui cui cu diametrul de 8 mm si cu lungimea de 20 mm. Extremitatea libera a capului de sarma se rasuceste de cateva ori in jurul sarmei. Nodul acesta cu cuiul sunt retinute de o pana care intra in corpul racordului.
Burlanul pentru pistonare si deparafinare (fig.4.9) se monteaza la capul de eruptie al sondei pentru introducerea curatitorului de parafina. Acest burlan are diametrul de 1/2 - 4 in si lungimea de 12 m. Burlanul, la partea superioara, are o mufa in care se insurubeaza un cap special pentru etansare, iar la partea inferioara, are un filet in care se insurubeaza o flansa de legatura la ventilul superior al capului de eruptie. Pe corpul burlanului, la partea inferioara se sudeaza un stut de /8 in la care se monteaza conducta care serveste pentru scurgerea in beciul sondei a titeiului care scapa din tevile de extractie, prin bacuri, in dispozitivul din capul burlanului.
Capul special de etansare de la partea superioara a burlanului este numit si stergator de titei. Acesta se compune dintr-un corp inferior, un corp intermediar si un capac .In interiorul corpurilor se afla garnituri de cauciuc pentru etansarea cablului si inele de presare (din doua bucat) confectionate din bronz.
Strangerea garniturilor pentru etansarea pe cablu se face prin rotirea capacului cu ajutorul manerelor cu care este prevazut.
![]()
![]()
![]()

![]()



Fig.4.9.Burlan pentru deparafinare
a1. Deparafinarea mecanica a tevilor de extractie la sondele in eruptie
Operatia de deparafinare se executa cu ajutorul troliului mobil si consta in urmatoarele faze:
. Se trece peste geamblac capatul liber al cablului (care este infasurat intins pe toba) cu ajutorul unei sfori de montaj.
. Se introduc pe cablu presgarnitura si racordul fix si se face apoi nodul pentru fixarea in racord.
. Se insurubeaza la racord prajina grea (la care se poate atasa o geala) si curatitorul de parafina tip A sau tip B.
. Se introduce in burlan ansamblul de deparafinare.
Se monteaza inelele de presare din bronz si garniturile de cauciuc,
. Se insurubeaza presgarnitura la burlanul de deparafinare, care este montat la capul de eruptie deasupra ultimului ventil.
. Se strange bine capacul presgarniturii pentru asigurarea etansarii garniturilor de cauciuc pe cablu.
. Se ancoreaza burlanul cu ancore de sarma in cele patru colturi ale turlei.
. Se face legatura la conducta de scurgere a burlanului.
. Dupa ce instalatia a fost montata si controlata, se deschide incet ventilul superior de la capul de eruptie, observand daca burlanul nu are scapari.
. Se coboara curatitorul in tevile de extractie pana la adancimea de depunere a parafinei.
Daca in timpul deparafinarii eruptia devine violenta si se produc pulsatii puternice, se impune micsorarea duzei la capul de eruptie.
Dupa terminarea curatirii tevilor de extractie, se trage curatitorul in burlan, se inchide ventilul superior de la capul de eruptie, se scurge presiunea din interiorul burlanului, se demonteaza presgarnitura si se extrage curatitorul.
|
|
|
Pentru curatirea parafinei de pe peretii tevilor de extractie sau a coloanelor de exploatare, se utilizeaza pe scara mai redusa si alte tipuri de curatitoare nestandardizate cum ar fi: curatitor tip banana (fig. 4.10), carlig de deparafinare pentru coloana de exploatare (fig. 4.11), curatitor cu diametru variabil si lama mobila (fig. 4.12), curatitor cu lama mobila si stifturi de ghidare, curatitor cu lame spirale.
a2. Deparafinarea mecanica a tevilor de extractie la sondele in eruptie artificiala
Pentru deparafinarea coloanei de tevi de extractie la sondele care functioneaza in eruptie artificiala se pot folosi aceleasi instalatii de deparafinare utilizate la sondele in eruptie naturala, dar se poate utiliza si un curatitor special actionat cu gaze comprimate care necesita montarea unui dispozitiv special la capul de eruptie.
Curatitorul de parafina actionat cu gaze comprimate (fig. 4.13) este confectionat din doua placi metalice sudate in cruce, pe care se sudeaza o serie de aripioare asezate inclinat.
La partea superioara curatitorul are o reductie prevazuta la exterior cu crestaturi radiale pentru a putea fi prins si extras cu o corunca in cazul ramanerii in sonda.
![]()
![]()

![]()
![]()
![]()
Fig. 4.13. Curatitor actionat cu gaze comprimate
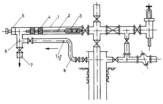
Instalatia necesara pentru utilizarea curatitorului cu gaze comprimate, schematizata in fig. 4.14, consta dintr-un dispozitiv de lansare format dintr-o teava de 3 1/2 in prevazuta la partea superioara cu un capac amortizor, lateral cu un stut de 2 in, apoi o mufa cu clapa de oprire si la partea de jos inca un stut lateral de 1/2 in pentru scurgerea presiunii.
![]()
![]()
![]()
![]()

Fig. 4.14. Schema instalatiei de deparafinare
cu curatitor actionat cu gaze comprimate
In coloana de tevi de extractie, sub adancimea de parafinare, se monteaza o reductie scaun, prevazuta cu amortizor pentru oprirea curatitorului.
Operatia de deparafinare cu acest curatitor decurge astfel:
. Se monteaza dispozitivul de lansare pe ventilul superior al capului de eruptie. Se demonteaza capacul acestuia si se introduce curatitorul care se aseaza pe clapa de oprire.
. Se va opri injectia de gaze prin spatiul inelar al sondei inchizand ventilul 1, apoi se inchide si ventilul 2, prin care trecea amestecul de fluid din sonda. Se deschide apoi ventilul 3 de la partea superioara a capului de eruptie si se actioneaza asupra clapetei opritoare, permitand curatitorului sa coboare in sonda prin tevile de extractie sub propria greutate.
. Dupa lansarea curatitorului in tevi se incepe injectia de gaze comprimate prin deschiderea ventilului 4 de la baston pentru impingerea curatitorului pana la reductia scaun. In acest timp curatitorul a razuit parafina depusa pe peretele tevilor de extractie.
. Se va opri injectia de gaze prin tevile de extractie, cand curatitorul a ajuns in punctul terminal, prin inchiderea ventilului 4 si se va trece la injectia normala a gazelor prin spatiul inelar prin deschiderea ventiluluui1.
. Evacuarea din sonda a amestecului de titei si gaze si dirijarea acestuia spre separator prin dispozitivul de lansare, deschizand ventilul 5.
. Ridicarea curatitorului in dispozitivul de lansare de fluidul din sonda. Curatitorul trece de clapa de oprire lovind amortizorul capacului, dar nu poate reveni in sonda, deoarece clapa revine imediat in pozitia inchis sub actiunea unui arc.
. Se deschide ventilul 2 pentru revenirea titeiului la traseul normal prin bratul capului de eruptie si se inchid ventilele 3 si 5.
Pentru extragerea curatitorului de deparafinare din capul de lansare se vor scurge gazele prin stutul inferior de 1/2 in si apoi se demonteaza capacul dispozitivului de lansare.
a3. Deparafinarea mecanica a tevilor de extractie ti a prajinilor
de pompare la sondele in pompaj cu prajini
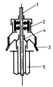
Deparafinarea tevilor de extractie la sondele in pompaj cu prajini se realizeaza cu ajutorul unor curatitoare elicoidale numite screpere (fig. 4.15).
Un screper are corpul de forma cilindrica din otel cu un diametru mai mic cu 4 - 5 mm decat diametrul interior al tevilor de extractie prin care se introduc. Pe suprafata corpului sunt prelucrate trei cutite taietoare infasurate dupa o elice stanga. La capete are mufe cu filet corespunzator marimii prajinilor cu care se introduc.
Fig. 4.15. Curatitor elicoidal
Curatitoarele se introduc in locul mufei intre doua prajini de pompare pe toata lungimea zonei de depunere a parafinei.
Curatirea parafinei de pe coloana de tevi de extractie, in acest caz, se face in mod continuu prin miscarea sus jos a garniturii de prajini de pompare pe o lungime egala cu lungimea cursei de pompare in timpul functionarii normale, sau in mod periodic pe toata zona de depunere a parafinei prin executarea unei manevre a garniturii de prajini de pompare pe o distanta mai mare decat distanta dintre doua curatitoare.
La sondele echipate cu pompe care se introduc cu prajinile de pompare, pentru a nu salta pompa din locul de fixare in timpul acestor manevre se utilizeaza un dispozitiv de cuplare - decuplare numit baioneta Dontov (fig. 4.16), intercalata in garnitura de prajini la o adancime mai mare decat cea la care se depune parafina.
Dispozitivul se compune din doua parti :
- teava sau teaca baionetei prevazuta in interior cu doua canale parale le de forma speciala (fig.4.16 b);
- tija de agatare care intra in teaca baionetei si se fixeaza in aceasta cu ajutorul a doua aripioare, ce se angajeaza in canalele practicate in corpul baionetei.(fig.4.16 c).

![]()

a . b. c.
Fig 4.16.Baioneta Dontov
a .dispozitivul baioneta cuplat; b. teaca baionetei;
c. tija agatatoare cu aripioare
Pentru deplasarea baionetei se lasa o parte din greutatea garniturii de prajini asupra dispozitivului, se roteste garnitura la dreapta si apoi se trage in sus. Pentru cuplare se lasa baioneta in jos si, automat, aripioarele tijei de agatare aluneca pe canalele inclinate si se opresc in portiunea infundata a acestora.
La sondele in pompaj echipate cu pompe care se introduc cu tevile de extractie nu este necesar acest dispozitiv, deoarece pistonul poate fi ridicat din pompa prin intermediul prajinilor de pompare fara a se scurge lichidul din tevi.
O curatire mai buna a tevilor de extractie de parafina, concomitent cu curatirea tijelor de pompare de parafina, se realizeaza extragand garnitura de prajini de pompare pentru schimbarea pompelor tip P(R) sau schimbarea pistoanelor la pompele tip T.
Deparafinarea prajinilor de pompare se face prin razuirea directa in timpul extragerii acestora din sonda.
Pentru razuire, de obicei, se foloseste o sarma care se infasoara in jurul prajinii si se tine intinsa cu doua inele(manere) de un sondor, in timp ce se extrage din sonda garnitura de prajini de pompare. Acest procedeu este dezavantajos, prezentand pericol de incendiere si o parte din parafina curge in sonda.
In loc de sarma se folosesc foarfece de deparafinare, care au doua lame prevazute fiecare cu o scobitura semicirculara. Cand sunt stranse lamele formeaza o deschidere egala cu sectiunea prajinii.
S-au construit si se utilizeaza sporadic in santier unele stergatoare speciale pentru curatirea parafinei de pe prajinile de pompare.
|
Prajina de pompare |
cauciuc
laterale
Tevi
de extractie
extractie
|
Prajina de pompare Cutit Arc

Fig.4.17.Curatitor pentru prajini Fig.4.18.Dispozitiv de curatire
de pompare cu stergatoare a prajinilor de pompare
de cauciuc cu cutit metalic
In figura 4.17 este schematizat un dispozitiv de curatire cu stergatoare de cauciuc care se monteaza in locul cutiei de etansare pe prajina lustruita. Acest dispozitiv este prevazut cu doua placi de cauciuc semicirculare sau elicoidale, care freaca pe prajinile de pompare in timpul extragerii din sonda. Parafina razuita se scurge prin doua brate laterale. Niste aripioare presate de un arc impiedica patrunderea parafinei razuite in tevile de extractie.
In figura 4.18 este schematizat dispozitivul de curatire a parafinei de pe prajinile de pompare cu un cutit metalic.
b. .Metode termice de deparafinare a tevilor de extractie din sonde
Aceste metode se realizeaza prin ridicarea temperaturii in zona de depunere a parafinei, incat aceasta sa se dizolve si sa fie antrenata in curentul ascendent de fluid din sonda.
Caldura necesara topirii parafinei se obtine prin:
- circularea unui agent termic in sonda;
- folosirea unui sistem de incalzire electrica a tevilor de extractie.
b1 .Deparafinarea tevilor de extractie prin circularea unui agent termic.
Se poate utiliza aburul ca agent termic, care se introduce in spatiul inelar si iese prin tevile de extractie impreuna cu titeiul incalzit.
La sondele in eruptie artificiala, aburul se introduce odata cu gazele ce se injecteaza in sonda pentru ascensiune.
La sondele in pompaj se scurge presiunea din coloana si apoi se racordeaza generatorul de abur la coloana.
Deparafinarea tevilor din aceste sonde se desfasoara in patru etape:
1) se injecteaza aburul in coloana, mentinand pompa in functiune aproximativ 15 minute
2) se continua injectia de abur, dar sonda se opreste din functiune timp de 15 minute, pentru a realiza incalzirea titeiului in repaus si topirea parafinei de pe peretii tevilor;
3) se repune sonda in functiune 15 minute, paralel cu injectia de abur;
4) se opreste din nou sonda cca. 15 minute pentru incalzirea titeiului in repaus. Se opreste injectia de abur si sonda este trecuta in functionare continua.
Se mai poate introduce in sonda un alt fluid incalzit prin circulatie directa sau inversa.
Folosirea fluidelor calde are avantajul ca nu-si schimba volumul, prin cedarea caldurii inmagazinate, pe cand aburul, prin condensare, isi micsoreaza mult volumul de circulatie. Cel mai utilizat agent termic este titeiul neparafinos sau semiparafinos incalzit la 60 - 800 C. Apa, cu toate ca are o capacitate termica mai buna, nu se recomanda, deoarece poate avea o influenta daunatoare asupra productivitatii stratului exploatat.
b2. Deparafinarea tevilor de extractie cu incalzitoare electrice
Dupa modul cum se face transformarea energiei electrice in energie calorica se deosebesc doua tipuri de incalzitoare:
- incalzitor electric cu rezistenta;
- incalzitor electric cu inductie.
Incalzitorul electric cu rezistenta (fig. 4.19) consta din doi conductori legati in serie, cu rezistente diferite. Acesti conductori sunt coloana de tevi de extractie echipata cu mufe izolate si coloana de exploatare.
Caldura degajata de tevile de extractie la trecerea curentului electric va fi mai mare decat cea din coloana de exploatare, datorita diferentei de sectiune (Atevi > Acoloana → deci Rt > Rc ) si pe baza legii Joule - Lenz rezulta Qt > Qc
sau:
(4.3)
unde: Q este cantitatea de caldura ce se degaja (in tevi Qt, in coloana Qc);
I - intensitatea curentului electric;
Rt - rezistenta electrica a coloanei de tevi de extractie;
Rc- rezistenta electrica a coloanei de exploatare;
t - durata de trecere a curentului electric prin cei doi conductori.
In cazul utilizarii unui astfel de incalzitor electric pentru deparafinare trebuie sa se asigure elementele necesare de izolare a tevilor de extractie fata de coloana de exploatare prin mufe izolatoare si un dispozitiv de contact la capatul inferior al tevilor pentru inchiderea circuitului electric intre tevi si coloana.
La sondele exploatate in pompaj circuitul este format din prajini si tevi de extractie, punctul de contact fiind pistonul pompei pentru sonde de mica adan-
cime sau un dispozitiv de contact de arcuri montat pe prajini sub adancimea de parafinare.
|
|
|
Fig.4.19 .Schema deparafinarii Fig.4.20 .Schema deparafinarii
tevilor de extractie tevilor de extractie
cu incalzitor electric cu incalzitor prin inductie
Incalzitorul cu inductie (fig. 4.20) consta dintr-un corp cilindric de metal (teava de extractie), imbracat cu material izolant peste care se infasoara o bobina cu sarma de cupru, acoperita la randul sau cu material izolant si intregul ansamblul este inchis intr-o manta.
Capatul inferior al bobinei se sudeaza la corpul metalic, iar cel superior se leaga la dispozitivul de contact cu coloana de exploatare. Incalzitorul fiind montat in coloana de tevi la o anumita adancime, alimentarea se va face prin intermediul tevilor de extractie si al coloanei de exploatare legate la sursa de curent. Incalzirea este provocata de curentul alternativ indus.
c. Metode chimice de deparafinare a tevilor de extractie
Aceste metode constau in introducerea in tevile de extractie a unui solvent, fie in stare pura, fie dizolvat intr-un lichid.
Tipul de solvent necesar la fiecare sonda, cantitatea necesara pentru tratare, proportia fata de agentul de transport,durata tratarii si frecventa operatiilor de se stabilesc pe cale experimentala, prin luarea de probe de parafina bruta curatata de pe peretii tevilor de extractie si examinarea gradului de solubilitate corespunzator diferitilor solventi in aceleasi conditii de lucru.
Pentru dizolvarea parafinei se pot utiliza: sulfura de carbon, tetraclorura de carbon, clorura de metilen,cloroform, butan, fie sub forma unui singur component, fie sub forma unui amestec de mai multi solventi.
Pentru transportul solventului in gaura de sonda se poate folosi: benzina, petrol lampant, motorina, titei neparafinos.
Pentru deparafinarea tevilor din sondele eruptive se procedeaza astfel:
- Se introduce solventul prin tevile de extractie ,unde este lasat timp de 3 - 4 ore mentinand sonda inchisa pentru dizolvarea parafinei.
- Se deschide sonda pentru un timp scurt pentru curatire.
- Se inchide din nou sonda si se introduce solvent.
Operatia se repeta de cateva ori in succesiunea mentionata, apoi se repune sonda in functionare normala.
Introducerea solventului cu o densitate mai mare decat a fluidului din sonda se face prin lubricare.
La sondele in pompaj este indicata aplicarea circulatiei solventului.
Se mareste debitul sondei crescand elementele de pompare, astfel incat se reduce submergenta.
Se introduce solventul in spatiul inelar coloana de exploatare - tevi de extractie apoi este aspirat de pompa impreuna cu fluidul din sonda si refulat in tevile de extractie.
Cand solventul ajunge la capul de pompare se dirijeaza in spatiul inelar si se face circulatia amestecului titei - solvent pana se obtine curatirea depunerilor de parafina din tevile de extractie.
Inainte de a reintroduce in circuit amestecul de titei - solvent care a fost extras din sonda se va face o separare a parafinei antrenate din sonda.
Sondele care produc titei parafinos creeaza probleme de depunere a parafinei si in instalatia de suprafata: cap de eruptie si conducta de amestec.
a Deparafinarea capului de eruptie se realizeaza
- pe cale mecanica;
- pe cale termica.
Pentru deparafinarea mecanica este indicat a se folosi un ansamblu de curatire numit dispozitivul de curatire tip Stefanescu (fig.4.21).
Racord Conducta cu ventil de scurgere a presiunii Conducta 1/2in Amortizor
Tija
Piston
|
|
Fig.4.21. Dispozitiv mecanic de curatire a bratului capului de eruptie
Acest dispozitiv consta dintr-o tija metalica, avand la un capat un curatitor rasucit in dublu sens si la celalalt capat un piston. Dispozitivul se racordeaza cu extremitatea unde este curatitorul la ventilul de la crucea capului de eruptie, iar cealalta extremitate se pune in legatura cu spatiul inelar, unde presiunea este superioara celei din tevile de extractie si aceasta va actiona asupra pistonului impingand curatitorul pana la capatul bratului de eruptie. Se va inchide legatura dispozitivului cu coloana si se scurge presiunea care a actionat asupra pistonului si astfel curatitorul va ajunge in pozitia initiala.
Deparafinarea pe cale termica a bratelor capului de eruptie se realizeaza cu ajutorul generatorului de abur racordat la capul de eruptie.
b.Deparafinarea conductei de amestec se poate realiza pe cale
- mecanica,
- termica
- chimica.
Deparafinarea mecanica a parafinei de pe conducte se face cu ajutorul unor curatitoare speciale numite godevile.
Godevilul (fig. 4.22) este un dispozitiv compus dintr-o tija centrala, cu una sau mai multe articulatii, pe care se fixeaza un grup de aripi razuitoare, niste parghii, care au la capete niste rotite dintate pentru ghidare si niste suporti pentru montarea unor garnituri de etansare. Articulatiile permit godevilului sa treaca cu usurinta prin curbele conductei. Garniturile de etansare confectionate din piele sau cauciuc sintetic au rolul de a pune in miscare godevilul sub actiunea fluidului si de a impinge parafina razuita de pe conducta.
Aripile razuitoare sunt niste lamele de otel cu rol de curatire a parafinei. Rotile dintate, executate din otel ghideaza curatitorul si impiedica rotirea lui.
Pentru lansarea si primirea godevilelor, se realizeaza niste legaturi speciale la conductele de amestec, numite conducte de ocol, prevazute cu ventile pentru dirijarea fluidelor o perioada scurta necesara introducerii si extragerii acestor curatitoare.
Ansamblul de conducte si ventile necesare introducerii si extragerii godevilului se numesc statii sau gari de lansare si primire a godevilelor.
Garnituri din piele Tija centrala Arc Arc
Articulatie Roti directoare Cutite curbate Roti directoare Parghii Suport Parghii

Fig. 4.22. Godevil
Deparafinarea pe cale termica a conductelor se face prin injectarea de abur supraincalzit sau titei fierbinte.
Deparafinarea chimica a conductelor se realizeaza cu solventi, ce se stabilesc cantitativ si calitativ pe cale experimentala.
Prevenirea depunerii parafinei pe conducta curatata se face prin introducerea periodica in curentul de lichid a unor dopuri de solvent pur.
|