MEMORIU JUSTIFICATIV DE CALCUL
2.1 PROIECTAREA AMBALAJULUI.

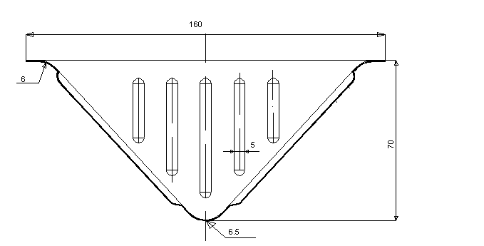
În acest subcapitol se v-or face referiri asupra reperului ce se executa pe instalatia de termoformare. Reperul este sub forma unor cutii triunghiulare corespunzatoare desenului de mai sus.
Produsul care se executa este produs de tip ambalaj, folosit pentru depozitarea sandvisurilor .
Ţinând cont de utilitate 838q168i a produselor se pune problema asigurarii unor calitati care sunt direct proportionale cu calitatea suprafetelor poansoanelor de formare.
Razele reperului s-au ales astfel încât sa avem o formare cât mai usoara, eliminându-se astfel posibilitatea ca reperul sa nu atinga toate partile poansonului .
Se va evita apasarea exterioara a reperului aceasta ducând la aparitia unor fisuri si chiar la craparea reperului.
Materialul din care s-a executat reperul este polistirenul rezistent la soc.
Acest material este constituit din polistiren (eventual copolimerizat cu mici cantitati de alchil stiren) modificat cu un elastomer în scopul obtinerii unei mai bune rezistente la soc, superioare celei a polistirenului normal.
Datorita continutului de elastomer polistirenul rezistent la soc este opac realizându-se si în variante transparente.
În continuare se dau principalele caracteristici ale materialului.
|
Proprietati |
U.M. |
Metoda STAS |
PAS-1 |
|
Densitate |
g/cmł | ||
|
Indice de fluiditate |
g/600 s |
min. 1.0 |
|
|
Rezistenta la tractiune la rupere |
MPa |
min. 26 |
|
|
Alungire la rupere |
min. 20 |
||
|
Rezistenta la soc -la 23şC -la -30şC |
J/cm˛ |
min. 0.4 min. 0.22 |
|
|
Duritatea Brinell -la 10 sec -la 60 sec |
MPa |
5871-75 B | |
|
Temperatura de înmuiere Vicat |
şC |
min. 90 |
comerciala.
2.2 PROIECTAREA INSTALAŢIEI DETERMOFORMARE
2.2.1 Prezentarea instalatiei industriale pentru termoformare
Instalatia este compusa din mai multe subansamble si elemente componente fiecare având un rol bine determinat în cadrul acesteia.
În continuare se vor prezenta elementele componente ale instalatiei si rolul fiecaruia în cadrul acestei instalatii.
Aceasta instalatie este conceputa sa functioneze automat realizând o productivitate sporita si ducând la un pret de cost minim al produselor realizate.

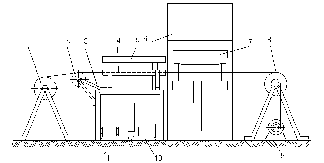
FIGURA 2.2.1.1 Instalatia de termoformare
Reperul 1 este un tambur de material din folie termoformabila. Tamburul este realizat pe lagare cu rulmenti si este prevazut cu un sistem de frânare care împiedica derularea materialului dupa oprirea sistemului de tragere.
Reperul 2 este o rola de preluare a materialului. Rolul functional al acesteia este de a mentine constanta distanta dintre banda de material si masa, datorita micsorarii continue în diametru a tamburului (reper 1). Rola este construita pe lagar de rulmenti pentru a micsora frecarile de alunecare dintre banda si suprafata exterioara a rolei.
Reperul 3 este masa (suportul) pentru rola de preluare a materialului, pentru sistemul de ghidare a benzii si pentru sistemul de încalzire. Suportul este construit din semifabricat laminat de tip profil U si sudat iar partea superioara este formata dintr-o placa de otel rectificata necesara bunei pozitionari a elementelor componente a instalatiei.
Reperul 4 este un sistem de ghidare a benzii de material.
Reperul 5 este ansamblul de încalzire care se pozitioneaza deasupra benzii de material încalzind-ul înainte de intrarea în matrita.
Reperul 6 este presa PH 40 aflata în laborator.
Reperul 7 este matrita de termoformare cu patru cuiburi a carei prezentare se va face in paragrafele urmatoare.
Reperul 8 este o rola de înfasurare pentru deseu. Aceasta rola este actionata de la un motor electric prin intermediul unor curele trapezoidale. Prin intermediul acestei role se realizeaza si pasul materialului.
Reperul 9 este un motor electric necesar antrenarii rolei pentru deseu. Legatura dintre motorul electric si rola de antrenare se realizeaza cu ajutorul curelelor trapezoidale înguste iar raportul de transmitere se realizeaza prin intermediul fuliilor. Motorul este unul de tip asincron pas cu pas iar actionarea sa este realizata prin intermediul unui temporizator de timp.
Reperul 10 este o pompa de vid actionata de un motor electric, pompa fiind necesara realizarii depresiunii care v-a duce la formarea prealabila a pieselor în cele doua cuiburi ale matritei.
Reperul 11 este un compresor de tipul 1C350 STAS 7147-60 necesar producerii aerului comprimat în vederea extragerii si dirijarii pieselor din matrita catre containerul destinat colectarii lor.
Instalatia este dotata cu un bloc de comanda necesar dirijarii aerului comprimat, a vidului precum si temporizarea acestora. Aceasta comanda se realizeaza prin intermediul unor supape.
Modul de utilizare a instalatiei în vederea executarii pieselor este relatat în continuare:
2.2.1.1 Instructiuni de pozitionare:
Instalatia se va amplasa într-un spatiu corespunzator cu dimensiunile ei astfel încât sa se poata intervenii usor în vederea alimentarii cu material precum si a înlocuirii rolei de deseu., precum si a containerului cu piese finite.
Aceasta amplasare trebuie sa satisfaca si spatiul necesar interventiilor de reglaj si reparatie a elementelor componente ale instalatiei.
Blocul de comanda al instalatiei se amplaseaza astfel încât operatorul sa poata comanda si intervenii cu usurinta în timpul procesului de executie.
2.2.1.2 Instructiuni de reglare si control:
În vederea începerii procesului de termoformare pe instalatie se prevad urmatoarele reglaje necesare:
- se regleaza înaltimea foliei fata de poansoanele matritei de termoformare prin intermediul sistemului de preluare.
- se regleaza sistemul de ghidare al foliei în functie de reglajul anterior al sistemului de preluare si de latimea foliei utilizate.
în functie de reglajele pe înaltime ale foliei se va regla înaltimea necesara dintre încalzitor si folie prin sistemul de reglaj al încalzitorului. Aceasta înaltime se va regla astfel încât sa avem o înmuiere cât mai rapida a materialului aceasta ducând la ridicarea productivitatii utilajului.
- prin intermediul blocului de comanda si în functie de timpul de înmuiere a materialului se regleaza timpul de formare prin întindere - aspiratie, timpii de evacuare a pieselor precum si timpul de functionare a motorului sistemului de actionare în vederea asigurarii pasului necesar , astfel încât sa avem un ciclu cât mai scurt de fabricatie.
În vederea prevenirii eventualelor defectiuni accidentale se vor efectua urmatoarele controale necesare.
- se va controla buna etanseitate a traseelor de circulatie a vidului precum si a aerului comprimat.
- se verifica strângerea suruburilor de fixare ale componentelor instalatiei pe masa acesteia.
- se controleaza întinderea adecvata a curelei de transmisie a sistemului de antrenare (sageata f intre 5-10 mm).
- se controleaza daca elementele care necesita ungere au fost gresate.
2.2.1.3 Functionarea instalatiei:
Dupa ce au fost facute reglajele si controalele aratate mai sus se porneste instalatia iar functionarea acesteia va decurge în urmatoarele faze:
Dupa încheierea timpului de înmuiere al foliei se comanda actionarea automata a motorului sistemului de antrenare care deplaseaza folia cu un pas. La sfârsitul deplasarii se comanda coborârea pachetului superior al matritei. Dupa coborârea pachetului se deschide ventilul de admisie a vidului formând piesa. Se închide ventilul de admisie al vidului . Se comanda ridicarea pachetului superior. Se comanda evacuarea piesei de pe poanson cu ajutorul aerului comprimat si dirijarea acesteia tot prin intermediul aerului comprimat spre container.
Pentru ca ciclurile sa fie cât mai omogene ceea ce duce la sporirea productivitatii instalatiei trebuie ca timpul de încalzire sa fie cat mai apropiat de suma timpilor ramasi dar acestia sa nu-l depaseasca.
2.2.2 Prezentarea variantelor constructive ale matritei
Varianta 1.
Schita variantei este prezentata mai jos.

FIGURA 2.2.2.1
1- placa de cap cu rol de fixare pe platoul mobil al presei si de pozitionare si fixare a poansonului de decupare, a placii de fixare, a poansonului de întindere precum si a bucselor port coloane de ghidare;
2- surub mobil pentru deplasarea placii de fixare a materialului;
3- arc elicoidal de presare a placii de fixare pe material;
4- arc elicoidal pentru presarea poansonului de întindere;
5- cep pentru fixarea arcului elicoidal 4;
6- placa de fixare;
7- material;
8- placa folosita la fixarea cuibului de formare;
9- poanson de taiere;
10- poanson de întindere;
11- coloana de ghidare;
12- cuib de formare si decupare a piesei;
13- placa de baza.
Cele doua pachete ale matritei sunt centrate cu ajutorul coloanelor de ghidare.
Centrarea si fixarea reperelor 8 si 9 se face prin intermediul stifturilor si suruburilor. Reperul 13 este pozitionat în reperul 8 prin presare.
Pachetul superior fiind ridicat si materialul adus în stare de înmuiere este pozitionat deasupra cuibului de formare. Se actioneaza coborârea pachetului superior. Placa de fixare atinge prima materialul fixându-l, dupa care pachetul superior coboara în continuare poansonul de întindere care formeaza materialul, dupa care atingând cursa maxima poansonul se opreste, dar datorita arcului elicoidal 4 pachetul superior mai coboara aproximativ doi milimetrii împreuna cu poansonul de taiere 9, decupând conturul piesei. În acest moment se cupleaza pompa de vid, iar piesa se formeaza pe poanson. Vidarea se face prin placa de cap, prin cepul 4 si prin poanson, placa de cap fiind cuplata prin intermediul unui furtun la pompa de vid, si la compresor. Dupa câteva secunde pachetul superior se ridica împreuna cu piesa. În momentul când pachetul superior ajunge sus, se decupleaza pompa de vid si se cupleaza în schimb aerul comprimat, acesta desprinzând piesa de pe poanson, dupa care aceasta se extrage cu mâna. Acest ciclu se repeta.
Dezavantajul acestei constructii este acela ca piesele trebuie scoase cu mâna, productivitatea fiind scazuta, existând si riscul de accidentare a operatorului. Un alt dezavantaj sunt problemele care apar în timpul vidarii datorita faptului ca etanseitatea se realizeaza cu greutate datorita elementelor aflate în miscare. Forma piesei este si ea afectata datorita miscarii relative a poansonului în timpul procesului de formare.
Avantajele sunt: constructia extrem de simpla, usor de prelucrat nefiind necesare prelucrari pretentioase.
Constructia este recomandata pentru produse nu prea pretentioase.
Piesa se formeaza pe poanson datorita faptului ca suprafata exterioara a poansonului este mai usor de executat.
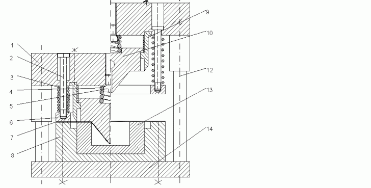
Varianta 2

FIGURA 2.2.2.2
1-placa de cap, cu rol de fixare pe platoul mobil al presei si de pozitionare a cutitului de taiere, a cuibului de termoformare, a elementului de fixare a materialului precum si a bucselor port coloane de ghidare;
2- element de fixare pentru material;
3- poanson de decupare a conturului piesei;
4- cuib de termoformare;
5- poanson de întindere a materialului;
6- placa de baza, cu rol de fixare a poansonului, a placii de fixare a materialului precum si a coloanelor de ghidare;
7- cep pentru fixarea arcului elicoidal;
8- arc elicoidal folosit la presarea matritei de termoformare;
9- coloana de ghidare cu rolul de pozitionare si conducere;
10- material;
11- placa suport, cu rol de fixare a materialului;
12- suruburi de fixare si conducere a placii suport;
13- arc elicoidal.
Centrarea pachetului inferior fata de cel superior se face ca si la varianta precedenta cu ajutorul coloanelor de ghidare.
Centrarea si fixarea reperelor 2, 3 si 5 se realizeaza cu ajutorul stifturilor si suruburilor.
Functionarea matritei prezentate este urmatoarea:
Pachetul superior fiind ridicat si materialul adus în stare de înmuiere este pozitionat deasupra poansonului de întindere si formare, dupa care se actioneaza coborârea pachetului superior. Reperul 2 fixeaza materialul acesta fiind deformat de catre poansonul 5. Se actioneaza pompa de vid iar materialul ia forma poansonului dupa care decuparea conturului piesei este facuta de catre poansonul de decupare 3. Dupa decupare pachetul superior se ridica, pompa de vid este decuplata iar piesa este desprinsa de pe poanson cu ajutorul aerului comprimat. Aceasta se extrage din matrita iar materialul mai avanseaza cu un pas si ciclul se repeta.
Vidarea se face direct prin poanson prin legarea acestuia la pompa de vid si la compresor.
Avantajele fata de varianta precedenta sunt: pozitionarea si fixarea mai precisa a poansonului de formare, rezultând piese cu flansa egala si cu o forma mai precisa.
Formarea piesei se face tot pe suprafata exterioara a poansonului ca si la varianta precedenta datorita acelorasi motive.
Dezavantajele sunt: costul de executie mai ridicat datorita necesitatii prelucrarii mai fine a suprafetelor elementelor pentru ca acestea sa fie pozitionate mai bine.
Varianta 3
FIGURA 2.2.2.3
1-placa de cap cu rol de fixare pe platoul presei , si de pozitionare si fixare a mai multor elemente;
2-cuib de formare;
3-element de fixare pentru folia termoformabila;
4-placa de sprijin si fixare pentru folie;
5-poanson de întindere si formare;
6-arc elicoidal ;
7-surub de fixare si conducere a placii suport;
8-placa de baza cu rol de fixare a poansonului, a coloanelor de ghidare, a matritei de decupare, si a placii suport;
9-surub de fixare si conducere;
10-arc elicoidal cu rol de presare a elementului de fixare pe material;
11-poanson de decupare, cu rol de taiere a conturului exterior al piesei;
12- placa de fixare în vederea decuparii;
13-coloana de ghidare;
14-piesa (ambalajul);
15-matrita de decupare ;
16-canal pe unde cu ajutorul aerului comprimat piesa este eliminata din matrita;
Centrarea pachetului superior fata de cel inferior se face cu ajutorul coloanelor de ghidare ca si la variantele precedente. Centrarea si fixarea elementelor componente ale matritei se face cu ajutorul stifturilor si suruburilor.
Deosebirea esentiala fata de celelalte doua variante consta în faptul ca la aceasta varianta matrita este cu actiune succesiva, în timp ce la celelalte doua variante actiunea era simultana, piesa fiind terminata la un singur post de lucru.
Functionarea matritei este urmatoarea:
Cu pachetul superior ridicat materialul este adus în stare de înmuiere si este plasat deasupra poansonului de întindere si formare, dupa care pachetul superior începe sa coboare. Reperul 3 împreuna cu reperul 7 fixeaza materialul, acesta fiind deformat de catre poansonul 5. În momentul în care se atinge cursa maxima si coborârea pachetului superior este oprita se actioneaza pornirea vidului, materialul fiind format pe poansonul 5. Dupa realizarea vidarii, pachetul superior se ridica, se opreste pompa de vid si se porneste aerul comprimat, materialul fiind desprins de pe poanson. Elementul 4 datorita arcurilor elicoidale ridica materialul pâna deasupra poansonului, dupa care se porneste sistemul de antrenare al benzii, iar piesa formata deja se deplaseaza la matrita de decupare 15 unde cu ajutorul poansonului de decupare 11 se decupeaza conturul exterior al piesei. Dupa decupare piesa cade prin matrita de decupare pâna în placa de baza unde se afla un canal 16, iar prin acest canal cu ajutorul unui furtun cu aer comprimat piesa este suflata afara din matrita într-un container.
Avantajul acestei constructii fata de variantele precedente este acela ca piesa se elimina din matrita fara a fi nevoie ca operatorul sa mai introduca mâna dupa ea. Un alt avantaj este acela ca elementele componente pot fi fixate si centrate mai usor datorita faptului ca acestea nu mai trebuie montate asa de înghesuit ca si la variantele precedente. Un alt avantaj este acela ca forma piesei rezulta mai precisa.
Dezavantajul principal este cresterea timpului de prelucrare datorita prelucrarii succesive a piesei.
În urma analizarii posibilitatilor de executie a celor trei variante prezentate precum si a preciziei de executie a pieselor cu aceste trei variante s-a ales ca varianta optima varianta 3.
Prezentarea matritei de termoformare.
Pe baza numerotarii elementelor componente ale matritei conform reperului MT 01-00 se prezinta în continuare constructia si functionarea matritei.
Reperul 1 este un surub de fixare a poansonului de întindere în placa de baza. Aceasta fixare se realizeaza cu un numar de 4 astfel de suruburi pentru fiecare poanson în parte.
Reperul 2 sun suruburile de sustinere a placii suport. Pe aceste suruburi se introduc arcuri elicoidale cu rol de ridicare si coborâre a placii suport.
Reperul 3 este placa de baza a matritei cu rol de fixare a matritei pe masa instalatiei precum si ghidarea si fixarea elementelor componente ale pachetului inferior prin stifturi si suruburi.
Reperul 4 este coloana de ghidare care este ajustata cu bucsa si placa de baza a matritei. Coloana se trateaza termic si se rectifica.
Reperul 5 este inelul de siguranta O necesar taierii posibilitatilor coloanei de a iesii din placa de baza.
Reperul 6 este un arc elicoidal cu rolul de a ridica placa suport în scopul fixarii benzii de material în scopul termoformarii.
Reperul 7 este poansonul de întindere, acesta este centrat în placa de baza printr-un ajustaj cu strângere si este fixat cu ajutorul suruburilor.
Reperul 8 este placa suport cu rol de sustinere, conducere si fixare a foliei de material plastic. Aceasta placa se monteaza cu ajutorul suruburilor pe arcuri elicoidale, ea având posibilitatea de coborâre si ridicare pe verticala.
Reperul 9 este un cuib de termoformare, cu rol de fixare a materialului pe placa suport si având un locas în care în timpul termoformarii foliei intra poansonul de întindere. Este fixat si centrat prin intermediul unei placi de fixare si centrare în placa de cap.
Reperul 10 este bucsa de ghidare a coloanei care este ajustata în placa de cap si cu coloana. Bucsa se trateaza termic si se rectifica.
Reperul 11 este placa de fixare a coloanei care este ajustata în placa de cap si cu coloana. Bucsa se trateaza termic si se rectifica.
Reperul 11 este placa de fixare care se vine prinsa si centrata fata de placa de cap prin intermediul suruburilor si stifturilor. În aceasta placa se afla orificii în care se fixeaza si se centreaza prin strângere elementele superioare ale matritei.
Reperul 12 este surub de fixare a placii de fixare de placa de cap.
Reperul 13 este placa de cap a matritei în care sunt prevazute alezaje necesare stifturilor, cepului, bucselor de ghidare , a coloanelor cat si a suruburilor de fixare a componentelor pachetului superior.
Reperul 14 este placa de fixare a materialului în vederea decuparii pe contur a piesei. Aceasta placa se fixeaza pe arcuri prin intermediul unor suruburi în placa de cap. datorita arcurilor placa poate executa miscare pe verticala.
Reperul 15 este cepul de centrare si fixare a pachetului superior în berbecul presei din cadrul instalatiei. Cepul este ajustat în placa de cap a matritei.
Reperul 16 este placa de decupare a conturului piesei. Aceasta placa este fixata si centrata cu ajutorul suruburilor si stifturilor în placa de baza.
Reperul 17 este poansonul de decupare cu rol de taiere a conturului piesei. Acesta este ajustat în placa de fixare (reperul 11).
Reperul 18 este stift cilindric folosit la centrarea placii de fixare (reperul 11) în placa de cap.
Reperul 19 este stutul prin care se realizeaza absorbtia de aer de sub folia de material si prin intermediul caruia se introduce presiune pentru desprinderea piesei de pe poanson. stutul este etansat prin intermediul unei garnituri.
Reperul 20 este surub de fixare a placii de taiere în placa de baza.
Reperul 21 este stift cilindric pentru centrarea placii de taiere fata de placa de baza.
Matrita se va monta pe instalatia de termoformare reper IT 01-00. Fixarea se va face cu ajutorul bridelor. Matrita se va racorda la instalatia pneumatica si la cea de vid prin intermediul furtunurilor cu care este echipata instalatia IT 01-00.
La intervale regulate de timp se v-or controla urmatoarele elemente: strângerea si fixarea corespunzatoare a cepului în placa de cap precum si în berbecul presei, controlul etanseitatii circuitului de aer, strângerea suruburilor, ungerea coloanelor.
În continuare se va prezenta functionarea matritei de termoformare sub vid reper MT 01-00.
Când pachetul superior se afla în pozitie ridicata materialul este adus deasupra poansoanelor de formare. La coborârea pachetului superior placa de fixare (cuibul) preseaza materialul pe placa suport coborându-l si tragându-l peste poansoanele de întindere. Când se atinge cursa maxima pachetul superior se opreste si are loc pornirea vidului materialul este lipit de poanson luând forma acestuia.
Se ridica pachetul inferior, se opreste vidul ,si de la alt ventil se porneste aerul comprimat pentru extragerea piesei de pe poanson.
În momentul când pachetul superior ajunge sus, se porneste rola de antrenare care trage folia în care este formata piesa deasupra placii de decupare.
Se coboara din nou pachetul superior ,placa de fixare împingând materialul în jos, fixându-l de marginea placii de decupare dupa care cutitul taie conturul piesei aceasta cazând prin placa de taiere într-un canal din placa de baza de unde este evacuata cu ajutorul aerului comprimat într-un container pentru piese.
Se detaliaza în continuare justificarea ajutajelor.
Pentru centrarea elementelor componente ale pachetelor matritei se opteaza la varianta centrarii cu stifturi folosind ajustajul H7/m6. Acest ajustaj este un ajustaj intermediar cu strângere probabila mai mare folosit la asamblari foarte precise cu joc limitat la minim.
Centrarea cepului în placa de cap se realizeaza cu ajutorul ajustajului H7/k6. acest ajustaj este unul intermediar cu strângere probabila mica folosit la asamblari precise cu montaj usor.
Centrarea cepului se realizeaza pentru a nu se prelucra foarte pretentios partea superioara a placii de cap.
Bucsa de ghidare este fixata în placa de cap a matritei prin intermediul ajustajului H7/h6 care este un ajustaj cu joc minim egal cu zero, joc probabil foarte mic. Acest ajustaj se foloseste la asamblari fixe cu pozitionare precisa a elementelor sau la asamblari mobile cu ghidare foarte precisa.
Coloana este centrata în placa de baza prin ajustajul H7/m6 despre care s-a vorbit la stifturi.
2.2.4 Prezentarea sistemului de ghidare.
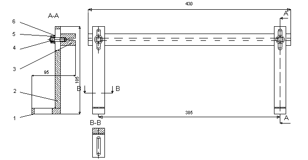
Schita si numerotarea elementelor componente ale sistemului de ghidare sunt prezentate în figura urmatoare.
Elementul 1 este talpa sistemului de ghidare prin care se realizeaza fixarea si reglarea sistemului în functie de latimea foliei utilizate. Din motive constructive reglarea , tinând cont de latimea foliei este limitata la 30 mm pentru fiecare parte a sistemului. Prin practicarea în masa instalatiei a unor canale asemanatoare se poate marii intervalul de reglaj amintit.
Reperul 2 este un brat sudat de talpa 1, în care este frezat un canal necesar reglarii ghidajului pe verticala reglaj care se efectueaza în functie de înaltimea poansoanelor de formare din pachetul inferior al matritei. Reglajul pe verticala se poate realiza într-un interval de 35 mm.

FIGURA 2.2.4.1
Reperul 3 este ghidajul în care este frezat un canal necesar sustinerii foliei. Reglarea si fixarea reglajului 3 fata de bratul 2, se realizeaza cu ajutorul prezonului 4, a saibei late 6 si a piulitei 5.
Sistemul de ghidare are urmatoarele roluri în cadrul instalatiei de formare: ghideaza materialul în vederea intrarii corespunzatoare în pachetul inferior al matritei, sustine materialul în etapa de stationare a acestuia pentru înmuiere protejând marginile foliei care ramân solide.
2.2.5 Calcule tehnologice
2.2.5.1 Calculul jocului de taiere dintre poanson si pastila.
Calculele se vor efectua tinând seama de faptul ca dimensiunea exterioara a flansei piesei este netolerata astfel s-a ales pentru executia ei o toleranta din clasa de precizie IT 9.
Flansa piesei având forma dreptunghiulara se va calcula jocul pentru ambele laturi.
Dimensiunile laturilor sunt:
A=70 ±0.35 mm
B=160±0.35 mm
mm
Apl- latimea placii;
Amin- latimea minima a flansei;
δ-toleranta piesei:
δ=0,07 mm.
pl- toleranta placii;
pl=δ/4=0.017 mm.
Astfel :
mm.
Deci: Apl max=69.996.
Apl min=69.979.
![]()
Ap - latimea poansonului.
Aplmin- latimea minima a placii.
j=m ∙s: m =0.07- coeficient ce tine seama de material:
s=0.5 - grosimea materialului.
Astfel jocul este: j=0.07∙0.5=0.035 mm.
![]()
Deci Ap min=69.927 mm
Ap max=69.944 mm.
Pentru lungimea celor doua componente notatiile au aceiasi semnificatie ca si în cazul latimii.
mm
Deci:
Bplmin=159.644 mm
Bplmax=159.681 mm.
mm
mm.
Deci: Bpmin=159.612 mm.
Bpmax=159.629 mm.
2.2.5.2 Calculul fortei necesare închiderii matritei
Pentru a putea calcula forta de închidere a matritei se va tine seama de urmatoarele forte ce apar în cadrul procesului.
forta necesara decuparii pe contur a flanselor pieselor.
Forta de comprimare a arcurilor.
Formula de calcul generala a fortei este urmatoarea:
Ftot = FD+FA [daN] ; unde
Ftot = forta totala de apasare.
FD = forta de decupare.
FA = forte auxiliare ce apar în proces.
Astfel:
FD=K lc s [daN].
Unde:
K-coeficient care tine seama de materialul decupat.
lc - reprezinta lungimea conturului decupat.
s-grosimea materialului decupat.
K=1.2.1.3.
-rezistenta la rupere la decuparea materialului si are urmatoarea expresie:
r ;
r - rezistenta la tractiune de rupere a materialului.
r=21 MPa astfel:
21=16.8 MPa ; 1 MPa=1000000 N/mm
daN/mm
Înlocuind în formula fortei de decupare se obtine:
FD 2.1 daN deci:
FD=1159 daN - forta de decupare necesara decuparii celor doua flanse executate simultan.
FA=Farcuri; alegem forta pentru un arc de urmatoarea valoare:
Farc1=25 daN. Matrita având în componenta 16 arcuri valoarea fortei auxiliare este urmatoarea :
FA Farc1=400 daN.
Forta totala necesara procesului este:
Ftot=FD+FA=1159+400=1559 daN.
Ftot=1559 daN.
2.2.5.3 Calculul presiunii necesare extragerii pieselor.
Piesele sunt extrase de pe poanson cu ajutorul aerului comprimat.
Presiunea necesara extragerii se calculeaza când piesa este lipita de poanson, deci suprafata de contact dintre aerul comprimat si piesa este constituita prin suprafata orificiilor din poanson.
Presiunea aerului fiind aceiasi în fiecare poanson se va calcula presiunea necesara pentru extragerea unei singure piese.
În fiecare poanson sunt aplicate 9 orificii a caror diametru este : d=1 mm.
Aria/gaura= R [mm
Aria/gaura =0.78 mm
Aria/pastila=Aria/gaura·9=0.78·9=7.02 mm˛ .
Presiunea are urmatoarea formula: p=F/A [N/mm˛] unde:
F = forta de scoatere a piesei care se alege de valoarea F=5N. Deci:
p=5/7·0.2=0.142 N/mm˛ , rezulta p=1.4 at.,
2.2.6 Itinerar tehnologic de executie pentru reperul ambalaj
|
Nr. crt. |
Denumire operatie |
Desen piesa |
SDV |
|
Încalzire folie |
|
Instalatie termoformare IT 01-00 |
|
|
Întindere pe poanson si aspiratie |
|
Matrita MT 01-00 |
|
|
Evacuare de pe poanson |
|
Instalatie aer comprimat -compresor STAS 7147-65 |
|
|
Decupare pe contur |
|
Matrita MT 01-00 |
|
|
Evacuare din matrita |
|
Instalatie aer comprimat -compresor STAS 7147-65 |
|
|
Control tehnic |
|
subler |
|
|
depozitare |
|
|