Pereti structurali de beton armat
1) Pereti - Elemente de constructii de suprafata, plane sau curbe, cu doua dimensiuni predominante (lungime si inaltime in raport cu grosime)
sunt supusi preponderent la compresiune
Compresiunea este efectul simultan a doua forte egale si de semn contrar care actioneaza asupra unui corp solid pe aceeasi directie in sens convergent, avand tendinta de a-l scurta.
sprijina (se descarca) pe fundatii, pe alti pereti, pe grinzi, pe stalpi si chiar pe plansee.

Pe pereti sprijina (se incarca de la) alti pereti, grinzi, stalpi si plansee.

Din punct de vedere al rolului structural, peretii pot fi:
-pereti neportanti (purtati);
-pereti autoportanti - au fundatii proprii si isi sustin propria greutate. Pot fi amplasati la subsol, la parter, la constructiile fara subsol sau pe mai multe niveluri la peretii de inchidere ai halelor industriale.
Din punct de vedere al rolului functional, peretii pot fi:
-pereti de inchidere;
-pereti de compartimentare;
-pereti pentru protectie contra incendiilor.
Exigentele la care trebuie sa raspunda peretii sunt:
-rezistenta si stabilitate;
-izolare fonica;
-izolare termica;
-izolare impotriva apei si a aerului;
-rezistenta la foc;
Din punct de vedere al formei in plan, peretii pot fi:
-pereti izolati-necuplati (dreptunghiulari cu sau fara bulbi, la unul sau ambele capete);
-sisteme deschise de pereti cuplati (pereti dispusi perpendicular-talpi);
-sisteme inchise de pereti (tuburi simple sau multiple).
Din punct de vedere al golurilor, peretii pot fi:
- pereti plini;
- pereti cu goluri izolate sau dispuse aleator;
- pereti cu unu sau mai multe siruri de goluri suprapuse.
gol mic - gol fereastra de baie
gol mijlociu - gol usi interioare
gol mare - gol usi- fereastra, gol interior fara buiandrug.
2) Pereti structurali de beton armat
Peretii structurali sunt solicitati si dimensionati la incarcari in planul lor

Actiunea - orice cauza capabila de a produce intr-o constructie stari de solicitare mecanica.
Actiunile sunt reprezentate in calcule prin incarcari in cadrul carora sunt definite sisteme de forte, deplasari impuse si deformatii impiedicate.
Actiunile ce solicita peretii din b.a. pot fi:
Forte;
-Verticale
-Repartizate
Repartizate de volum (greutate proprie)
Repartizate liniar (efectul planseelor)
-Concentrate
Actiunile grinzilor, greutatea elementelor de fatada
-Orizontale
Repartizate de volum (forte reale seismice)
Repartizate liniar (presiunea vantului)
Concentrate (forte seismice conventionale)
Deformatii impiedicate;
-curgerea lenta a betonului
-contractia betonului
-variatiile de temperatura
Deplasari impuse;
-cedari de reazeme.
Din punct de vedere al tehnologiei de realizare, peretii din b.a. pot fi:
- pereti monolit; realizati cu cofraje fixe
realizati cu cofraje mobile (glisante, pasitoare)
- pereti prefabricati;


Prevederi constuctive
-Peretii portanti din b.a. se realizeaza din beton de clasa C12/15÷C25/30.
-Grosimea minima a peretilor portanti din b.a. este g ≥ 150 mm si b ≥ Hg / 20;
15cm. (monoliti) si 12cm. prefabricati.
-Armaturi utilizate PC60, PC52, OB37 si STNB
-Dimensiunea bulbilor
hp ≥ 250 mm si hp ≥ 2b
-Dimensiunea talpilor
ht ≥ 150 mm si ht ≥ He/4

-dispunerea diafragmelor din beton armat
Pentru a se evita realizarea unor structuri cu centrul de greutate mult distantat de centrul de rigiditate, si astfel evitarea efectelor de torsiune generala, diafragmele de beton armat se vor pozitiona simetric fata de axele de simetrie si cat mai aproape de contur. Se va evita realizarea unor centre de rigiditate locale, falsa simetrie si dispunerea nefavorabila.

(*) - Clasa minima de beton conform standardului SR EN 206:2002 este C 8/10;
(**) - Clase de rezistenĘa la compresiune conform NE 012-1999 care nu se regasesc in SR EN 206:2002
CALCULUL PERETILOR STRUCTURALI DIN BETON ARMAT
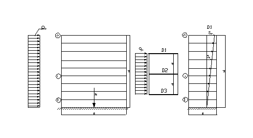
- Zona cea mai solicitata a peretilor portanti din b.a. se afla la baza lor.
- Distributia eforturile la baza unei diafragme este prezentata in figura urmatoare.
Incarcare gravitationala uniforma
N= Σqi σN =
N/Ab Ab = g
x 1

Incarcare gravitationala neuniforma
N= Σqi ΣN =
N/Ab Ab = g
x 1
Incarcare din vant
pv= qvxd
Incarcare din seism
- coeficient seismic global corespunzator
modului de vibratie r;
-
coeficient de importanta a constructiei in functie de clasele de importanta;
-
coeficient functie de zona seimica de calcul a amplasamentului;
- coeficient de amplificare dinamica in modul r de vibratie, functie de
compozitia spectrala a miscarii seismice pe amplasament;
- coeficient de reducere a actiunii seismice tinand seama de
ductilitatea structurii, de capacitatea de redistributie a eforturilor, de
ponderea cu care intervin rezervele de rezistenta neconsiderate in calcul,
precum si de efectele de amortizare a vibratiilor, altele decat cele asociate
structurii de rezistenta;
- coeficientul de echivalenta intre sistemul real si un sistem cu un
grad de libertate corespunzator modului propriu r;
- rezultanta incarcarilor gravitationale pentru intreaga structura
(determinata in gruparea speciala de incarcari);
Si
= S![]()
Incarcare generala
G = Gp + Σq
M = FxH
σG = G/Ab
σM = M/Wb
σ = σG ± σM
Pereti din zidarie
Dimensiunea caramizilor este:
Caramida plina (CP) 63 x 115 x 240 STAS 457-80
Caramida cu goluri verticale (GVP) STAS 5185/2-80
88 x 140 x 290
183 x 240 x 138
183 x 180 x 365
88 x 115 x 240
188 x 240 x 290
Tipuri de zidarii (Cod de proiectare pentru structuri de zidarie, indicativ 'CR6-2006"
ZNA zidarie simpla / nearmata - zidarie care nu contine suficienta armatura pentru a fi considerata zidarie armata.
ZC Zidarie confinata - zidarie prevazuta cu elemente pentru confinare de beton armat pe directie verticala (stalpisori) si orizontale (centuri).
ZC + AR Zidarie confinata si armata in rosturile orizontale - zidarie confinata la care, in rosturile orizontale, sunt prevazute armaturi in cantitate suficienta
ZIA zidarie cu inima armata - perete alcatuit din doua ziduri paralele avand spatiul dintre ele umplut cu beton armat sau cu mortar de beton, cu sau fara legaturi mecanice intre straturi.
ZUC zidarie de umplutura asociata cadrelor
Pereti de zidarie de umplutura nestructurali.
Grosimea minima perete structural de zidarie tmin=240mm.
Hetajtmin ≤ 12 ZNA
Hetajtmin ≤ 15 restul



Teserea caramizilor.
Se urmareste evitarea creerii unor rosturi verticale. Diferitele forme de asezarea caramizilor se exprima prin raportul de tesere.
-l/h ≥ 0.8 valoarea minima
l/h = 0.4 adica
suprapunerea va fi cel putin ¼ din lungimea caramizii.

Marca caramizilor si a mortarelor
|
Inaltimea constr. |
Nr. niveluri |
Marci minime de caramizi si de mortar in functie de gradul de protectie antiseismica a constructiei |
||||||||
|
H (m) |
n | |||||||||
|
Marca caramida |
Marca mortar |
Marca caramida |
Marca mortar |
Marca caramida |
Marca mortar |
Marca caramida |
Marca mortar | |||
|
H<4 | ||||||||||
|
4<H<9 | ||||||||||
|
9<H<12 | ||||||||||
|
12<H<15 | ||||||||||
Inaltimea si numarul de niveluri
|
Gradul de protectie antiseismica |
Inaltimea (H) in metri si numarul de niveluri (n) pe categorii de structuri |
||||
|
Tip fagure |
Tip celular |
Tip sala |
|||
|
H |
n |
H |
n |
N |
|
|
| |||||
Lungimea tronson pentru un teren de fundare normal
|
Tip de planseu |
Grad de protectie antiseismica |
|||
|
a)Planseu prefabricat sau prefabricat cu suprabetonare | ||||
|
b)Panouri sau semipanouri monolitizate | ||||
|
c)Fisii prefabricate cu bucle monolitizate | ||||
|
d)Fisii prefabricate fara bucle sau grinzi cu corpuri de umplutura fara suprabetonare | ||||
Distanta maxima admisa intre peretii structurali si aria maxima apanourilor de pereti.
|
Tip planseu |
Inaltimea maxima a constr. |
Nr maxim de niveluri |
Distanta maxima lmax in m. Aria maxima Amax in m2 Grad seismic |
|||
|
a,b | ||||||
|
c | ||||||
|
d | ||||||
8.Dimensiunile minime ale plinurilor de zidarie
|
Caracteristici si pozitia plinurilor |
Pozitia peretelui |
UM |
Marimea in functie de gradul seismic si inaltimea constructiei |
||||||||
|
<9m |
9-15m |
<9m |
9-15m |
<9m |
9-12m |
<9m |
|||||
|
Aria plinurilor peretilor in sectiune orizontala pe fiecare din cele doua directii principale in raport cu aria construita |
Exterior interior | ||||||||||
|
Suma latimilor plinurilor de zidarie raportata la lungimea totala a peretelui respectiv |
Exterior Interior | ||||||||||
|
Latimea plinurilor de zidarie simpla -de colt -intermediar |
Exterior |
m | |||||||||
|
Latimea plinurilor de zidarie simpla -la margine -intermediar |
interior |
m |
sau 1/2h gol | ||||||||
SISTEM FAGURE
Pereti desi. Celula separa incaperile principale ale cladirii.
Se recomanda la constructiile pe terenuri sensibile.
Hnivel ≤ 3.2m.
Distanta intre pereti ≤ 5.00m.
Aria celului ≤ 25m2.
SISTEM CELULARI
Pereti relativ desi. Celula separa unitatile functionale ale cladirii.
Hnivel ≤ 4.00m.
Distanta intre pereti ≤ 9.00m.
Aria celului ≤ 75m2.
DIMENSIUNILE SPALETILOR

(a1+a2+a3)/l ≥ 5%-6% pereti exteriori
(a1+a2+a3)/l ≥ 7%-8% pereti interiori
lungimea de plinuri pe o directie / lungimea constructiei pe aceeasi directie.
at1+(b+c)t2+(d+e)t3 ≥ 5-6%AB
Arie de plinuri pe o directie / aria constructiei pe aceeasi directie.
Aceste verificari se fac pe fiecare directie in parte.
Pozitia centurilor
-la nivelul fiecarui planseu
-la cote intermediare (intre plensee), la constructii cu pereti rari si la constructii de tip sala pentru a se respecta suprafata maxima a unui spaletin
Pozitia stalpisorilor
-la capetele libere ale fiecarui perete
-de o parte si de alta a fiecarui gol cu suprafata mai mare de 2.5m2.
-la toate colturile si intrandurile de pe contur.
-in lungul peretelui a.i. distanta intre stalpisori sa nu depaseasca 4m (celular) 5m(fagure).
-la intersectia zidariilor daca cel mai apropiat stalpisor se afla la mai putin de 1.50m.
- in toti spaleti care nu au lungimea minima prevazite de norme.
MANSARDE
Mansarda nu se considera etaj daca sunt indeplinite concomitent urmatoarele conditii.
1)Densitatea minima a peretilor 6%
at1+(b+c)t2+(d+e)t3 ≥ 6%AB
2)Pereti perimetrali nu depasesc 1.25m.
3)Peretii de compartimentare foarte usori.
4)Sarpantele de lemn nu dau impingeri in peretii perimetrali.
5)Zidaria peretilor mansardei sunt confinati.
6)La partea supeioara prezinta centuri din b.a.
|