Documente online.
Zona de administrare documente. Fisierele tale
Am uitat parola x Creaza cont nou
 HomeExploreaza
upload
Upload




Zid de sprijin

Arhitectura constructii


Lucrarea

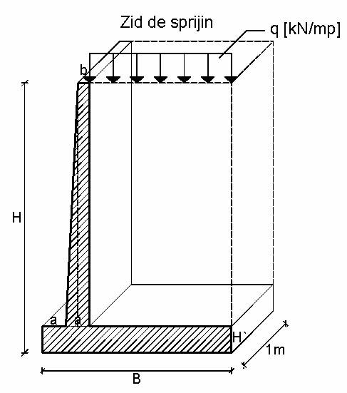
Zid de sprijin

Enunt

Pentru suntinerea unul mal de pamant se va proiecta un zid de sprijin cu urmatoarele caracteristici :

H=(4+0.08N) m

=19 kN/m3

beton 25 kN/m3

c=0

f=0.45

a=(1/12.1/10)H m

Df 2 m

B=(1/3.2/3)H m

b=max (H/24.0.3 m)



H`=(1/8.1/12)H m

Proiectul cuprinde:

A. Piese scrise

a)  predimensionarea zidului de sprijin

b) calculul analititc si graphic al impingerii pamantului in diferite ipoteze, Coulomb si Rankin

c)  verificarea stabilitatii zidului de sprijin

B. Piese desenate

a) sectiune verticala prin zid

b) planse pentru calcul grafic al impingerii pamantului




Document Info


Accesari: 6424
Apreciat: hand-up

Comenteaza documentul:

Nu esti inregistrat
Trebuie sa fii utilizator inregistrat pentru a putea comenta


Creaza cont nou

A fost util?

Daca documentul a fost util si crezi ca merita
sa adaugi un link catre el la tine in site


in pagina web a site-ului tau.




eCoduri.com - coduri postale, contabile, CAEN sau bancare

Politica de confidentialitate | Termenii si conditii de utilizare




Copyright © Contact (SCRIGROUP Int. 2026 )