Protectia catodica cu sursa exterioara de curent
Protectia catodica este unul dintre mijloacele importante de reducere a vitezei de coroziune, în special în cazul structurilor metalice de dimensiuni mari, în contact cu medii naturale (conducte metalice subterane, instalatii portuare, platforme de foraj, nave, rezervoare de depozitare si alte echipamente). Metoda poate fi aplicata teoretic pentru orice metal, în orice mediu conductibil si este eficienta pentru combaterea atât a coroziunii generale, cât si a celei localizate.
Criteriul teoretic al protectiei catodice cere ca metalul sa fie polarizat la un potential mai mic sau cel putin egal cu valoarea potentialului sau 14314q1618o de echilibru.
Pentru ca protectia catodica sa poata fi aplicata, trebuie îndeplinite urmatoarele conditii:
prezenta în jurul suprafetei de protejat a unui mediu conductibil (solutie de electrolit, sol umed, apa de mare etc.);
stratul conductibil din jurul suprafatei sa fie suficient de gros pentru a permite închiderea circuitului anod - suprafata de protejat si pentru repartizarea uniforma a curentului pe aceasta suprafata;
constructia de protejat nu trebuie sa aiba configuratie prea complicata; proeminentele si adânciturile constructiei complica mult sistemul de anozi necesari pentru protectie, iar uneori fac imposibila protejarea anumitor parti din constructie datorita fenomenului de ecranare;
pentru reducerea densitatii de curent necesare protectiei, suprafata metalului este izolata prin acoperiri cu straturi protectoare.


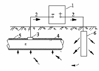
Fig. 9.25. Schema de principiu a protectiei catodice cu sursa exterioara de curent: 1 sursa de curent continuu; 2 conductori de legatura; 3 punct de drenaj; 4 conducta; 5 izolatie; 6 priza anodica
Metoda de protectie consta în legarea instalatiei de protejat la polul negativ al unei surse de curent, concomitent cu introducerea în acelasi mediu a unui anod legat la polul pozitiv al sursei.
În figura 9.25. este prezentata schema de principiu a protectiei catodice cu sursa exterioara de curent, aplicata la o conducta îngropata. Polul pozitiv al sursei de curent este legat de o priza anodica speciala, introdusa în pamânt, în apropierea constructiei protejate. Curentul care se scurge de la priza anodica în sol se raspândeste si ajunge pe conducta protejata, polarizând-o catodic pâna la potentialul de protectie.
Curentul ajuns pe conducta protejata este colectat în punctul de drenaj, de unde, printr-un conductor special, este dirijat spre polul negativ al sursei de curent.
Problemele pe care le ridica realizarea protectiei catodice cu sursa de curent externa, asa numita protectie electrica sunt:
potentialul de protectie;
densitatea de curent necesara pentru atingerea potentialului de protectie si acoperirile de protectie ale suprafetei metalice;
caracteristicile anodului si aspectele economice.
Potentialul de protectie este acea valoare la care procesul de coroziune înceteaza, adica potentialul de echilibru al metalului în conditiile date. Criteriul practic admite ca potential de protectie acea valoare la care coroziunea metalului devine nesemnificativa.
În general, trebuie evitata o supraprotectie în cazul metalelor amfotere (Al, Zn, Pb, Sn), din cauza posibilitatii coroziunii alcaline. Un alt dezavantaj al suprapolarizatiei catodice este degajarea H2 într-o cantitate capabila sa produca umflarea straturilor de acoperiri organice de pe suprafata metalului sau sa produca fragilizarea cu H2 a otelului, în mediile care contin sulfuri.
Masurarea potentialului structurii protejate este foarte importanta deoarece reprezinta criteriul general acceptat si folosit în practica. Potentialul unei structuri protejate catodic se determina prin plasarea electrodului de referinta cât mai aproape posibil de structura, astfel încât sa se evite erorile cauzate de caderea de tensiune prin mediu.
Densitatea de curent necesara pentru atingerea potentialului minim de protectie depinde de natura mediului corosiv si se stabileste experimental. Curentul necesar protectiei unei structuri metalice îngropate poate varia în limite foarte largi, depinzând de natura mediului si de calitatea izolatiei.
Acoperirile izolatoare sufera o deteriorare gradata, a carei viteza depinde de calitate si de mediu. Astfel, este necesar sa se efectueze teste periodice de rezistenta ale izolatiei în timpul exploatarii, pentru a se evalua performantele acoperirii.
Caracteristicile anodului. Anozii utilizati pot fi confectionati din materiale active (otel carbon, Al), pasive (aliaje fero-siliciu, aliaje plumb-stibiu) sau inerte (grafit, platina pe suport de Ti, Ta sau Nb).
Otelul are avantajul unui pret scazut si al unei viteze scazute de dizolvare. Aluminiul are un echivalent electrochimic mult mai mic; se consuma 2 kg/an, la densitatile anodice de curent uzuale de 4-5 A/m2. Grafitul a fost utilizat frecvent, dar acum exista tendinta înlocuirii lui, deoarece prezinta dezavantajul de a se sfarâma, mai ales în timp, datorita patrunderii gazelor în pori. Aliajele fero-siliciu (14% Si) au o foarte buna rezistenta datorita pasivarii lor. Aliajele pe baza de plumb au rezistenta foarte buna si sunt relativ ieftine. Consumul unor asemenea anozi este mic, iar densitatile de curent de lucru de 5-6 ori mai mari, ceea ce le face competitive economic. Platina pe suport de titan, tantal sau niobiu prezinta avantajul unor densitati de curent de lucru foarte ridicate (500-1000 A/m2) si a unei viteze de dizolvare foarte mici. Înlocuirea anozilor se face la 10 ani, în timp ce alte materiale nu rezista mai mult de 2-3 ani.
3.2. Protectia catodica cu anozi protectori
Protectia catodica cu anozi protectori consta în conectarea electrica la constructia de protejat a unui anumit numar de anozi (blocuri sau placi de metal) cu un potential mai electronegativ decât metalul constructiei. Cele doua metale scurtcircuitate formeaza un element galvanic, în care metalul mai electronegativ devine anod si se dizolva (cu anozi de sacrificiu), în timp ce metalul protejat devine catod, unde se desfasoara preponderent reactia catodica de coroziune (protectie catodica).
Principiul metodei rezulta din diagrama generala de coroziune a
doua metale în contact. Se considera metalul 1 în contact cu metalul
2 (e ee,1 < eee,2), într-o solutie acida si se admite ca
toate reactiile sunt controlate de etapa de transfer de sarcina. Cele
patru reactii posibile în sistem sunt: dizolvarea metalului 1 (curba 1),
dizolvarea metalului 2 (curba 2) si reducerea ionilor de H+ pe
metalul 1 (curba 1') si pe metalul 2 (curba 2'). Prin însumarea curbelor 1
si 2 se obtine curba totala 3, reprezentând variatia
vitezei de dizolvare a celor doua metale în contact în functie de
potential; prin însumarea curbelor 1' si 2' se obtine curba
totala 3', care reprezinta variatia vitezei de reducere a
oxidantului pe cele doua metale în contact, în functie de
potential.


Fig.
9.27. Comportarea
electrochimica a unui cuplu galvanic (sistem controlat de transferul de
sarcina).
Daca metalele 1 si 2 n-ar fi în contact, metalul 1 s-ar coroda
cu viteza i1 la potentialul eecor,1, iar metalul 2 cu viteza i2
la potentialul eecor,2. Datorita contactului electric între cele doua
metale, în sistem se stabileste un potential mixt, eecor, la care viteza de coroziune
a metalului 1 creste cu DDia,1, iar viteza de coroziune a metalului 2 scade
cu DDia,2. Simultan viteza de reducere a oxidantului pe
metalul 1 scade cu DDic,1, iar pe metalul 2 creste cu DDic,2. Daca
potentialul de echilibru al metalului 1 este suficient de negativ sau
polarizatia de dizolvare a metalului 1 este mica, potentialul de
coroziune al sistemului bimetalic, eecor, poate lua o valoare mai negativa decât eee,2. În aceasta
situatie coroziunea metalului 2 înceteaza pe seama
intensificarii coroziunii metalului 1.
În majoritatea structurilor care se protejeaza, poate exista o rezistenta electrica importanta între anodul si catodul cuplului galvanic, în special în cazul mediilor având conductibilitatea electrica scazuta. Astfel, curentul galvanic este cu atât mai mic cu cât rezistenta, R, a mediului este mai mare, ceea ce va reduce protectia oferita de anod. Aceasta dificultate poate fi partial depasita cu un anod care are un potential foarte activ, care da o tensiune electromotoare mai ridicata cuplului galvanic.
Polarizatiile reactiilor anodice si catodice pot influenta eficienta protectiei. Orice factor care reduce polarizatia catodica este în detrimentul protectiei catodice cu anozi protectori, în timp ce reducerea polarizatiei reactiei de dizolvare a anodului mareste eficienta protectiei.
Realizarea protectiei catodice cu anozi protectori ridica urmatoarele probleme:
alegerea materialului anodic;
asigurarea polarizarii instalatiei de protejat pâna la un potential suficient de negativ.
Prin alegerea adecvata a materialului anozilor protectori se realizeaza de cele mai multe ori si polarizarea suficienta a metalului de protejat. Când nu este posibil, modificarea potentialului de coroziune al sistemului bimetalic se poate realiza si altfel: prin corectarea compozitiei mediului adiacent anodului (folosirea materialelor de umplutura) se modifica si curba de polarizare a acestuia si deci potentialul sistemului.
Anozii protectori pentru protectia otelului sunt confectionati în prezent din trei metale: zinc, magneziu si aluminiu.
Zincul are potentialul fata de otel în jur de 0,25 V în conditii de utilizare, valoare suficient de negativa pentru a asigura protectia catodica a otelului în medii cu rezistenta nu prea mare.
În cazul folosirii zincului în sol, este necesar ca mediul adiacent anodului sa fie prelucrat pentru marirea conductibilitatii si evitarea pasivarii zincului.
Eficienta protectiei cât si durata de functionare a anozilor de zinc depind de puritatea zincului folosit. În special continutul în fier este principalul responsabil pentru distrugerea prematura a anozilor.
Magneziul, datorita potentialului sau mai electronegativ, asigura protectia otelului chiar si în soluri cu rezistivitate mare. În general, magneziul utilizat pentru anozii de sacrificiu este aliat cu 6% Al si 3% Zn. Ca si în cazul zincului, se impun limite severe pentru continutul în fier.
Aluminiul prezinta avantaje pentru utilizare ca anozi protectori fata de Mg si Zn (un potential destul de negativ si un echivalent electrochimic mai mic), însa tendinta pronuntata spre pasivare a aluminiului limiteaza domeniul de aplicabilitate.
Acest inconvenient poate fi depasit prin alierea aluminiului cu mici cantitati de alte metale sau prin adaugarea de mici cantitati de saruri metalice potrivite solutiei de electrolit. Se pare ca cea mai buna activare se obtine prin alierea aluminiului cu doua sau mai multe elemente activatoare.
Folosirea aluminiului ca material pentru anozi protectori este avantajoasa în cazul protectiei interioare a rezervoarelor pentru apa potabila. Sarurile de aluminiu ce rezulta prin dizolvarea sa anodica nu sunt toxice. Mai mult, dat fiind valoarea pH-ului în acest caz, precipita hidroxidul de aluminiu care favorizeaza procesul de limpezire al apei.
3.3. Protectia anodica cu sursa exterioara de curent
Protectia anodica a metalelor împotriva coroziunii este o metoda care se bazeaza pe trecerea metalului din stare activa în stare pasiva pe seama deplasarii potentialului prin polarizare anodica cu ajutorul unei surse de curent continuu.
Aplicarea curentului anodic accelereaza instalarea pasivitatii, mentinerea timp îndelungat, iar uneori permite folosirea de oteluri slab aliate si renuntarea la alte tipuri de protectii.
Deoarece protectia anodica nu produce nici un efluent si nu introduce cantitati semnificative de produsi de coroziune în mediul de proces, are avantaje ecologice.


Fig. 9.28. Curba de polarizare anodica potentiodinamica a unui metal activ pasiv: ________ sens direct; -------- sens invers.
Parametrii electrochimici, care influenteaza conditiile de aplicare, exploatare si eficacitatea protectiei anodice, pot fi obtinuti din curba de polarizare anodica potentiostatica a sistemului metal/mediu. În figura 9.28 este prezentata o curba schematica de pasivare, indicând efectele baleierii potentialului activ-pasiv, în sens direct si invers.
Curentul minim cerut pentru
mentinerea pasivitatii, iP, este conditionat de alegerea potentialului de protectie, eePR, situat în zona pasiva.
Baleierea inversa a potentialului este utila pentru determinarea
potentialului de pitting (e ePIT) al metalului în mediul dat. Cu cât este mai apropiat
potentialul pitting de potentialul
de transpasivare (e eTP), cu atât mai sigur este controlul coroziunii metalului prin
protectie anodica. Tehnica baleierii inverse a potentialului
este utila în determinarea celui mai eficient potential de
protectie, eePR, pentru mentinerea pasivitatii (valoarea
corespunzatoare curentul minim în zona pasiva).
În figura 9.29 este prezentata o instalatie tipica de protectie anodica aplicata la un rezervor de depozitare, din care rezulta echipamentul necesar pentru realizarea protectiei anodice: catozi , electrozi de referinta, dispozitiv pentru controlul potentialului (potentiostat) si sursa de curent continuu.


Fig. 9.29. Protectia anodica a unui tanc de depozitare
Catozii sunt conectati la polul negativ al sursei de curent în scopul închiderii circuitului electric, care implica sursa, peretele vasului si electrolitul din vas. Alegerea materialului catodic este conditionata de stabilitatea, conductibilitatea electrica, marimea si pretul de cost al acestuia.
Catodul trebuie sa fie stabil în mediul tehnologic dat si sa reziste la atacul produs de trecerea curentilor catodici prin el.
Materialele catodice cele mai uzuale folosite în instalatiile de protectie anodica sunt: platina, otel Cr-Ni, fonta cu siliciu, otel 18Cr8NiTi, Hastelloy C, electrod de aer, otel inox 304, otel acoperit cu nichel.
Electrozii de referinta sunt necesari deoarece potentialul peretelui vasului trebuie sa fie controlat.
Un electrod de referinta utilizat pentru protectia anodica trebuie sa fie robust fizic, rezistent în mediul corosiv, sa prezinte un potential constant în timp si sa fie insensibil la variatiile din mediu.
Electrozii de referinta utilizati în protectia anodica sunt electrozi exteriori sau imersati. Cei exteriori mai complecsi poseda o precizie mai mare, nefiind supusi actiunii schimbarilor de compozitie si temperatura ale mediului tehnologic. Ca electrozi exteriori, fixati în capul unei tije speciale, se folosesc electrozii de calomel, de clorura de argint, de sulfat si oxid de mercur. Electrozii imersati, lucreaza nemijlocit în mediul tehnologic si de aceea sunt mai simpli si mai putin precisi.
Reglarea potentialului se realizeaza cu potentiostate sau statii automate de protectie si control, capabile sa mentina potentialul constant în limitele a 30 50 nV.
Regimul de lucru al instalatiilor de protectie anodica cuprinde trei stadii: pasivarea initiala, regimul de exploatare si regimul stationar
Pasivarea initiala depinde de starea suprafetei metalului dupa imersie în electrolit. În cazul în care pe suprafata interioara se pastreaza pelicula de oxid formata în aer, pasivarea nu prezinta greutati deosebite. Dimpotriva, daca electrolitul are o agresivitate ridicata si metalul devine activ, pasivarea suprafetei necesita densitati mari de curent, care nu pot fi realizate de instalatia de polarizare si protectie. În acest caz, se recurge la o sursa de curent suplimentara sau la umplerea treptata a instalatiei de protejat prin includerea regulatorului de potential.
Regimul de exploatare este regimul de baza, la care trebuie sa fie mentinuti parametrii aparatelor de protectie, tinând cont ca variatiile în nivelul electrolitului, temperatura, agitare si compozitia solutiei, pot sa modifice continuu curentul si tensiunea de protectie.
În regim stationar, la nivel constant al electrolitului, regim termic si hidrodinamic constant, curentul de protectie se modifica putin în timp si poate fi echivalat ca densitate a curentului pasiv, ip
|