Documente online.
Zona de administrare documente. Fisierele tale
Am uitat parola x Creaza cont nou
 HomeExploreaza
upload
Upload




APARATE ELECTRODINAMICE - Constructia si functionarea aparatelor electrodinamice

Fizica


APARATE ELECTRODINAMICE

1. Constructia si functionarea aparatelor electrodinamice



Functionarea acestui tip de aparate se bazeaza pe interactiunea dintre campurile electromagnetice ale unor bobine: una stationara si una mobila, solidara cu axul aparatului. Interactiunea se manifesta prin aparitia unor forte electrodinamice care creeaza un cuplu activ ce este echilibrat de unul reactiv.

Dupa forma camp 727j95h ului produs de bobina fixa in zona in care se deplaseaza bobina mobila deosebim:

– aparate electrodinamice cu camp radial;

– aparate electrodinamice cu camp axial uniform.

Exista si alta varianta de aparate in care atat bobina fixa, cat si cea mobila au miezuri feromagnetice. Aceste aparate se numesc ferodinamice.

Aparatele electrodinamice cu camp radial, reprezentate schematic in figura 4.8, au in componenta lor urmatoarele elemente: o bobina fixa cilindrica alcatuita din doua sectiuni coaxiale plate 1a si 1b, care pot fi legate in serie sau in paralel. In zona dintre aceste sectiuni se afla bobina cilindrica mobila 2, fara cadru, solidara cu axul aparatului, care se poate roti intr-un plan perpendicular pe directia campului magnetic produs de bobina fixa.

De axul aparatului se afla fixate capetele a doua resoarte spirale, 3a si 3b, pentru producerea cuplului reactiv si pentru legarea bobinei mobile la borne, acul indicator cu contragreutati de echilibrare 4, paleta amortizorului de oscilatii 5 si corectorul de zero 6.

Suspensia axului poate fi facuta pe lagare (pivoti) sau cu banda sau fir la aparatele de mare sensibilitate.

La acest tip de aparate traiectoriile liniilor de camp ale bobinei intersecteaza perpendicular portiunile active ale conductoarelor bobinei mobile, indiferent de pozitia in care se afla aceasta.

Pentru obtinerea unei interactiuni maxime, raportul dintre diametrul mediu al bobinei mobile, d, si diametrul mediu al bobinei fixe, D, trebuie sa fie de ~ 0.62, iar raportul dintre distanta l dintre sectiunile bobinei fixe si diametrul mediu al acesteia sa fie de ~ 0,32.

Fig.4.8. Aparatul electrodinamic cu camp radial:

a) o vedere generala; b) detaliu al bobinelor.

2. Relatii functionale

Functionarea in curent continuu. Daca prin sectiunile bobinei fixe, legate in serie, trece un curent continuu I1, iar prin bobina mobila un curent I2, fortele electrodinamice care apar tind sa roteasca bobina mobila catre pozitia in care fluxul lui ar coincide ca directie cu fluxul bobinei fixe, pozitie in care energia magnetica a elementului motor este maxima.

Energia magnetica a elementului motor format din sectiunile bobinei fixe si bobina mobila:

,  (4.33)

unde L1 si L2 sunt inductivitatile proprii ale bobinei fixe, respectiv a celei mobile, iar L12 – inductivitatea mutuala a acestora.

Cuplul activ reprezinta derivata energiei magnetice in raport cu deviatia unghiulara a. In ipoteza ca cei doi curenti se mentin constanti si avand in vedere ca inductivitatile L1 si L2 ale bobinelor nu depind de a, singurul factor dependent de a este inductivitatea mutuala L12. Prin urmare, cuplul activ are expresia:

. (4.34)

Din conditia de echilibru a acestui cuplu cu cuplul rezistent produs de resoartele spirale deducem:

,  (4.35)

unde C este constanta de rigiditate a resortului spiral.

Inductivitatea mutuala L12 este o functie de dimensiunile geometrice ale bobinelor si de pozitia lor reciproca. Pentru un anumit raport intre aceste dimensiuni se poate obtine in interiorul bobinelor fixe un camp magnetic practic radial. In acest caz, in limitele unui anumit unghi de deplasare, bobina mobila intersecteaza normal liniile de camp si se poate admite ca In acest caz relatia (4.35) devine:

. (4.36)

Din ultimile doua relatii se vede ca sensul deviatiei a este dependent de sensul curentilor I1 si I2 din bobine. Pentru ca indicatorul sa devieze intotdeauna in sensul normal al cadranului, fabricantul marcheaza pe aparat bornele de intrare cu un semn distinctiv, asterisc sau sageata.

Functionare in curent alternativ. Daca prin cele doua bobine se nasc curentii alternativi, Ief1, respectiv Ief2, relatia dintre acesti curenti si deviatia acului devine:

. (4.37)

Din analiza relatiilor (4.35) si (4.37) reiese ca deviatia a pentru curent alternativ este similara cu cea pentru curent continuu daca valorile efective Ief ale curentului alternativ sunt egale cu valorile I ale curentului continuu si daca defazajul j este zero.

Aparatele electrodinamice fiind lipsite de parti feromagnetice, erorile instrumentale sunt neinsemnate, iar erorile provocate de factori externi pot fi eliminate sau compensate. Din aceste motive aparatele de acest tip pot avea clase de precizie ridicate (0,2; 0,1; 0,05) atat pentru curent continuu, cat si pentru curent alternativ. De fapt, ele sunt cele mai precise aparate de masurat de tip analogic, fiind utilizate indeosebi in laborator ca aparate etalon. Ele sunt etalonate in curent continuu si sunt utilizate apoi cu aceeasi precizie si in curent alternativ.



Dintre dezavantajele acestui tip de aparate mentionam: consum propriu relativ ridicat, capacitate de suprasarcina redusa si pret de cost relativ mare.

Aparatele electrodinamice se utilizeaza ca ampermetre, voltmetre, watmetre, varmetre s.a.

3. Ampermetre electrodinamice

Daca cele doua sectiuni ale bobinei fixe si bobina mobila ale unui aparat electromagnetic se leaga in serie, se obtine un ampermetru electrodinamic (fig. 4.9,a).

Fig.4.9. Conexiunile bobinelor la ampermetrele electrodinamice:

a) cu bobine in serie; b) cu bobine in serie si cu sunt.

In acest caz, curentul din ambele bobine, fixa si mobila, este acelasi, adica I1 = I2 = I iar deviatia aparatului:

. (4.38)

O expresie similara se obtine si in cazul unui curent alternativ, unde in loc de curentul I apare curentul efectiv Ief; in consecinta cu acelasi aparat se poate masura atat curentul continuu cat si curentul alternativ, dar de valori relativ mici, sub 0,5A.

Pentru masurarea curentilor mai mari de 0,5 A se recurge la legarea bobinei mobile la bornele unui sunt iar acesta se leaga in serie cu bobina fixa (fig. 4.9,b). In acest caz I1 = I, I2 = I∙Rs/(Rs + Rb) = k∙I, iar deviatia a este:

, (4.39)

adica de k ori mai mica.

Ampermetrele fara sunt nu necesita masuri de compensare a erorilor de temperatura si frecventa, pe cand cele cu sunt au nevoie de asemenea masuri, datorita faptului ca repartitia curentului prin sunt si prin bobina mobila este influentata de acesti factori. Compensarea partiala a temperaturii se face prin montarea in serie cu bobina mobila a unui rezistor cu rezistenta invariabila cu temperatura ,iar compensarea erorilor de frecventa prin suntarea partiala a acestui rezistor cu un condensator.

4. Voltmetre electrodinamice

Un voltmetru electrodinamic se obtine dintr-un aparat electrodinamic legat in serie cu un rezistor cu mai multe sectiuni. In acest mod se pot realiza voltmetre cu mai multe domenii de masurare (fig. 4.10).

Pentru compensarea erorilor de temperatura si frecventa se recurge la aceleasi procedee ca la ampermetrele electrodinamice.

Fig.4.10. Conexiunea bobinelor si rezistentei aditionale

la voltmetrele de t.c. de tip electrodinamic.

5. Watmetrul electrodinamic in curent continuu

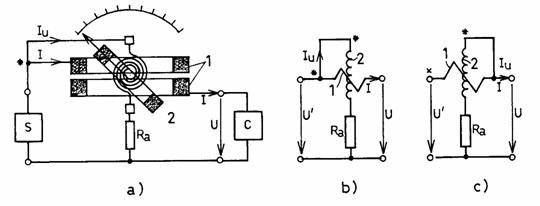
Un watmetru electrodinamic pentru masurarea puterii circuitului de curent continuu are o schema de principiu ca cea din figura 4.11.

Fig.4.11. Watmetrul electrodinamic:

a) amplasarea bobinelor; b) conexiunea in amonte; c) conexiune in aval.

Acesta este alcatuit din bobina fixa 1, numita si bobina de curent, cu un numar mic de spire, conectata in serie cu consumatorul, si din bobina mobila 2, numita si bobina de tensiune, care are un numar mult mai mare de spire de sectiune mai mica.

Bobina de tensiune este asezata in interiorul bobinei de curent pe acelasi ax cu acul indicator, cu resortul spiral si cu aripa amortizorului pneumatic de oscilatii. Aceasta bobina inseriata cu o rezistenta aditionala, Ra, se conecteaza in paralel cu consumatorul.

Din actiunea reciproca dintre curentul I din bobina fixa si curentul IU din bobina mobila se naste un cuplu motor care provoaca rotirea axului watmetrului pana cand se echilibreaza cu reactiunea din resortul spiral. Unghiul de rotire este proportional cu produsul curentilor din bobina fixa si cea mobila, adica:

a = k∙I∙IU (4.40)

Daca rezistenta bobinei mobile si rezistenta aditionala au valori constante, curentul din bobina mobila este proportional cu tensiunea U, aplicata circuitului de tensiune, prin urmare unghiul a este proportional cu produsul dintre curentul din bobina fixa si tensiunea aplicata circuitului de tensiune:

. (4.41)

La conectarea watmetrului in circuitul electric trebuie sa se tina seama de notatiile de pe bornele acestuia. Borna infasurarii in serie, care este conectata cu sursa de alimentare, se numeste borna de intrare (borna de generator) si se noteaza cu o steluta. Borna circuitului de tensiune, care este in legatura cu bobina in serie, se numeste, de asemenea, borna de intrare si se noteaza si ea cu o steluta.

In circuitul de masurare watmetrul poate fi folosit in doua feluri: cu bobina de tensiune (paralel) in amonte de bobina serie (fig.4.11,a,b) sau in aval (fig.4.11,c). In primul caz, puterea indicata de watmetru:



, (4.42)

reprezinta puterea consumata de consumator si cea consumata de bobina serie a watmetrului. In al doilea caz puterea indicata de aparat:

, (4.43)

reprezinta puterea consumata de consumator si puterea consumata de bobina de tensiune.

Intrucat puterea consumata de bobina serie (de curent) este mai mica decat puterea consumata de cealalta bobina rezulta ca in cazul in care nu se tine seama de puterea consumata de watmetru este recomandabil sa se adopte schema din figura 4.11, c.

In cazul masurarii cu precizie inalta a puterii este indicat sa se adopte schema din figura 4.11,c, deoarece corectia puterii indicate de aparat poate fi evaluata usor cu ajutorul formulei u2/R2, unde R2 este rezistenta bobinei de tensiune cumulata cu rezistenta aditionala Ra, iar daca U = const. corectia ramane si ea constanta la diverse valori ale curentului.

6. Watmetrul electrodinamic in curent alternativ

In curent alternativ distingem urmatoarele marimi:

puterea instantanee

, (4.44)

care in cursul unei alternante variaza dupa o lege sinusoidala;

- puterea activa medie pe timpul unei alternante

; (4.45)

- puterea reactiva

. (4.46)

Daca watmetrul este conectat intr-un circuit cu tensiunea

u = Um sin wt 

si curentul

I = Im sin (wt – j (4.48)

atunci curentul din bobina fixa a watmetrului este egal cu cel dat de relatia (4.48), iar curentul din bobina mobila este:

, (4.49)

unde ZU este impedanta circuitului de tensiune al watmetrului iar jU este unghiul de defazaj intre curentul IU si U.

Sub actiunea cuplului motor creat de actiunea reciproca a curentilor I si IU, echipajul mobil al watmetrului deviaza cu unghiul a, dat de expresia:

, (4.50)

unde k2 = k1n1n2; n1 este numarul de spire al bobinei fixe, iar n2 este numarul de spire al bobinei mobile.

Daca rezistenta circuitului de tensiune este constanta, curentul IU este proportional cu U. In acest caz:

. (4.51)

In cazul particular cand jU = 0, adica atunci cand curentul din circuitul de tensiune este in faza cu tensiunea:

.  (4.52)

Din ultima expresie se observa ca unghiul de deviatie a este proportional cu puterea activa, adica puterea consumata intr-un circuit oarecare. Daca impedanta ZU a circuitului de tensiune este egala cu rezistenta rU, indicatiile watmetrului sunt identice atat in circuitele de curent continuu, cat si in cele de curent alternativ, cand puterea in ambele circuite este aceeasi.




Document Info


Accesari: 11126
Apreciat: hand-up

Comenteaza documentul:

Nu esti inregistrat
Trebuie sa fii utilizator inregistrat pentru a putea comenta


Creaza cont nou

A fost util?

Daca documentul a fost util si crezi ca merita
sa adaugi un link catre el la tine in site


in pagina web a site-ului tau.




eCoduri.com - coduri postale, contabile, CAEN sau bancare

Politica de confidentialitate | Termenii si conditii de utilizare




Copyright © Contact (SCRIGROUP Int. 2025 )