Energia eoliana va reprezenta un factor cheie pentru atingerea scopului stabilit de catre Uniunea Europeana pentru anul 2020, si anume acela de a consuma cu 20% mai putina energie. Asociatia Europeana a Energiei Eoliene estimeaza ca energia eoliana va ajunge sa reprezinte în 2020 între 13% si 16% din energia electrica consumata în Uniunea Europeana. În medie pe an se vor consuma aproximativ 100 de terrawati pe ora adica 3,3% din consumul total de energie la nivel european. Germania si Spania sunt cei mai mari furnizori de energie eoliana.
Energia eoliana este o sursa de energie regenerabila generata din puterea vântului. La sfârsitul anului 2006, capacitatea mondiala a generatoarelor eoliene era de 73904 MW, acestea producând ceva mai mult de 1% din necesarul mondial de energie electrica.
Desi înca o sursa relativ minora de energie electrica pentru majoritatea tarilor, productia energiei eoliene a crescut practic de cinci ori între 1999 si 2006, ajungându-se ca, în unele tari, ponderea energiei eoliene în consumul total de energie sa fie semnificativ: Danemarca (23%), Spania (8%), Germania (6%).
Turbine de vânt
Vânturile sunt formate din cauza ca soarele nu încalzeste Pamântul uniform, fapt care creeaza miscari de aer. Energia cinetica din vânt poate fi folosita pentru a roti niste turbine, care sunt capabile de a genera electricitate. Unele turbine pot produce 5 MW, desi aceasta necesita o viteza a vântului de aproximativ 5,5 m/s, sau 20 de kilometri pe ora. Putine zone pe pamânt au aceste viteze ale vântului, dar vânturi mai puternice se pot gasi la altitudini mai mare si în zone oceanice.
Energia eoliana este folosita extensiv în ziua de astazi, si turbine noi de vânt se construiesc în toata lumea, energia eoliana fiind sursa de energie cu cea mai rapida crestere în ultimii ani. Majoritatea turbinelor produc energie peste 25% din timp, acest procent crescând iarna, când vânturile sunt mai puternice.
Se crede ca potentialul tehnic mondial al energiei eoliene poate sa asigure de cinci ori mai multa energie decât este consumata acum. Acest nivel de exploatare ar necesita 12,7% din suprafata Pamântul (excluzând oceanele) sa fie acoperite de parcuri de turbine, presupunând ca terenul ar fi acoperit cu 6 turbine mari de vânt pe kilometru patrat. Aceste cifre nu iau în considerare îmbunatatirea randamentului turbinelor si a solutiilor tehnice utilizate.
Harta potentialului eolian din România

Harta potentialului eolian din lume

Puterea eoliana instalata si predictii pe 1997-2010, Sursa:
World Wind Energy Association
Diagrama care descrie partile componente a unei turbine eoliene si m 23223g614x odul cum functioneaza.
|
Diagrama care descrie partile componente a unei turbine. Sistemul este compus din:
|
|
|
|
Cum functioneaza o turbina eoliana ? |
||
|
Sistemul se bazeaza pe un principiu simplu. Vantul pune in miscare palele care la randul lor actioneaza generatorul electric. Sistemul mecanic are in componenta si un multiplicator de viteza care actioneza direct axul central al generatorului electric. Curentul electric obtinut este, fie transmis spre imagazinare in baterii si folosit apoi cu ajutorul unui invertor DC-AC in cazul turbinelor de mica capacitate , fie livrat direct retelei de curent alternativ ( AC) spre distribuitori. |
||
În contextul actual, caracterizat de cresterea alarmanta a poluarii cauzate de producerea energiei din arderea combustibililor fosili, devine din ce în ce mai importanta reducerea dependentei de acesti combustibili.
Energia eoliana s-a dovedit deja a fi o solutie foarte buna la problema energetica globala. Utilizarea resurselor regenerabile se adreseaza nu numai producerii de energie, dar prin modul particular de generare reformuleaza si modelul de dezvoltare, prin descentralizarea surselor. Energia eoliana in special este printre formele de energie regenerabila care se preteaza aplicatiilor la scara redusa.
Tipuri de sisteme eoliene de mici capacitati: Sisteme eoliene autonome
În 2004, pretul energiei eoliene ajunsese deja la o cincime fata de cel din anii 80, iar previziunile sunt de continuare a scaderii acestora, deoarece se pun în functiuni tot mai multe unitati eoliene cu putere instalata de mai multi megawati.
Dezavantaje La început, un important dezavantaj al productiei de energie eoliana a fost pretul destul de mare de producere a energiei si fiabilitatea relativ redusa a turbinelor. În ultimii ani, însa, pretul de productie pe unitate de energie electrica a scazut drastic, ajungând pâna la cifre de ordinul 3-4 eurocenti pe kilowatt ora, prin îmbunatatirea parametrilor tehnici ai turbinelor.
Un alt dezavantaj este si "poluarea vizuala" - adica, au o aparitie neplacuta - si de asemenea produc "poluare sonora" (sunt prea galagioase). Altii sustin ca turbinele afecteaza mediul si ecosistemele din împrejurimi, omorând pasari si necesitând terenuri mari virane pentru instalarea lor.
Argumente împotriva acestora sunt ca turbinele moderne de vânt au o aparitie atractiva stilizata, ca masinile omoara mai multe pasari pe an decât turbinele si ca alte surse de energie, precum generarea de electricitate folosind carbunele, sunt cu mult mai daunatoare pentru mediu, deoarece creeaza poluare si duc la efectul de sera.
Un dezavantaj practic este variatia în viteza vântului. Multe locuri pe Pamânt nu pot produce destula electricitate folosind puterea eoliana, si din aceasta cauza energia eoliana nu este viabila în orice locatie.
|
SISTEME HIBRIDE DE GENERARE A ENERGIEI ELECTRICE Turbo-generatoarele eoliene
utilizate în combinatie cu panouri fotovoltaice si optional cu
un generator de avarie diesel sau benzina, reprezinta o alternativa
reala, fezabila si fiabila de alimentare cu energie
electrica a locuintelor, caselor de vacanta, a instalatiilor
de securitate, în telecomunicatiii, etc., din zonele aflate departe
de reteaua nationala electrica. Principiul de functionare Sunt
proiectate în jurul unui magistrale de curent continuu (DC bus) care
formeaza punctul comun de conectare pentru toate sursele si
sarcinile de curent continuu. Sistemul
de generare de energie electrica pentru zone izolate încorporeaza
una sau mai multe turbine de puteri diferite. Turbinele furnizeaza
putere variabila care se transforma în invertor, în tensiune
alternativa constanta 230 V AC si frecventa
constanta 50 Hz, folosita pentru alimentarea consumatorilor de
curent alternativ. Excesul de putere se acumuleaza în baterii pâna
ce acestea sunt plin încarcate. În perioadele cu
vânt slab, energia acumulata în baterii alimenteaza consumatorii via
invertor. |
|
Modalitate de apreciere a vitezei vântului pe baza observatiei directe (Metoda Beaufort) Viteza
exacta a vantului se masoara cu anemometrul, un instrument special destinat
acestei activitati.
La finalul observatiei, sa spunem 20 de zile (cu doua zile pauza intre fiecare) a trei inregistrari, veti putea avea o buna apreciere asupra puterii medie a vantului pe un intreg anotimp. La final, pentru calculul mediei, insumati gradele Beauford ale tuturor inregistrarilor si impartiti la numarul de inregistrari. In tabel, la gradul Beauford mediu rezultat, veti gasi viteza medie a vantului in zona analizata. Note:
|
INOVATII
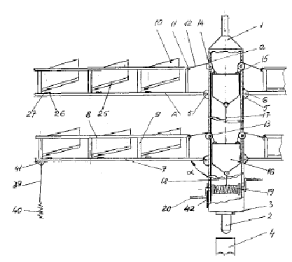
Rezumat: Inventia se refera la o instalatie
eoliana, care transforma energia eoliana în
energie mecanica si/sau energie electrica si care este prevazuta cu niste pale batante, dispuse pe unul sau pe mai multe niveluri. Instalatia conform inventiei este alcatuita din niste pale (A) prinse de un arbore (1), gol la interior, central, cu
ajutorul unor lagare (5) cu urechi si al unor stifturi (6), fiecare pala (A) având niste urechi (11), de care este fixat câte un cablu (12) scurt, fiecare dintre aceste cabluri (12) fiind în legatura si cu
câte unul dintre niste culisoare (16), care pot fi antrenate în miscare de catre un cablu (17) de legatura, care uneste pe verticala culisoarele (16) între ele, iar culisorul (16) inferior este în legatura
cu un cablu (18) lung, înfasurat pe un tambur (19), actionat manual sau automat.
O centrala eoliana de
dimensiuni mici si relativ ieftina va aparea pe piata
în luna septembrie în Statele Unite.Skystream 3.7, dezvoltata de Southwest
Windpower în Flagstaff, Arizona, are între 11 si 30 de metri
înaltime si costa cam jumatate dintr-o centrala
eoliana conventionala.Southwest Windpower planuieste
sa produca turbina în serie mare, lucru ce i-ar permite sa o
vânda la un pret cuprins între 10.000$ si 12.000$ cu instalarea
inclusa, cost înjumatatit fata de alte turbine de
aceesi putere, dar care sunt produse în serie mica. Sistemul ar putea oferi economii cuprinse între 500$
si $800 pe an. Costul energiei produse de alte sisteme similare este între
15-35centi/kWh.Dupa ce o turbina Skystream este instalata,
casa foloseste energia vântului când este disponibila si energie
de la furnizorul local de electricitate când viteza vântului este prea
mica. În functie de zona în care este instalata, turbina ar putea
acoperi între 40-90% din necesitatile unei case obisnuite. În
plus, în functie de furnizorul de energie electrica, energia în exces
poate fi trimisa în sistem, rducâns si mai mult factura de curent.În
România, pretul mare si dificultatile administrative au
împiedicat pâna în prezent energiile regenerabile sa intre cu
adevarat în competitie cu combustibilii fosili. Nu putem decât spera
ca acest lucru se va schimba cât de curând
Zgârie-nori acoperit cu 7000 de panouri solare
Fatada aceste cladiri din Manchester a fost acoperita cu tigle de mici dimensiuni, care au început sa cada dupa numai 6 luni. Asa ca proprietarul cladirii, compania de asigurari CIS, a decis înlocuirea lor cu 7.000 de panouri solare (din care numai 5.000 vor fi active, restul având doar un rol decorativ si de protectie împotriva naturii "dezlantuite"). Cladirea mai are si 24 de generatoare eoliene pe acoperis, reusind sa produca suficienta energie pentru 1.000 de calculatoare (sau pentru a încalzi 9.000.000 de cesti de ceai, conform standardelor britanice).
Costul proiectului (aproximativ 8 milioane de EURO) nu va fi amortizat niciodata, însa totul face parte din strategia Marii Brtanii de a reduce emisiile de CO2 cu 60% pâna în 2050, asa încât constructorii au beneficiat de subventii totalizând 1,6 milioane de EURO.
Turbine eoliene construite "pe dos"
Zeci de ani, inginerii au inceract sa construiasca turbine eoliene mai ieftine si mai eficiente. Cel mai important obstacol era insa faptul ca turbinele si stalpii pe care erau construite trebuiau sa reziste fortei vantului.
Cei mai multi au plasat palele elicei in partea dinspre care batea vantul, deoarece palele erau destul de puternice pentru a nu fi indoite de forta aerului.
Mai nou insa, o companie americana a costruit centrale eoliene cu palele in partea spre care bate vantul. Noutatea este reprezentata de faptul ca palele elicei se pot indoi sub apasarea vantului, reducand stresul indus in intreaga stuctura.
In acest fel se pot construi turnuri mai inalte care sa aseze palele in calea vanturilor mai puternice de la inaltime. De asemenea, se pot construi turbine folosind mai putin material si reducand astfel costurile.
La 25 de kilometri de coasta
estica a Scotiei, în vecinatate cu platforma petroliera
Beatrice, un proiect pilot a luat nastere în urma cu câteva
saptamâni. Scopul: depasirea limitelor actuale ale tehnologiilor
alternative.
Doua turbine eoliene uriase sunt pe drum, iar alte trei vor fi instalate în ceea ce va fi prima ferma eoliana în largul marii. Proiectul, în valoare de 48 milioane euro, a pornit ca o colaborare între compania Talisman Energy Limited si Scottish and Southern Energy si va testa fezabilitatea economica a fermelor eoliene situate în apa adânca de aproximativ 45 de metri.
Turbine uriase
"E un prototip de energie eoliana care are doua avantaje", a declarat Jim Buckee, presedinte si CEO al Talisman Energy. "Pozitia sa [în largul marii] nu îi confera un impact vizual [negativ], iar vântul e mai stabil aici."
Comisia Europeana face eforturi mari pentru a duce la 20% si, ocazional, la 25% procentul de energie regenerabila [din totalul energetic consumat] si asta este o componenta importanta a acelei strategii."
Proiectul utilizeaza doua dintre cele mai mari turbine din lume, fiecare cu o înaltime de 85 de metri. Energia produsa astfel va alimenta platforma petroliera Beatrice, a carei infrastructura a fost modificata deja pentru acest proiect. De asemenea, platforma petroliera va asigura si un punct de monitorizare si intretinere a turbinelor.
Cea mai mare centrala eoliana din lume
Reprezentanti din 154 de tari s-au reunit pe 1 iunie anul curent la Bonn pentru o conferinta de patru zile, organizata de guvernul german, in scopul promovarii surselor reinnoibile de energie. In Germania, energia eoliana este in plina ascensiune si pe campurile din polderul de la Wybelsum, "maturat" de vanturile Marii Nordului, intr-o zona industriala departe de orice localitate, din martie functioneaza cea mai mare centrala eoliana din lume, "E-112″.
Avand o inaltime de aproape 180 metri, cea a unui imobil cu 40 de etaje, pentru intretinerea centralei "E-112″ a trebuit instalat un ascensor interior. Din beton si otel, sute de tone, cu o inaltime demna de un zgarie nori, construirea celei mai mari centrale eoliene din lume a reprezentat o munca de precizie. In prezent, alaturi se afla in constructie o sora geamana. Santierul este inca la fundatie, etapa-cheie, intr-o groapa imensa fiind instalata o coca metalica, acolo unde se va ridica turnul, iar in jur, in cerc, o serie de piloni de otel infipti pana la 22 de metri sub pamant. Totul este masurat in sute de tone si la inaltimea la care se lucreaza, daca o piesa se misca cu cativa centimetri, are grave repercusiuni. Cele trei pale, a caror lungime o depaseste pe cea a unei piscine olimpice, au fiecare o greutate de 20 tone.
Program pentru crearea unei centrale eoliene in portul Constanta
Ministerul lucrarilor publice, transporturilor si locuintei a lansat anul trecut un proiect cu privire la construirea unei centrale eoliene in portul Constanta.
Centrala eoliana va avea o putere instalata de 26,7 MW; Capacitatea de productie anuala este estimata la 72,600 MWh ; Puterea va fi asigurata de 22 turbine de cate 850 kW fiecare si 4 turbine de cate 2 MW fiecare.
Prima centrala eoliana din Romania
Prima instalatie eoliana din Romania a fost pornita, pe 17 aprilie, la opt kilometri de Ploiesti, la Crangul lui Bot. Aceasta instalatie va produce energie electrica pentru firmele din cadrul Parcului Industrial Ploiesti (PIP). Investitia a costat aproximativ 700.000 de euro, la care s-au adaugat cheltuielile legate de montajul centralei.
Locatia aleasa pentru montarea primei centrale eoliene din Romania a fost Parcul Industrial Ploiesti, zona identificata de meteorologi drept prielnica pentru o asemenea investitie. Pentru ca centrala sa poata functiona este nevoie ca ea sa fie amplasata intr-o zona unde bate vantul constant. Viteza minima a vantului care determina punerea in miscare a centralei este de 3,5 metri/secunda. In zona parcului industrial viteza medie a vantului calculata de meteorologi este de sapte metri/secunda. Aceasta viteza medie asigura functionarea centralei la 85-90% din capacitate. Daca viteza vantului depaseste 25 metri/secunda, centrala se opreste automat pentru a nu fi dereglata de furtuni sau alte fenomene meteorologice. Centrala eoliana are o putere instalata de 660 kW si produce un curent electric de 690 V, care intra in sistemul national la 20 kV. Este de tip V66 Vestas si a fost proiectata de firma Asja Ambiente din Italia. Componentele sunt productie marca Vestas din Danemarca. Instalatia are o inaltime de 79 metri, din care 55 metri are turnul de sustinere. In varful turnului se afla nacela cu toata instalatia si palele care se rotesc. Greutatea turnului este de 52 tone, nacela cantareste 23 tone, iar palele doar. sapte tone.
Montajul instalatiei s-a efectuat cu trei macarale si a inceput in seara zilei de 22 noiembrie, fiind terminat in seara de 26 noiembrie. La inceputul anului 2004, intre 5 si 25 ianuarie, va avea loc pregatirea personalului care se va ocupa de intretinerea centralei. Este vorba doar de doi electricieni si un mecanic, care vor fi instruiti de specialisti din Italia. Centrala este automata si din aceasta cauza necesita un numar mic de persoane care sa se ocupe de intretinerea si functionarea ei. Ea este comandata de un calculator situat la o distanta de 50 metri, care orienteaza nacela dupa directia vantului. Timp de sase luni se vor efectua experimente pentru ca specialistii romani sa se familiarizeze cu noua centrala si sa vada care sunt performantele acesteia. Instalatia va fi legata la sistemului energetic al parcului, care asigura iluminatul public si necesarul de energie electrica pentru firmele din parc. "Am incheiat un precontract cu doua firme din parcul industrial care vor primi energie electrica produsa de instalatia eoliana. Firmele vor plati la inceput acelasi pret cu cel de pe piata la energia electrica. Dupa amortizarea centralei, care va dura sapte ani, este posibil ca pretul sa scada si sa poata plati cu 25% mai putin", a declarat Valeriu Sfarloaga, seful Parcului Industrial Ploiesti.
Conducerea Parcului are in plan instalarea a inca doua centrale eoliene asemanatoare. Prima, care le precede pe cele doua, este de putere medie si se preteaza cel mai bine pentru harta vanturilor din acea zona. In proiect se mai afla montarea a 10 centrale pe Valea Doftanei, care vor asigura energia electrica pentru populatie. Costurile cu producerea energiei electrice cu ajutorul centralelor eoliene sunt situate la 75% din costurile necesare pentru producerea de curent electric prin metodele conventionale. Intretinerea instalatiilor nu costa prea mult (in jur de 4.500 euro), iar consumabilele trebuie schimbate o data la doi ani. Pana in 2007 se intentioneaza ca 8% din energia produsa in tara sa fie asigurata prin sistemele neconventionale. Procentul este mult mai mare in tari ca Germania - 22% - si Danemarca - 31%.
O gluma ajunsa experiment
"Activitatea de la putul
petrolier Beatrice a atins maturitatea - [exploatarea] decurge de 25 de ani si
cautam solutii pentru reducerea costurilor de întretinere cand a aparut
ideea morilor de vânt - la început în gluma, dar mai apoi ideea a prins",
a spus Buckee râzând.
Proiectul va fi observat timp de cinci ani, iar daca totul decurge în regula, beneficiile pe termen lung vor fi substantiale, a continuat el. "Daca functioneaza vom înmulti [proiectul] cu 100 si va deveni o ferma eoliana [cu capacitate] de gigawati Atunci putem vorbi despre 20% din nevoile energetice ale Scotiei."
Andris Pielbags, comisarul UE pentru energie, a recunoscut importanta initiativei în timpul unei vizite la un fost put petrolier, unde se asamblau turbinele înainte sa fie trimise la Beatrice.
"Este unul din proiectele critice", a declarat el în The Scotsman. "Cele doua turbine sunt extrem de importante pentru dezvoltarea viitoare a [tehnologiilor regenerabile]. Trebuie sa facem tot ce ne sta în putinta pentru a asigura succesul proiectului."
Sursa: Altermedia
Centrale eoliene marine
Turbinele centralelor eoliene sunt foarte mari si produc mult zgomot. De aceea, nu multa lume doreste sa locuiasca langa asemenea centrale. O solutie, implementata deja in Europa, este plasarea turbinelor pe mare, unde oricum vanturile sunt mai puternice.
Aceasta tehnologie exista de mai putin de un deceniu , totusi ea a devenit in scurt timp "vedeta" metodelor de producere a energiei regenerabile. Danemarca, de exemplu, spera ca jumtate din productia sa de energie sa provina din centrale eoliene pana in 2030. Avantajele sunt multiple: vanturile sunt mai puternice si mai stabile pe mare; nu este necesara achizitia de terenuri; si cel mai important, turbiele sunt departe de vazul si auzul oamenilor. In plus, se pare ca turbinele, bine ancorate de fundul marii, actioneaza ca niste epave, marind numarul de pesti din zona si implicit, avantajand pescarii.
Pe de alta parte, investitiile necesare sunt enorme. Proiectul american de la Cape Wind, care ar urma sa aiba o putere instalata de 420MW, va costa in jur de 600 de milioane de dolari. Avantajul ecologic este insa incontestabil. Acest proiect va impiedica eliberarea a 1,37 milioane tone de CO2.Spre comparatie, totalul gazelor cu efect de sera eliberate in SUA in 2001 a fost de 1883,3 milioane de tone echivalent-CO2.
Impactul parcurilor eoliene asupra mediului
Introducere
Promovarea utilizarii unor surse regenerabile de energie, între care si energia vântului (energie eoliana), constituie unul din obiectivele strategice în domeniul energetic al Guvernului României, fiind prevazute pe termen mediu tinte clare pentru atingerea unor obiective semnificative in productia de energie verde.
Acest obiective raspund câtorva scopuri:
- alinierea la tendintele mondiale si în special a celor europene de diversificare a surselor de energie;
- contributia la cresterea pe termen mediu a independentei energetice a tarii;
- reducerea si pe aceasta cale a emisiilor de poluanti ai industriei energetice românesti, ca o componenta a contributiei României la angajamentul luat în aplicarea protocolului de la Kyoto.
Producerea energiei electrice din vânt (energie eoliana) este o tehnologie energetica relativ tânara, dar care se apropie de maturitatea utilizarii comerciale. De mentionat ca deceniul al 8-lea al secolului trecut reprezinta momentul abordarii moderne a unor solutii de conversie cunoscute de mii de ani (vezi morile de vânt de pompat apa din antichitate sau morile olandeze din evul mediu)
Evolutia tehnologica a fost spectaculoasa, cu toate cautarile de solutii inerente: daca acum 25 -30 ani se abordau diverse tipuri de turbine, iar puterea unitara a acestora nu depasea 300 KW, acum pentru industria energetica se utilizeaza numai turbine cu ax orizontal (cu 2 sau 3 pale), puterea unitara - pentru echipamente comerciale - a ajuns la peste 5000 KW.
Ţinând cont de faptul ca agentul motor este aerul, care are o densitate scazuta (de 1000 ori mai mica decît a apei) dimensiunile turbinelor sunt relativ mari. Spre exemplu, o turbina cu ax orizontal de 2000 KW are un rotor de 90 m diametru, iar echipamentul de conversie (linia de masini) se afla montat într-o nacela plasata pe un stîlp de sustinere la înaltimea de 80-100 m de la sol. si masele (greutatile) acestor turbine, dar si costurile, sunt pe masura. Pentru echipamentul citat rotorul cu cele 3 pale are circa 40 tone, nacela 70 tone, stâlpul - de obicei tubular - poate depasi 200 tone, iar fundatia 500 tone.
Deoarece deocamdata nu exista o experienta specifica nationala pentru centrale eoliene mari (de zeci sau sute de turbine într-un parc), trebuie sa se apeleze la experienta externa atât pentru tehnologie cât si pentru aprecierea impactului de mediu. Pentru aceasta vom folosi cunostintele acumulate deja în tarile Uniunii Europene, unde la finele anului 2005 erau instalate centrale eoliene cu o impresionanta putere de peste 48.000 MW.
Încadrarea
în peisaj
Notam în primul rând ca
într-un parc eolian, mai ales daca este situat în teren plat, din
considerente de valorificare maximala a energiei eoliene, distanta
medie dintre doua turbine eoliene este de 6-10 diametre rotorice, ceea ce
pentru turbine mari înseamna de la câteva sute de metri la peste un
kilometru. Rezulta ca turbinele de mari dimensiuni vor fi plasate la
fel de rar ca stalpii liniilor de înalta tensiune, care apar aproape
oriunde în peisajul din jurul nostru, dar cu care ne-am obisnuit si pe
care nu le mai consideram cu un impact negativ asupra peisajului.
Turatia rotoarelor turbinelor mari este foarte lenta - în jur de 10 rotatii/minut, deci nu provoaca si nici nu induce nici un fel de senzatie negativa.
Vizual
turbinele au design elaborat, atragator si sunt vopsite în
culori pastelate sau alb (cel mai frecvent). Cel putin la începutul
promovarii parcurilor eoliene industriale în România, apreciem ca
acestea vor constitui o atractie turistica semnificativa, iar
vizitarea parcului cu urcarea in nacela unei turbine poate deveni un punct
important de atractie.
Ocuparea terenului este minima în arealul amenajat (circa 0,1% din total) - ca
si în cazul liniilor electrice - putându-se utiliza în continuare terenul
pentru agricultura sau pasunat.
Eolienele ca sursa de zgomot si vibratii
Ca orice echipament industrial si turbinele eoliene produc în functionare zgomote, datorita sistemelor mecanice în functionare, a despicarii aerului de palele în rotire sau a trecerii palelor prin dreptul stâlpului de sustinere, cand se produce o comprimare a aerului.
Pentru a nu
avea un impact negativ în special în zonele dens populate, sursele de zgomot
sunt foarte riguros controlate de fabricantii de turbine si se iau
masuri tehnologice speciale pentru fiecare sursa. Asa se face
ca în urma unor masuratori în natura, fabricantii dau
garantii ferme asupra limitei superioare a zgomotelor produse de turbina
respectiva.
Putem afirma însa ca turbinele de vânt moderne nu sunt zgomotoase,
majoritatea fabricantilor garantând ca la nivelul rotorului turbinei
zgomotul (presiunea sunetului) nu depaseste 100 dB (A),
echivalent cu un zgomotul din orice industrie prelucratoare.
În cazul în care vântul bate în directia unui receptor, nivelul presiunii sunetului la o distanta de 40 m de o turbina tipica este de 50-60 dB(A), ceea ce echivaleaza cu nivelul unei conversatii umane obisnuite. La 150 m zgomotul scade la 45,5 dB(A), echivalent cu zgomotul normal dintr-o locuinta, iar la distanta de peste 300 m zgomotul functionarii unor turbine se confunda cu zgomotul produs de vântul respectiv. Daca vântul bate din directie contrara, nivelul zgomotului receptionat scade cu circa 10 dB(A).
Conform specificului fiecarui amplasament în parte, pentru ca nivelul de zgomot sa fie cel acceptat, trebuie avuta în vedere pastrarea unei distante suficiente fata de asezarile umane, diverse anexe gospodaresti, institutii publice, monumente istorice si de arhitectura, parcuri, scuare, spitale si alte asezaminte de interes public.
În ce priveste vibratiile, acestea sunt nesemnificative pentru mediu.
Impactul asupra pasarilor zburatoare
Principalul
impact pus în discutie pentru protejarea mediului este cel legat de impactul
pasarilor zburatoare cu rotoarele turbinelor eoliene în
miscare, precum si perturbarea habitatului (la sol), daca în
areal se afla colonii semnificative de pasari.
Aceasta problema a suscitat - înca de acum mai bine de un
deceniu - intense dispute în tarile vest europene promotoare ale
tehnologiei. Din acest motiv, în multe tari au fost demarate multiple
studii de impact cu pasarile.
Astazi în tarile vest-europene ecologistii si promotorii centralelor eoliene au ajuns la un consens: impactul dintre turbinele eoliene si pasari este mai mic decât se afirmase la început si în orice caz mai redus decât impactul altor activitati umane ca vânatoarea, transportul rutier si aerian, sau chiar existenta structurilor statice ca stâlpii si liniile electrice ori a cladirilor înalte, de care pasarile se ciocnesc deoarece le vad greu.
Aceasta concluzie a permis dezvoltarea exploziva a energetici vântului în toate tarile UE. Asa cum aratam existau peste 40.000 MW înstalati la finele anului 2005.
Un studiu olandez (întocmit de Biroul teritorial pentru energia vântului în cooperare cu Fundatia olandeza pentru protectia pasarilor) estimeaza ca anual sunt omorâte 1500 pasari prin vânatoare, 1000 de liniile electrice, 2000 de traficul rutier si numai 20 pasari/1000 MW de turbinele eoliene. Rezulta ca numarul pasarilor omorâte de masini este de 300 ori mai mare decât numarul pasarilor omorâte de turbinele de vânt, iar cel al vânatorii de 70 ori mai mare.
Aceste estimari sunt confirmate de un studiu al Ministerului Mediului din Danemarca, ce conclude ca stâlpii si liniile de înalta tensiune sunt un pericol mult mai mare pentru pasari decât turbinele eoliene, care în rotatie fiind constituie un avertisment vizual si sonor semnificativ pentru pasari, acestea evitând zona. Studiile radar din Tjaeborg - vestul Danemarcei unde functiona o turbina de 2 MW, arata ca pasarile au avut tendinta sa-si schimbe ruta de zbor cu 100-200 m fata de turbine si trec pe lânga sau pe deasupra lor la o distanta sigura. Acest comportament a fost observat atât ziua cât si noaptea.
La Port-la-Nouvelle în sudul Frantei, cinci turbine sunt plasate într-o importanta rezervatie de pasari, prin care trec mii de pasari, inclusiv pradatoare, mai ales în timpul migratiilor. Studiul, întocmit de Liga Franceza pentru Protectia Pasarilor a constatat ca majoritatea pasarilor mai mari zburau în mod deliberat în jurul turbinelor. În cinci ani de exploatare a parcului eolian nu s-a raportat la liga nici o pasare ranita sau omorâta.
Aceaste constatari extrem de pozitive nu elimina necesitatea unei analize specifice în fiecare amplasament,care sa tina cont de faptul ca sunt sau nu sunt semnalate pasari din specii protejate cu habitat stabil si daca speciile respective pot suferi o extinctie prin realizarea parcului eolian,sau daca pasajul pasarilor calatoare trece exact pe deasupra ampasamentului propus.
În aceste cazuri se impun unele precautii suplimentare cum ar fi cresterea distantei dintre turbine, amplasarea lor- în masura posibilului tehnic-sub creasta culmilor (în cazul unor amplasamente pe culmi de dealuri sau asemanatoare), iar în cazuri extreme nedemararea executiei proiectului pâna la efectuarea unui studiu concret al organismelor abilitate ale Ministerului Mediului care sa determine efectele posibilului impact.Suntem însa convinsi ca aceste concluzii nu pot fi decât pozitive, asa cum s-a întâmplat în toate celelalte tari care au dezvoltat productia din energie eoliana
Interferenta electromagnetica
Undele radio si microundele sunt folosite într-o gama
variata în scopul comunicarii. Orice structura mare mobila poate produce
interferente electromagnetice. Turbinele de vânt pot cauza interferenta
prin reflectarea semnalelor electromagnetice de palele turbinelor, astfel încât
receptorii din apropiere preiau atât semnalul direct cât si cel
reflectat. Interferenta
se produce deoarece semnalul reflectat este intârziat atât datorita lungimii de
unda frecventelor proprii ale turbinei cât si efectului Doppler datorat rotirii
palelor. Interferenta este mai pronuntata pentru materiale
metalice (puternic reflectante) si mai slaba pentru lemn sau epoxi
(absorbante). Palele moderne, construite
dintr-un longeron metalic de rezistenta, îmbracat cu poliester armat cu
fibra de sticla sunt partial transparente la undele electromagnetice.
Frecventele de comunicatie nu sunt afectate semnificativ daca lungimea de unda a emitatorului este de 4 ori mai mare decât înaltimea totala a turbinei. Pentru turbine comerciale uzuale, limita frecventei este de 1,5-2 Hz (150 - 200 m). Teoretic nu exista o limita superioara.
Tipurile de
semnale pentru comunicarea civila si militara care pot fi afectate prin
interferenta electromagnetica includ emiterea semnalelor pentru radio siteleviziune,
microundele, comunicatia radio celulara si variate sisteme de control
ale traficului aerian sau naval.
Consultarea organismelor de specialitate este obligatorie. Pentru arealiza o solutie corecta evident ca primeaza modul de amplasare aturbinelor eoliene fata de emitatorii si receptorii din zona, ca si existenta acestora în apropierea parcului de turbine.
Interferenta cu un numar mic de receptori de televiziune este o problema ocazionala care sepoate rezolva printr-o gama relativ ieftina de masuri tehnice, ca de exemplu folosirea mai multor transmitatori si/sau receptori directionati, sau difuzarii prin retea de cablu.
Riscul declansarii unor avarii cu impact major
Cea mai
grava avarie ce se poate produce la o turbina de vânt este avariere frânarii rotorului
în timpul functionarii (adica la viteze ale vântului de 3-25 m/s) de
exemplu la pierdere legaturii cu reteaua.Aceasta conduce la ambalarea turbinei,
care în ultima instanta poate duce la ruperea unor bucati de pala, cu impact
gravitational la sol. Desi la echipamentele moderne acest tip de avarie este
din ce în ce mai rar întâlnit, utilizatorul va trebui sa ia masuri de
avertizare si
interdictie a accesului sub raza de giratie a turbinelor cu precizarea
riscurilor posibile.
Notam însa
ca în tarile care au dezvoltata energetica eoliana avertizarile sunt de tip
general si montate numai la accesele spre parcul eolian respectiv, în orice caz
fara restrictii de utilizare a terenului (de exemplu pentru agricultura). La
turbine individuale aceste avertizari de obicei lipsesc.
Alte tipuri de impact
Nu exista impact asupra apelor de suprafata si subterane si nu sunt afectate ecosistemele acvatice si nici folosinta apelor.
Nu exista nici un fel de emisii de poluanti care pot afecta vegetatia si fauna terestra.Neexistând emisii de poluanti în aer datorita realizarii unor astfel de proiecte, nu se produc dispersii si nici modificari ale calitatii aerului.
Modificarile
intervenite în calitatea si în structura solului si a subsolului datorita
realizarii drumurilor suplimentare de acces, a platformelor de montaj, a
turnarii fundatiilor (din beton armat), a realizarii camerei de comanda si
liniilor
electrice de racord la retea sunt minore. Masurile preconizate prin proiecte
(de refacere a a solului, de inerbare s.a.) dupa lucrarile de constructii
montaj sunt suficiente.
Un efect
care poate fi receptat si de la distante mai mari, deci de mai multi localnici
vecini ai parcului eolian, este fenomenul de licarire al palelor când sunt
batute direct de soare, care ar putea fi deranjant. Acest fenomen se produce
numai în zilele senine de la rasaritul soarelui pâna la prânz si este perceput
numai când vântul bate din spre directia privitorului, ceea ce înseamna cel
mult câteva zeci de ore pe an, practic în orice configurare a parcului eolian
si topografie a
locului. Prin faptul ca palele sunt vopsite în alb fenomenul este mult
estompat.
Efectele pozitive asupra calitatii aerului, vegetatiei si faunei terestre.
La trecerea vântului prin rotoarele turbinelor, acestea extrag circa 30 % din energia cinetica a vântului transformând-o în energie electrica, iar imediat în aval de turbine viteza scade cu circa 15 %. Datorita acestui scaderi de viteza a vântului este de asteptat ca local umiditatea relativa a aerului sa creasca cu câteva procente. Prin cresterea umiditatii, vegetatia se dezvolta mai bine cu efecte benefice asupra întregului lant trofic din acest areal.
Concluzii
Din trecerea în revista a experientei occidentale putem afirma ca parcurile eoliene mari, cu un numar semnificativ de turbine, daca sunt amplasate rational, în majoritatea amplasamentelor nu vor produce impacte majore asupra aerului, apelor de suprafata si subterane,vegetatiei si faunei terestre,solului si subsolului si nici asupra asezarilor umane sau altor obiective din zona.
Tehnologia în sine ofera unele avantaje între care au fost mentionate:
- la
trecerea vântului prin rotoarele turbinelor, viteza scazând este de asteptat ca
local umiditatea relativa a aerului sa creasca,fapt care poate conduce la o
dezvoltare mai buna a vegetatiei cu efecte benefice asupra întregului lant
trofic din areal.
- peisagistic, parcurile eoliene nu numai ca nu deranjeaja dar pot constitui o atractie turistica semnificativa, iar vizitarea parcului poate deveni un punct important din programul turistic local.
Desi nu se refera strict la populatia dintr-o anumita zona cu parc eolian, nu putem neglija efectul global si deosebit de important al reducerii emisiilor de CO2,SO2 si NOx prin producere de energie electrica utilizând forta vântului.Aceste reduceri sunt evaluate la:670 Kg CO2/MWh, 2,4Kg SO2/ MWh si 2000Kg NOx/ MWh.
Fara sa se
intrevada impacte majore asupra mediului, în amplasamente din zone
sensibile din punct de vedere ecologic (spre exemplu Rezervatia Naturala Delta
Dunarii sau alte arii protejate), si lipsiti fiind de o experienta specifica
nationala,
consideram ca e necesar chiar de la momentul demararii proiectului sa se faca -
sub egida Ministerului Mediului - investigatii specifice pentru aprecierea
concreta a impactului de mediu. Concluziile unor astfel de studii vor crea o
opinie corecta atât în rândul specialistilor români cât si al populatiei si vor
fi utile întregii dezvoltari a energeticii vântului în România.
Bibliografie
|