
AMPLIFICATOARE DE SEMNAL MIC
4.1. Parametrii amplificatoarelor de semnal mic
Amplificatorul este un circuit electronic care primeste la intrare un semnal de putere mica si determina la iesire un semnal de aceeasi forma cu semnalul aplicat, dar de putere mai mare.
|
Fig. 4.1. |
Conditia pentru ca semnalul de la iesire (vezi figura 4.1) sa aiba aceeasi forma este x0(t)=A xi(t θ). Observam ca nu este obligatoriu ca timpul sa coincida, in sensul ca amplificatorul poate introduce o īntārziere la iesire; ceea ce se traduce īn domeniul frecventa printr-un defazaj īntre semnalul de intrare si semnalul iesire.
Coeficientul "A" se numeste factor de amplificare fiind definit ca raport īntre marimea de iesire si marimea de intrare [8].
Datorita faptului ca orice semnal periodic poate fi descompus īntr-o suma de semnale sinusoidale de frecvente diferite si cum īn cazul semnalelor sinusoidale cea mai comoda cale de rezolvare a circuitului este 19119u2014t transformarea acestuia īn complex rezulta ca factorul de amplificare se exprima īn majoritatea situatiilor ca vector complex raport īntre transformata īn complex a semnalului de iesire si transformata īn complex a semnalului de intrare
unde
este modulul factorului de amplificare iar
este faza factorului de amplificare.

Deoarece semnalul de iesire se obtine prin
īnmultirea semnalului de intrare cu factorul de amplificare, pentru ca
toate sinusoidele de iesire sa fie la fel cu cele de la intrare se
impune ca A sa fie constant, ceea ce īnseamna ca atāt
modulul lui A=A0 trebuie
sa aiba acelasi valoare pentru orice frecventa, cīt
si
trebuie sa
aiba acelasi valoare pentru orice frecventa, ca īn figura
4.2.
Spunem ca A
este constant īntre frecventele f J -numita
frecventa limita inferioara (joasa) si fS - numita
frecventa limita superioara, daca modulul factorului de amplificare
nu scade sub valoarea de la frecvente medii sub valoarea
.
Diferenta celor doua frecvente defineste banda de frecventa amplificatorului
B= fs - fj (īn care A = A0).
Amplificatoarele pot fi clasificate īn functie de banda de frecvente astfel:
- Audio frecventa fJ = 20 Hz f S = 20 kHz;
- Medie frecventa f S = 100 kHz;
- Video frecventa f S = 700 MHz;
- Microunde f S = 70 GHz.
- Selective amplifica semnalele dintr-o banda īngusta, īn jurul unei frecvente f0 centrale cu fJ = f0 -B/2 si fS = f0 +B/2 .
Parametrii amplificatoarelor de semnal mic
Pentru ca un amplificator poate creste amplitudinea tensiunii sau curentului de la iesire fata de intrare se definesc diferiti factori de amplificare, si anume:
factorul de
amplificare īn tensiune;
factorul de
amplificare īn curent;
factorul de amplificare īn putere;
factorul
de transfer, numit transimpedanta, cu
dimensiunea Ω;
factorul de transfer numit
transadmitanta , cu
dimensiunea Ω-1 .
Factorii de amplificare adimensionali se exprima uneori īn decibeli (dB)
![]()
Spre exemplu o amplificare īn tensiune de 80dB īnseamna ca tensiunea de iesire este de 104 ori mai mare ca tensiunea de la intrare.
Amplificatoarele mai pot fi clasificate īn functie de sarcina astfel:
amplificatoare de tensiune, cānd sarcina are impedanta mare si
amplificatorul
are
;
amplificatoare de curent, cānd sarcina are
impedanta mica si amplificatorul are
;
amplificatoare
īn putere, cānd sarcina primeste putere de la amplificator si
amplificatorul are
.
Pentru un circuit care are drept sarcina amplificatorul dat este important sa cunoasca ce fel de sarcina reprezinta acesta, motiv pentru care s-a introdus notiunea de impedanta de intrare a amplificatorului.
Impedanta de intrare a amplificatorului este un alt parametru al amplificatorului, reprezentānd sarcina pe care o vede circuitul din amontele amplificatorului.
Daca circuitul de la intrarea amplificatorului este un generator de tensiune de rezistenta interna Rg, conditia de adaptare a generatorului cu receptorul (amplificatorul) este
Zi = Rg
pentru ca īn aceasta situatie are loc transferul maxim de putere de la generator la receptor (la intrarea amplificatorului).
Se mai defineste un alt parametru al amplificatorului numit impedanta de iesire
,
care caracterizeaza amplificatorul pentru circuitele din avalul acestuia.
Ipoteze simplificatoare
Termenul "de semnal mic" se refera la faptul ca amplitudinea
semnalului aplicat la intrarea amplificatorului este suficient de mic pentru ca punctul de functionare al oricarui element activ de circuit (din componenta schemei) sa nu paraseasca zona liniara a caracteristicilor statice.
Astfel va fi īndeplinita conditia privind liniaritatea relatiei dintre marimea de iesire si marimea de la intrarea amplificatorului.
Banda de frecventa a semnalului de intrare si frecventele
limita nu determina cresterea impedantelor din schema echivalenta a tranzistorului pentru ca sa se impuna a fi luate īn consideratie. Aceasta limitare permite utilizarea schemelor cuadripolare ale elementelor active de circuit cu parametrii de cuadripol independenti de frecventa.
De fapt toate aceste limitari sunt impuse pentru ca semnalul de la iesirea schemei sa fie de aceeasi forma cu semnalul de la intrare, adica schema electronica sa īndeplineasca functia de amplificare a semnalului de la intrare.
Īn realitate nimic nu este perfect, motiv pentru care spunem ca o schema de amplificator este liniara daca distorsiunile semnalului de la iesire sunt acceptabile (se īncadreaza īntr-un domeniu impus de aplicatia data). Spre exemplu un amplificator liniar īn domeniul 300,..., 12.000 Hz este sper-performant daca se utilizeaza la realizarea unui megafon si este execrabil daca este utilizat la realizarea unui lant audio "HF".
Luānd īn consideratie faptul ca reactia (transferul unei parti
din semnalul de la iesire la intrare) se trateaza īn cadrul unui capitol separat, īn cadrul prezentului capitol vom considera tranzistori unilaterali.
Aceasta limitare simplifica schema echivalenta a elementelor de circuit, īn sensul eliminarii tuturor componentelor care transfera semnalul de la iesire la intrare, ceea ce permite tratarea separata a circuitului de la intrare si separat circuitul de la iesirea amplificatorului.
Schema echivalenta a TBP
Tranzistorul bipolar poate fi utilizat īn conexiune emitor comun (EC), īn conexiune colector comun (CC) sau īn conexiune baza comuna (BC) determinānd tot atātea topologii de amplificatoare, denumite dupa modul de conectare a tranzistorului.
Īn toate calculele se va considera schema echivalenta cuadripolara a tranzistorului bipolar īn conexiune emitor comun, prezentata īn figura 4.3, indiferent de modul de asezare a tranzistorului (BC, CC, sau EC) īn cadrul amplificatorului.
4.2. Amplificatorul cu tranzistor bipolar īn conexiune EC
Īn figura 4.4 este prezentata schema unui amplificator cu TBP īn conexiune emitor comun EC.
Polarizarea bazei tranzistorului se face prin intermediul divizorului de tensiune, realizat cu rezistorii RB1 si RB2, care stabilesc un potential al bazei
.
Jonctiunea baza - emitor primeste tensiunea
Cunoscuti fiind parametrii de cuadripol ai celor doi tranzistori, īn continuare se vor determina parametrii de cuadripol ai tranzistorului echivalent.
Ecuatiile de cuadripol sunt cele corespunzatoare exprimarii cu parametrii "h"
![]()
Parametrul h numit admitanta de iesire se constata, comparānd cele doua scheme, ca este determinat de tranzistorul T2
h0= h02
Impedanta de intrare se defineste prin relatia
,
unde s-au folosit relatiile dintre curenti
,
.
Factorul de amplificare īn curent este
.
Suma curentilor īn nodul de la iesire

Pentru V0 = 0 avem
![]()
![]()
Concluzii:
- impedanta de intrare are valori mari
;
- factorul de amplificare este mare, fiind egal cu produsul factorilor de amplificare;
- impedanta de iesire este data de T2.
Un circuit des utilizat este tranzistorul Darlington, montaj format din doi tranzistori cuplati, ambii, īn conexiune colector comun, ca īn figura 4.16.

Schema din fig. 4.16b contine un rezistor care sa preia o parte din curentul de emitor al T1, pentru ca acesta sa poata lucra la curenti de emitor mai mari decāt curentul de baza al T2.
|
Fig. 4.17. |
Īn figura 4.18 este prezentata o alta modalitate de polarizare a tranzistorilor din montajul cascod [8, 25]. Sunt utilizate rezistoarele RB1, RB2 si RB3 .

Fig. 4.18.
Schema echivalenta īn regim de curent alternativ valabila pentru ambele montaje cascod este prezentata īn figura 4.19.

Fig. 4.19.
Pentru a efectua calculele necesare stabilirii parametrilor montajului se īnlocuiesc tranzistorii cu modelul lor cuadripolar, expresia rezistentei de iesire fiind
.
Se constata ca rezistenta de iesire a montajului a crescut de hf ori fata de valoarea rezistentei de iesire a tranzistorului.
Etajul cascod cu doi tranzistori cu efect de cāmp
Īn figura 4.20 este prezentata schema de principiu a unui etaj cascod realizat cu doi tranzistori cu efect de cāmp (SC+GC), unde TEC1 constituie etajul de intrare īn conexiune sursa comuna, iar TEC2 realizeaza amplificatorul īn conexiune grila comuna.
Condensatorii CB si CS sunt condensatori de decuplare a rezistoarelor pe care sunt conectati īn paralel, iar CC sunt condensatori de cuplaj. De fapt CB decupleaza ambele rezistoare RB2 paralel cu RB3.

Fig. 4.20.
Reluānd tensiunea V0 avem
![]()
.
Se constata ca rezistenta de iesire a montajului este foarte mare.
Se mai īntālnesc doua scheme electronice ale montajului cascod, obtinute din schema din figura 4.17 prin īnlocuirea unuia din tranzistorii cu efect de cāmp cu un tranzistor bipolar.
Spre exemplu īn figura 4.21 este prezentata una din schemele montajului cascod cu doi tranzistori diferiti, īn care tranzistorul bipolar este īn conexiune emitor comun iar tranzistorul cu efect de cāmp este īn conexiunea sursa comuna.
Fig. 4.21.

Impedanta de iesire a montajului este
, unde intervine conductanta de iesire h0 a tranzistorului bipolar.
Etaje cuplate prin emitor
Sunt etaje la care emitorii celor doi tranzistori sunt cuplati printr-o rezistenta unica, ca īn figura 4.22.

Fig. 4.22.
Tranzistorul T1 este īn
conexiunea colector comun iar T2, datorita condensatorului de
decuplare CB (
) , este īn conexiunea baza comuna.
Schema de c.a. a montajului este prezentata īn figura 4.23.
Rezistentele de polarizare a bazei T1, īn curent alternativ sunt īn paralel, motiv pentru care īn schema echivalenta apare o singura rezistenta ( a grupului).
Fig. 4.23.
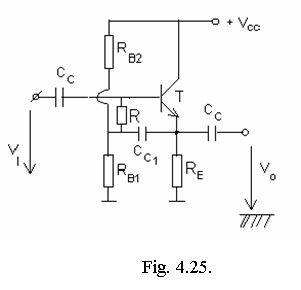
Metoda urmaririi de potential consta īn modificarea circuitului de polarizare astfel īncāt potentialul bazei sa urmareasca potentialul emitorului.
Schema de polarizare īn zona activa a tranzistorului, corespunzatore metodei urmaririi de potential este prezentata īn figura 4.25. , iar īn figura 4.26 sunt prezentate schemele echivalente.
Se constata ca prin intermediul condensatorului de cuplaj CC1 se realizeaza o legatura, īn curent alternativ, directa īntre baza si emitorul tranzistorului. Īn regim variabil potentialul emitorului va urmari potentialul bazei (si reciproc) .


Constatam ca condensatorul de scurcircuitare CC conecteaza RB1 si RB īn || cu RE, dar RE<<RB1, RB2 astfel īncāt
RAM = RE || RB || RB ~ RE
Impedanta de intrare se calculeaza pe desenul din figura 4.26b, care se redeseneaza, dupa īnlocuirea tranzistorului cu schema lui echivalenta, īn figura 4.27.
Se aplica teoremele lui Kirchoff pentru schema din figura 4.26b, care determina relatiile īntre tensiuni si respectiv īntre curenti
Prin īnlocuirea relatiei dintre curenti se obtine expresia tensiunii VI īn functie de curentul de intrare I1
Pentru schema echivalenta din figura 4.30b se pot scrie relatiile
Expresia de mai sus se poate obtine si pe baza schemei generale a urmaririi de potential (din figura 4.28), calculānd factorul de amplificare īn tensiune pentru schema din figura 4.30b īn conditiile anularii rezistentei R = 0.
Pentru cresterea impedantei de intrare, datorita faptului ca RS se transfera la intrare īnmultita cu factorul de amplificare, se recurge la utilizarea unei rezistente RS care sa aiba o valoare mare īn regim de c.a. si o valoare mai mica īn regim de c.c.
Acest lucru se realizeaza prin īnlocuirea RS cu o sursa de curent constant.
|