Reglarea debitului, purjarea rapida, reducerea zgomotelor si nu in ultimul rand conectarea aparatelor intre ele , toate sunt functii asigurate de accesorii.
Acestea sunt:

Fig.1
Aplicatii
· 747g622h Protejarea circuitelor in cazul caderilor bruste de presiune ;
· 747g622h Evitarea golirii unei retele in cazul descarcarii in aer liber, prin ruptura tubulaturii;
· 747g622h Protejarea intregii aparaturi care nu trebuie traversata decat intr-un singur sens.
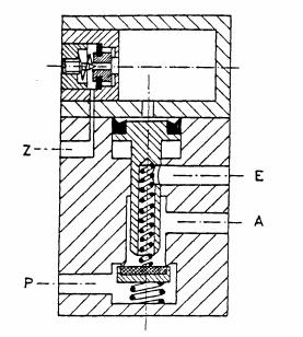
5.2 Regulator de debit
Aparatul este destinat de a regla debitul de aer ; reglarea facandu-se unidirectional, el asigurand, pe un sens reglarea debitului de aer si pe celalt sens trecerea libera a intregului debit de aer, datorita supapei de sens unic incorporate.
Incorporate in circuitele de comanda ale cilindrilor, aceste aparate permit controlarea vitezei acestora.
Atunci cand surubul care asigura reglarea droselului este inchis, aparatul poate functiona ca o clapeta anti-retur.
Diferitele modele de regulatoare de debit permit montarea acestora in diferite locuri.
Fig.2
a) Regulator de debit in linie
Montarea lui pe pupitru sau pe suport permite un bun acces al operatorilor pentru reglare si mentenata.
b) Regulator de debit orientabil
Acesta se poate monta direct in orificiile filetate ale cilindrului. Aceasata pozitie este ideala pentru o reglare precisa a vitezei cilindrului, dar nu este intotdeauna posibila, datorita acccesului la cilindru.


Cu bransarea :

Fig.3
Cand accesul la cilindru este greoi, regulatorul de debit se poate monta direct pe distribuitor.



Cu bransarea :

Fig. 4
5.3 Droselul
Avand o constructie foarte simpla acest aparat are acelasi efect ca si regulatorul de debit. El se monteaza exclusiv pe orificiile de refulare ale distribuitoarelor.
Simbol :

5.4 Supapa de descarcare rapida
Utilizata pentru golirea rapida a camerelor cilindrului, supapa de descarcare rapida permite reducerea considerabila a timpilor de raspuns a cilindrilor.

Fig.5
5.5 Selector de circuit sau supapa selectoare
Este o supapa cu trei cai, cu doua intrari si o iesire. Iesirea este conectata la ambele semnale de intrare.
Atunci cand unul din circuite este sub presiune, celalat circuit este obturat datorita clapetei mobile.


Fig.6
5.6 Amortizor de zgomot
Aceste aparate se moteaza direct pe orificiile de refulare ale distribuitoarelor sau la capatul unei canalizari care colecteaza toate refularile.
Ele determina o scadere importanta a nivelului de zgomot la refularea aerului in atmosfera (la esapare).
Acest rezultat este obtinut prin difuzia aerului la traversarea materialului poros, (bronz) de granualatie apropiata. Pierderea de incarcare este neglijabila.
Amortizorul de zgomot se comporta si ca un regulator de debit permitand astefel cotrolarea descarcarii.

sau
Fig.7
5.7 Temporizator
Temporizatorul se intercaleaza intre dispozitivul de comanda si organul de comanda , in scopul amanarii punerii sub presiune a celui din urma.
Deschiderea este declansata dupa un timp de deplasare controlat printr-un ajustaj reglabil (timp intre 0 si 60 sec).
In functie de asezarea droselelor de cale in aparatul combinat se pot obtine diferite comportari in functionare.


Fig.8
5.8 Incetinitor
Aparatul are 2 orificii care permit trecerea libera a fluidului in cele doua sensuri atunci cand nu este comandat. Cand comanda se efectueaza, o clapeta vine si obtureaza trecerea normala, fluidul fiind astfel obligat sa treaca printr-un drosel, realizandu-se astfel reducerea debitului de aer.
Rolul aparatului este deci de a frana miscarea atunci cand se efectueaza actiunea.
Montarea aparatului se poate face in doua moduri :
- 747g622h 747g622h intre distribuitor si cilindru ;
- 747g622h 747g622h la orificiile de descarcare ale unui distribuitor.
Simbolizare :

|