Baze si sisteme de orientare pentru piese cilindrice scurte
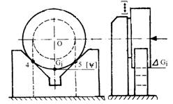
In cazul pieselor cilindrice scurte exterioare, sistemul de orientare poate fi format din urmatoarele baze (fig.5.8):
a) Baza de asezare determinata de reazemele 1, 2 si 3, care determina un plan Q. Aceasta baza leaga trei grade de libertate ( 2 rotatii si o translatie ).
b)
Baza de centrare (
) determinata de reazemele 4 si 5 materializate in
dispozitivul de orientare de fetele inclinate ale unei prisme inguste
(fig.5.9)[21] Aceasta baza leaga 2 grade de libertate ( 2
translatii ).
c) Baza de sprijin, determinata de un reazem, care leaga un grad de libertate (rotirea in jurul axei piesei ), atunci cind este necesara si o orientare unghiulara.

Fig. 5.8
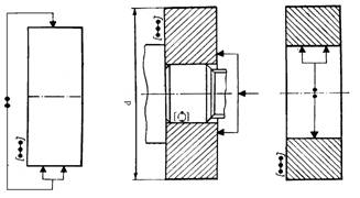
In dispozitiv, sistemul de orientare este materializat de o placa de rezemare frontala si o prisma (fig.5.9), sau de un dorn scurt si o baza de asezare formata de umarul acestuia (fig. 5.10b) sau de sisteme autocentrante (fig.5.10 a si c)

Fig.5.9

a b c
|