CALDARI NAVALE AUXILIARE (CALDARINE)
În afara aparatului motor, la bordul navei există o multime de consumatori de aburi. Acestia necesită calitati diferite de abur cu parametri deosebiti atât în timpul navigatiei, cât si în timpul stationării navei.
Pentru a nu solicita căldările principale ale navei la functionare îndelungată si în deosebi când nava se găseste în stationare, nav 434f58e ele sunt dotate cu căldări auxiliare (caldarine) care au rolul de a furniza abur consumatorilor secundari de la bord, atunci când nava nu dispune de alte surse de abur.
Caldarile navale auxiliare de dimensiuni si debite reduse la care se obtine abur saturat la parametri medii se numesc, in mod frecvent, caldarine. Dupa felul in care se produce aburul caldarinele se impart in doua categorii:
caldarine cu combustibil care folosesc energia calorica produsa prin arderea unui combustibil lichid;
caldarine recuperatoare de caldura care folosesc energia calorica acumulata de gazele de evacuare de la motorul principal.
Căldările auxiliare (caldarinele) pot fi întâlnite atât la navele dotate cu instalatii de fortă cu abur, cât si la navele dotate cu MAI.
În primul caz, căldările auxiliare functioneaza numai când nava se găseste în stationare, deoarece în timpul navigatiei nava dispune de o cantitate suficientă de abur pentru alimentarea tuturor consumatorilor de abur de la bord.
În cel de-al doilea caz, adică la navele care nu au căldări principale, caldarinele functioneaza continuu, deoarece aceste nave nu dispun de alte surse generatoare de abur.
Aburul generat de căldările auxiliare poate fi întrebuintat în:
instalatiile de încălzire cu abur;
instalatiile de încălzire cu apă;
instalatiile de stins incendiile cu abur;
instalatiile de încălzire a tancurilor de combustibil;
instalatiile de încălzire a bucătăriilor;
instalatiile de fierbere a căldărilor (curătirea chimica a căldărilor);
băi, dusuri;
masinile auxiliare de punte pentru actionarea bigilor, macaralelor, vinciurilor, cabestanelor, servomotoarelor, când nava este în stationare;
aparatele auxiliare ale căldărilor, etc.
Cerintele particulare de abur ale navei depind de tipul si clasa navei.
Căldările auxiliare care nu alimenteaza cu aburi grupuri electrogene au de regulă presiunea de lucru pk = 5 Kgf/cm2. Căldările auxiliare care alimenteaza cu aburi grupurile electrogene si alte mecanisme auxiliare de punte, functioneaza cu presiuni de lucru de până la 25.28 Kgf/cm2.
La bordul navei căldările auxiliare se instalează în compartimentul căldării principale sau în compartimente separate.
La navele cu instalatii de fortă cu aburi se folosesc căldări auxiliare cu apă în tuburi (acvatubulare), cu circulatie naturala, cu unul sau 2 circuite de gaze. Ele se deosebesc de cele principale doar prin gabarite si parametri.
La navele cu MAI se folosesc căldări auxiliare de cele mai variate tipuri, acvatubulare sau ignitubulare.
În principiu, căldările auxiliare furnizează numai abur saturat si din această cauză nu au supraîncălzitoare de abur. Schimbătoarele de căldura functioneaza mult mai avantajos cu abur saturat, deoarece coeficientul global de transfer al căldurii este mai mare decât în cazul aburului supraîncălzit.
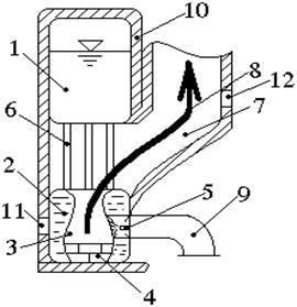
Constructia căldării auxiliare acvatubulare (caldarinei cu combustibil):

Fig. 47.
Colectorul superior 1 este legat de colectorul inferior prin tuburile de apă 6; focarul 3 este amplasat în interiorul colectorului inferior 2, fiind prevăzut cu vatra de cărămidă refractară 4, având legatura printr-un racord cu camera de fum 7, permitând astfel gazelor de ardere să treacă prin tubulatura 8 (esapamentul) spre cosul navei. Combustibilul este introd în focar prin tubul 9 si arzătorul 5 (de una sau doua duze).
Supravegherea flăcării în focar se face cu ajutorul unor protectii constând într-o celulă fotoelectrică. Atunci când se stinge flacăra, protectia respectiva actionează asupra valvulei de pe circuitul principal de combustibil, întrerupând de asemenea si intrarea aerului în focar. Instalatia de pulverizare a combustibilului poate fi alcătuită din una sau 2 duze, prevăzute cu posibilitatea aprinderii automate a combustibilului.
Reglarea combustiei si a tirajului artificial se realizeaza printr-o suflantă actionată de un motor electric cuplat si cu pompa de combustibil. Pentru curătirea spatiilor de apă din colectorul inferior, caldarina este prevăzută cu autoclavele 11, iar pentru curătirea spatiului de fum, cu capacele de vizitare 12. Mantaua 10 este confectionata din tablă de otel căptusită cu straturi de azbest pentru a asigura o izolare termica a căldării.
Pe colectorul superior sunt montate toate armăturile, accesoriile si aparatele de măsură necesare (indicatoare de nivel, valvule de abur, supape de sigurantă, capete de alimentare, robinete de control si purjare).
La unele nave mici si în special la navele fluviale, unde nu este nevoie de abur viu (supraîncălzit) ci numai de apă caldă, pentru încălzire se găsesc montate caldarine cu combustibil cu apă caldă, care sunt niste recipiente cilindrice, prevăzute cu focar si arzător mecanic (de acelasi tip cu cele folosite la caldarinele cu abur).
Pornirea si oprirea arzătorului se realizeaza în functie de temperatura apei din recipient. Si aceste caldarine cu apă caldă sunt prevăzute cu supape de sigurantă si aparate de măsură si control.
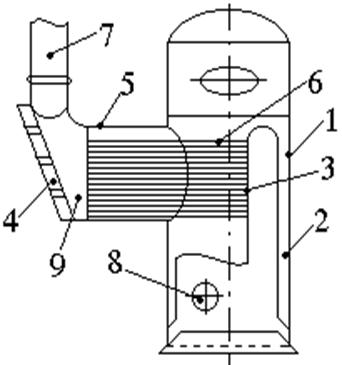
Constructia căldării auxiliare ignitubulare:

Fig. 48.
Această căldare constă din: corpul cilindric 1 închis în partea superioara cu un capac de formă sferică, focarul 2 a cărui parte superioara se transformă în cutie de foc, placa tubulară 3 a cutiei de foc, placa tubulară a camerei de fum, cilindrul prelungitor 5 al tuburilor de fum 6 si cosul căldării 7. Combustibilul este pulverizat de pulverizatorul fixat în orificiul 8, iar gazele trec din focar în cutia de foc, apoi prin tuburile de fum pătrund în camera de fum 9 de unde prin cosul 7 sunt evacuate în atmosfera.
În camera de aburi si de apă, caldarina are prevăzute orificii de vizită pentru efectuarea controlului interior si a deferitelor lucrări.
|