CLASIFICAREA ARIILOR PERICULOASE Ex GENERATE DE GAZE, VAPORI SI / SAU PRAFURI COMBUSTIBILE
GENERALITATI
In instalatiile industriale in care se proceseaza, transporta sau depoziteaza substante inflamabile si/sau combustibile este probabila prezenta unei atmosfere explzive.
Atmosfera exploziva se defineste ca un amestec cu aer, in conditii atmosferice, al unui material infla 151g61b mabil in care, dupa aprindere, arderea se propaga in tot ansamblul amestecului neconsumat.
Substantele inflamabile si/sau combustibile trebuie sa fie considerate ca materiale care pot forma o atmosfera exploziva in afara de cazul in care investigarea proprietatilor lor a aratat ca in amestecurile cu aer ele sunt incapabile de propagarea unei explozii autosustinute.
Functie de natura materialului inflamabil atmosferele explozive pot fi :
- atmosfere explozive gazoase cand materialul inflamabil este sub forma de gaz sau vapori
- atmosfere explozive de praf cand materialul inflamabil este sub forma de praf sau fibre
Pentru a se produce o explozie este necesar sa co-existe o atmosfera exploziva si o sursa de aprindere. Rezulta ca pentru reducerea pericolului de explozii trebuie sa se ia masuri pentru prevenirea exploziilor prin :
Eliminarea sau reducerea la minimum a riscului poate fi realizata prin aplicarea numai a uneia din masurile de prevenire si de protectie de mai sus. De cele mai multe ori insa nu este posibil acest lucru si de aceea , in practica, se aplica o combinatie intre acestea.
Intotdeauna prima optiune se recomanda sa fie evitarea unei atmosfere explozive.
Cu cat este mai mare probabilitatea producerii unei atmosfere explozive, cu atat mai mare trebuie sa fie extinderea masurilor impotriva surselor de aprindere efective si invers.
Sursele de aprindere sunt asociate, de regula, echipamentelor, sistemelor protectoare si componentelor amplaste in atmosfere potential explozive.
Standardele din domeniu stabilesc cerinte specifice de constructie, montare si intretinere a echipamentelor, sistemelor protectoare si componentelor functie de domeniul de utilizare prevazut, respectiv de probabilitatea prezentei unei atmosfere explozive.
Cand prezenta unei atmosfere explozive gazoase este foarte probabila, se va recurge la utilizarea unor echipamente cu o probabilitate scazuta de a genera o sursa de aprindere. Dimpotriva, daca probabilitatea prezentei unei atmosfere gazoase este scazuta, se vor putea utiliza echipamente construite dupa standarde mai putin riguroase.
Ca regula generala , echipamentele cu potentiale surse de aprindere trebuie, in masura in care este posibil, sa fie amplasate in arii nepericuloase. Daca acest lucru nu este posibil, este necesar sa fie amplasate in aria cea mai putin periculoasa.
La proiectarea si constructia echipamentelor, sistemelor protectoare si componentelor trebuie avute in vedere doua aspecte:
- evitarea sau reducerea cantitatii de atmosfera exploziva , si
- evitarea surselor de aprindere efective
Cerinte pentru proiectarea si constructia echipamentelor, sistemelor protectoare si componentelor pentru evitarea sau reducerea cantitatii de atmosfera exploziva
Generalitati
- substantele sa fie tinute tot timpul in sisteme inchise
- folosirea materialelor de constructie necombustibile
- tehnicile de prelucrare continue ale proceselor sunt preferabile fata de procesele discontinue.
- separarea spatiala sau prin amplasarea de ecrane intre instalatii.
- substantele inflamabile sa fie in permanenta impartite in cantitati mai mici
- se prefera instalatiile aflate in exterior si nu in cladiri, in special in vederea miscarii naturale a aerului.
Reducerea degajarilor de substante inflamabile (prevenirea scurgerilor)
Trebuie sa se acorde atentie speciala la :
- selectarea materialelor de constructie, inclusiv a celor pentru garniturile de etansare, imbinari Se ia in considerare eventuala corodare, uzura si interactiuni periculoase cu substantele manipulate;
- numarul si dimensiunile racordurilor detasabile trebuie pastrate la minimul necesar;
- integritatea sistemelor de conducte printr-o protectie adecvata contra impactului sau printr-o amplasare adecvata
- drenajul local pentru a controla scurgerile minore;
- racordurile detasabile trebuie prevazute cu cuplunguri de capat etansate;
- la lucrarile de umplere si golire trebuie aplicate sisteme de echilibrare/ recuperare a vaporilor
Dilutia prin ventilatie
Gazul sau vaporii degajati in atmosfera pot fi diluati prin dispersie sau prin difuzie in aer pana cand concentratia lor scade sub limita inferioara exploziva. Ventilatia, adica miscarea aerului ce conduce la reinnoirea atmosferei, cu aer proaspat, intr-un volum (teoretic) din jurul sursei de degajare, favorizeaza dispersia.
La prafuri, ventilatia asigura protectie suficienta doar daca praful este extras (extractie locala) iar depozitele periculoase de praf combustibil se previn in mod fiabil.
Cerinte pentru proiectarea si constructia echipamentelor, sistemelor protectoare si componentelor pentru evitarea surselor de aprindere efective
Cerintele pentru proiectarea si constructia echipamentelor, sistemelor protectoare si componentelor pentru evitarea surselor de aprindere efective sunt prezentate in cursurile specifice (a se vedea SR EN 1127-1, SR EN 60079-0,: SR EN 13463 -1, SR EN 50281-1-1, SR EN 60079-14, SR EN 50281-1-2; SR EN 60079-14)
Pentru a permite selectarea masurilor adecvate trebuie sa se dezvolte un concept de securitate impotriva exploziei pentru fiecare caz in parte.
Pentru a determina amploarea masurilor necesare pentru a evita sursele efective de aprindere, in scopul facilitarii selectarii echipamentelor electrice si neelectrice adecvate si a proiectarii instalatiilor adecvate, locurile periculoase sunt clasificate in zone pe baza frecventei si duratei de aparitie a unei atmosfere explozive periculoase.
Clasificarea ariilor periculoase trebuie efectuata de persoane care cunosc proprietatile materialelor inflamabile, procedeele si echipamentele, prin consultarea, ori de cate ori este necesar, a personalului de securitate, a electricienilor si a altor specialisti din domeniu.
1. TERMINOLOGIE SI DEFINITII
atmosfera exploziva gazoasa : Amestec cu aer, in conditii atmosferice, al unui material infla 151g61b mabil sub forma de gaz sau vapori, in care, dupa aprindere, arderea se propaga in tot ansamblul amestecului neconsumat.
arie periculoasa : Arie in care exista sau ar putea sa fie prezenta o atmosfera exploziva gazoasa in asemenea cantitati incat sa necesite precautii speciale pentru constructia, instalarea si utilizarea aparaturii electrice.
arie nepericuloasa : Arie in care nu exista sau nu este de asteptat sa fie prezenta o atmosfera exploziva gazoasa in cantitate suficienta incat sa necesite precautii speciale pentru constructia, instalarea si utilizarea aparaturii electrice.
zone : Ariile periculoase sunt clasificate in zone, in functie de frecventa aparitiei si durata prezentei unei atmosfere explozive gazoase, dupa cum urmeaza :
zona O : Arie in care este prezenta in permanenta, sau pe perioade lungi de timp o atmosfera exploziva gazoasa.
zona 1 : Arie in care este probabila aparitia unei atmosfere explozive gazoase in functionare normala.
zona 2 : Arie in care nu este probabila aparitia unei atmosfere explozive gazoase la functionarea normala si in care, daca totusi apare, este probabil sa apara numai rareori si doar pentru o perioada scurta de timp
sursa de degajare : Punct sau loc de la care este probabil sa se degaje in atmosfera un gaz inflamabil, vapori inflamabili sau lichid inflamabil, astfel incat sa se poata forma o atmosfera exploziva gazoasa.
grade de degajare :
a) grad continuu;
b) grad primar;
c) grad secundar.
debit de degajare : Cantitatea de gaz inflamabil sau vapori inflamabili emisa pe unitatea de timp de catre sursa de degajare.
functionare normala : Situatie in care instalatia functioneaza la parametrii nominali .
ventilatie : Miscare a aerului si inlocuirea acestuia cu aer proaspat sub actiunea vantului, a gradientilor de temperatura sau a mijloacelor artificiale ( de exemplu ventilatoare sau exhaustoare).
limite de explozivitate
limita inferioara exploziva ( LEL) : Concentratie in aer de gaze inflamabile sau vapori inflamabili, sub care atmosfera gazoasa nu este exploziva..
limita superioara exploziva (UEL) : Concentratie in aer de gaze inflamabile sau vapori inflamabili, peste care atmosfera gazoasa nu este exploziva.
densitatea relativa a unui gaz sau a unor vapori Raportul intre densitatea unui gaz sau a unor vapori si densitatea aerului la aceeasi presiune si la aceeasi temperatura (pentru aer, ea este egala cu 1,0).
material inflamabil: Material care este inflamabil in sine sau care este capabil sa produca un gaz inflamabil, vapori inflamabili sau ceturi inflamabile.
lichid inflamabil: Lichid capabil sa produca vapori inflamabili in toate conditiile de exploatare previzibile.
gaz inflamabil sau vapori inflamabili Gaz sau vapori care in amestec cu aerul in anumite proportii, vor forma o atmosfera exploziva gazoasa.
ceata inflamabila Picaturi de lichid inflamabil dispersate in aer astfel incat sa formeze o atmosfera exploziva gazoasa.
punct de aprindere : Temperatura cea mai scazuta a unui lichid, la care, in anumite conditii standardizate, lichidul elibereaza vapori intr-o asemenea cantitate incat sa se poata forma un amestec inflamabil vapori/aer
punct de fierbere : Temperatura la care un lichid fierbe la presiunea atmosferica de 101,3 kPa (1013mbar).
temperatura de aprindere a unei atmosfere explozive gazoase : Temperatura cea mai scazuta a unei suprafete incalzite la care, in conditii specificate, se poate produce aprinderea unei substante inflamabile sub forma de amestec de gaz sau vapori cu aerul.
conditii atmosferice normale: Conditii care includ variatii de presiune si temperatura superioare si inferioare nivelelor de referinta de 101,3 kPa (1013 mbar) si 20°C (293K), cu conditia ca variatiile sa aiba un efect negllijabil asupra proprietatilor explozive ale prafurilor combustibile.
amestecuri hibride: Amestecuri praf/aer combinate cu cantitati semnificative de vapori si gaze inflamabile. Daca, concentratia de vapori sau gaze inflamabile nu depaseste 20 % din limita inferioara de explozie a vaporilor sau gazelor respective, in majoritatea cazurilor sistemul poate fi tratat ca un amestec pur de praf/aer inflamabil. Peste acest nivel, pot fi necesare examinari specifice.
praf conductor: Praf cu rezistivitatea electrica egala sau mai mica decat 103 m.
praf neconductor: Praf cu rezistivitatea electrica egala sau mai mare de 103 m.
atmosfera exploziva de praf: Amestec cu aerul, in conditii atmosferice, al substantelor inflamabile sub forma de praf sau fibre in care, dupa aprindere, arderea se propaga in tot amestecul neconsumat .
praf combustibil: Praf care poate arde sau poate fi incandescent si care poate forma amestecuri explozive cu aerul la temperaturi normale si presiune atmosferica.
zone (praf) : Ariile clasificate sunt impartite in zone pe baza frecventei si duratei aparitiei amestecurilor explozive de praf/aer. De asemenea trebuie luate in considerare si straturile de praf.
zona 20: Arie in care in timpul functionarii normale, prafuri combustibile, sub forma de nor, sunt prezente in permanenta sau frecvent in cantitate suficienta pentru a produce o concentratie exploziva de prafuri combustibile in amestec cu aerul, si/sau in care straturile de prafuri se pot forma cu o grosime excesiva si necontrolata. Aceasta se poate intampla in interiorul unei ingradiri de praf in care praful poate forma amestecuri explozive, frecvent sau pe perioade lungi. Aceasta survine tipic in interiorul echipamentului.
zona 21: Arie neclasificata ca zona 20, in care in timpul functionarii normale, prafuri combustibile, sub forma de nor, sunt susceptibile sa apara in cantitate suficienta pentru a fi capabile sa produca o concentratie exploziva de prafuri combustibile in amestec cu aerul. Aceasta zona poate cuprinde, intre altele, imediata vecinatate a punctelor de umplere sau de golire a produselor pulverulente, si arii in care straturi de praf se formeaza si sunt susceptibile sa dea nastere in timpul functionarii normale, la o concentratie exploziva de prafuri combustibile in amestec cu aerul .
zona 22: Arie neclasificata ca zona 21 in care nori de praf se pot produce rar si se mentin pe perioade scurte, sau in care acumularile sau straturile de praf combustibil pot fi prezente in conditii anormale si pot genera amestecuri inflamabile de praf in aer. Atunci cand, datorita conditiilor anormale, inlaturarea acumularilor sau straturilor de praf nu poate fi asigurata, aceasta arie se clasifica ca zona 21. Aceasta zona poate cuprinde, intre altele, zone din apropierea unui echipament care contine prafuri care pot scapa prin scurgeri si pot forma depozite (sali de concasare, de exemplu, in care prafurile pot scapa de la concasare si se pot depozita).
sursa de degajare a prafurilor Punct sau loc de la care praful combustibil poate fi eliberat sau se poate involbura, astfel incat, sa se poata forma un amestec exploziv de praf/aer. In functie de circumstante, nu toate sursele de degajare produc neaparat un amestec exploziv de praf/aer. Trebuie totusi sa se tina seama de faptul ca o sursa de degajare permanenta mica sau diluata, poate sa produca in timp un strat de praf potential periculos.
In functie de ordinea descrescatoare a probabilitatii de aparitie sursele de degajare se impart in urmatoarele grade:
- Formarea continua a unui nor de praf: locuri in care un nor de praf poate exista in mod continuu sau care se presupune ca este prezent perioade lungi sau perioade scurte care se repeta frecvent.
- Grad de degajare primar: o sursa de la care se poate presupune ca degaja periodic sau ocazional, in timpul functionarii normale.
- Grad de degajare secundar: o sursa de la care se presupune ca nu degaja in timpul functionarii normale si daca totusi degaja, este probabil sa se intample rar si perioade scurte.
intinderea zonei: Distanta, in orice directie, intre marginea unei surse de degajare si punctul in care riscul asociat acestei zone este considerat ca nu mai exista.
temperatura de aprindere a unui strat de praf: Temperatura minima a unei suprafete calde, pentru care aprinderea se produce intr-un strat de praf, de grosime data, depus pe aceasta suprafata calda.
temperatura de aprindere a unui nor de praf: Temperatura minima a peretelui interior cald al unui cuptor, la care se produce aprinderea in aer a unui nor de praf.
2. ARII PERICULOASE EX GENERATE DE GAZE, VAPORI, CETURI SI LICHIDE INFLAMABILE
Clasificarea acestor arii este o metoda de analiza si de clasificare a mediului in care pot apare atmosfere explozive gazoase, astfel incat sa faciliteze alegerea corecta a aparaturii electrice utilizabile fara pericol in acest mediu, tinand cont de grupele de gaze si clasele de temperatura ale gazelor.
Prima etapa consta in evaluarea probabilitatii aparitiei unei atmosfere explozive gazoase, conform definitiilor zonelor 0, 1 si 2.
O data ce au fost determinate frecventa si durata de degajare probabile(si, in consecinta , gradul de degajare), procentul de degajare , concentratia, viteza de degajare, ventilatia si ceilalti factori care au o influenta asupra tipului si/sau intinderea zonei, se dispune de o baza corespunzatoare pentru a decide daca este probabila prezenta unei atmosfere gazoase in arii invecinate.
Elementele de baza pentru determinarea tipului zonelor periculoase sunt:
- identificarea sursei de degajare si
-determinarea gradului de degajare.
Surse de degajare
Daca s-a constatat ca un element de echipament poate elibera material inflamabil in atmosfera, trebuie mai intai sa se determine gradul de degajare, conform definitiilor, constatand frecventa si durata probabila a degajarii. Prin aceasta procedura, fiecare sursa de degajare va fi clasificata ca fiind fie "de grad continuu", "de grad primar" sau "de grad secundar".
Dupa ce s-a constatat gradul degajarii, este necesar sa se determine debitul degajarii si ceilalti factori care pot influenta tipul si intinderea zonei.
Probabilitatea prezentei unei atmosfere explozive gazoase si, in consecinta, tipul de zona depind in principal de:
- gradul degajarii si
gradul ventilatiei .
Intinderea zonei depinde, in principal, de parametrii fizici si chimici ai materialului inflamabil si ai procesului de productie cum sunt:
Debitul de degajare a gazelor si vaporilor
Limita inferioara exploziva ( LEL- lower explosion limit
Ventilatia
Densitatea relativa a gazului sau a vaporilor in momentul degajarii
Conditiile climatice
Figura 1 -Exemplu de raspandirea gazelor lichefiate (exemplu)
Cresterea debitului de degajare mareste intinderea zonei. Debitul de degajare depinde, la randul sau, de alti parametri, si anume :
a) Geometria sursei de degajare
b) Viteza de degajare
c) Concentratia gazului inflamabil sau a vaporilor inflamabili in amestecul degajat
d) Volatilitatea unui lichid inflamabil
e) Temperatura lichidului
Deschideri considerate surse posibile de degajare
Trebuie considerate ca surse de degajare posibile deschiderile existente intre arii.
Gradul de degajare al acestor "surse va depinde de :
- tipul de zona al ariei alaturate ariei studiate;
- frecventa si durata perioadelor de deschidere;
- eficienta garniturilor de etansare sau imbinarilor;
- diferenta de presiune intre ariile in cauza.
Clasificarea deschiderilor
Deschiderile sunt clasificate A,B,C,D dupa urmatoarele caracteristici :
Tipul A - Deschideri care nu se conformeaza caracteristicilor specificate pentru tipurile B, C sau D.
Tip B - Deschideri care sunt in mod normal inchise (de exemplu cu inchidere automata) si ramificatii care se deschid rareori, si care au fitinguri de inchidere.
Tip C - Deschideri care sunt in mod normal inchise si sunt rareori deschise, conforme definitiei tipului B, dar care sunt in plus echipate cu dispozitive de etansare (de exemplu garnituri) pe intreg perimetrul sau doua deschideri tip B in serie prevazute cu dispozitive de inchidere automata independente.
Tip D - Deschideri normal inchise, conforme definitiei tipului C, care nu pot fi deschise decat prin mijloace speciale sau in caz de urgenta.
Deschiderile tip D sunt in mod efectiv etanse, cum ar fi treceri utilitare (de exemplu conducte, tevi) sau pot fi o combinatie intre o deschidere tip C, alaturata unei regiuni periculoase, si o deschidere tip B in serie.
|
Zona in amonte de deschidere |
Tipul deschiderii |
Gradul de degajare al deschiderii, considerata ca sursa de degajare |
|
Zona 0 |
A B C D |
Continuu (Continuu) / primar Secundar Fara degajare |
|
Zona 1 |
A B C D |
Primar (Primar) / secundar (Secundar)/fara degajare Fara degajare |
|
Zona 2 |
A B C D |
Secundar (Secundar) / fara degajare Fara degajare Fara degajare |
|
Nota: Pentru gradele de degajare din paranteze, se va lua in considerare la proiectare frecventa de functionare a deschiderilor. |
||
Ventilatia
Ventilatia naturala
Acesta este tipul de ventilatie care este realizat prin miscarea aerului datorita vantului si/sau gradientelor de temperatura. In aer liber, ventilatia naturala este adesea suficienta pentru a asigura dispersia intregii atmosfere explozive care ar apare in arie. Ventilatia naturala poate fi de asemenea eficienta in anumite situatii in interiorul cladirilor (de exemplu cand o cladire are deschideri in pereti si/sau acoperis).
Ventilatie artificiala
Miscarea aerului necesara pentru ventilatie, este asigurata prin mijloace artificiale, de exemplu ventilatoare sau exhaustoare. Desi ventilatia artificiala este utilizata in principal intr-o incapere sau intr-un spatiu inchis, ea poate fi utilizata, de asemenea, in aer deschis pentru a compensa reducerea sau impiedicarea ventilatiei naturale datorita obstacolelor.
Ventilatia artificiala a unei arii poate fi fie generala fie locala si, in ambele cazuri, corespund diferite grade de miscare si de inlocuire a aerului.
Figura 2 - Exemplu de amplasare corecta a deschiderilor de ventilare pentru gazele si vaporii mai grei decat aerul2
Gradul de ventilare
Sunt recunoscute trei grade de ventilatie :
- Ventilatie puternica (VP)
Ea poate sa reduca concentratia la sursa de degajare practic instantaneu, ceea ce conduce la o concentratie inferioara limitei inferioare de explozivitate. Rezulta o zona de mica intindere (daca nu chiar de intindere neglijabila).
-Ventilatie medie (VM)
Ea poate sa controleze concentratia, ceea ce conduce la o situatie stabila, in care concentratia, in limitele zonei, este inferioara fata de LEL in timpul degajarii si in care atmosfera exploziva nu persista in mod neobisnuit dupa oprirea degajarii.
- Ventilatie slaba (VS)
Ea nu poate controla concentratia pe parcursul degajarii si/sau nu poate impiedica persistenta atmosferei explozive in mod neobisnuit dupa oprirea degajarii.
Disponibilitatea ventilatiei
Trebuie luate in considerare trei niveluri de disponibilitate a ventilatiei :
- foarte bun : ventilatia exista practic permanent;
- bun : se asteapta ca ventilatia sa existe in timpul functionarii normale. Sunt permise intreruperi, daca ele se produc rareori si pentru perioade scurte;
- mediocru : ventilatia care nu satisface criteriile unei ventilatii foarte bune sau bune, totodata, nu este de asteptat sa existe intreruperi prelungite.
O ventilatie, a carei disponibilitate nu satisface nici macar criteriile nivelului mediocru , nu trebuie sa se considere ca ar contribui la ventilarea ariei.
Tabelul B.1 - Influenta ventilatiei asupra tipului de zona
| |
|||||||||
|
|
Grad |
||||||||
|
Grad |
Puternic |
Mediu |
Slab |
||||||
|
de |
Disponibilitate |
||||||||
|
degajare |
Foarte buna |
Buna |
Mediocra |
Foarte Buna |
Buna |
Mediocra |
Foarte Buna, Buna sau Mediocra |
||
|
Continuu |
(Zona 0 IN) Zona nepericuloasa1) |
(Zona 0 IN) Zona 21) |
(Zona 0 IN) Zona 11) |
Zona 0 |
Zona 0 + Zona 2 |
Zona 0 + Zona 1 |
Zona 0 |
||
|
Primar |
(Zona 1 IN) Zona nepericuloasa1) |
(Zona 1 IN) Zona 21) |
(Zona 1 IN) Zona 21) |
Zona 1 |
Zona 1 + Zona 2 |
Zona 1 + Zona 2 |
Zona 1 sau Zona 0 3) |
||
|
Secundar 2) |
(Zona 2 IN) Zona nepericuloasa1) |
(Zona 2 IN) Zona nepericuloasa1) |
Zona 2 |
Zona 2 |
Zona 2 |
Zona 2 |
Zona 1 si chiar Zona 0 3) |
||
|
1) Zona 0 IN, 1 IN sau 2 IN indica o zona teoretica a carei intindere este neglijabila in conditii normale. 2) Aria zonei 2, creata de o degajare de grad secundar, poate depasi aria atribuita unei degajari de grad primar sau de grad continuu; in acest caz, trebuie luata in considerare distanta cea mai mare. 3) Va fi zona O daca ventilatia este atat de slaba si degajarea astfel incat, in practica, o atmosfera exploziva este prezenta efectiv permanent (adica situatia este apropiata de cazul in care nu exista ventilatie). |
|||||||||
|
NOTA: " + " inseamna " inconjurat de ". |
|||||||||
EXEMPLE
Exemplul 1: O pompa industriala normala montata la nivelul solului, situata in exterior, care pompeaza lichid inflamabil.

Principalii factori care influenteaza tipul si intinderea zonei
Uzine si procese de productie
Ventilatie
Tipul.. Naturala Artificiala
Gradul Medie Puternica *
Disponibilitate. Mediocra Buna
Sursa de degajare Grad de degajare
Garnitura pompeiPrimar si secundar
Produs
Punct de aprindere. Inferior temperaturii de lucru si temperaturii ambiante
Densitatea vaporilor.. Mai mare decat a aerului
* Fluxul de aer de la motorul pompei
Luand in considerare parametrii relevanti, se obtin urmatoarele valori tipice pentru o pompa care are o capacitate de 50 m3/h si functioneaza la joasa presiune :
a = 3 m pe orizontala de la sursa de degajare;
b = 1 m de la nivelul solului si pana la 1 m deasupra sursei de degajare.
NOTA - Datorita ventilatiei puternice, intinderea zonei 1 este neglijabila.
Exemplul 2: Rezervor de depozitare lichide inflamabile, situat in exterior, cu acoperis fix si fara plafon intern plutitor.

Principalii factori care influenteaza tipul si intinderea zonei
Uzine si procese de productie
Ventilatie
Tipul.. Naturala
Gradul Mediu *
Disponibilitate.. Foarte buna
Sursa de degajare Grad de degajare
Suprafata lichidului.. Continuu
Deschiderile de ventilatie si alte deschideri in acoperis Primara
Flanse, etc. situate in interiorul perimetrului digului de retentie si supraplinului rezervorului Secundara
Produs
Punct de aprindere. Inferior temperaturii de proces si temperaturii ambiante
Densitatea vaporilor.. Mai mare decat a aerului
* In interiorul rezervorului si al canalului, slaba.
Luand in considerare parametrii relevanti, se obtin urmatoarele valori tipice pentru acest exemplu:
a = 3 m de la deschiderea de ventilatie;
b = 3 m deasupra acoperisului;
c = 3 m pe orizontala de la rezervor.
3. ARII PERICULOASE EX GENERATE DE PRAFURI, FIBRE SAU SCAME COMBUSTIBILE
Praful exista in spatiile tehnologice sub doua forme: praf in suspensie si praf depus.
Pentru clasificarea spatiilor industriale cu pericol de praf (pulbere) combustibil se adopta un concept similar celui utilizat pentru gaze si vapori inflamabili pentru a da o indicatie asupra riscului de incendiu si/sau de explozie, daca exista o sursa de aprindere. Totodata, spre deosebire de gaze si vapori inflamabili, praful combustibil nu va fi in mod necesar evacuat prin ventilatie sau difuzie, dupa ce degajarea a fost oprita. Aceasta are implicatii in clasificarea ariilor, care este diferita de cea pentru gazele si vaporii inflamabili. Daca se genereaza in permanenta sau pe perioade lungi de timp nori de praf, foarte diluati si deci neexplozivi, in timp se formeaza straturi groase de praf. Plecand de la aceste straturi de praf, miscarile rapide de aer pot genera nori de praf, creand amestecuri explozive de praf/aer. O depunere de praf care mocneste, daca este deranjata poate aprinde, in consecinta, norul de praf.
Clasificarea ariilor este o metoda de analiza si de clasificare a mediului instalatiilor sau uzinelor, in functie de probabilitatea de aparitie a amestecurilor explozive praf/aer si de straturile de prafuri combustibile. Aceasta va usura selectia corecta a aparaturii electrice destinata utilizarii in deplina securitate intr-un astfel de mediu, tinand cont de caracteristicile prafului.
Pentru clasificarea ariilor, trebuie specificate cu claritate natura prafului si instalatiile care se utilizeaza si trebuie parcurse urmatoarele etape:
a) Prima etapa este identificarea caracteristicilor prafului, de exemplu marimea particulelor, umiditatea, temperaturile de aprindere in nor si in strat si rezistivitatea.
b) A doua etapa este identificarea locurilor in care pot fi prezente prafuri sau surse de degajare a prafului.
c) A treia etapa este determinarea probabilitatii de aparitie a unei degajari de la aceste surse si in consecinta probabilitatea de aparitie a amestecurilor explozive prafuri/aer in diferite parti ale instalatiei.
d) A patra etapa este identificarea posibilitatii de formare a straturilor de praf potential periculoase.
Functie de probabilitatea de formare a amestecurilor praf/aer potential explozive si a straturilor de praf potential periculoase, ariile pot fi desemnate conform tabelului 2.
Tabelul 2
|
Gradul sursei |
Nori de praf |
Straturi de praf de grosime controlata |
|
|
|
|
Perturbate frecvent |
Perturbate rar |
|
Permanenta |
|
|
|
|
Primara |
|
|
|
|
Secundara |
|
|
|
Intinderea zonelor
Zona 20 :
- interiorul echipamentului de manevrare si de producere a produselor pulverulente in care amestecuri explozive praf/aer sunt prezente in permanenta sau in mod frecvent;
- interiorul unei ingradiri de praf in care se pot forma straturi de praf cu grosime excesiva si necontrolabila.
Zona 21 :
- interiorul unui echipament de manevrare a produselor pulverulente in care un amestec exploziv praf/aer este susceptibil sa se produca;
- zona se intinde in exteriorul echipamentului, formata de o sursa de degajare, si care depinde de asemenea de mai multi parametri, precum cantitatile de praf, debitul, marimea particulelor si continutul de umiditate al produsului.
- aceasta zona trebuie sa fie usor extinsa, in mod normal, o sursa de degajare tipica nu va crea un amestec exploziv praf/aer cu intindere peste 1m in jurul perimetrului sursei (de exemplu, vizor deschis) si se va intinde vertical pana la sol sau pana la nivelul unui planseu solid;
Zona 22 :
In majoritatea cazurilor, intinderea zonei 22 poate fi definita evaluand sursele de degajare, in raport cu mediul, care ocazioneaza fie amestecuri explozive praf/aer, fie straturi periculoase de praf, fie amandoua.
Totodata, in exteriorul ingradirilor de praf, toate tipurile de degajare care creeaza un strat de praf necontrolabil (de exemplu intretinere necorespunzatoare), ceea ce este inacceptabil, antreneaza intotdeauna o zona 20.
EXEMPLE
Exemplul1: Punct de golire a sacilor fara ventilatie aspiranta, in exteriorul unei cladiri
Sistemul de golire este amplasat in exterior.
|
Zona 20 |
In interiorul buncarului, pentru ca in acesta in timpul functionarii normale este prezent un amestec exploziv de praf/aer frecvent, sau continuu, si se formeaza sau sunt prezente straturi de praf cu grosime excesiva si necontrolabila. |
|
Zona 21 |
Gura de vizitare deschisa este o sursa cu grad de degajare primar; este probabila aparitia unui amestec exploziv de praf/aer. In consecinta, trebuie definita o zona 21 in jurul acestei guri de vizitare, cu o latime de 1 m de la margine si in jos pana la pardoseala. |
|
Zona 22 |
Datorita agentilor atmosferici, zona 22 va fi limitata la maxim 1 m in jurul limitei zonei 21. |

Note
1 Toate distantele sunt date doar cu titlu informativ. In practica sunt posibile alte distante.
2 Pot fi necesare masuri de protectie suplimentare, precum eliberarea presiunii de explozie catre atmosfera sau limitarea exploziei cu baraje, protectia la intemperii etc.
Figura 1 - Punct de golire a sacilor fara ventilatie aspiranta, in interiorul cladirii
Exemplul 2: Punct de golire a sacilor situat in interior, cu ventilatie aspiranta
In acest exemplu, sacii sunt goliti manual, in mod frecvent, intr-un buncar, de unde continutul este transportat pneumatic in alte parti ale instalatiei. O parte a buncarului este intotdeauna plina cu produs. Buncarul este prevazut cu ventilatie aspiranta. In acest fel, produsul pulverulent poate fi retinut, pe cat posibil, in sistem.
|
Zona 20 |
In interiorul buncarului, pentru ca in acesta in timpul functionarii normale este prezent un amestec exploziv de praf/aer frecvent si se formeaza sau sunt prezente straturi de praf cu grosime excesiva si necontrolabila. |
|
Zona 21 |
Daca sistemul de ventilatie aspiranta s-a defectat sau este necorespunzator, deschiderea este o sursa cu grad de degajare primar, conducand la o zona 21, cu o latime de 1 m in jurul marginii gurii de alimentare. |
|
Zona 22 |
In cazul sistemelor de ventilatie aspiranta bine proiectate, orice degajare de praf va fi aspirata in interior. Gura de alimentare poate fi astfel definita ca sursa cu grad de degajare secundar, conducand la o zona 22, cu o latime de 1 m in jurul marginii gurii de alimentare. Golirea sacilor va produce o degajare de praf in timpul manevrarii. In consecinta, trebuie sa se defineasca o arie cu o latime de 2 m in jurul gurii de alimentare ca zona 22. Daca intretinerea curateniei este slaba, se poate prafui o arie mai intinsa a incaperii si aceasta trebuie sa fie clasificata corepunzator. |

Note
1 Toate distantele sunt date doar cu titlu informativ. In practica sunt posibile alte distante.
2 Pot fi necesare masuri de protectie suplimentare, precum eliberarea presiunii de explozie catre atmosfera sau limitarea exploziei cu baraje, protectia la intemperii etc..
Figura 2 - Punct de golire a sacilor situat in interior, cu ventilatie aspiranta
Exemplul 3: Ciclon cu filtru: evacuarea in exteriorul incaperii
In acest exemplu, ciclonul si filtrul fac parte dintr-un sistem de extractie prin aspiratie. Produsul extras traverseaza o vana rotativa care functioneaza continuu, pentru a cadea intr-un buncar inchis.Ventilatorul amplasat la iesirea filtrului evacueaza aerul aspirat in exterior. In buncarul filtrului nu se asteapta nici o retinere a produsului.
Concentratia medie de praf care se obtine in timpul transportului este mult sub limita inferioara de explozivitate a produsului respectiv.
|
Zona 20 |
Nu exista zona 20, deoarece nu va fi prezenta, sau intalnita frecvent la functionare normala o concentratie mai mare decat limita inferioara de explozivitate a amestecurilor explozive de praf/aer. De asemenea, nici o retinere a produsului in filtru si nici un strat de praf gros nu se aseapta sa se produca. |
|
Zona 21 |
Chiar daca concentratia medie a prafului este cu mult sub LEL a produsului respectiv, aceasta nu garanteaza ca nu vor aparea in anumite perioade amestecuri cu concentratii mai mari. Depunerile din interiorul conductelor pot fi brusc involburate si antrenate, in proces o cantitate mare de praf poate fi necesar sa se separe. Curatirea sacilor filtrului poate conduce, de asemenea, la concentratii explozive de praf. |
|
Zona 22 |
Praful se poate degaja de la fata curata a filtrului prin scapari bruste (sursa cu grad de degajare secundar), sau in permanenta, in concentratii foarte mici (sursa cu grad de degajare permanent). Situatia este similara pentru conductele din aval de filtru, pentru ventilator si in jurul gurii de evacuare. In exterior, o arie de 1 m in jurul gurii de evacuare va fi considerata ca zona 22. NOTA - Aria care inconjoara echipamentul poate fi necesar sa se clasifice ca zona 22 (in loc de zona nepericuloasa) daca straturile de praf sunt prezente, de exemplu ca urmare a scurgerilor de la racorduri flexibile in partea cu suprapresiune a conductei de aer curat (in aval de ventilator). |

Note
1 Toate distantele sunt date doar cu titlu informativ. In practica sunt posibile alte distante.
2 Pot fi necesare masuri de protectie suplimentare, precum eliberarea presiunii de explozie catre atmosfera sau limitarea exploziei cu baraje, protectia la intemperii etc.
Figura 3 - Ciclon si filtru: evacuarea in exteriorul incaperii
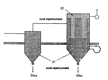
Exemplul 4: Ciclon si filtru: evacuarea in interiorul unei incaperi
In acest exemplu, ciclonul si filtrul fac parte dintr-un sistem de transport pneumatic la presiune pozitiva. Produsul extras traverseaza o vana rotativa, pentru a cadea intr-un siloz. Ventilatorul amplasat la iesirea filtrului evacueaza in incapere aerul aspirat.
In interiorul ciclonului, presiunea este usor superioara presiunii atmosferice, datorita prezentei sistemului pneumatic. In filtru, presiunea este in mod normal usor inferioara presiunii atmosferice. Concentratia de praf la care are loc transportul este mult peste limita inferioara de explozie a produsului respectiv.
|
Zona 20 |
In interiorul ciclonului, filtrului si conductelor, deoarece in timpul functionarii normale aici sunt prezente in permanenta amestecuri explozive de praf/aer. |
|
Zona 21 |
In acest proces nu poate fi definita nici o zona 21. |
|
Zona 22 |
Praful se poate degaja pe fata curata a filtrului prin scapari bruste (sursa cu grad de degajare secundar) cu concentratii mari sau in permanenta, in concentratii foarte mici. Situatia este similara si pentru conductele din aval de filtru, pentru ventilator si in jurul gurii de evacuare. O arie cu o latime de 1 m in jurul marginilor gurii de evacuare va fi clasificata ca zona 22. Gura de evacuare a filtrului refuland cantitati foarte mici de praf in incapere, in timp se pot forma straturi de praf in interiorul incaperii. Intreaga incapere trebuie deci sa fie clasificata ca zona 22. Cea mai mare parte a incaperii poate fi clasificata ca zona nepericuloasa, numai daca se asigura o intretinere corespunzatoare a curateniei, la intervale regulate, care sa permita limitarea grosimii stratului de praf. Conducta si orificiul de evacuare a presiunii de explozie pot avea scapari sau se pot rupe (sunt posibile usoare suprapresiuni) si constituie, in acest caz, o zona 22 (rupere sau scurgere). |

Note
1 Toate distantele sunt date doar cu titlu informativ. In practica sunt posibile alte distante.
2 Pot fi necesare masuri de protectie suplimentare, precum eliberarea presiunii de explozie catre atmosfera sau limitarea exploziei cu baraje, protectia la intemperii etc.
Caracteristile de explozie ale unor prafuri industriale
|
Nr. crt. |
Denumirea prafului |
Temperatura de aprindere |
Concen- tratia min. de explozie g/m3 |
Energia minima de aprin- dere |
Granulo- metria prafului µm |
Pericolul relativ de explozie |
Concen- tratia de oxigen %vol. |
|
|
in sus-pensie |
in strat |
|||||||
|
|
|
|
|
|
|
|
|
|
|
|
Aluminiu (praf) |
|
|
|
|
|
puternic |
|
|
|
Alcool polivinilacetic |
|
|
|
|
|
puternic |
|
|
|
Bumbac (scame) |
|
|
|
|
|
slab |
|
|
|
Bumbac (praf) |
|
|
|
|
|
|
|
|
|
Bumbac umplutura pentru textolit |
|
|
|
|
|
foarte puternic |
|
|
|
Canepa |
|
|
|
|
|
foarte puternic |
|
|
|
Coji de nuca |
|
|
|
|
|
foarte puternic |
|
|
|
Carbune cu subst. vol. reduse Carbune (f. volatil) |
|
|
|
|
|
puternic |
|
|
|
Celuloza praf (lignina) |
|
|
|
|
|
|
|
|
|
Celuloza |
|
|
|
|
|
puternic |
|
|
|
Clei de piele (praf) |
|
|
|
|
|
|
|
|
|
Ebonita |
|
|
|
|
|
|
|
|
|
Faina de lemn |
|
|
|
|
|
|
|
|
|
Hartie |
|
|
|
|
fibra |
|
|
|
|
Ierburi si muschi |
|
|
|
|
|
puternic |
|
|
|
Lemn coaja |
|
|
|
|
|
puternic |
|
|
|
Lemn - pin alb - faina |
|
|
|
|
|
puternic |
|
|
|
Lemn scoarta de brad |
|
|
|
|
|
puternic |
|
|
|
Lemn umplutura |
|
|
|
|
|
foarte puternic |
|
|
|
Lemn tare (fag) |
|
|
|
|
|
|
|
|
|
Lignina hidralizata |
|
|
|
|
|
foarte puternic |
|
|
|
Lignina foioase |
|
|
|
|
|
puternic |
|
|
|
Lignina conifere |
|
|
|
|
|
puternic |
|
|
|
Lignina bumbac |
|
|
|
|
|
puternic |
|
|
|
Lignina sulfonat de Ca |
|
|
|
|
|
|
|
|
|
Lignina rasina |
|
|
|
|
|
|
|
|
|
Novolac |
|
|
|
|
|
foarte puternic |
|
|
|
Nylon |
|
|
|
|
|
foarte puternic |
|
|
|
Nitroceluloza |
autoa-prinde-re 230 |
|
|
|
|
foarte puternic |
|
|
|
Poliuretan |
|
|
|
|
|
|
|
|
|
Plexiglas praf |
|
|
|
|
|
|
|
|
|
Praf de pluta |
|
|
|
|
|
foarte puternic |
|
|
|
Praf de rumegus |
|
|
|
|
|
foarte puternic |
|
|
|
|
|
|
|
|
|
|
|
|
|
Polietilena (inalta presiune) |
|
|
|
|
|
|
|
|
|
Polipropilena |
|
|
|
|
|
|
|
|
|
Polistiren |
|
|
|
|
|
|
|
|
|
Polistiren modificat cu cauciuc |
|
|
|
|
|
|
|
|
|
Poliuretan |
|
|
|
|
|
|
|
|
|
Rasina alchidica |
|
|
|
|
|
slab |
|
|
|
Rasina alilica |
|
|
|
|
|
foarte puternic |
|
|
|
Rasina aminoureoformal-dehidica |
|
|
|
|
|
puternic |
|
|
|
Rasina celulozica |
|
|
|
|
|
foarte puternic |
|
|
|
Rasina polieterclorinata |
|
|
|
|
|
moderat |
|
|
|
Rasina epoxidica |
|
|
|
|
|
foarte puternic |
|
|
|
Rasina poliamidica |
|
|
|
|
|
foarte puternic |
|
|
|
Rasina fenolica |
|
|
|
|
|
foarte puternic |
|
|
|
Rsasina poli agrilonat |
|
|
|
|
|
foarte puternic |
|
|
|
Rasina polietilentereftalat |
|
|
|
|
|
puternic |
|
|
|
Rasina de polietilena |
|
|
|
|
|
foarte puternic |
|
|
|
Rasina polimetilena |
|
|
|
|
|
moderat |
|
|
|
Rasina polipropilena |
|
|
|
|
|
foarte puternic |
|
|
|
Rasina poliuretan |
|
|
|
|
|
foarte puternic |
|
|
|
Rasina naturala DK |
|
|
|
|
|
foarte puternic |
|
|
|
Rasina metacrilat de etilstiren |
|
|
|
|
|
foarte puternic |
|
Bibliografie
|
- SR EN 60079-10 |
Aparatura electrica pentru atmosfere explozive gazoase. Partea 10: Clasificarea ariilor periculoase. |
|
- SR CEI 61241-10:2005 |
Aparatura electrica destinata utilizarii in prezenta prafurilor combustibile. Partea 3: Clasificarea ariilor in care sunt sau pot fi prezente prafuri combustibile. |
|
- NP 099-04 |
Normativ pentru proiectarea, executarea, verificarea si exploatarea instalatiilor electrice in zone cu pericol de explozie. |
|