CRITERII DE SIMILITUDINE PAMANT-MARTE PENTRU VEHICULE ATMOSFERICE
Etapele proiectului:
Similitudinea Pamant-Marte a franarii aerodinamice la intrarea in atmosfera
-suprafata de referinta a capsulei = 2mp
-greutatea pe Pamant = 100 kg
- suprafata parasutei = 400 mp
coeficientul mediu de rezistenta aerodinamica a capsulei CDc= 0.5
coeficientul mediu de rezistenta aerodinamica a parasutei CDc= 1.25
viteza initiala verticala V0=2500 m/s
inaltimea de unde incepe franarea aerodinamica h =100 km
inaltimea de deschidere a parasutei hp = 5 km
In urma rularii programului LSSC cu datele de mai sus au rezultat urmatoarele:
|
|
Viteza de atingere a solului |
Timpul pana la atingerea solului (de la 100 km inaltime) |
Pamant |
1.77 m/s |
2690 sec |
|
Marte |
9.23 m/s |
415 sec |
Similitudinea Pamant-Marte pentru un vehicul de tip Mars-Rover
propulsat cu cu motor alimentat cu hidrazina
Un vehicul propulsat cu hidrazina, pe Marte are o viteza cu 64% mai mare ca pe Pamant, la fel si distanta parcursa in acelasi timp este cu 64% mai mare. S-a pesupus ca randamentul termic al motorului cu hidrazina este identic in cele doua medii.
Similitudinea Pamant-Marte pentru un vehicul cu roti de tip Mars Rover
propulsat cu cu motor cu piston cu gaz rece comprimat
Un motor cu hidrazina pe Marte produce performante superioare vehiculului dar are dezavantajul ca dupa un timp combustibilul se termina. Pentru durate mai mari ale misiunii se impune producerea de combustibil "in situ". Pe suprafata martiana densitatea atmosferei este foarte mica iar radiatia solara mai slaba decat pe Pamant (43%). Se poate imagina un sistem care sa comprime gazul din atmosfera intr-un rezervor de presiune si cand se doreste sa se detinda gazul rece intr-un motor cu piston sau trubina, producandu-se puterea necesara propusiei (Fig. 5.1).

Similitudinea Pamant-Marte pentru un vehicul cu roti de tip Mars Rover
propulsat cu motor electric alimentat cu energie solara obtinuta in timp real
Viteza atinsa pe Marte de un astfel de vehicul este cu 10% superioara celei de pe Pamant.
Similitudinea Pamant-Marte pentru un vehicul cu roti de tip Mars Rover
propulsat cu motor electric alimentat cu energie solara stocata
Criterii de similitudine Pamant-Marte pentru un vehicul mai usor ca atmosfera (balon)
Un vehicul ideal pentru explorarea suprafetei martiene ar fi un aparat de zbor care sa transmita imagini de la inaltimi variabile (zeci de metri pana la cativa kilometri) si care sa consume putere minima pentru deplasare. Urmarind evolutia zborului uman pe Pamant, atunci in mod logic si cronologic, urmatorul vehicul ar trebui sa fie unul mai usor ca atmosfera - balonul. Acest balon trimis de pe Pamant cu o racheta purtatoare ar avea profilul misiunii ca in Fig. 2.1:
Criterii de similitudine Pamant-Marte pentru un vehicul de tip avion
Similitudinea Pamant-Marte pentru un avion alimentat cu hidrazina
sau
La
incidente mici, coeficientul de portanta variaza putin cu numarul Reynolds
,
atunci criteriul de similitudine pentru putere la pentru zborul orizontal
rectiliniu este:
pentru curgerea laminara si
pentru curgerea turbulenta
Este de remarcat consumul mare de putere in cazul zborului in atmosfera martiana. Atmosfera rarefiata este principalul responsabil de aceste slabe performante:
numarul Reynolds foarte mic care produce rezistenta de frecare mare
densitatea foarte scazuta
Similitudinea Pamant-Marte pentru un avion alimentat cu curent electric produs in timp real de celule fotovoltaice
Avionul de pe Pamant nu poate zbura pe Marte.
a) Se pastreaza greutatea si se mareste suprafata aripilor (deci si a panourilor solare). Din cauza numarului Reynolds scazut in conditiile martiene, randamentul elicii este mai mic decat pe Pamant
<1 (raportul
randamentelor)
Considerand ca suprafata celulelor solare este proportionala cu suprafata de referinta aerodinamica, criteriul de similitudine pentru suprefete devine:
Cu
valorile
=0.5,
, rezulta ![]()
La aceeasi greutate, suprafata unui avion martian trebuie sa fie de 7.54 ori mai mare ca a unui avion care zboara pe Pamant.
b) Daca se pastreaza dimensiunile geometrice, dar se
reduce greutatea, criteriul de similitudine pentru greutati
va
fi:
Cu
aceleasi valori ca mai sus
=0.00795.
Rezulta ca pe Marte, un avion solar care sa zboare, trebuie sa fie de 125 de ori mai usor ca unul pentru zborul pe Pamant. Din aceste criterii se vede cat e ineficient este zborul aerodinamic, in general, cand densitatea atmosferei este foarte scazuta, chiar daca gravitatia este mica.
Similitudinea Pamant-Marte pentru un avion alimentat cu energie solara stocata

Schema de functionare a propulsiei cu energie stocata
Cu
valorile cunoscute si considerand la fel
, precum si rapoartele randamentelor 0.5, raportul timpului de umplere /destindere pe
Marte si Pamant are valoarea (in cazul zborului la numere Reynolds turbulente):
Obtinerea polarelor unei suprafete portante care evoluaeza in atmosfera martiana, din polarele de pe Pamant
pentru laminar
pentru turbulent (Re>500 000)

Polarele
la diverse numere Reynolds
Optimizarea aerodinamica globala a unui avion fara pilot alimentat cu energie solara in timp real
- Pentru randamentul celulelor solare si greutatea specifica a structurii avionului s-au utilizat valori realiste (0.19, respectiv 1.6 daN/m2), mentionate in literatura de specialitate in legatura cu realizari similare (avioane "solare") care au trecut "examenul" zborului.

Marimile utilizate ca parametri de optimizare

Efectul primei iteratii (ciclu) a procesului de optimizare
asupra formei proiectiei in plan orizontal a configuratiei avionului

Comparatie intre formele proiectiilor in plan orizontal a avionului dupa primul,
respectiv ultimul ciclu al procesului de optimizare

Fig. 7.4 Comparatie intre forma initiala a proiectiei in plan orizontal a avionului si cea obtinuta la sfirsitul procesului de optimizare
Configuratia optima obtinuta este prevazuta sa poata transporta o sarcina utila de 5 daN, in zbor orizontal la altitudine joasa (300 m) desupra solului planetei Marte.
Intreaga configuratie a fost discretizata in 1224 panouri

Aspectul general a configuratiei avionului discretizata in panouri
in forma analizata aerodinamic cu programul PANAIR

Vedere laterala a configuratiei avionului, discretizata in panouri

Vedere de sus a configuratiei avionului, discretizata in panouri in vederea calculului
aerodinamic cu programul PANAIR

Vedere din fata a configuratiei avionului

Vedere oblica din spate a extradosului a configuratiei avionului

Vedere oblica din fata a intradosului a configuratiei avionului

Variatia Cp in sectiunea 1, situata la y/b

Variatia Cp in sectiunea 3, situata la y/b

Variatia Cp in sectiunea 6, situata la y/b

Variatia Cp in sectiunea 9, situata la y/b
Variatia Cp in sectiunea 12, situata la y/b
Variatia Cp in sectiunea 15, situata la y/b
Variatia Cp in sectiunea 18, situata la y/b
Comparatie a variatiei cu incidenta
a valorilor calculate ale coeficientului de portanta
Comparatie a variatiei cu incidenta a valorilor calculate
ale coeficientului de rezistenta aerodinamica (indusa)
Comparatie a variatiei cu incidenta a valorilor calculate
ale coeficientului de moment de tangaj
Comparatie a polarelor calculate prin cele doua metode alternative
Sistemul de propulsie si aterizarea/decolarea verticala
Performantele de zbor ale configuratiei optimizate
Configuratia optima obtinuta a fost
calculata la altitudinea de zbor de 300m. Pentru evolutii la diferite nivele de
altitudine este necesara o crestere a puterii fata de cea nominala cu un
procentaj
.
Considerand un model de atmosfera martiana izoterm, se poate obtine relatia
pentru altitudinea atinsa "H" in functie
de suplimentul de putere
.
. Daca la 300 m avionul
optimizat zboara la putrea nominala (
),
la
inaltimea de zbor este 450 m iar pentru
plafonul este 1100 m.
Este de remarcat ca un avion propulsat cu
energie solara poate atinge altitudini mari, deoarece putere disponibila ramane
Unghiul de coborare in zbor planat, fara motor, are expresia:
Pentru configuratia optimizata, de la 1100 m, avionul poate plana 12.83 km.
Distanta maxima atinsa intr-o zi martiana insorita de 10 ore este de 2520 km.
Pentru configuratia optimizata cu 10% putere suplimentara, viteza unghiulara de viraj este
, adica un viraj complet de
360 grade este parcurs in 4.17 minute.
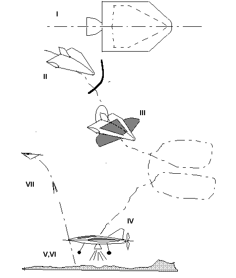
Profilul misiunii unui avion martian
Faza terminala a trseului Pamant-Marte poate fi imaginata ca o succesiune a urmatoarelor manevre (Fig. 10.1):
I - desprinderea de vehiculul purtator de pe orbita martiana
II- intrarea in atmosfera superioara martiana ca un planor hipersonic
III - detasarea scuturilor termice, deplierea aripilor si a elicii, inceperea zborului cu energie solara pana la sfarsitul zilei martiene
IV - amartizarea lina verticala cu motorul cu jet rece
V - asteptarea urmatoarei zile martiene
VI - incarcarea rezervorului de presiune in vederea decolarii verticale
VII - decolarea verticala si continuarea misiunii de explorare cu energie solara

Profilul misiunii unui avion martian propulsat
cu energie solara.
Analiza costurilor
Pentru o predictie grosiera a costurilor s-a folosit modelul de analiza DAPCA IV elaborat de RAND Corporation, Santa Monica, CA, USA .Folosind sistemul de unitati de masura MKS, costurile estimative pentru un prototip al acestui avion sunt:
- numarul de ore cercetare-proiectare
- numarul de ore pentru prelucrari mecanice
- numarul de ore pentru montaj
- numarul de ore pentru controlul calitatii
G - greutatea [kg]
V - viteza [m/s]
Cu greutatea si viteza de la varianta optimizata, numarul de ore este:
= 1928 ore cercetare proiectare
= 1162 ore prelucrari
mecanice
= 775 ore montaj
= 104 ore controlul
calitatii
Aceste costuri au fost estimate pentru un avion construit din aluminiu. Pentru titan, material uzual folosit la navele spatiale, se ajusteaza cu un factor de 2.2.
Costul total al unui avion cu propulsie solara destinat explorarii planetei Marte , fara costul electromotorului, compresorului complex format din compresor axial reversibil in turbina si invers, compresor multietajat cu piston, reductoare, panourile solare, avionics si aparatura de culegere, analiza si de transmisie a datelor, capabila sa duca 20 kg de aparatura stiintifica este estimata la
9732 ore
Concluzii
In urma aplicarii criteriilor de similitudine Pamant-Marte, se poate afirma ca din punct de vedere energetic, al consumului de putere, avionul este un vehicul ineficient de explorare a mediului martian.
Criterii de similitudine Pamant-Marte pentru un vehicul de tip elicopter
Similitudinea Pamant-Marte pentru un elicopter alimentat cu hidrazina
un elicopter teoretic, ca sa se mentina la
punct fix, pe Marte consuma putere dubla ca pe Pamant.
Similitudinea Pamant-Marte pentru un elicopter alimentat cu curent electric produs in timp real de celule fotovoltaice
Puterea teoretica consumata in cazul unui elicopter solar alimentat instantaneu de celulele solare este de aproape cinci ori mai mare ca pe Pamant.
Similitudinea Pamant-Marte pentru un elicopter alimentat cu energie solara stocata
S-a aratat anterior cat de ineficient este sa sa se construiasca un elicopter care sa consume puterea instantanee produsa de celulele fotovoltaice. Pentru o greutate totala de 100 kg diametrul rotorului este de aproximativ 14 m . Chiar daca rotorul se pliaza, este greu de gasit o racheta care sa transporte de pe Pamant pe Marte asemenea gabarite. Pentru reducerea dimensiunilor geometrice este necesar sa se adopte un sistem de stocare a energiei de tip electropneumatic pentru decolarea/aterizarea verticala a unui avion martian Energia colectata in timp prin comprimarea gazului din atmosfera se transforma in putere prin destinderea gazului intr-un timp mai scurt in turbina.
Curentul electric generat de panourile solare de pe palele rotorului alimenteaza electromotorul care antreneaza compresorul de gaz format dintr-un compresor axial si unul cu piston. Gazul comprimat in rezervorul de presiune se destinde in turbina reversibila/compresor axial care prin intermediul reductorului antreneaza rotorul. In perioadele cand este nevoie de transmisia datelor spre Pamant si de alimentare cu energie electrica a aparaturii imbarcate, turbina antreneaza electromotorul care lucreaza in regim de generator, rotorul fiind decuplat.

Sistemul electropneumatic de stocare a energiei
Presupunand egalitatea randamentelor pe Marte si Pamant, la fel si egalitatea timpilor de lucru, criteriul de similitudine pentru puteri este:
= 0.4316 (
Modelul considerat

. Elementele definitorii ale modelului de calcul

Proiectia in plan orizontal a configuratiei rotor1

Vedere oblica a configuratiei rotor 1
Vedere a configuratiei rotor1 cu suprafata opacizata a palelor

Vedere oblica a configuratiei rotor2

. Proiectia in plan orizontal a configuratiei rotor2

. Vedere a configuratiei rotor2 avind suprafata opacizata a palelor

. Pozitionarea in lungul palei a sectiunilor in care sunt reprezentate distributiile de presiuni
Variatia coeficientului Cp in sectiunea 2 a palelor
configuratiilor rotor 1 si rotor 2 avind geometria "de baza"
Variatia coeficientului Cp in sectiunea 6 a palelor
configuratiilor rotor 1 si rotor 2 avind geometria "de baza"
Variatia coeficientului Cp in sectiunea 10 a palelor
configuratiilor rotor 1 si rotor 2 avind geometria "de baza"

Efectele torsiunii in sectiunea 6 a palei corespunzatoare configuratiei rotor2
Efectele torsiunii in sectiunea 10 a palei corespunzatoare configuratiei rotor2
Efectele variatiei grosimii relative in sectiunea 2 a palei corespunzatoare configuratiei rotor2
Efectele variatiei grosimii relative in sectiunea 6 a palei corespunzatoare configuratiei rotor2

Efectele variatiei grosimii relative in sectiunea 10 a palei corespunzatoare configuratiei rotor2
Performantele de zbor ale unui elicopter in atmosfera martiana
Considerand atmosfera joasa martiana ca izoterma, variatia presiunii si densitatii cu altitudinea este:
![]()
0.000227756/m
Zburand la numere Reynolds cu mult mai mici decat cele de pe Pamant, elicopterul solar martian poate fi incercat in conditiile terestre in urmatoarele cazuri:
a) elicopterul original la scara 1:1 poate fi testat intr-o camera
barometrica, gazul avand aceeasi compozitie si presiune cu cea de pe Marte,
aceeasi
b) acelasi elicopter incercat
in atmosfera terestra cu suprafata celulelor solare (1-
deconectate si cu viteza unghiulara a rotorului satisfacand numarul Reynolds de
pe Marte ![]()
(c -coarda palei)
si cu greutatea totala =0.39535 din cea a elicopterului echipat pentru Marte.
c) un criteriu de similitudine poate fi dedus din considerand:
si
Viteza verticala limita de coborare in autorotatie este
sau in termeni normalizati:
Concluzii
S-au se analizat avantajele si neajunsurile explorarii suprafetei martiene cu un elicopter proiectat sa evolueze in conditiile severe ale mediului ambiant martian.
Un elicopter martian propulsat cu hidrazina consuma putere dubla pe Marte fata de acelasi elicopter pe Pamant.
Puterea teoretica consumata in cazul unui elicopter solar alimentat instantaneu de celulele solare este de aproape cinci ori mai mare ca pe Pamant (=4.75).
Se poate obtine o putere mai mare daca se utilizeaza sistemul electropneumatic de producere si stocare a energiei obtinuta "in situ" prin conversia energiei solare in presiune.
La fel ca si la aripi nerotative polara rotorica la numere Reynolds mici are o comportare curioasa, invers decat la profilele laminare. Pentru profile aerodinamice la numere Reynolds foarte mici, faptul este confirmat experimental .
Zborul unui elicopter solar este posibil in atmosfera martiana, dar consumul de putere este mare.
Dimensiunile geometrice ale unui elicopter destinat sa zboare in atmosfera martiana sun cu mult mai mari decat cele ale unui elicopter terestru.
Un elicopter solar avand bune performante la zborul in urcare (pentru valori mari ale randamentului elulelor solare) are calitati slabe in coborarea in autorotatie (viteze cu mult mai mari ca pe Pamant).
La fel ca in [2], se impune o procedura de optimizare a configuratiei in scopul micsorarii dimensiunilor geometrice si a puterii necesare pentru zbor.
Criterii de similitudine Pamant-Marte pentru un vehicul propulsat cu gaz rece (Mars Jumper)



Un vehicul cu roti de tip "Mars Rover", indiferent de sistemul de propulsie folosit are performante mai bune pe Marte decat pe Pamant. Consumul de putere este mai mic iar viteza atinsa este mai mare. Dezavantajul principal il constituie suprafata accidentata a solului martian, care anuleaza avantajele descrise anterior.
Un vehicul de tip balon umplut cu gaz nu poate ridica decat aproximativ 20% din greutatea pe care o ridica pe Pamant, din cauza densitatii mici a atmosferei martiene. Cel mai bun vehicul de explorare tip balon se dovedeste a fi balonul rigid partial vidat. La un grad de vidare de 0.001 portanta este de 5 ori mai mare ca pe Pamant. La gradul de vidare de 0.005 forta ascensionala este egala cu cea de pe Pamant. Acest tip de vehicul este irealizabil in conditiile terestre dar poate fi construit pentru evolutii in atmosfera martiana. (a fost propus in 1670 de catre Francesco de Lana)
Vehicule aeriene de tip avion sau elicopter nu sunt eficiente in explorarea planetei Marte din cauza densitatii extrem de mici a atmosferei. Consumul de putere este de pana la 10 ori mai mare iar suprafetele portante de aproape 10 ori mai mari pentru aceeasi greutate pe Pamant.
Vehiculul de tip "Mars Jumper" propulsat cu gaz rece comprimat din atmosfera martiana se arata a fi cel mai fezabil tehnologic si cu performante net superioare fata de toate celelalte tipuri de aparate de explorare propuse pana in prezent.
|