Calculul si constructia cutiei de viteze
În scopul asigurarii unei bune adaptabilitati a automobilului conditiilor concrete în care are loc deplasarea, cutia de viteze trebuie sa raspunda la o serie de cerinte, prin care:
- sa aiba posibilitatea realizarii unui numar cât mai mare de rapoarte de transmitere, iar marimea lor sa fie determinata în asa fel încât sa asigure o utilizare rationala a puterii în conditiile unor performante economice, dinamice si de poluare optime pentru caracteristica motorului cu care se conlucreaza;
constructia sa fie simpla, robusta, usoara, iar manevrarea sa fie simpla, precisa si comoda;
- în exploatare sa prezinte siguranta si întretinere usoara iar manevrarea sa fie simpla, precisa si comoda;
- sa prezinte o gama larga de utilizare.
Dupa modul de modificare a raportului de transmitere, cutiile de viteze pot fi cu variatia în trepte, cu variatia continua (progresiva), sau combinate. Dupa principiul de functionare, cutiile de viteze pot fi mecanice, hidraulice sau electrice.
Cutiile de viteze mecanice sunt cele mai raspândite la constructiile actuale de automobile. Modificarea raportului de transmitere se face prin intermediul unor angrenaje de roti dintate (cutii de viteze în trepte), sau prin intermediul unor elemente de frictiune (cutii de viteze continue).
Dupa modul de actionare deosebim cutii de viteze cu actionare manuala, (neautomate), cutii de viteze semiautomate si cutii de viteze automate.
Structural, cutiile de viteza în trepte sunt formate din lanturi cinematice paralele (utilizând si elemente comune), egale ca numar cu treptele de viteza si constituite din reductoare cu roti dintate si axe fixe sau mobile (planetare). Aceste reductoare formeaza mecanismul reductor al cutiilor de viteza.
Functionarea independenta a lanturilor cinematice se asigura prin montarea în fiecare lant cinematic a rotii cu cea mai mica turatie independenta de rotatia arborelui de sustinere (libera). Functionarea cutiei de viteze într-o anumita treapta se obtine prin solidarizarea la rotatie a rotii libere cu arborele de sustinere. Pentru solidarizare se utilizeaza mecanisme de cuplare a treptelor.
Comanda cuplarii, selectarea treptei si mentinerea treptei cuplate se face prin mecanismul de actionare.
Organizarea mecanismului reductor este realizata în concordanta cu:
- solutia de organizare a echipamentului de tractiune;
- pozitia motorului în raport cu axa longitudinala a automobilului;
- dispunerea cutiei de viteze fata de motor;
- marimea fluxului de putere transferat si cu numarul necesar de trepte de viteza.
La mecanismul reductor al cutiilor de viteze mecanice în trepte, raportul de transmitere se poate realiza prin participarea:
- unui singur angrenaj de roti dintate cu axe fixe, cum este cazul cutiilor de viteze cu doi arbori (fig.7.1,a);
- a doua angrenaje de roti dintate cu axe fixe, ca în cazul cutiilor de viteza cu trei arbori (fig.7.1,b);
- a trei angrenaje de roti dintate, dintre care doua cu axe fixe (organizate similar cutiei de viteze cu trei arbori) si unul cu axe mobile (reductor planetar) ca în situatia cutiilor de viteze cu multiplicator planetar (fig.7,c).
Pentru realizarea treptei de mers înapoi (figura 7.2), fata de treapta de mers înainte, unul din lanturile cinematice ale mecanismului reductor se realizeaza cu trei roti dintate. Roata intermediara zi, montata pe un ax suplimentar ce angreneaza simultan cu roata condusa z si cea conducatoare z nu intervine asupra raportului de transmitere, dar impune pentru acestea un sens identic de rotatie.
Luând ca elemente de baza arborii fata de care sunt dispuse angrenajele mecanismului reductor, cele mai frecvente solutii de organizare cinematica, functie de numarul acestora, sunt:
- mecanismul reductor cu doi arbori: primar si secundar;
- mecanismul reductor cu trei arbori, dispus longitudinal: primar, intermediar si secundar.
Necesitatea îmbunatatirii performantelor dinamice, economice si de poluare i-a determinat pe constructorii de automobile sa optimizeze acordarea caracteristicii motorului la cerintele tractiunii. Una din caile prin care este posibil acest fapt este suplimentarea numarului de trepte de viteza. Realizarile practice aplicate în productia de serie pornind de la solutiile clasice enumerate mai sus au sporit complexitatea ansamblului dar au pastrat în mare compactitatea.
Cele mai reprezentative solutii de acest gen sunt:
- mecanismul reductor cu trei arbori, dispus transversal: arbore primar si doi arbori secundari;
- mecanismul reductor cu patru arbori: arbore primar, doi intermediari si unul secundar;
- mecanismul reductor cu arbori multipli ce însumeaza pe lânga: arborele primar, intermediar si secundar (organizati similar cu CV longitudinale cu trei arbori) si arborii multiplicatorului de viteze.
Cutiile de viteze cu doi arbori se întâlnesc frecvent la autoturismele si autoutilitarele usoare derivate din acestea cu motoare dispuse transversal sau longitudinal. Cutiile de viteze cu doi arbori dispun frecvent de 5 sau 6 trepte de viteza.
Organizare arborilor cutiei de viteze cuprind:
- arborele primar sau arborele de intrare ce primeste miscarea de la arborele cotit al motorului prin intermediul ambreiajului si include sau sustine pinioanele conducatoare ale angrenajelor;
- arborele secundar sau arborele de iesire ce sustine sau include rotile conduse ale angrenajelor si transmite miscarea direct sau indirect catre puntea motoare.
Caracteristicile cutiei de viteze cu doi arbori sunt:
- intrarea si iesirea se face la o anumita distanta (distanta între axele angrenajelor) de aceeasi parte, în cazul solutiilor de organizare a transmisiei de tip totul fata, când în acelasi carter cu cutia de viteze se gasesc înglobate transmisia principala si diferentialul, sau în parti opuse în cazul solutiei clasice - motor fata, punte motoare spate - solutie specifica autoutilitarelor usoare, derivate din autoturisme;
Schema cinematica si de functionare a unei cutii de viteze cu cinci trepte de viteza pentru mersul înainte si cu una pentru înapoi este prezentata în figura 7.3. În reprezentarea cinematica s-au utilizat simbolurile din tabelul 7.1.
Pe arborele primar ap se gasesc între lagarele rotilor fixe 1, 2, 3, 4 si în consola roata libera 5; rotile 1, 2, 3, 4 si 5 se afla permanent în angrenare cu rotile 1', 2', 3', 4', montate libere si 5' montata fix pe arborele secundar as.
În vecinatatea rotilor libere se gasesc mecanismele de cuplare cu sincronizare s1, s2, si s3, ce servesc la solidarizarea acestora cu arborii pentru obtinerea treptelor de mers înainte.
Functionarea cutiei de viteze pentru mers înainte într-o treapta oarecare are loc astfel: de la ambreiaj fluxul de putere se transmite arborelui primar ap, rotii dintate conducatoare r, rotii dintate conduse r' si arborelui secundar as.
Legatura între roata libera si arborele pe care acesta se sprijina se face prin dantura de cuplare a sincronizatorului s la deplasarea mansonului acestuia din pozitia neutra.
Rotile dintate 6, fixa pe arborele primar, si 6', solidara cu mansonul de decuplare al sincronizatorului s2 servesc la obtinerea treptei de mers înapoi.
Fig.7.3. Organizarea cinematica si schema de functionare
pentru cutia de viteze cu doi arbori a)-organizarea cinematica; b)-lanturile cinematice de
functionare în treptele 1.4; c)-lantul cinematic de functionare în treapta de mers înapoi; d)-lantul cinematic al treptei a 5-a.
Cuplarea treptei de mers înapoi, posibila numai în pozitia neutra a sincronizatoarelor s1, s2, si s3 se face prin deplasarea rotii baladoare intermediare rb, în pozitia în care angreneaza simultan cu celelalte roti 6 si 6'. Aflarea în angrenare a celor trei roti determina inversarea sensului de miscare la arborele secundar fata de cazul cuplarii treptelor de mers înainte.
7.2. Organizarea cinematica a mecanismului reductor
7.2.1 Arborii cutiei de viteze
Arborii cutiile de viteze se monteaza pe carter tinând seama de organizarea ansamblului si de particularitatile de functionare ale fiecaruia dintre arbori. Ei sunt considerati arbori lungi. Lungimea lor este determinata de solutia constructiva aleasa, de numarul de trepte de viteza, de dimensiunile elementelor de cuplare si de felul etansarilor. De aceea, la proiectare trebuie realizata posibilitatea dilatarilor termice, pentru a nu se influenta marimea jocurilor din lagare.
Luând în considerare deformatiile termice precum si necesitatea preluarii eforturilor axiale, rezultate din utilizarea angrenajelor cu roti dintate cu dantura înclinata si din mecanismele de cuplare, rezulta ca regula generala faptul ca lagarele pe care se sprijina arborii se monteaza unul fix în directie axial, pentru preluarea fortelor axiale, iar celalalt liber în directie axiala, pentru preluarea deformatiilor termice.
Asamblarea componentelor ce urmeaza a fi solidarizate cu arborii (roti dintate, butuci ai sincronizatoarelor etc.) se realizeaza prin caneluri. Cel mai utilizat tip de caneluri este cel cu profil evolventic. Centrarea elementelor asamblate pe arbori se face pe canelurilor sau pe diametrul exterior. Centrarea pe flancuri este utilizata pentru componentele fara miscare relativa fata de arbore (roti fixe); centrarea pe diametrul exterior se utilizeaza în cazul rotilor montate liber.
Arborele primar primeste miscarea de la arborele cotit al motorului prin intermediul ambreiajului, în cazul cutiilor de viteze transversale, sau prin intermediul ambreiajului si arborele primar are o constructie similara arborelui intermediar al cutiilor de viteza cu trei arbori.
În cazul cutiilor de viteze pentru autoturisme de talie mica si medie, rotile dintate sunt fixate pe arbore. Daca diametrele rotilor si arborelui sunt compatibile cu tehnologia de forjare, ele fac corp comun; daca diametrele sunt foarte diferite, rotile dintate sunt fixate prin fretare sau prin sudura prin frictiune.
În cazul cutiilor de viteze încarcate de momente de torsiune mari numai rotile treptelor inferioare (I, II) si mers înapoi - caracterizate de diametre mici - fac corp comun cu arborele, celelalte fiind montate liber.
De regula lagarul anterior preia numai sarcinile radiale, iar lagarul posterior si sarcinile axiale. În functia de marimea sarcinii axiale, lagarul posterior poate fi realizat cu rulmentul radial-axial cu bile (în cazul cutiilor de viteze transversale), sau cu rulment special dublu, cu bile sau role conice, ce poate prelua eforturile în ambele sensuri.
În partea din fata antrenarea arborelui primar de catre discul condus de ambreiaj sau de catre arborele ambreiaj se face prin caneluri evolventice.
Arborele secundar al cutiilor de viteze destinate autoturismelor organizate dupa solutia totul fata transversal sau longitudinal face corp comun cu pinionul cilindric sau conic al angrenajului transmisiei principale.
Pe arborele secundar sunt montate liber rotile dintate conduse ale angrenajelor si fix radial si axial elementele imobile ale sincronizatoarelor.
Arborele secundar se sprijina pe carter pe doua lagare, al caror tip constructiv depinde de tipul transmisiei principale (cilindric conic) si de momentul de încarcare.
Lagarul anterior, situat în imediata vecinatate a pinionului transmisiei principale, este un lagar radial
Lagarul posterior este un lagar ce poate prelua în ambele sensuri si sarcinile axiale dezvoltate în angrenajele treptelor si angrenajul transmisei principale.
Lagarele cutiei de viteze
Sunt componente prin intermediul carora arborii mecanismului reductor se sprijina pe carter pentru a le permite: fixarea si ghidarea, rotatia si preluarea eforturilor în timpul functionarii.
Principalele cerinte functionale sunt: functionarea silentioasa, capacitate portanta mare la un gabarit minim, durabilitate, reglaje minime în exploatare si sa permita variatiile de lungime ale arborilor.
În constructia cutiilor de viteze sunt utilizate lagare cu alunecare (lagare fluide) si lagare cu rostogolire (rulmenti).
Alegerea tipului de lagar se face în functie de:
- organizarea transmisiei - carter comun al cutiei de viteze si al puntii motoare;
- pozitia motorului (transversal sau longitudinal), ce implica utilizarea unui angrenaj cilindric sau conic pentru transmisia principala;
- pozitia cutiei de viteze - în prelungirea motorului sau în partea inferioara a acestuia;
- tipul si marimea încarcarilor - radiale, radial-axiale.
Lagarele cu alunecare (fluide) pentru sprijinirea arborilor mecanismului reductor pe carter sunt utilizate în constructia cutiilor de viteza, deoarece necesita o ungere din abundenta (sub presiune), realizabila, obligatoriu prin utilizarea unei pompe de ulei.
Avantajele acestui tip de lagar sunt: suporta sarcini radiale foarte mari la un gabarit minim (0,001 fata de 0,0015 în cazul rulmentilor cu bile, sau 0,003.0,005 pentru rulmenti cu role).
Utilizate cu preponderenta ca lagare la arborele cotit al motorului au fost adoptate si în constructia cutiilor de viteze amplasate transversal, în partea inferioara ale acestora. Ungerea comuna a motorului si cutiei de viteze se realizeaza de catre pompa de ulei.
Lagarele cu rostogolire (rulmenti) sunt cele mai raspândite în constructia cutiilor de viteze, deoarece se adapteaza perfect ungerii prin barbotare.
Clasificarea rulmentilor cutiilor de viteze si caracteristicile lor generale sunt cuprinse în tabelul 7.1.
Tabelul 7.1. Tipuri de rulmenti utilizati în cutiile de viteza
În corelatie cu prezentarile de mai înainte si cu recomandarile din tabelul 7.1. în figura 7.4 se prezinta o sinteza a lagarelor cu rostogolire utilizate în cutiile de viteze.
Fig.7.4. Lagare cu rostogolire utilizate în cutiile de viteze
Rulmentii au în componenta elemente de rostogolire - bile, role, ace - montate între inelul interior si inelul exterior. Inelele sunt solidarizate cu elemente fixe, respectiv mobile, ale lagarului.
În cazul în care gabaritul disponibil este minim, unul dintre inele rulmentilor cu role cilindrice sau cu ace poate sa lipseasca, astfel încât corpurile de rostogolire sunt în contact direct cu un element exterior (ex. roata libera), sau interior (ex. arbore secundar).În acest caz aceste cai de rulare neconventionale îndeplinesc cerintele severe de calitate si duritate necesare bunei functionari.
Montarea rulmentilor este dependenta de tipul lor. La rulmentii cu bile sau cu role cilindrice nu se monteaza niciodata cu strângere ambele inele, deoarece exista riscul deteriorarii lagarului prin diminuarea jocului de functionare. Pentru arbore (cazul general al rulmentilor cutiei de viteze) inelul interior se monteaza cu "strângere", iar inelul exterior cu "cu alunecare".
Rulmentii cu role conice, în general, se monteaza pe arbore în pereche si în opozitie, în "X".
Fortele axiale pot fi preluate si printr-un rulment compus - rulment biconic. Conceptia acestui tip de rulment simplifica constructia ansamblului. Jocul de functionare, determinat constructiv, este marcat pe rulment, fara a se putea intervenii asupra marimii lui.
Rotile dintate
Rotile dintate utilizate la cutiile de viteze au dantura înclinata, cu profil în evolventa. Rotile dintate cu dinti drepti sunt simple si ieftine dar functioneaza zgomotos si se uzeaza rapid. Utilizarea lor este limitata de realizarea treptei de mers înapoi, când se folosesc angrenaje decuplabile cu roti baladoare.
Dantura înclinata se foloseste întotdeauna când rotile dintate sunt în angrenare permanenta. Fata de cele cu dinti drepti sunt mai rezistente, permit micsorarea distantei între axe, functioneaza uniform si cu zgomot redus. Ca dezavantaje utilizarea danturii înclinate determina aparitia fortelor axiale cu necesitatea preluarii lor, iar în utilizarea angrenajelor permanente determina aparitia reducerea randamentului, prin frecarile suplimentare dintre roti si arbore, si lungimea cutiei, prin introducerea elementelor de cuplare. Unghiul de înclinare are valori cuprinse între 20.300, crescatoare de la prima spre ultima treapta de viteza.
Profilul utilizat pentru dantura este profilul în evolventa, deoarece asigura sporirea capacitatii portante a danturii, permite corectarea danturii si realizeaza functionarea fara zgomot.
Toate angrenajele cutiei de viteze sunt corectate pe înaltime prin deplasarea profilului sculei în raport cu cercul de divizare al rotii. În acest caz, înaltimea totala a dintelui ramâne neschimbata, schimbându-se numai raportul între înaltimea capului si a piciorului dintelui. În cazul angrenajului, deplasarea pozitiva a sculei se aplica rotii dintate de diametru mai mic. În raport cu deplasarea normala, la care linia mediana a înaltimii profilului sculei este tangenta la cercul de divizare al rotii, la dantura corectata scula este departata cu distanta zm de cercul de divizare, spre exterior. Coeficientul zm, care exprima raportul dintre deplasarea radiala a liniei mediane a sculei si modulul danturii, se numeste coeficient de deplasare specifica. Prin deplasare specifica pozitiva, la aceeasi înaltime totala a dintelui, ca în cazul danturii normale, creste înaltimea capului dintelui; în schimb înaltimea piciorului dintelui se reduce. În consecinta, razele cercurilor interior si exterior s-au marit; dintele este flancat de alte portiuni de evolventa, mai departate de cercul de baza, cu raze de curburi mai mari, respectiv cu forma mai plata. În felul acesta dintele a devenit mai robust la baza si mai îngust la periferie, iar grosimea dintelui masurata pe cercul de divizare a devenit mai mare decât jumatatea pasului. Rezulta ca la corijarea prin deplasarea pozitiva a sculei se obtine un dinte mai rezistent.
La roata dintata cu diametrul mai mare se aplica deplasarea negativa a sculei, la care linia ei mediana se apropie de centrul rotii ramânând distantata cu zm fata de cercul de divizare. În acest caz rezulta un dinte mai gros la periferie, însa piciorul slabit.
La rotile dintate ale treptelor superioare, unde rapoartele de transmitere sunt reduse si rotile au dimensiuni apropiate, se foloseste uneori corectarea danturii prin modificarea unghiului de angrenare de la 200 la 17030' sau la 140. Prin reducerea unghiului de angrenare a, gradul de acoperire creste iar presiunea normala pe dinte scade.
În constructia cutiei de viteze, rotile dintate pot fi montate dependente de rotatia arborelui, sau independente (libere) de aceasta. S-a aratat ca rotile dependente pot fi executate împreuna cu arborele, sau se monteaza pe arbori prin îmbinari demontabile sau nedemontabile.
Rotile dintate libere, care prin rigidizare cu arborele secundar formeaza diferitele trepte de viteza, se monteaza fie rezemate direct pe arbore, fie rezemate prin lagare de alunecare, sau lagare de rostogolire (fig.7.5.). În figura 7.5.a. se prezinta solutia de montare a rotii libere direct pe canelurile arborelui intermediar. Pentru diminuarea frecarilor, zona de rezemare a rotii pe arbore este unsa fortat de uleiul centrifugal din canalele din arbore la rotirea arborelui. La solutia din figura 7.5.b., roata libera se monteaza pe arborele intermediar prin lagar de alunecare. Între roata dintata si arbore se introduce o bucsa de bronz, care înlatura fiecare dintre piesele de otel. În figura 7.5.c. roata libera se monteaza pe arbore prin intermediul unui rulment cu ace într-o solutie constructiva asemanatoare cazului precedent. Ungerea lagarului este facuta printr-un sistem de canale practicat în roti.
Deoarece rotile libere participa la realizarea treptelor de viteza prin solidarizarea lor cu arborele de sustinere prin intermediul mecanismelor de cuplare, rotile libere sunt prevazute cu danturi de cuplare. În vederea unei cuplari usoare, danturile de cuplare se executa cu module mici, astfel cala diametre de divizare reduse sa se dispuna de un numar cât mai mare de dinti.
Rotile dintate din cutiile de viteze se executa din otel aliat, respectiv otel aliat superior, la care se aplica diferite tratamente termice sau termochimice. Miezul dintelui trebuie sa fie tenace, pentru a suporta sarcinile mari de soc, si suficient de rezistent la încovoiere, iar suprafetele de contact sa fie dure, spre a rezista la uzura.
7.2.4. Mecanisme de cuplare a treptelor
La angrenajele de roti dintate aflate permanent în angrenare, solidarizarea rotii libere pentru realizarea treptei de viteza se face prin mecanisme de cuplare. Necesitatea mecanismelor de cuplare este impusa de caracteristicile de functionare ale cutiei de viteze la schimbarea treptelor de viteza, când între elementele anterior cuplate si cele care urmeaza a se cupla apar viteze unghiulare de rotatie diferite. În aceste conditii, pentru evitarea solicitarilor dinamice de impact la cuplarea treptelor, prin egalizarea vitezelor unghiulare este posibila numai prin manevre de conducere efectuate de conducator
7.2.5. Sincronizatorul cu blocare BORG-WARNER
În figura 7.5. se prezinta constructia unui asemenea sincronizator. Sincronizatorul este dispus pe arborele secundar 9, între rotile dintate libere1 si 8. Rotile dintate sunt prevazute cu suprafete de lucru tronconice si cu danturi de cuplare.
Mansonul 5 al sincronizatorului, centrat pe canelurile arborelui secundar, este fix în directie axiala. Pe circumferinta mansonului sunt practicate, la distante egale, trei goluri axiale, în care patrund penele de 4 ale fixatorului.
Mansonul 5 este prevazut cu dantura exterioara, cu care cupleaza dantura interioara a mufei 3, care, prin deplasare axiala, poate angrena cu danturile de cuplare ale rotilor 1 sau 8. Penele de fixare 4 sunt prevazute în mijloc cu niste proeminente care se plaseaza într-un canal strunjit la mijlocul mufei de cuplare 3. Cele trei piese ale fixatorului sunt sustinute în mufa de cuplare de arcurile de expansiune 6.
Inelele de sincronizare 2 si 7 sunt piese din bronz. Ele sunt prevazute cu o dantura exterioara (dantura de blocare) identica cu danturile de cuplare si cu trei canale frontale, în care patrund piesele 4 ale fixatorului, împiedicând rotirea inelului fata de mansonul 5.
Folosind notatii din figura 7.5. în figura 7.6. sunt prezentate fazele de functionare ale sincronizatorului.
Daca mufa de cuplare 3 este deplasata axial, prin fixatorul 4 si arcurile 6 este antrenat si inelul de sincronizare 7 (din partea deplasarii), care vine în contact cu suprafata de tronconica a rotii libere 8 (figura 7.6.a.). Deoarece latimea frezarilor din inele de sincronizare este mai mare decât a pieselor 4 ale fixatorului si anume cu jumatate din grosimea unui dinte de cuplare, sub actiunea momentului de frecare are loc o deplasare tangentiala a inelului de sincronizare fata de mansonul 5.
Aceasta deplasare face ca dantura de blocare a inelului de sincronizare sa se interpuna în fata danturii mufei împiedicând înaintarea ei (figura 7.6.b.). În momentul egalizarii vitezelor unghiulare, datorita fortelor tangentiale ce apar între dantura de blocare si dantura mufei, inelul se roteste si permite deplasarea axiala a mufei pâna angreneaza cu dantura de cuplare a rotii libere (figura 7.6.c.).
7.2.6. Carterul cutiei de viteze
Carterul mecanismului reductor reuneste elementele ansamblului cutiei de viteze si le mentine în pozitia de functionare; protejeaza organele interne de mediul exterior si conserva uleiul necesar ungerii si racirii elementelor aflate în miscare relativa; permite fixarea ansamblului transmisiei pe carterul motorului în cazul grupului motopropulsor compact; în cazul transmisiilor organizate dupa solutia totul fata, înglobeaza mecanismele centrale ale puntii motoare: transmisia principala si diferentialul.
Carterul cutiei de viteze trebuie sa îndeplineasca urmatoarele cerinte: sa fie rigid si usor, etans, dar bine ventilat pentru a evita suprapresiunea interna la cresterea temperaturii în functionare, putin mai zgomotos prin evitarea amplificarii vibratiilor provenite de la angrenaje si de motor, sa evacueze rapid caldura în timpul functionarii.
Concepte tehnologice
Conceptia carterului cutiei de viteze se face tinând seama de: satisfacerea rolului functional; tipul de organizare a echipamentului motopropulsor si pozitia cutiei (longitudinala, transversala); seria de fabricatie; posibilitatile tehnologice; derivatele optionale ale cutiei de baza (4x2 fata, spate sau integrala).
Desi carterul poate satisface poate diferite cerinte de fabricare, el poate fi necorespunzator din punct de vedere al zgomotului în functionare. Aceasta se datoreaza în general vibratiilor emise de angrenaje, vibratii care pot fi amplificate prin efectul de membrana" al unora dintre partile laterale ale carterului.
Diminuarea zgomotului se face printr-o nervurare corespunzatoare a peretilor ansamblului.
În stare de proiect, carterul cutiei de viteze nu satisface decât rolurile principale enumerate. Tehnologia adoptata de constructor poate sa-i confere în plus un raport de calitate/pret optim.
Complexitatea, forma si aspectul pieselor variaza în functie de: materialele utilizate (aluminiu sau fonta) procedeul de turnare a semifabricatelor.
Alegerea materialului depinde atât de aspecte functionale - încarcare, zgomot, cât si de aspecte tehnologice - productia zilnica, procedeul de turnare si tehnologia de uzinare disponibila etc. De regula, în constructia unui carter al cutiei de viteze, datorita dificultatilor de obtinere a calitatilor suprafetelor la uzinare cu aceeasi viteza de aschiere si modificarii diferentiate a formei si dimensiunilor la cresterea temperaturii, se utilizeaza un singur tip de material.
Carterele cutiilor de viteze ale autoturismelor si autoutilitarelor usoare se toarna din aliaje de aluminiu. Compozitia chimica depinde de procedeul de turnare. Astfel se utilizeaza aliajul:
AS10U4 la turnarea sub presiune a pieselor de serie mare;
AS9U4 la turnarea statica în cochila metalica a pieselor de serie medie;
AS5U3 la turnarea în forma de nisip a pieselor prototip si serie foarte mica.
Ventilatia carterului
Frecarile dintre elementele aflate în miscare relativa sporesc temperatura interna, ceea ce determina dilatarea aerului si cresterea presiunii; la valori mari cresterea presiunii poate deforma garniturile de etansare, provocând pierderi de ulei. Temperatura poate urca pâna la 1500C si poate atinge chiar 1700C (la nivelul suprafetelor de frecare ale sincronizatoarelor).
Pentru a evita scurgerile de ulei, cutiile de viteze sunt echipate cu o supapa de aerisire, ce permite iesirea sau intrarea aerului, dar opreste trecerea particulelor solide sau lichide.
Amplasarea supapei se face în partea superioara a carterului, într-o zona în acre aceasta este protejata de stropii de ulei.
Etansarea carterului cutiei de viteze
La asamblarea elementelor ce constituie cutia de viteze exista doua tipuri de etansari:
- etansari între elementele statice (ce formeaza carterul cutiei de viteze);
- etansari între elementele cu miscare relativa (arbori, axe si carter).
Tipul de etansare între elementele statice depind de abaterile admise între componentele ansamblului.
În cazul preciziei necesare mari (ex.: semicartere) se utilizeaza o pasta de elastomer, ce formeaza un filtru etans între microneregularitatile suprafetelor frezate aflate în contact.
În cazul etansarii capace/carter se utilizeaza garnituri din:
- hârtie (ex.: carter ambreiaj/carter cutie de viteze la DACIA 1310);
- elastomer de forma toroidala (ex.: capac treapta a V-a/carter cutie de viteze la DACIA Nova);
- mastic de etansare în cazul unor capace din tabla ambutisata.
Când este necesara etansarea arborilor de transmisie intrare - iesire sau a axelor de comanda se apeleaza la mansetele de etansare cilindrice cu una sau cu doua margini de etansare.
Materialele utilizate în constructia acestora sunt dependente de regimul termic maxim al ansamblului cutiei de viteze: nitril (900C), poliacrilat (1200C) etc.
Constructia carterului cutiei de viteze
Carterul asamblat (fig.7.8) reprezinta o solutie specifica transmisiilor autoturismelor si autoutilitarelor usoare organizate dupa solutia totul fata, cu motorul amplasat longitudinal sau transversal. Uzinarea este mai complexa decât cazul carterului monobloc, deoarece se are în vedere existenta unor suprafete suplimentare - cele de asamblare si cele de centrare a elementelor componente. Este compus din mai multe elemente, care sunt uzinate împreuna pentru a forma "carterul asamblat".
Carterul asamblat reprezinta o alta solutie ce poate fi obtinut prin turnare sub presiune a elementelor componente. Turnarea sub presiune confera pieselor finite: precizie mare, rigiditate satisfacatoarele si masa redusa.
Carterul asamblat al cutiilor de viteze longitudinale (fig.7.8.a.) satisface toate solutiile de organizare a transmisiei care sunt folosite când motorul este amplasat longitudinal: clasica, totul fata sau integrala. Constructia este realizata din doua semicartere ce contin în planul de asamblare axele arborilor.
a) b)
Fig.7.8. Constructia carterului asamblat
Fixarea pe motor a cutiei de viteze se face fie printr-o flansa ce delimiteaza carterul ambreiaj, fie printr-un carter ambreiaj separat.
Carterul asamblat al cutiilor de viteze transversale (fig.VII.8.b.) este constituit din doua sau din trei elemente care au suprafetele de asamblare perpendiculare pe axele arborilor.
Solutia cu doua elemente este specifica cutiilor de viteze cu doi arbori si cinci trepte (ex. DACIA Nova), sau trei arbori si sase trepte (VOLVO M56, OPEL Calibra). Solutia cu trei elemente este specifica cutiilor de viteze cu doi arbori si sase trepte (FIAT Punto).
Elementele ansamblului sunt: carter ambreiaj si mecanismele centrale ale puntii motoare; carter mecanism reductor cutie de viteze si capac treapta a V-a (doi arbori, cinci trepte) sau carter treptele a V-a si a VI-a (doi arbori, sase trepte).
7.2.7. Ungerea cutiei de viteze
Ungerea componentelor cutiei de viteze este necesara pentru diminuarea pierderilor de energie prin frecare si a uzurii componentelor cutiei de viteze si pentru evacuarea caldurii.
Modul în care se realizeaza ungerea în cutiile de viteze este dependent de pozitia cutiei de viteze în raport cu motorul.
Ungerea mixta, sub presiune-barbotare, se foloseste în cazul cutiei de viteze montata sub motor, când ungerea este asigurata de uleiul motor si se efectueaza mixt prin presiune si barbotare.
Ungerea prin barbotare se foloseste în cazul cutiei de viteze independenta de motor, situatia majoritatii automobilelor, când nu dispune de o pompa de ulei.
Pentru asigurarea ungerii, rotile dintate ale arborelui (arborilor) inferior sunt partial imersate în ulei, asigurând în acest fel ungerea danturii aflate în contact. Centrifugarea uleiului provoaca o pulverizare a acestuia asupra tuturor organelor interne si proiectarea unei cantitati pe peretii carterului. Acest contact cu carterul contribuie în mare parte la racirea uleiului.
În plus, centrifugarea antreneaza o circulatie de ulei din centru catre periferia pinioanelor. Pentru a valorifica acest fenomen, un alezaj practicat în interiorul arborilor permite aspirarea uleiului prin centrul arborelui, realizând astfel ungerea alezajelor rotilor libere.
Ungerea partilor frontale ale pinioanelor libere se face frecvent prin practicarea unui canal circular excentric pe fata opusa mecanismului de cuplare, canal care asigura o circulatie de ulei satisfacatoare.
Nivelul uleiului în baia de ulei a cutiei de viteze este controlat frecvent prin pozitionarea busonului de umplere pe unul din peretii laterali la o înaltime precis determinata de constructor prin teste complexe.
La partea inferioara a carcasei se gaseste un buson de golire, care este prevazut de cele mai multe ori cu un magnet ce colecteaza particulele metalice.
Fig.7.9. Cutii de viteze transversale cu doi arbori:
a - cutia de viteze Dacia Nova; b - cutia de viteze Fiat Punto
Fig.7.10. Cutii de viteze transversale cu doi arbori
Cutia de viteze Peugeot (C510 - 5 rapoarte)
7.3. Predimensionarea angrenajelor de roti dintate
Calculul cutiilor de viteze urmareste determinarea parametrilor acestora pentru obtinerea, din faza de proiectare, a unor calitati dinamice si economice optime pentru automobilul respectiv.
Calculul cutiilor de viteze cuprinde dimensionarea si verificarea angrenajelor, dimensionarea si verificarea arborilor, calculul rulmentilor, dispozitivelor de cuplare a treptelor si calculul elementelor mecanismului de actionare.
Etapele de calcul la dimensionarea angrenajelor presupune dimensionarea geometrico-cinematica, verificarea de rezistenta si verificarea durabilitatii.
7.3.1. Dimensionarea geometrico-cinematica
Aceasta etapa cuprinde determinarea numarului de dinti ai rotilor care compun angrenajele, predimensionarea modulului danturii, determinarea distantei între axe si a elementelor geometrice ale rotilor si angrenajelor.
Proiectarea cutiei de viteze este precedata de un studiu al solutiilor similare de cutii de viteze, utilizate la automobilele din segmentul concurential în care urmeaza a se include automobilul proiectat. În aceste conditii, pentru calculele de predimensionare se recomanda ca pentru modulul danturii rotilor dintate sa se adopte valori similare celor ale tipurilor similare, existente si care s-au dovedit corespunzatoare. Momentul se determina functie de momentul la arborele secundar Ms pentru treapta a I-a:
(7.1)
unde:
- MM=185 Nm : momentul maxim al motorului;
- icv1=3,23 : raportul de transmitere a treptei întâi de viteze;
hcv : randamentul cutiei de viteze.
Valorile spre limita inferioara se vor alege la cutiile de viteze de autoturisme, unde se impun dimensiuni de gabarit cât mai mici si functionare cât mai silentioasa, iar valorile superioare (datorita capacitatii marite de încarcare a dintilor) se vor alege pentru automobilele ce functioneaza în conditii grele de exploatare (automobile de teren).
Adopt conform STAS 821-82 modulul normal:
mn=2,5 mm
Determinarea distantei dintre axe si a numerelor de dinti ai rotilor dintate se face tinând seama de:
- realizarea, pe cât posibil, a rapoartelor de transmitere determinate din conditiile de conlucrare motor-transmisie, având în vedere faptul ca rotile dintate au un numar întreg de dinti;
- obtinerea dimensiunilor minime de gabarit prin alegerea, pentru roata cu cel mai mic diametru, a numarului minim de dinti;
Pentru rotile dintate ale cutiilor de viteze cu doi arbori, numerele de dinti ale rotilor de pe arborele primar sunt date de relatia
(7.2)
iar pentru cele ale arborelui secundar:
(7.3)
unde icvk este raportul de transmitere al treptei k de viteze.
Cunoscând modulul normal, unghiul de înclinare al danturii si numarul de dinti, se pot determina elementele geometrice ale rotilor dintate si ale angrenajelor. Calculul geometric si cinematic se efectueaza conform STAS 12223-84 referitor la angrenaje paralele cilindrice exterioare, cu danturi înclinate în evolventa. Simbolurile si termenii folositi în continuare sunt conform STAS 915-80(tabel 7.2).
Pe baza datelor initiale necesare, specificate în tabelul 7.2, calculul elementelor geometrice ale angrenajelor sunt prezentate în tabelul 7.3. calculele geometrice si cinematice ale angreenajelor trebuie efectuate, de regula, cu precizie relativ mare.Pentru a evita erori dimensionale de calcul mai mari decât 0,001mm, se recomanda exprimarea functiilor trigonometrice cu precizie de mai putin 6.7 cifre
zecimale si realizarea calculelor, în general, cu precizie similara.
În tabelul 7.4. sunt prezentate valorile obtinute în calculul geometric si cinematic pentru fiecare treapta de viteza.
Dupa ce s-a adoptat numarul de dinti ai pinionului si rotii corespunzatoare treptei întâi de viteze, se poate calcula distanta dintre axe cu formula:
(7.4)
Observatii
Angrenajele cutiilor de viteze se verifica prin calculul la încovoierea dintilor si la presiunea de contact
7.4. Calculul de rezistenta si verificare
angrenajelor de roti dintate
7.4.1. Fortele din angrenaje
Angrenajele cutiilor de viteze se verifica prin calcul la încovoierea dintilor si la presiunea de contact, în conditiile solicitarii sub actiunea sarcinilor de regim si sarcinilor dinamice (sarcini de vârf).
Pentru calculul danturii exista mai multe metode, dintre care cea mai frecvent folosita este metoda lui Lewis.
Aceasta metoda considera ca întregul moment se transmite prin intermediul unui dinte, considerat ca o grinda încastrata si ca asupra dintelui actioneaza forta normala Fn dupa linia de angrenare N-N si este aplicata la vârful dintelui.
Forta nominala se distribuie pe fâsia de contact dintre dintii aflati în angrenare producând ca solicitare principala presiuni specifice de contact.
Functie de momentul de torsiune Mc al arborelui, forta tangentiala se determina cu relatia:
(7.5)
unde:
- Mc : momentul la arborele rotii conducatoare a angrenajului.
Fig. 7.11. Definirea fortelor din rotile dintate cilindrice cu dantura înclinata
Forta nominala se calculeaza cu formula:
(7.6)
Componenta radiala se calculeaza cu formula:
(7.7)
si solicita dintele la compresiune.
Componenta axiala, care se calculeaza cu formula:
(7.8)
nu determina solicitari asupra dintelui.
În tabelul 7.5. sunt prezentate valorile pentru fortele din angrenaje.
7.4.2. Calculul de rezistenta la încovoiere
Pe baza ipotezelor aratate, efortul unitar efectiv de încovoiere este dat de relatia:
(7.9)
unde:
- z : numarul de dinti ai rotii conducatoare;
Y :
gei : coeficient de repartizare al efortului.
Coeficientul de repartizare al efortului tine cont de gradul de acoperire, iar pentru aceasta calculam gradele de acoperire frontal si suplimentar.
Pentru calculul gradului de acoperire frontal se utilizeaza relatia:
(7.10)
iar pentru gradul de acoperire suplimentar, utilizam relatia:
(7.11)
unde:
- Re1, Re2 : razele cercurilor de vârf ale rotilor din angrenajul de calculat;
- Rb1, Rb2 : razele cercurilor de baza;
arf : unghiul frontal de angrenare;
arf : unghiul frontal al profilului de referinta
Pentru calculul la sarcini nominale de regim, la determinarea valorii efective a efortului unitar de încovoiere, momentul de calcul este determinat de momentul maxim al motorului Mmax si de raportul de transmitere de la motor la angrenajul calculat prin relatia:
În cazul metodei Lewis, când se considera ca întreg momentul de torsiune se transmite printr-un singur dinte si se neglijeaza efectul compresiunii axiale dat de componenta radiala a fortei normale, rezulta o supradimensionare a danturii. Pentru evitarea supradimensionarii, în calculul de verificare valorile efective ale efortului unitar se compara cu eforturile admisibile la încovoiere pentru materialul utilizat; efortul admisibil de încarcare sai se adopta, în mod conventional, cu valori mai ridicate celor definite din conditia de rezistenta la valoarea nominala a momentului:
(7.13)
unde:
- c=1,5 : coeficient de siguranta.
La calculul de verificare al rotilor dintate la sarcini dinamice maxime (care apar la cuplarea brusca a ambreiajului si la frânarea brusca cu ambreiajul cuplat), momentul de calcul Mc se determina cu relatia:
(7.14)
unde:
- MM : momentul maxim al motorului;
- i't : raportul de transmitere de la motor la angrenaj;
- kd=1,5 : coeficientul dinamic.
Valorile efective ale efortului unitar sef se compara în acest caz cu efortul unitar de curgere sc al materialului rotilor dintate.
În tabelul VII.5. sunt prezentate valorile efortului unitar efectiv de încovoiere pentru toate treptele din cutia de viteze
7.4.3. Calculul de rezistenta la presiunea de contact
Sub actiunea solicitarilor de contact de pe flancurile dintilor poate aparea oboseala straturilor de suprafata (sub forma de ciupituri, sfarâmari si mai rar cojire) si deformarea plastica a flancurilor dintilor (sub forma de laminare, ciocanire, încretire, ridare).
Determinarea presiunii de contact la sarcini nominale (de regim) se face utilizând relatia lui Hertz:
(7.14)
unde:
- ym : coeficientul de material;
- yfc : coeficient de forma în punctul de rostogolire;
- yec : gradul de acoperire asupra capacitatii flancurilor.
Deformarea permanenta a flancurilor dintilor la solicitarile de contact are loc când eforturile unitare de contact, fie datorita unor suprasarcini, fie datorita ungerii sau randamentului termic necorespunzator, depasesc limita de curgere.
Pentru calculul de rezistenta la presiunea de contact sub actiunea sarcinilor de vârf, momentul Mc se înlocuieste cu momentul dinamic Md.
7.4.4. Verificarea la durabilitate a angrenajelor
În afara unei rezistente insuficiente la sarcini nominale sau de vârf, scoaterea din functiune a angrenajelor în exploatare apare frecvent datorita depasirii limitei de rezistenta a materialului, provocata de sarcini periodice variabile. Durabilitatea angrenajelor este caracterizata de capacitatea de functionare îndelungata pâna la atingerea valorilor maxime permise ale uzurilor si pâna la aparitia oboselii materialului.
Pentru efectuarea calcului de durabilitate se considera ca motorul dezvolta un moment mediu echivalent Mech, la o turatie medie echivalenta wech
Momentul mediu echivalent se calculeaza cu relatia:
(7.15)
unde:
- Mrmed : momentul mediu la rotile motoare;
- icvmed : raportul de transmitere mediu al cutiei de viteze;
ht : randamentul mecanic al transmisiei.
Pentru calculul momentului mediu la rotile motoare se utilizeaza relatia:
(7.16)
unde:
: forta specifica medie la
rotile motoare;
- Ga : greutatea automobilului;
- rr : raza de rulare a rotii;
- i0 : raportul de transmitere al transmisiei principale.
Raportul de transmitere mediu al cutiei de viteze icvmed se determina cu relatia:
(7.17)
unde:
bk : timpul relativ de utilizare a treptei de viteze;
- icvk : raportul de transmitere în treapta k de viteza;
- n : numarul de trepte ale cutiei de viteze.
Turatia medie echivalenta se calculeaza cu relatia:
(7.18)
unde:
: viteza medie de deplasare a automobilului.
Numarul de solicitari la care este supus un dinte, pe durata exploatarii între doua reparatii capitale (considerat ca durabilitate necesara), se determina cu relatia:
(7.19)
unde:
b : timpul relativ de utilizare a treptei respective;
- S : spatiul parcurs de automobil între doua reparatii capitale;
- i"t : raportul de transmitere de la rotile motoare pâna la angrenajul calculat;
- rr : raza de rulare a rotii.
7.4.5. Calculul la solicitarea de oboseala la încovoiere
Determinarea efortului unitar efectiv de încovoiere la solicitarea de oboseala se determina din relatia (7.9), prin înlocuirea momentului Mc cu Mech i't, Mech fiind determinat de relatia (7.16) si i't raportul de transmitere de la motor la angrenajul calculat.
Eforturile unitare efective obtinute la calculul la oboseala a danturii se compara cu efortul unitar la oboseala la încovoiere dupa ciclul pulsator sN, dat de relatia:
(7.20)
unde:
s : efortul unitar pe ciclu simetric;
sr : efortul unitar de rupere;
- N : numarul de cicluri pentru roata dintata care se calculeaza;
Angrenajele verificate sunt considerate sunt considerate corespunzatoare din punctul de vedere al rezistentei la oboseala daca este satisfacuta inegalitatea:
(7.21)
unde:
k' : coeficientul de siguranta la calculul la oboseala; coeficientul k' se poate calcula cu relatia:
(7.22)
unde:
: coeficient de dinamicitate;
- c : coeficientul de siguranta, se determina cu relatia:
- k1 : coeficient ce tine seama de concentratia sarcinii pe lungimea dintelui;
- k2 : coeficient care tine seama de siguranta necesara de functionare;
- k3 : coeficient care tine seama de precizia metodelor de calcul;
: coeficienti care tin seama de precizia de prelucrare si
de calitatea
suprafetelor flancurilor dintilor
În tabelul 7.7. sunt prezentate valorile efortului unitar efectiv de încovoiere la solicitarea de oboseala la încovoiere pentru fiecare treapta din cutia de viteze.
7.4.6 Calculul la oboseala la solicitarea de contact
Efortul unitar efectiv de contact de contact, pefc, se determina, în acest caz cu relatia (7.14), unde forta tangentiala Ft=Ft ech, care se ia în calcul, corespunde momentului mediu echivalent, Mech, dezvoltat la o turatie medie echivalenta wech
Valorile eforturilor unitare efective de contact pefc calculate nu trebuie sa depaseasca efortul unitar admisibil de contact pac pentru asigurarea durabilitatii impuse.
Efortul unitar admisibil la contact este dat de relatia:
(7.23)
unde:
- pNc : efortul unitar de contact la oboseala, pentru un anumit numar de cicluri
echivalente Nech;
- c : coeficient de siguranta;
Efortul unitar de contact pentru calculul de oboseala se determina cu relatia:
(7.24)
În cazul în care sunt cunoscute eforturile admisibile de contact, pac ale otelurilor din care sunt executate rotile dintate, pentru calculul la oboseala al flancurilor dintilor, aceste eforturi trebuie corectate cu ajutorul coeficientului durabilitatii la solicitarea de contact knc,dat de relatia:
(7.25)
unde:
- Nb : numarul ciclurilor durabilitatii de baza;
- Nech : numarul de cicluri de solicitare corespunzatoare durabilitatii cerute.
În tabelul 7.8. sunt prezentate valorile efortului unitar efectiv de încovoiere la solicitarea de oboseala la contact pentru fiecare treapta din cutia de viteze.
7.5. Calculul arborilor si calculul rectiunilor
Arborii sunt solicitati la torsiune si la încovoiere sub actiunea fortelor din organele sustinute (roti dintate si elemente de cuplare) si organele de sustinere (lagare).
Metodologia de calcul al arborilor cutiilor de viteze cuprinde determinarea schemei de încarcare a arborilor, calculul reactiunilor, calculul momentelor de torsiune si încovoiere, determinarea marimii sectiunilor si verificarea la rigiditate.
7.5.1. Determinarea schemei de încarcare a arborilor
si calculul reactiunilor
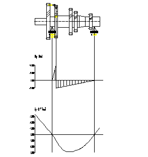
Încarcarile arborilor cutiilor de viteze sunt determinate de fortele din angrenarea rotilor dintate sustinute de arbori si din lagarele de montare în carterul cutiei. În figura 7.11. se prezinta schema de încarcare pentru arborii cutiei de viteze cu doi arbori, în cazul obtinerii treptei k de viteza.
Fortele din angrenare se determina cu relatiile (7.5), (7.6), (7.7) si (7.8). Ţinând seama de faptul ca asupra arborilor actioneaza forte în planuri diferite, pentru usurarea calculelor, aceste forte se descompun în componente continute în planul format de arborii mecanismului reductor si în componente perpendiculare pe acest plan. Datorita faptului ca la schimbarea treptelor de viteza se modifica atât fortele, cât si pozitia rotilor active în raport cu reazemele, se schimba si reactiunile din lagare, motiv pentru care se impune determinarea lor prin cuplarea fiecareia din treptele cutiei de viteze.
Fig.7.11. Scheme de încarcare a arborilor din cutiile de viteze
Daca se considera arborii în echilibru static sub actiunea fortelor din modelul mecanic din figura 7.11., pentru calculul reactiunilor din lagarele cutiei de viteze se recomanda relatiile de calcul din tabelul 7.6.
7.5.2. Dimensionarea arborilor la rezistenta
Cunoscând fortele care solicita arborii si punctele de lor de aplicatie, se determina pentru fiecare treapta de viteza valorile momentului de încovoiere Mi si de torsiune Mt.
Momentul încovoietor echivalent, calculat dupa teoria a III-a de rupere (ipoteza efortului tangential maxim):
(7.26)
Diametrul arborelui în sectiunea calculata se determina cu relatia:
(7.27)
unde:
sa ech : efortul unitar echivalent admisibil.
La calculul arborilor se stabilesc momentele Mi si Mt pentru fiecare treapta de viteza, luându-se în consideratie situatia cea mai dezavantajoasa.
În scopul asigurarii unei rigiditati suficiente, efortul unitar admisibil se adopta în functie de efortul corespunzator limitei de elasticitate în relatia se sai
În tabelele 7.9. si 7.10 sunt prezentate valorile momentelor si a diametrelor arborilor obtinute pentru fiecare treapta de viteza.
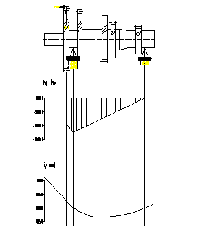
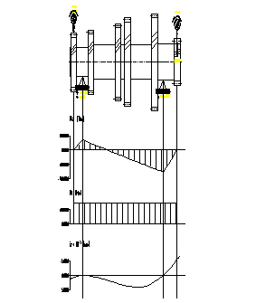
În figurile 7.12,., 7.16. sunt prezentate diagramele de momente pentru arborele primar, iar în figurile 7.17.,., 7.21. sunt prezentate diagramele de momente pentru arborele secundar al cutiei de viteze.

a) plan orizontal b) plan vertical
Fig.7.12. Diagramele de momente pentru arborele
primar corespunzator treptei întâi

a) plan orizontal b) plan vertical
Fig.7.13. Diagramele de momente pentru arborele
primar corespunzator treptei a doua

a) plan orizontal b) plan vertical
Fig.7.14. Diagramele de momente pentru arborele
primar corespunzator treptei a treia

a) plan orizontal b) plan vertical
Fig.7.15. Diagramele de momente pentru arborele
primar corespunzator treptei a patra

a) plan orizontal b) plan vertical
Fig.7.15. Diagramele de momente pentru arborele
primar corespunzator treptei a cincea

a) plan orizontal b) plan vertical
Fig.7.16. Diagramele de momente pentru arborele
secundar corespunzator pimei trepte

a) plan orizontal b) plan vertical
Fig.7.17. Diagramele de momente pentru arborele
secundar corespunzator treptei a doua

a) plan orizontal b) plan vertical
Fig.7.18. Diagramele de momente pentru arborele
secundar corespunzator treptei a treia

a) plan orizontal b) plan vertical
Fig.7.19. Diagramele de momente pentru arborele
secundar corespunzator treptei a patra

a) plan orizontal b) plan vertical
Fig.7.20. Diagramele de momente pentru arborele
secundar corespunzator treptei a cincea
Pentru arborele secundar adopt conform STAS 1769-68 caneluri cu profil dreptunghiular serie mijlocie cu urmatoarele caracteristici geometrice:
numar de caneluri: z=8;
diametrul interior: d=42 mm;
diametrul exterior: D=48 mm.
Diametrele arborilor se vor alege constructiv respectând diametrul minim calculat.
7.5.3. Verificarea rigiditatii
Solicitarile de încovoiere si de rasucire ale arborilor determina aparitia unor deformatii elastice, care conduc la suprasolicitari ale dintilor rotilor în angrenare, modifica legile angrenarii si reduc gradul de acoperire.
În cazul unor deformatii mari ale arborilor, polul angrenarii executa o miscare oscilatorie în jurul unei pozitii teoretice, determinând, pentru arborele condus, o miscare de rotatie neuniforma si o functionare zgomotoasa pentru cutia de viteze.
Din aceste considerente, dupa dimensionarea arborilor din conditia de rezistenta la solicitari compuse (torsiune si încovoiere) se face si verificarea rigiditatii (calculul deformatiilor). Pentru calculul sagetii arborilor se considera arborele de sectiune constanta, încarcat cu o singura forta. Folosind relatiile de calcul din tabelul 7.7., se pot determina sagetile în plan orizontal, fy, si în plan vertical fz. În cazul în care asupra arborelui actioneaza simultan mai multe forte, sageata rezultanta, în sectiunea si în planul considerat, este data de suma algebrica a sagetilor ce apar sub actiunea fortelor luate individual.
Cunoscând valoarea sagetii în plan orizontal si vertical se determina sageata rezultanta cu relatia:
(7.28)
unde:
: sageata maxima admisibila pentru treptele superioare;
: sageata maxima admisibila pentru treptele inferioare.
În tabelul 7.12. si 7.13. sunt prezentate valorile sagetilor calculate pentru arborele
principal, respectiv pentru arborele secundar.
Sau utilizat notatiile:
- fy : sageata pe directia axei Oy;
- fz : sageata pe directia axei Oz;
- f : sageata rezultanta;
- fytr, fztr, ftr : sagetile arborelui secundar datorate transmisiei principale.
7.6. Calculul de alegere a lagarelor cutiei de viteze
În majoritatea cazurilor lagarele cutiilor de viteze sunt lagare de rostogolire. În calculul de determinare a rulmentilor se tine seama de caracterul sarcinilor, de conditiile de montaj si de durata de functionare.
Dependenta dintre aceste marimi este data de relatia:
(7.29)
unde:
- C : capacitatea de încarcare dinamica necesara a rulmentului;
- D : durabilitatea necesara rulmentului;
- Fe : forta echivalenta medie;
- p : exponent ce tine cont de tipul rulmentului (p=3, pentru rulmenti cu bile; p=10/3, pentru rulmenti cu role).
Durabilitatea necesara a rulmentului, egala pentru toate lagarele cutiei de viteze, se da în kilometrii parcursi. Pentru obtinerea durabilitatii în milioane de rotatii se utilizeaza relatia:
(7.30)
unde:
- icv med : raportul de transmitere mediu al cutiei;
- D : durabilitatea necesara a rulmentului;
- i0 : raportul de transmitere al puntii motoare;
- i : raportul de transmitere de la motor la arborele al carui lagar se
calculeaza
- rr : raza de rulare a rotii motoare.
La determinarea fortei echivalente medii Fe se tine seama de fortele axiale si radiale ce apar în lagare în fiecare treapta a cutiei de viteze. Ea se determina cu relatia:
(7.31)
unde:
- Fk : forta echivalenta corespunzatoare treptei k de viteza;
bk : timpul relativ de utilizare a treptei k de viteza;
wech : viteza unghiulara echivalenta a motorului.
Forta Fk se determina cu relatia:
(7.31)
unde:
: forta radiala din lagar,
corespunzatoare treptei k de viteze;
- zk, yk : reactiunile din lagar;
- xk : forta axiala din lagar;
- X : coeficientul de transformare a sarcinii locale Rk în sarcina
circumferentiala;
- X : coeficientul de transformare a sarcinii axiale în sarcina radiala
- V : coeficientul de rotatie.
Coeficientii X si Y se aleg din cataloagele de rulmenti, în functie de tipul rulmentului si de încarcarea lagarului.
Valorile fortelor radiale sunt date în tabelul 7.14.
În tabelul 7.15. sunt prezentate valorile pentru capacitatile de încarcare corespunzatoare fiecarui lagar în parte.
Pentru arborele primar al cutiei de viteze adopt:
- conform STAS 3043/1-68 rulment radial cu role cilindrice pe un rând simbol NU305 cu urmatoarele caracteristici:
D=62 mm;
d=25 mm;
B=17 mm;
C=2600 daN;
C0=1500 daN.
- conform STAS 3041/1-68 rulment radial cu bile pe un rând cu cale de rulare adânca simbol 6305 cu urmatoarele caracteristici:
D=62 mm;
d=25 mm;
B=17 mm;
C=1760 daN;
C0=1160 daN.
Pentru arborele secundar al cutiei de viteze adopt:
- conform STAS 3043/1-68 rulment radial cu role cilindrice pe un rând simbol NU310 cu urmatoarele caracteristici:
D=110 mm;
d=50 mm;
B=27 mm;
C=8500 daN;
C0=5600 daN.
- conform STAS 3041/1-68 rulment radial cu bile pe un rând cu cale de rulare adânca simbol 6408 cu urmatoarele caracteristici:
D=110 mm;
d=40 mm;
B=27 mm;
C=5000 daN;
C0=3750 daN.
|