Ca si motoarele pe benzina, motoarele diesel sunt supuse unor norme de depoluare foarte severe. Emisiile poluante ale acestor motoare sunt în principal urmatoarele:
Oxidul de azot (NOx)
Monoxidul de carbon(CO)
Particulele solide.
Mijloacele utilizate pentru gestionarea poluarii sunt similare celor de la motoarele pe benzina, dar strategiile de comanda sunt diferite.
Oxizii de azot (NOx) sunt poluanti care provin dintr-o ardere la temperatura ridicata. Aceasta crestere de temperatura poate fi consecinta mai multor fenomene:
Un exces de aer
Un reglaj de avans aproximativ
O presiune de supraalimentare foarte importanta
Un raport volumetric gresit.
Doua mijloace permit diminuarea continutului de NOx din gazele de esapament:
Calculatorul optimizeaza punctul de avans în functie de sarcina si de regimul motor.
Sistemul E.G.R. (Reciclarea Gazelor de Esapament) coboara temperatura de ardere prin înlocuirea excedentului de oxigen cu gazele de esapament (gaze inerte).


E.G.R.-ul permite diminuarea emisiilor de NOx recirculând gazele de esapament prin admisie pentru a scadea temperatura de ardere (gazele de esapament iau locul oxigenului).
Calculatorul piloteaza o electrovana în mase secventiale. Cu cât vana este comandată 111d36b ; mai mult, cu atât depresiunea creata de pompa cu vid se aplica vanei EGR si o deschide. Cu cât vana se deschide, cu atât rata de recirculare este mai importanta.

Gestionarea electronica permite obtinerea unei rate de recirculare variabila care poate fi cartografiata în functie de mai multi parametri. În anumite cazuri, va fi posibila buclarea sistemului controlând pozitia reala a vanei EGR.
În cazul gestionarii electronice a vanei E.G.R, anumite informatii sunt esentiale pentru calculator:
Sarcina:
Informeaza calculatorul de cererea de sarcina determinând comandarea E.G.R.-ului numai la sarcini joase si interzice comanda vanei în deceleratie (se evita emisiile de fum).
Viteza vehiculului:
Informeaza calculatorul despre viteza vehiculului pentru strategia E.G.R-ului; de exemplu daca viteza vehiculului este nula si pedala acceleratie ridicata sau viteza motorului la relanti, atunci E.G.R se va dezactiva; când viteza devine mai mare de 40km/h E.G.R. este din nou activata; aceasta pentru a evita ancrasarea supapelor.
Regimul motor:
La fel ca si la informatia viteza vehicul, utila la strategia de comanda a vanei E.G.R.; în majoritatea cazurilor E.G.R.-ul nu mai este comandat peste 3000tr/min si sub un regim de minim 650 tr/min pentru a evita calarea motorului.
Temperaturile apei, aerului si motorinei:
Aceste informatii servesc la strategia de comanda a E.G.R.-ului; de exemplu daca temperatura apei de racire este prea mica se limiteaza rata de gaz reciclat, altfel s-ar limita cresterea temperaturii motorului; în plus la rece exista mai putin NOx.
Presiunea atmosferica:
Informeaza asupra altitudinii pentru activarea vanei; cu cresterea altitudinii oxigenul se rarefiaza, temperatura de ardere scade, deci nu mi este utila comandarea vanei.
Pozitia vanei:
La vanele E.G.R. electrice, pozitia vanei este controlata printr-un captor de tip potentiometru care este integrat în aceasta. Acesta informeaza calculatorul de pozitia exacta a vanei, calculatorul determinând deschiderea reala precum si functionarea vanei. În caz de defectare a acestui captor vana nu mai poate fi comandata.
Debitmetrul de aer:
Este util la functionarea în bucla E.G.R. / DEBIMETRE D'AIR :
1 - Calculatorul defineste debitul de aer necesar bunei functionari a motorului.
2 - Calculatorul compara acest debit de aer necesar cu debitul de aer admis si masurat prin debitmetru. Se poate determina si cantitatea de gaze de esapament care poate fi reciclat fara sa influenteze performantele motorului.
3 - Se controleaza raportul de deschidere a vanei cu debitmetrul (daca exista prea mult gaz reciclat, debitul de aer consumat va scadea).
|
|
Supapa permite trecerea gazului de esapament catre colectorul de admisie proportional cu deplasarea membranei. Pozitia membranei depinde de echilibrul realizat între efortul datorat arcului si efortul datorat depresiunii. A Admisie. B Supapa. C Membrana. D Intrare depresiune. E Evacuare. |

Electrovana EGR este comandata printr-un semnal secvential de catre calculator care permite modularea deschiderii acesteia. Pozitia exacta este controlata printr-un potentiometru integrat.
Exista doua tipuri de hidrocarburi (HC):
Hidrocarburile care provin din carburanti.
Hidrocarburile de tip lubrifiant motor.
Hidrocarburile provenite din carburant:
Sunt produse în timpul arderii defectuoase, si se regasesc în gazele de esapament datorita carburantului nears. Cauzele acestora pot fi:
Un exces de motorina: la ardere, datorat unui dozaj gresit.
O alimentare cu aer defectuoasa: filtru blocat sau alimentarea întepata mai ales la sarcina mare.
Un reglaj aproximativ al avansului: un avans prea scazut fata de avansul ideal, temperatura aerului si presiunea în cilindru nu mai sunt suficient de ridicate pentru arderea totala a motorinei (arderea prea târzie dupa PMS).
Hidrocarburile de tip lubrifiant:
Datorita uzurii motorului (etansarea interna), când segmentii motorului sunt uzati se pot regasi molecule de motorina în ulei care variaza rata de HC, luând parte la procesul de ardere.
Monoxidul de carbon (CO) rezulta de asemenea datorita arderilor defectuoase
Doua mijloace permit diminuarea continutului în HC si CO din gazele de esapament:
Catalizatorul care transforma poluantii în gaze curate
Calculatorul optimizeaza dozajul si avansul.
Opacitatea
Opacitatea gazelor de esapament se datoreaza prezentei particulelor de carbon din acestea, particule ce iau nastere in timpul procesului de combustie.
Cu cât numarul de particule de carbon este mai mare cu atât creste opacitatea gazelor de esapament si deci gradul de poluare este mai mare.
Fasciculul luminos utilizat are proprietatea de a actiona numai asupra particulelor de carbon aflate în suspensie in camera de masura.
Partea electronica a apratului se compune din trei blocuri:
- un bloc electronic capabil sa efectueze un algoritm pentru determinarea opacitatii
Busonul rezervorului trebuie sa asigure legatura cu atmosfera pentru evitarea aparitiei depresiunii în rezervor cu efecte negative asupra debitului de combustibil aspirat de pompa de transfer si deci asupra dozei de motorina injectate in cilindrii.
Sorbul din rezervor trebuie sa asigure filtrarea primara a motorinei pentru a împiedica colmatarea rapida a filtrului de combustibil.
Conductele de legatura nu trebuie sa prezinte fisuri sau deformari ce au ca efect îngreunarea transportului de motorina.
Filtrul de motorina se va înlocui periodic functie de indicatiile constructorului sau ori de câte ori acest lucru se impune.
Neetansietatea sistemului de alimentare duce la desamorsarea acestuia cu efecte negative asupra functionarii motorului si asupra gradului sau de poluare.
Pompa de injectie reprezinta elementul care necesita un înalt grad de precizie în ceea ce priveste realizarea elementelor sale componente si a reglajelor pe care aceasta le reclama.
Din acest punct de vedere interventiile care se fac asupra pompei de injectie trebuiesc efectuate cu mare atentie si conform procedurilor de lucru prescrise de catre constructor.
La pompa de injectie EPIC singurul reglaj îl reprezinta punerea la punct a pompei, operatie care neefectuata corespunzator va duce la cresterea gradului de poluare al motorului.
Injectoarele sunt elementele care introduc motorina direct în camera de ardere si sunt caracterizate de urmatorii parametrii:
presiunea de injectie
forma jetului de combustibil
gradul de pulverizare
etanseitate interna
zgomot
Ridicarea acului la un injector este comandată 111d36b ; de presiunea de injectie realizata de catre pompa. Acest lucru impune un anumit taraj al injectoarelor la o valoare prescrisa de constructorul motorului pentru ca motorina sa fie trimisa în camera de ardere la momente si presiuni de injectie ce asigura o ardere eficienta cu un grad redus de poluare.
În acest sens se utilizeaza un dispozitiv de masurare a presiunii de refulare a injectorului, iar modificarea acestei valori se realizeaza prin introducerea sau scoaterea unor seibi de reglaj din interiorul injectorului. Dispozitivul pentru tarat injectoare va utiliza numai tipul de lichid INJECT ELF ED recomandat de firma RENAULT.
Daca injectoarele prezinta o diferenta a presiunilor de descarcare mai mare de 5 bari, atunci motorul va prezenta un ralanti instabil.
Forma jetului, gradul de pulverizare si etansietatea unui injector se pot verifica vizual cu ajutorul dispozitivului de tarat injectoare.
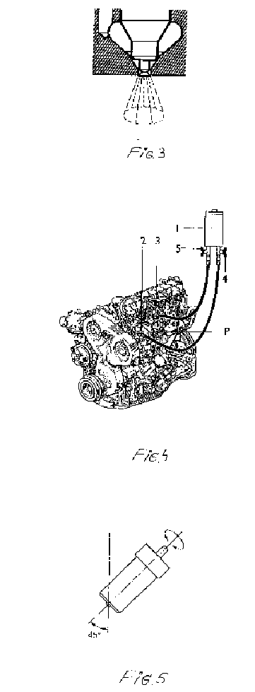
Jetul de motorina trebuie sa aibe forma conica, sa fie uniform distribuit si fara jeturi concentrate FIG.3.
Întreruperea injectiei sa se faca brusc iar pe timpul acesteia cand presiunea instalatiei este cu cel putin 20 bari mai mica decât presiunea de descarcare a injectorului ,,nasul" acestuia nu trebuie sa se umezeasca.
Datorita faptului ca o parte a injectorului se afla în camera de ardere, acesta se acopera cu un strat de calamina ce are ca efect perturbarea caracteristicilor injectorului. Pentru a elimina acest lucru se poate recurge la o curatire a injectorului, si totodata a intregului sistem de injectie folosind solutie adecvata, solutie cu care va functiona motorul.
În FIG.4 se prezinta schema de principiu a unei instalatii de alimentare ce utilizeaza solutie pentru curatarea echipamentului de injectie:
1 - rezervorul instalatiei
2 - racord pentru tur
3 - racord pentru retur
4 - robinet al conductei de tur
5 - robinet al conductei de retur
P - pompa de injectie
Pentru folosirea unei astfel de instalatii se va avea în vedere notita sa de utilizare ce este livrata împreuna cu instalatia.
Observatii:
în timpul interventiilor la injectoare si pompa de injectie se vor respecta cu strictete consemnele de curatenie prescrise de constructor
dupa demontarea injectoarelor obligatoriu se vor înlocui rondelele antiflacara respectând sensul de montaj al acestora si seibile de etansare, în caz contrar putându-se ajunge la supraîncalzirea injectorului ce va avea ca efect griparea acului injectorului, cresterea dozei de motorina injectate, distrugerea pistonului si a camerei de preardere.
O metoda rapida dar subiectiva de testare a ansamblului ac injector - diuza este urmatoarea FIG.5:
se introduce acul injector în corpul sau
se înclina ansamblul sub un unghi de 45°
Daca acul injectorului culiseaza usor sub efectul propriei greutati în corpul sau acest ansamblu este corespunzator.
Daca jocul dintre cele doua elemente este mare sau daca acul prezinta tendinte de gripaj este necesara înlocuirea acestui ansamblu.
Un parametru global de apreciere a starii tehnice a motorului este presiunea de compresie, a carei valoare ne da o imagine de ansamblu asupra gradului de uzura si de poluare al motorului.
Determinarea presiunii de compresie se face cu ajutorul unui dispozitiv specializat (compresometru sau compresograf ) respectând anumite conditii de masurare:
motorul este adus la regim termic normal de functionare
se deconecteaza electrovana STOP ELECTRIC
se demonteaza injectoarele de pe chiulasa
se cupleaza aparatul de masura pe chiulasa
se aduce pe zero acul indicator al aparatului
se actioneaza demarorul pâna ce acul indicator se stabilizeaza
se citeste valoarea presiunii
Valorile presiunilor citite pentru fiecare cilindru al motorului precum si diferenta dintre valoarea maxima si minima a acestor presiuni trebuie sa se încadreze în limitele prescrise de constructor.
În caz contrar este necesar sa se intervina la nivelul motorului pentru restabilirea starii tehnice corespunzatoare.
Totodata trebuie sa se acorde atentie si controlului calajului distributiei si al jocului termic la supape.
Datorita neetansarii perfecte a ansamblului piston- segmenti - cilindru în carterul motorului se acumuleaza o cantitate apreciabila de gaze arse incomplet care împreuna cu vaporii de ulei se amesteca si formeaza un produs chimic extrem de poluant. În plus presiunea creata în carter forteaza în elementele ce asigura etansarea ducând la deteriorarea lor si deversarea în atmosfera a produselor chimice nocive. Pentru evitarea celor mentionate mai sus se apeleaza la un sistem de reaspirare care are rolul de a prelua gazele de carter si a le introduce apoi în sistemul de admisie al motorului ocolind filtrul de aer. Vaporii de ulei amestecati cu gazele de carter vor fii separatii de acestea prin decantare si trimisi apoi în baia de ulei a motorului.
Functionarea necorespunzatoare a acestui sistem duce la cresterea exagerata a gradului de poluare al motorului. De aceea se impune mentinerea acestuia în bune conditii în ceeace priveste curatenia si etansarea sa.
Sistemul de admisie al motorului poate crea probleme de poluare în cazul în care acesta nu este întretinut corespunzator. Se impune mentinerea acestui sistem în bune conditii de curatenie si etansietate.
Filtrul de aer al sistemului de admisie trebuie înlocuit periodic functie de prescriptiile constructorului sau atunci când acest lucru se impune, nerespectarea acestora ducând la cresterea consumului de combustibil si a gradului de poluare al motorului datorita colmatarii filtrului.
Traiectul de evacuare al gazelor de esapament trebuie sa fie etans si sa nu prezinte deformari sau lovituri care pot duce la îngreunarea procesului de evacuare.
ATENŢIE: înlocuirea unei piese, atunci când acest lucru se impune, se va face numai cu piese identice ca reper cu piesa înlocuita.
|