DESAMBLARI PRIN NITUIRE
Nituirea reprezinta operatia tehnologica de gaurire a elementelor asamblarii ,de montare a niturilor in gauri si de formare a capului de inchidere al niturilor.Niturile imbina 2 sau mai multe piese prin tije care le cuprinde si capul de inchidere care are o anumita presiune intre piese si si sunt dispuse intr-un anumit numar si o anumita ordine .Nituirea se foloseste in domeniul aeronautic ,la imbinarea unor materiale care nu sunt sudabile la constructi metalice supusela socuri si vibrati puternice ,la realizarea unor cazane si recipiente de presiune.
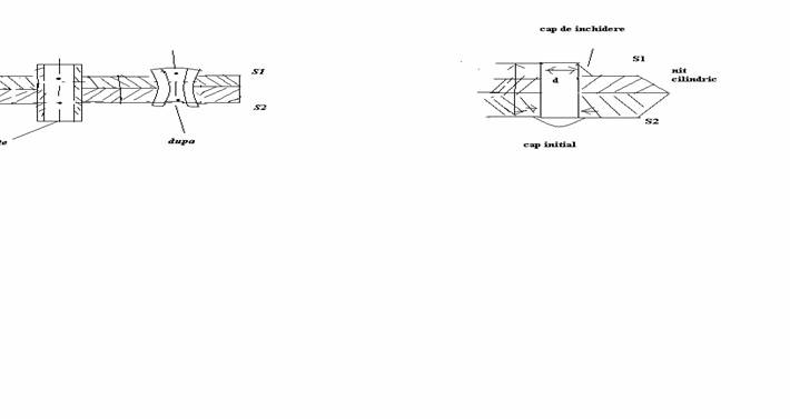
Niturile sunt organe masini formate dintr-o tija cilindrica sau tuburicu un cap initial si capacul de inchidere format o data cu executarea nituirii manual, mecanizat sau cu exploziv.Diametrul initial(d) al nitului e STAS ,iar diametrul d1 al gaurii cu un milimetru mai mare decat diametrul tijei de nit in stare rece d1=d 71mm.Dupa nituire diametrul final devine d1 egal cu al gaurii fiind si val calcul al tijei.

l=∑ si +(1,5÷1,7)d
Materialele folosite la executarea niturilor sunt otelurile carbon obisnuite 0L34,0L37,otelul carbon de calitate 0LC10,0LC15,pentru utilizari generale si respectiv oteluri aliate ,metale sineferoase din cupru ,alama ,aluminiu pentru utilizari speciale .
Clasificarea se face dupa :
1-forma corpului semirotund
2-dupa modul de ajezare a tablelor:
a) prin suprapunere (direct)
b)cu o eclista;
c)cu doua eclise;
3- dupa destinatie ;
a) de utilizare generala (curenta);
b) de rezsistenta pentru constructi metalice ;
c) de rezistenta si etansare pentru recipienti sub presiune
Imbinarea directa(suprapunere)

In cazul in care fortele care solicita nituirea actioneaza perpendicular pe axa nitului ,tija acestora este solicitata la forfecare si strivire .Forta ce revine unui nit este F1=F/n ,n este numarul de nituri
|