DISPUNEREA PROIECŢIILOR. VEDERI. SECŢIUNI. RUPTURI. HAsURI
3.1 Dispunerea proiectiilor în desenul industrial
Reprezentarea unui obiect în desenul industrial se face, în general, în proiectie ortogonala, pe unul sau mai multe plane, în functie de complexitatea formei constructiv-tehnologice a acestuia. Planele de proiectie se considera perpendiculare între ele, doua câte doua, iar fetele plane ale obiectului se dispun, prin orientarea acestuia, paralele cu planele de proiectie, astfel ca ele sa se proiecteze nedeformate pe acestea.
Obiectele se reprezinta în minimum de proiectii necesare (vederi sau sectiuni) care sa asigure întelegerea completa si fara efort a formei si marimii lor.

Astfel,
obiectele ce admit un punct, o axa sau un plan de simetrie, sunt
reprezentate în general prin una, doua sau trei proiectii (fig. 3.1;
fig. 3.2; fig. 3.3). În acest scop se utilizeaza ca reper de reprezentare,
dupa caz si necesitati, diedrul sau triedrul de plane de
proiectie format de planele H, V si respectiv W.
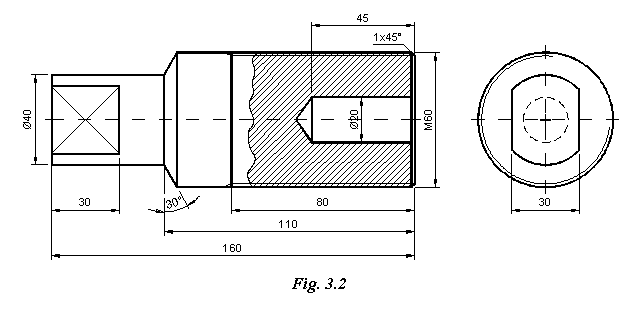
De remarcat ca în unele cazuri, ca în exemplele prezentate în fig. 3.1a; 3.1b; 3.1c, un simbol de cotare (S 60 = sfera cu diametru de 60 mm; 40 = prisma de sectiune patrata cu latura de 40 mm) sau o nota ce completeaza cotarea (gros. 5) elimina necesitatea unei a doua proiectii.
Prin compararea desenelor din figurile 3.3a si 3.3b este
evidenta necesitatea reprezentarii formelor prin trei proiectii.
3.1.2 Metode de dispunere a proiectiilor
Dupa modul de dispunere a proiectiilor pe desen în raport cu proiectia principala se deosebesc doua metode si anume:
metoda E
(europeana), prezentata anterior, caracterizata prin
dispunerea
planelor de proiectie în spatele obiectului în raport cu observatorul -
fig. 3.6; sensul
imaginii se deplaseaza de la obiect catre planele de proiectie,
proiectiile se obtin pe
fetele interioare ale cubului (fig. 3.5);
- metoda A (americana), caracterizata prin dispunerea
planelor de proiectie
între obiect si observator - fig. 3.7; imaginea se deplaseaza de la
obiect catre planele de proiectie, proiectiile se obtin pe
fetele exterioare ale cubului (fig. 3.8).
Simbolurile grafice pentru identificarea celor doua moduri de dispunere a proiectiilor E si A sunt prezentate în figurile 3.9 si respectiv 3.10.
Metoda A poate fi
utilizata, la cererea beneficiarului, numai în desenele tehnice destinate
a fi transmise în strainatate. La cererea beneficiarului, pe astfel
de desene trebuie reprezentat, în stânga indicatorului sau chiar în cadrul
acestuia, într-o casuta speciala destinata în acest
scop, simbolul grafic de identificare corespunzator modului de dispunere
folosit.
Fig. 3.9 Simbolul grafic pentru Fig. 3.10 Simbolul grafic pentru
dispunerea vederilor dupa metoda E dispunerea vederilor dupa metoda A
3.1.3 Exceptii de la dispunerea normala a proiectiilor
Obiectele care au fete sau brate înclinate fata de planele de proiectie se reprezinta în mod normal, cu exceptia portiunilor înclinate, care sunt proiectate ortogonal pe plane auxiliare paralele cu fetele sau axele bratelor respective.
Aceste proiectii partiale (particulare) pot fi amplasate fie în corespondenta de proiectie cu proiectia principala a elementului reprezentat, prin rabaterea planului auxiliar pe planul acesteia (fig. 3.11c), fie în pozitie rotita fata de proiectia principala a elementului, orientate în acest caz în raport cu laturile chenarului desenului (fig. 3.11d).
Vederea particulara astfel obtinuta este echivalenta cu o schimbare de plan.
Directia de privire cât si notarea unor astfel de vederi particulare se face asa cum rezulta din exemplul prezentat. Aceste aspecte sunt prezentate, global, în cele ce urmeaza la § 3.2.5.
3.2.1 Definirea, clasificarea si reprezentarea vederilor
Vederea este reprezentarea în proiectie ortogonala pe un plan a unui obiect, nesectionat (fig. 3.12; fig. 3.13).
Dupa directia de proiectie vederile se clasifica:
a)
vedere
obisnuita, daca este obtinuta dupa una din
directiile de proiectie
definite prin STAS 614-76 si este dispusa conform aceluiasi
standard (de exemplu fig. 3.12; 3.13a; 3.13b; 3.19; 3.21);
b) vedere particulara, daca este obtinuta dupa alte directii de proiectie diferite de cele definite prin STAS 614-76 sau daca este obtinuta dupa una din directiile definite conform STAS 614-76, dar este dispusa pe desen în alta pozitie (de exemplu, fig. 3.14c; 3.15b; 3.15d).
Dupa proportia în care se reprezinta obiectul în vedere, ele pot fi:
a) vedere completa, daca obiectul este reprezentat în întregime, în vedere, în proiectia respectiva (de exemplu fig. 3.13; 3.14a; 3.15a);
b)
vedere partiala, daca
numai o parte a obiectului este reprezentata în vedere, delimitata
printr-o linie de ruptura (de exemplu fig. 3.14c; 3.15b; 3.48b);
c) vedere locala, daca numai un element simetric al obiectului este reprezentat, în vedere, în proiectia respectiva, fara a fi delimitat prin linii de ruptura (fig. 3.16b; 3.17b).
3.2.2 Reguli de reprezentare a vederilor
Directiile de proiectie si vederile rezultate se aleg conform STAS 614-76, astfel ca proiectiile rezultate sa evite, pe cât posibil, prea multe muchii acoperite cât si repetarea unor detalii inutile ale obiectului (fig. 3.12; 3.13).
Axele de revolutie sau de simetrie
ale obiectelor, suprafetele de rostogolire
ale rotilor dintate, precum si axele gaurilor sau a
orificiilor care, la scara desenului, au
diametru mai mare de 10 mm se reprezinta prin linie-punct subtire
(fig. 3.13a;
3.15d).
Axele gaurilor sau orificiilor care
la scara desenului au diametru mai mic de
10 mm se reprezinta cu linie continua subtire (fig. 3.14b; 3.15d).
Liniile
de axa trebuie sa depaseasca cu 2...3 mm liniile de
contur respective
(de exemplu fig. 3.17; 3.18; 3.24).
Liniile de contur aparent si muchiile de intersectie vizibile se reprezinta cu linie continua groasa (de exemplu fig. 3.17a; 3.22; 3.29).
Liniile de contur si muchiile de
intersectie acoperite vederii se reprezinta cu
linie întrerupta subtire (sau groasa daca ele coincid în
proiectie cu alte tipuri de linie), însa numai daca sunt
necesare (de exemplu fig. 3.13; 3.14a; 3.15a). Pentru evitarea
reprezentarii lor se folosesc sectiunile.
Muchiile
fictive (rezultate din intersectia prelungirilor imaginare a doua
suprafete racordate printr-o suprafata curba), daca
sunt necesare pentru claritatea
formei obiectului si daca nu se confunda cu alte linii de
contur, se reprezinta cu linie
continua subtire; ele nu trebuie sa se intersecteze cu liniile
de contur, muchiile reale de intersectie sau alte muchii fictive ale
obiectului (de exemplu fig. 3.13b; 3.18a;
3.19b; 3.20b). Muchiile fictive ce corespund unor racordari foarte line,
de regula,
nu se reprezinta pe desen (fig. 3.17a).
Trecerea unei linii de contur într-o muchie fictiva se reprezinta printr-o întrerupere de 1...2 mm (fig. 3.14a; 3.20b).
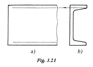
Daca din reprezentarea unei suprafete înclinate rezulta, prin proiectie, doua muchii fictive concentrice sau paralele, foarte apropiate, se reprezinta numai cea mai apropiata de linia de contur a obiectului (de exemplu fig. 3.19b; 3.20b; 3.21b).
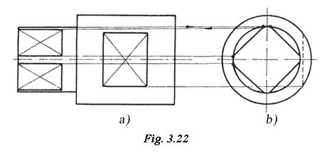
Suprafetele
tesite plan având forma de patrulater situate pe cilindri sau
conuri, cât si fetele laterale ale prismelor sau piramidelor pot fi indicate prin
reprezentarea cu linie continua subtire a diagonalelor acestor
suprafete (fig. 3.22;
Suprafetele
striate sau ornamentate cu un relief marunt si uniform se
reprezinta prin figurarea ornamentului numai pe o mica portiune
a suprafetei (fig. 3.24; 3.25).

Vederile
locale definesc forma conturului unor deschideri sau decupari simetrice în
diverse obiecte. Ele se reprezinta prin metoda A, în corespondenta
de proiectie cu elementul ce trebuie definit, fara a fi
delimitate prin linie de ruptura de zonele adiacente. Aceste vederi nu
sunt notate pe desen (de exemplu fig. 3.16b; 3.17b).
Elementele
identice (gauri, decupari, danturi s.a.) care se repeta la
fel pe aceeasi proiectie pot fi reprezentate complet o singura
data, numai pe o mica portiune, sau în pozitii extreme,
restul elementelor fiind reprezentate simplificat (fig. 3.26; 3.27; 3.28).
Pentru economie de timp si spatiu obiectele ce admit proiectii simetrice pot fi reprezentate pe jumatate sau sfert, în care caz axa (axele) de simetrie trebuie notate la fiecare capat prin doua linii paralele subtiri perpendiculare pe linia de axa (fig. 3.14b; 3.15c). Daca liniile de contur depasesc cu 2...3 mm linia de axa atunci nu mai este necesar a se trasa segmentele perpendiculare pe capetele axelor (fig. 3.19b).
Obiectele
realizate prin îndoire se reprezinta si în desfasurare
pentru simplificarea debitarii semifabricatului. Pe desfasurare
liniile de îndoire se reprezinta prin linie-doua puncte subtire
(fig. 3.29c).
Daca
desfasurata se executa în completarea vederii principale a
obiectului atunci liniile ce delimiteaza suprafata
desfasurata se reprezinta cu linie-doua puncte
subtire (fig. 3.30a).
3.2.3 Definirea, clasificarea si reprezentarea sectiunilor
Sectiunea este reprezentarea în proiectie ortogonala pe un plan a partii ramase dintr-un obiect, dupa intersectarea acestuia cu o suprafata fictiva de sectionare si îndepartarea imaginara a partii obiectului aflata între ochiul observatorului si suprafata de sectionare.
a) Sectiune propriu-zisa, daca se reprezinta numai figura rezultata prin intersectarea obiectului cu suprafata de sectionare (fig. 3.16c; 3.31c; 3.48d);
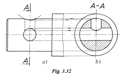
b) Sectiune cu vedere, daca se reprezinta atât sectiunea propriu-zisa cât si, în vedere, partea obiectului aflata în spatele suprafetei de sectionare (fig. 3.32b).
Dupa pozitia suprafetei de sectionare fata de planul orizontal de proiectie se deosebesc:
a) Sectiune orizontala, daca suprafata de sectionare este paralela cu planul H (fig. 3.14b; 3.37b);
b) Sectiune verticala, daca suprafata de sectionare este perpendiculara pe planul H (fig. 3.37a; 3.42b);
c) Sectiune particulara, daca suprafata de sectionare are o pozitie oarecare pe planul H (fig. 3.48d).
Sectiunile orizontale, verticale si particulare pot fi:
longitudinale, daca suprafata de sectionare contine sau este paralelea cu axa principala a obiectului (fig. 3.37a; 3.42b);
transversale, daca suprafata de sectionare este perpendiculara pe axa principala a obiectului (de exemplu, fig. 3.20c; 3.31b si c; 3.39, 3.40);
Dupa forma suprafetei de sectionare, sectiunile pot fi:
a) Sectiune plana, daca suprafata de sectionare este un plan;
b) Sectiune frânta, daca suprafata de sectionare este formata din doua sau mai multe plane concurente sub un unghi diferit de 900 (fig. 3.33a; 3.34b; 3.43a);
c) Sectiune în trepte, daca suprafata de sectionare este formata din doua sau mai multe plane paralele (fig. 3.35a);
d) Sectiune cilindrica, daca suprafata de sectionare este cilindrica, iar sectiunea se reprezinta desfasurata pe unul din planele de proiectie (fig. 3.36a).
Dupa proportia în care se sectioneaza obiectul, sectiunile pot fi:
a) Sectiune completa, daca în proiectia respectiva obiectul este reprezntat în întregime în sectiune (de exemplu, fig. 3.16c; 3.17a; 3.33a; 3.34b; 3.35a);
b) Sectiune partiala, daca în proiectia respectiva numai o parte a obiectului este reprezentat în sectiune, separata de restul obiectului printr-o linie de ruptura (fig. 3.16a; 3.23; 3.31a; 3.42c);
c) Jumatate vedere-jumatate sectiune, daca în proiectia respectiva un obiect simetric este reprezentat jumatate în vedere si jumatate în sectiune, separate între ele prin suprafata de simetrie de-a lungul careia a fost sectionat obiectul (fig. 3.24; 3.25; 3.38a, b si c);
Sectiunile propriu-zise,
dupa dispunerea lor în desen fata de proiectia
principala a obiectului a
carui sectiune o reprezinta, se clasifica în:
a) Sectiune obisnuita, daca sectiunea se reprezinta în afara conturului proiectiei si este dispusa în corespondenta de proiectie cu proiectia principala a obiectului, conform STAS 614-76 (fig. 3.32b);
b) Sectiune suprapusa, daca sectiunea se reprezinta suprapusa peste vederea respectiva (fig. 3.39);
c) Sectiune deplasata, daca sectiunea se reprezinta deplasata de-a lungul traseului de sectionare, în afara conturului obiectului (fig. 3.40; 3.48c);
d) Sectiune intercalata, daca sectiunea se reprezinta în intervalul de ruptura dintre cele doua parti ale aceleiasi vederi a obiectului (fig. 3.41).
3.2.4 Reguli de reprezentare a sectiunilor
Conturul portiunilor sectionate ale obiectului se reprezinta cu linie continua groasa, cu exceptia sectiunilor suprapuse, la care conturul se reprezinta cu linie continua subtire (fig. 3.39).
Suprafetele rezultate prin sectionare se hasureaza.
La sectiuni în trepte se recomanda ca suprafetele treptelor succesive ale sectiunii sa aiba hasurile decalate între ele pentru a rezulta locul de schimbare a planului de sectionare (fig. 3.35a).
Conturul unor sectiuni ale obiectului situate în fata suprafetei de sectionare se reprezinta cu linie-doua puncte subtire peste sectiunea rezultata, însa numai daca reprezentarea este necesara pentru întelegerea formei obiectului si numai daca prin aceasta nu sunt posibile confuzii (fig. 3.37a; 3.42b). În astfel de situatii se prefera o sectiune partiala (fig. 3.42c).
Sectiunile propriu-zise efectuate printr-un alezaj sau printr-o adâncitura cilindrica, conica sau sferica trebuie sa cuprinda, reprezentate în proiectie, si muchiile si tesiturile alezajului sau adânciturii din spatele suprafetei de sectionare (fig. 3.31c).
Sectiunile cu vedere, cuprind pe lânga sectiunea propriu-zisa rezultata si proiectiile muchiilor ce delimiteaza partile vizibile ale obiectului, situate în spatele suprafetei de sectionare, reprezentate cu linie continua groasa (fig. 3.32b).
Prin conventie, în sectiune longitudinala niturile, suruburile, stifturile, arborii, osiile, mânerele, bielele, spitele rotilor, nervurile, precum si în general piulitele si saibele se reprezinta nesectionate si ca urmare nu se hasureaza (fig. 3.33a; 3.34b).
Aripile, nervurile si tablele se reprezinta sectionate numai în cazul sectiunilor transversale (fig. 3.14b; 3.20c; 3.34b).
Portiunile sectiunilor frânte neparalele cu unul din planele de proiectie, în scopul reprezentarii se rotesc pâna devin paralele cu planul considerat, astfel ca sectiunea rezultata sa fie nedeformata în proiectie (fig. 3.33; 3.34). Fac exceptie cazurile în care partea înclinata este cuprinsa între doua plane de nivel, frontale sau de profil ale suprafetei de sectionare, în care caz ea se reprezinta în proiectie fara a se rabate (fig. 3.42a).
În cazul sectiunilor în trepte, sectiunile treptelor vecine se reprezinta într-un singur plan, fara ca prin aceasta suprafata de sectionare sa fie desfasurata (fig. 3.43a).
Sectiunile propriu-zise, suprapuse, deplasate sau intercalate în scopul reprezentarii, în functie de pozitia traseului de sectionare, se executa în proiectie vazute din stânga sau de sus (fig. 3.39; 3.40; 3.41).
Pentru reducerea numarului de proiectii pe un desen, gaurile flanselor pot fi reprezentate simplificat, prin rabatere în planul de proiectie (fig. 3.42c; 3.46).
3.2.5 Definirea si reprezentarea rupturilor
Ruptura consta în îndepartarea imaginara a unei parti din obiect, delimitata printr-o suprafata de ruptura perpendiculara pe planul reprezentarii, cu scopul:
delimitarii unor vederi sau sectiuni partiale (fig. 3.14c; 3.16d; 3.20a si b);
- reducerii spatiului ocupat de reprezentare pe desen, fara sa fie afectata claritatea si precizia acesteia (fig. 3.46).
Linia de ruptura, dupa caz, se reprezinta în desen prin linie continua ondulata subtire sau prin linie în zig-zag subtire.
3.2.6 Reprezentarea si notarea directiei de privire, a traseelor de sectionare si a vederilor si sectiunilor rezultate
1. Directia de proiectie se reprezinta printr-o linie continua subtire având lungimea de 6...8 mm, terminata cu o sageata executata conform STAS SR ISO 3040 (vezi fig. 3.11a; 3.14a).
în cazul vederilor, directia de proiectie este perpendiculara pe suprafata ce se proiecteaza, cu vârful sagetii orientata catre aceasta (fig. 3.14a; 3.15a).
în cazul sectiunilor, directia de proiectie este perpendiculara pe segmentul de capat al traseului de sectionare, iar vârful sagetii este orientat în directia de proiectie a sectiunii rezultate si se sprijina pe segmentul de linie groasa la 2...3 mm de la extremitatea acestuia (fig. 3.14b; 3.48).
2. Directiile de
proiectie se indica pentru:
a) vederi particulare, indiferent de pozitia în care sunt dispuse pe desen (fig. 3.14a; 3.15a);
b) sectiuni transversale, propriu-zise sau cu vedere care nu se încadreaza, dupa dispunere, în categoria celor deplasate, intercalate sau suprapuse (de exemplu fig. 3.16a; 3.20a; 3.44; 3.45);
c) proiectii ale aceluiasi obiect, reprezentate în mod exceptional pe alta plansa decât a proiectiei fata de care sunt definite.
3. Fiecare directie de proiectie si proiectia corespunzatoare se noteaza cu aceeasi majuscula, diferita de literele cu care sunt notate celelalte proiectii de pe acelasi desen. Literele utilizate trebuie sa aiba înaltimea de 1,5...2 ori înaltimea scrierii folosita pentru cotarea desenului. Literele se înscriu paralele cu baza formatului, deasupra sau de preferinta alaturat si în stânga liniei sagetii care indica directia de proiectie cât si deasupra proiectiei rezultate (fig. 3.34; 3.35; 3.36).
Traseul de sectionare reprezinta urma suprafetei de sectionare pe planul de proiectie. El se reprezinta prin linie-punct subtire având la capete si în locurile de frângere segmente de linii groase. Segmentele nu trebuie sa intersecteze liniile de contur ale proiectiilor.
Fiecare traseu distinct de sectionare se noteaza de-a lungul sau cu aceeasi litera care poate fi repetata si în locurile de schimbare de directie.
3.3 Hasurarea în desenul industrial
Hasurile sunt linii si reprezentari conventionale folosite pentru evidentierea suprafetelor rezultate prin taierea imaginara a obiectelor reprezentate cu diverse suprafete de sectionare, în scopul definirii formelor interioare ale acestora.
În conformitate cu STAS 104-80, masurarea sectiunilor obiectelor, indiferent de natura materialelor din care sunt executate, se executa cu linii continue subtiri, paralele, echidistante, înclinate la 45° fata de una din liniile de contur (fig. 3.50), fata de una din liniile de axa ale sectiunii reprezentate (fig. 3.51) sau, daca nu este posibil astfel, fata de chenarul desenului (fig. 3.52).
Distanta dintre hasuri se alege în functie de marimea suprafetei hasurate si de necesitatea diferentierii sectiunilor a doua sau mai multe elemente componente dintr-un ansamblu.
Se recomanda ca aceasta distanta sa fie minimum 1 mm. Ea trebuie sa fie aceeasi pentru toate sectiunile care se refera la un acelasi obiect si sunt reprezentate la aceeasi scara pe o aceeasi plansa.
Hasurile se pot executa înclinate spre dreapta sau spre stânga, dar cu aceeasi orientare pentru toate sectiunile care se refera la acelasi obiect, reprezentate pe aceeasi plansa si, de regula, în acelasi sens, în cazul reprezentarii lor pe mai multe planse (fig. 3.53).
Directia hasurilor se alege astfel încât sa nu coincida cu orientarea liniilor de contur. Daca înclinarea hasurilor coincide cu cea a liniei de contur sau o linie de axa, hasurile se executa înclinate la 300 sau 600 fata de acestea (fig. 3.54).
Sectiunile obiectelor care au o latime pe desen mai mica de 2 mm pot fi înnegrite complet (fig. 3.60). În acest caz, între sectiunile înnegrite a doua piese adiacente dintr-un ansamblu se lasa un spatiu liber de min. 1 mm.
Hasurile se întrerup în corespondenta unei cote sau text care nu a putut fi amplasat în afara suprafetei hasurate (fig. 3.61).
Hasurarea sectiunilor bobinelor si înfasurarilor electrice, cât si a pachetelor de tole pentru rotoare, statoare si transformatoare se executa conform figurii 3.62, respectiv 3.63.



11.
Daca prin hasurare se urmareste a evidentia si
natura materialelor din care sunt executate obiectele reprezentate în desen,
atunci ele vor fi executate în conformitate cu hasurile conventionale
pentru indicarea materialului în sectiune, redate în tabelul 3.1.
|