Exemplu de analiza a unui circuit cu reactie negativa de tip paralel-serie (esantionare nod-comparare bucla)
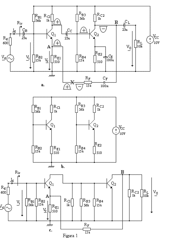
Pentru circuitul din figura 1.a se dau urmatoarele valori: bF=100, VBE=0,6V, Rg 0 (se va neglija efectul rezistentei interne a generatorului de semnal). Se cer urmatoarele: a) PSF-ul tranzistoarelor Q1 si Q2. b) Avr c). Rir
Functionarea montajului: reactia este realizata prin intermediul rezistentei RF si a condensatorului CF, prin intermediul carora o parte din semnalul de la iesirea amplificatorului este trimis la intrarea acestuia (mai precis, tensiunea de iesire este esantionata si o fractiune din aceasta este trimisa la intrarea circuitului, în emitorul lui Q1). Deoarece pe acesta ramura este prezent condensatorul CF (prin care nu trece curentul continuu), reactia exista doar în curent alternativ (!).
Pentru a se deduce tipul de reactie al unui circuit mai întâi trebuie identificata bucla de reactie; acesta este chiar ramura care leaga iesirea amplificatorului de intrarea sa, adica ramura RF-CF. În continuare se pasivizeaza generatorul de semnal independent Vg si se sectioneaza bucla de 18218k106s reactie într-un punct arbitrar ales în care se introduce un generator de semnal sinusoidal de test (pentru care se alege ca referinta alternanta pozitiva) apoi se observa modul în care este defazat semnalul furnizat de generatorul de semnal de test (modul în care alternanta semnalului se modifica), urmarind semnalul de la intrare spre iesirea amplificatorului. Daca semnalul de test ajunge în dreapta punctului de taietura defazat cu 180 (cu alternanta schimbata) atunci reactia este negativa, daca ajunge nedefazat (aceeasi alternanta) atunci reactia este pozitiva.
La un tranzistor bipolar, daca se introduce un semnal sinusoidal în baza acestuia atunci:
1. daca se culege semnalul de iesire din colectorul acestuia, defazajul între semnalul din colector si cel din baza este de 180
2. daca se culege semnalul de iesire din emitorul acestuia, defazajul între semnalul din emitor si cel din baza este de 0
La un tranzistor bipolar, daca se introduce un semnal sinusoidal în emitorul acestuia atunci, daca se culege semnalul de iesire din colectorul acestuia, defazajul între semnalul din colector si cel din emitor este de 0
Ţind cont de informatiile de mai sus (rezultate în urma studiului amplificatoarelor de semnal mic în conexiunea EC, CC, respectiv BC) în figura 1.a este prezentat modul în care semnalul de test, aplicat în punctul de sectiune X, este defazat (se urmareste alternanta semnalului). Ca rezultat se constata ca în dreapta punctului de sectiune se ajunge cu un semnal defazat cu 180 (se ajunge cu alternanta negativa), deci reactia este negativa.
a) Calculul PSF-ului tranzistoarelor se realizeaza pe circuitul echivalent care modeleaza functionarea amplificatorului în curent continuu. Pentru a determina acest circuit se tine cont de faptul ca prin condensatoare nu trece curentul continuu (reactanta unui condensator este infinita în curent continuu) si din acest motiv, prin toate ramurile de circuit care contin condensatoare nu va trece curent continuu, deci ramurile respective nu vor influenta functionarea circuitului, deci vor fi îndepartate din circuit.
Circuitul echivalent care modeleaza functionarea amplificatorului în curent continuu este prezentat în figura 1.b. În urma calculelor se determina valorile:
![]()
b) determinarea parametrilor de semnal mic Rir
si Avr (rezistenta de intrare, respectiv amplificarea în tensiune a
amplificatorului cu reactie) se determina pe schema echivalenta
care modeleaza functionarea amplificatorului în curent alternativ, în
semnal mic). Circuitul este obtinut tinând cont de urmatoarele:
1. condensatoarele de cuplare-decuplare (C1 C4, CF) au reactante nule în curent
alternativ, pentru gama de frecventa medie si înalta, a
semnalului Vg de la intrarea circuitului, deci în curent alternativ
condensatoarele de cuplare-decuplare reprezinta un scurtcircuit, 2.
sursa de tensiune Vcc se pasivizeaza (se scurtcircuiteaza
între + si -) deoarece în cazul analizei în regim dinamic (curent
alternativ) aceasta nu are nici un efect, furnizând o tensiune, respectiv un
curent constant. 3. tranzistoarele bipolare sunt înlocuite între terminale cu
circuitul echivalent P-hibrid (Giacoletto) de semnal mic (pentru a
simplifica problema acest punct va fi omis, iar pentru realizarea calculelor se
va apela la relatiile 
generale 1 4, deduse în urma analizei functionarii amplificatorului se semnal mic cu tranzistor bipolar în conexiunea EC. Aceste relatii pot fi aplicate în aplicatia prezentata deoarece ambele tranzistoare sunt conectate în conexiunea EC).
(1)
(2)
(3)
(4)
unde:
Ri,T=rezistenta de intrare în tranzistorul în conexiunea EC
Re=rezistenta echivalenta în curent alternativ din emitorul tranzistorului
Rc=rezistenta echivalenta în curent alternativ din colectorul tranzistorului
av=amplificarea în tensiune a amplificatorului
gm=panta tranzistorului
rp=rezistenta între baza si emitorul tranzistorului din circuitul echivalent de semnal mic p-hibrid
Va rezulta circuitul din figura 1.c în care se observa ca RF este conectata între iesirea amplificatorului(nod B) si intrarea acestuia (nod A). Din figura 1.c se stabileste ca rezistentele RF si RE1 formeaza circuitul de reactie, iar restul elementelor de circuit reprezinta amplificatorul fara reactie. Pentru a stabili topologia de reactie se urmaresc urmatoarele:
la iesire: care este marimea electrica de iesire (Vo sau Io) comuna dintre circuitul de reactie si amplificatorul fara reactie. În acest caz marimea comuna este Vo (curentul Io nu are cum sa fie deoarece prin RF trece curentul -(Ic2+Io)), rezulta ca avem o esantionare în nod (paralel)).
la
intrare: se urmareste ce tip de marime electrica se poate
compara cu una din cele 2 marimi electrice de intare (Vg sau Ig). Pentru a
se putea compara 2 curenti, nodul A ar fi trebuit sa fie plasat pe
ramura prin care curge Ig. În acest mod s-ar fi putut aplica teorema lui K1 în
nodul A în care unul din termeni ar fi fost chiar Ig.
Deoarece nodul A este plasat în emitorul lui Q1 are loc o comparare în
bucla, marimea electrica furnizata de catre circuitul
de reactie spre a fi comparata este tensiunea Vr, adica
tensiunea de pe rezistenta RE1 (din acest motiv si aceasta
rezistenta apartine circuitului de reactie). Relatia
care reflecta faptul ca exista o comparare a lui Vg cu Vr se
obtine scriind teorema lui K2:
(5)
Pâna în acest moment s-a stabilit ca la iesire esantionarea semnalului este în nod, marimea esantionata fiind Vo, la intrare compararea se face în bucla, între tensiunile Vg si Vr. Pe baza acestor informatii se vor determina 2 circuite echivalente pe care se vor determina marimile notate av* , Ri* si f*.
Marimile av*, Ri* se calculeaza pe circuitul astfel obtinut încât sa reflecte "încarcarile =rezistentele echivalente, din nodurile respective la masa montajului" la intrare si iesire. Încarcarile în cele 2 noduri A, respectiv B se determina astfel: daca, conform cu topologia reactiei
În cazul aplicatiei prezentate, încarcarile din nodurile A, respectiv B se determina astfel:
A: încarcarea din acest nod (rezistenta din A la masa) se determina prin scurtcircuitarea nodului B la masa din A la masa apar conectate în paralel RE1 si RF
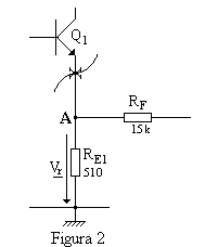
B: încarcarea din acest nod (rezistenta din B la masa) se determina prin sectionarea buclei de reactie la intrare între emitorul lui Q1 si nodul A, ca în figura 2:
din B la masa apar conectate în serie rezistentele RF si RE1.
Deci, circuitul pe care se va calcula av*si Ri* este cel din figura 3 în care RB12=RB1 RB2, R1=RC1 RB3 RB4, RCL=RC2 RL. În urma calculelor se determina gm=96,4[mA/v], rp=1kW.
(6)
unde a1 si a2 sunt amplificarile în tensiune ale amplificatoarelor firmate din tranzistoarele Q1, respectiv Q2. Deoarece în emitorul lui Q2 exista un condensator pentru a calcula amplificarea în tensiune a acestuia se aplica relatia 2:

(7)
unde Rc2 este rezistenta echivalenta în curent alternativ din colectorul tranzistorului Q2 si care are valoarea:
(8)
Deci:
(9)
Deoarece în emitorul lui Q1 nu exista condensator, pentru a calcula amplificarea în tensiune a acestuia a1 se aplica relatia 3:
(10)
unde unde Rc1 este rezistenta echivalenta în curent alternativ din colectorul tranzistorului Q1, iar Re1 este rezistenta echivalenta în curent alternativ din emitorul tranzistorului Q1.
Cela 2 rezistente au valorile:
(11)
(12)
unde Ri,T2 este rezistenta de intrare a lui Q2 si se poate calcula cu relatia 1:
(13)
unde Re2 este rezistenta echivalenta în curent alternativ din emitorul lui Q2 si care este nula. Din cele de mai sus rezulta:
(14)
Asadar:
(15)
![]()
Pentru calculul lui Ri* se va utiliza formula 1 pentru a calcula rezistenta de intrare Ri,T1 în tranzistorul Q1 si apoi se va aplica relatia:

Din relatiile 1 si 11 rezulta:
(16)
![]()
Din teoria reactiei negative, relatiile de calcul pentru amplificarea în tensiune a amplificatorului cu reactie, respectiv a rezistentei de intrare a amplificatorului cu reactie sunt:
(17)
(18)
unde f* este functia de transfer a circuitului de reactie. Deoarece, prin intermediul circuitului de reactie, la iesirea circuitului se esantioneaza o tensiune, iar la intrare se compara tot o tensiune, functia de transfer f* (care se exprima ca raport între o marime electrica de iesire si o marime electrica de intrare) se determina cu ajutorul relatiei:
(19)
iar schema electrica a acestuia (privind circuitul de la iesire spre intrarea amplificatorului cu reactie) este data în figura 4:
de
unde rezulta ca:
(20)
Folosind relatiile 17 si 18 rezulta:
![]()
![]()
|